회사로고

Top
기사 메일전송

[ 통권 314호 2014.7 | ]

주요 등록특허 공개내용
  • 편집부
  • 등록 2014-08-07 14:53:10
기사수정
주요 등록특허 공개내용

2014년 5월1일~5월31일

콜로이드 입자 안정화 세라믹 폼을 코팅한 세라믹 소재 및 이의 제조방법
출원번호 | 10-2012-0066572 등록번호 | 10-1401-0840000
특허권자 | 한국기계연구원 발 명 자 | 하장훈 외 2명
본 발명은 콜로이드 입자 안정화 세라믹 폼을 코팅한 세라믹 소재 및 이의 제조방법에 관한 것이다. 본 발명은 세라믹 재질로 형성되는 지지체와, 상기 지지체의 일면에 코팅되는 세라믹 폼 코팅층을 포함하며, 상기 세라믹 폼 코팅층은 콜로이드 입자 안정화 방식으로 제조되어 셀룰라 형태의 기공구조를 가진다.
또한, 본 발명에 따른 세라믹 소재의 제조방법에는 소결 또는 소결 이외의 방법으로 세라믹 재질의 지지체를 성형하는 지지체 성형단계와, 원료 분말과 계면 활성제를 준비하는 재료준비단계와, 상기 재료준비단계에서 준비된 원료 분말과 물을 혼합하여 혼합물을 형성하고, 계면 활성제를 첨가한 이후 콜로이드 입자 안정화 폼을 제조하는 세라믹 폼 제조단계와, 상기 지지체 성형단계에서 성형된 지지체의 일면에 상기 세라믹 폼 제조단계에서 제조된 세라믹 폼을 코팅하여 코팅층을 형성하는 세라믹 폼 코팅단계와, 상기 지지체와 세라믹 폼 코팅층을 건조하는 건조단계 및 건조된 지지체와 세라믹 폼 코팅층을 소결하는 소결단계가 포함된다. 이와 같은 본 발명에 의하면, 세라믹 폼 코팅층과 지지체가 이종의 접합제 없이 서로 접합 되며 세라믹 소재의 강성이 유지되면서 세라믹 폼에 의한 열전도도 제어가 가능한 이점을 가진다.

세라믹이 포함된 친환경 성형용 칩
출원번호 | 10-2012-0012864 등록번호 | 10-1399-0940000
특허권자 | 황주연, 김형기 발 명 자 | 황주연, 김형기
본 발명은 세라믹이 포함된 친환경 성형용 칩 제조방법에 관한 것이다. 세라믹이 포함된 친환경 성형용 칩 제조방법에 있어서, 세라믹 성분을 400~800mesh로 분쇄하여 파우더의 형태로 제조하는 세라믹 분말 제조단계; 파우더 형태의 세라믹 분말의 제조가 완료되면, 이 세라믹 분말과 폴리프로필렌 수지 및 첨가제에 포함된 수분을 제거하는 수분 제거단계; 수분이 제거된 세라믹 분말과 폴리프로필렌 수지 및 첨가제를 혼합하여 혼합물을 구성하고, 이 혼합물을 교반하는 혼합 및 교반단계; 상기 혼합물을 용융 및 교반시켜 폴리프로필렌 수지 내에 세라믹 분말이 분산된 혼합체를 형성하여 성형용 칩 제조를 위한 용융물을 형성하는 혼합물 용융 및 교반단계; 및 상기 용융 및 교반단계를 통해 제조된 용융물을 압출 성형기를 통해 압출 성형하여 성형용 칩을 제조하는 성형용 칩 제조 단계를 포함하는 것을 특징으로 하는 세라믹이 포함된 친환경 성형용 칩 제조방법을 제공한다.

방사성 세슘이 포집된 세슘 폐필터 세라믹 잉곳 및 이의 제조방법
출원번호 | 10-2012-0118711 등록번호 | 10-1401-7890000
특허권자 | 한국원자력연구원, 한국수력원자력 주식회사
발 명 자 | 신진명 외 4명
본 발명은 방사성 세슘이 포집된 세슘 폐필터의 단순한 세라믹 잉곳 제조방법 및 내침출성, 열적안정성, 세슘 함유량이 향상된 세슘 폐필터 세라믹 잉곳에 관한 것으로, 더욱 상세하게는 세슘이 포집된 세슘 폐필터를 분쇄 후 혼합하고, 고화제를 첨가하여 소결시키는 단계를 포함하는 세라믹 잉곳을 제조하는 방법에 관한 것이다. 본 발명에 따른 세슘 폐필터 세라믹 잉곳의 제조방법은 단순한 분쇄 및 소결에 의해 세슘 폐필터 자체만으로도 세슘 폐필터 세라믹 잉곳을 제조할 수 있고, 또한 적은 양의 고화제 첨가만으로도 세슘 폐필터 세라믹 잉곳을 제조할 수 있으며, 본 발명의 세슘 폐필터 세라믹 잉곳은 밀도가 높고, 열적 안정성이 향상되었으며, 방사성 물질의 누출 속도가 현저하게 낮은 향상된 내침출성을 나타내므로, 방사성 세슘이 포집된 세슘 폐필터를 안정한 세라믹 잉곳으로 제조하는데 유용하게 사용될 수 있다.

콜로이드 입자 안정화 방식을 이용하여 이중 기공 구조를 가지는 세라믹 소재 및 이의 제조방법
출원번호 | 10-2012-0085600 등록번호 | 10-1401-0810000
특허권자 | 한국기계연구원 발 명 자 | 오은지 외 3명
본 발명은 세라믹 소재 및 이의 제조방법에 관한 것이다. 본 발명은 콜로이드 입자 안정화 방식을 이용하여 제조되는 세라믹 소재에 있어서, 상기 세라믹 소재의 원료분말은 개기공 구조 또는 불규칙한 형상을 가지는 원료분말로 형성되며, 상기 원료분말이 계면활성제와 혼합된 이후 건조 및 소결되어 폐기공인 제1기공과 개기공인 제2기공이 형성된다.
또한, 본 발명에 따른 세라믹 소재의 제조방법에는 원료분말과 계면활성제를 준비하는 재료준비단계와, 상기 재료준비단계에서 준비된 원료분말과 물을 혼합하여 혼합물을 형성하고, 계면활성제를 첨가한 이후 콜로이드 입자 안정화 폼을 제조하는 세라믹폼 제조단계와, 상기 세라믹폼 제조단계에서 제조된 세라믹 폼을 건조하는 건조단계 및 건조된 세라믹 폼을 소결하는 소결단계가 포함되며, 상기 재료준비단계에서는 원료분말로 개기공 구조 또는 불규칙한 형상을 가지는 원료분말을 준비하는 것을 특징으로 한다.
이와 같은 본 발명에 의하면, 세라믹 폼에 이종의 기공 유도 물질 없이 이중 기공 구조를 가지는 세라믹 폼을 제조할 수 있게 된다.

생체세라믹 다공체의 제조방법 및 이에 의해 제조된 다공체
출원번호 | 10-2013-0019629 등록번호 | 10-1395-5330000
특허권자 | 고려대학교 산학협력단 발 명 자 | 고영학, 안민경
본 발명은 기계적 특성이 향상된 생체 세라믹 다공체의 제조방법에 관한 것으로서, 더욱 상세하게는 생체 세라믹 분말, 바인더, 분산제, 동결방지제 및 동결매체로 세라믹 슬러리를 제조하는 단계; 상기 세라믹 슬러리를 진공 하에서 발포시켜 거대 기공을 가진 다공체를 형성시키는 단계; 상기 거대 기공을 가진 다공체를 동결매체의 어는점 이하에서 동결 성형시키는 단계; 상기 동결 성형된 구조체를 동결건조시켜 동결매체를 제거하여 다공성 세라믹 그린 바디를 형성시키는 단계; 및 상기 다공성 세라믹 그린 바디를 열처리하는 단계를 포함하여 동결방지제를 이용하여 날카로운 형태의 동결 결정상을 제어하며, 거대 다공성 구조를 가지는 세라믹 지지체의 강도를 부여하여 높은 기계적 특성과, 높은 생체 적합성을 동시에 가지는 생체 세라믹 다공체의 제조방법에 관한 것이다.

적층형 세라믹 콘덴서 제조를 위한 고온용 진공압착 백
출원번호 | 10-2013-0122771 등록번호 | 10-1400-8450000
특허권자 | 금정산업 주식회사 발 명 자 | 안용배, 안상우
본 발명은 폴리에틸렌테레프탈레이트(PET)와 중합필름 및 고온용 접착제를 사용하여 제조한 고온용 진공압축 백 시트로써, 160℃ 이상의 작업온도에서 적층형 세라믹 콘덴서의 제조가 가능한 것을 특징으로 하는 적층형 세라믹 콘덴서 제조를 위한 고온용 진공압착 백에 관한 것으로, 160℃의 작업조건에서 적층형 세라믹 콘덴서를 진공압착함에 따라 적층형 세라믹 콘덴서의 산화현상을 급격히 떨어뜨려 품질향상을 시킬 수 있고, 또한 진공압착 백(bag)이 열처리 후 알루미늄 플레이트(plate)에 달라붙는 현상을 방지할 수 있으므로 생산성을 향상시킬 수 있는 효과가 있다.

합층에 수지층을 부가하여 다공성 세라믹 필터를제조하는 방법
출원번호 | 10-2006-0108646 등록번호 | 10-1394-6210000
특허권자 | 주식회사 칸세라 발 명 자 | 임호연 외 4명
본 발명은 세라믹 세그먼트 다수 개를 상호 접합시켜 다공성 세라믹 필터를 제조하는 방법으로서, 세라믹 세그먼트 상에 제 1 접합층을 도포하고, 상기 제 1 접합층 상에 접합층 구성 성분들이 투과되지 않은 수지층을 도포하며, 상기 수지층 상에 제 2 접합층을 도포한 후 세그먼트들을 상호 접합하고, 건조 및 소정의 형태로 외형가공한 뒤 필터의 외벽 도장층을 형성하는 과정을 포함하는 것으로 구성된 방법을 제공한다.
본 발명의 방법에 따르면, 접합공정 중에 무기바인더 또는 유기바인더 등에 포함된 수분성분이 세그먼트의 다공성 구조 내부로 흡입됨으로써 접합층 내부에 거대 기공 또는 이로 인한 크랙이 발생하는 현상을 방지함으로써, 필터의 열적, 기계적, 화학적 강도를 증대시킬 수 있으며 접합된 세그먼트들 간에 매우 우수한 결합력을 제공할 수 있다.

유전체 세라믹 적층 세라믹 콘덴서
출원번호 | 10-2011-0024165 등록번호 | 10-1400-2630000
특허권자 | 가부시키가이샤 무라타 세이샤쿠쇼
발 명 자 | 야오타카유키
유전체 세라믹층이 박층화되어도 신뢰성, 특히 부하시험에서의 수명특성이 뛰어난 적층 세라믹 콘덴서를 제공한다. 적층 세라믹 콘덴서(1)에 구비되는 유전체 세라믹층(2)을 구성하는 유전체 세라믹으로서, 주성분이 (Ba, R)(Ti, V)O3계 또는 (Ba, Ca, R)(Ti, V)O3계(R은 La, Ce, Pr, Nd, Sm, Eu, Gd, Tb, Dy, Ho, Er, Tm, Yb, Lu 및 Y에서 선택되는 적어도 1종)이며, V 및 R의 쌍방이 주성분 입자 내에 균일하게 존재하고 있는 것을 이용한다.

용접용 세라믹 백킹재
출원번호 | 10-2012-0135955 등록번호 | 10-1401-2860000
특허권자 | 현대중공업 주식회사 발 명 자 | 진윤근
본 발명은 용접용 세라믹 백킹재에 관한 것으로서, 맞대기 용접용 모재의 ‘X’자 홈 형상으로 이루어진 용접부 어느 일측에 삽입되어 다른 일측 용접부의 용접 작업 시 용융금속의 흘러내림을 방지하도록 된 세라믹 백킹재로서, 상기 세라믹 백킹재는, 맞대기 용접용 모재의 용접부 개선면부에 접하는 ‘V’자형 양측 경사면을 형성하며, 상기 양측 경사면의 수렴되는 상부면을 함몰형 곡면으로 형성하고, 상기 양측 경사면의 확산되는 하부면을 평면으로 형성하는 것을 특징으로 한다.
본 발명은 용접 모재의 개선면부와 동일한 각도로 접지되는 양측 경사면을 형성함으로써 백킹재가 모재의 개선면부에 밀착되도록 할 수 있고, 백킹재의 상부면을 용접 모재의 개선면부 끝단에 연장되는 만곡진 곡면으로 제작함으로써, 용융금속이 흘러내리는 것을 방지하는 동시에 양호한 백 비드를 형성함으로써, 용접품질이 향상되는 이점을 갖는다.

내열성이 개선된 복합 방적사 직물 및 이의 제조방법
출원번호 | 10-2012-0045692 등록번호 | 10-1404-6430000
특허권자 | (주)피앤티디 발 명 자 | 박종한, 백윤정
본 발명은 내열성이 개선된 현무암 복합사 직물 및 이의 제조 방법에 관한 것이다. 보다 구체적으로, 본 발명은 현무암사를 코아로 하고, 아라미드 섬유, 탄화 섬유, PBO 섬유, PBI 섬유 및 세라믹 섬유로 구성되는 군으로부터 선택되는 하나 이상의 섬유를 포함하는 방적사가 상기 코아의 외측을 감고 있는 복합 방적사를 직조하여 제조된 복합 방적사 직물 및 이의 제조 방법에 관한 것이다.

청색 베타-석영 유리-세라믹 물질, 그 제품 및 제조 방법
출원번호 | 10-2009-7010874  등록번호 | 10-1398-3370000
특허권자 | 유로케라  발 명 자 | 로타르 본드레첵
본 발명은 주요 결정상으로써 β-석영 고형 용액을 포함하는 청색 투명 유리-세라믹 물질 및 그 제조방법을 개시한다. 상기 유리-세라믹은 TiO2(조핵제), 황 및 적어도 하나의 산화물, 바람직하게는 MgO 및/또는 ZnO를 포함한다. 상기 유리-세라믹 물질을 제조하는 방법은 유리-세라믹 물질의 전구체 유리를 용융하는 단계에서 환원제로 ZnS 및/또는 MgS와 같은 금속 황화물을 포함한다.

삼차원 인공지능 지지체용 조성물
출원번호 | 10-2012-0137813 등록번호 | 10-1400-7120000
특허권자 | 안동대학교 산학협력단 발 명 자 | 김종영 외 2명
본 발명은 생체세라믹 재료를 주요성분으로 함으로써, 우수한 생체적합성, 생체친화성 및 생체활성을 가지며, 인공 지지체 형성 시 시린지(syringe)에서 용이하게 토출될 수 있는 삼차원 인공 지지체용 조성물에 관한 것으로, 25~35중량%의 생체세라믹 미립자; 액상으로 제공되는 42~58중량%의 분산제; 파우더로 제공되는 3.6~4.5중량%의 점성제; 및 젤 형태로 제공되는 13.4~18.5중량%의 응집제;를 포함하여 이루어진다.

유전체 및/또는 상이한 두께, 프로파일 및/또는 형상을 갖는 공동을 갖는 정전 척 어셈블리, 그 사용방법 및 그것을 포함한 장치
출원번호 | 10-2013-7016394 등록번호 | 10-1401-6960000
특허권자 | 램 리써치 코포레이션 발 명 자 | 렌즈에릭 외 3명
유전체를 갖고, 및/또는 상이한 두께, 프로파일 및/또는 형상을 갖는 공동 을 갖는 정전 척 어셈블리가 개시된다. 정전 척 어셈블리는 전도성 지지대 및 정전 척 세라믹 층을 포함한다. 유전체 층 또는 삽입물은 전도성 지지대와 정전 척 세라믹 층 사이에 위치한다. 공동은 정전 척 세라믹 층의 재치된 표면 내 위치할 수 있다. 임베드된 폴 패턴은 정전 척 어셈블리에 선택적으로 포함될 수 있다. 정전 척 어셈블리의 제조 방법은 플라즈마 프로세싱 공정 동안 워크피스 상부의 플럭스 필드의 균일성을 개선시키기 위한 방법으로 개시된다.

주방기기용 비점착성 세라믹 코팅제 조성물, 이의 제조방법 및 이를 포함하는 주방기기
출원번호 | 10-2013-0134222 등록번호 | 10-1400-9110000
특허권자 | 최재윤, 주식회사 스폰코리아
발 명 자 | 최재윤
본 발명은 금속이나 비금속이 소재 표면에 비점착성 친환경 무기질 나노세라믹 코팅제를 제조, 도포하여 코팅층을 형성함으로써, 우수한 내마모성, 내열성을 지니고, 뛰어난 비점착성으로 인해 세척이 용이하며, 다양한 색상을 구현할 수 있는 동시에 인체에 무해하며 친환경적인 주방기기용 비점착성 세라믹 코팅제 조성물, 이의 제조방법 및 이를 포함하는 주방기기에 관한 것이다.
본 발명에 따른 주방기기용 비점착성 세라믹 코팅제 조성물은, 용제로서 콜로이드 실리카 수용액, 티타니아 수용액, 지르코니아 수용액, 메탄올, 이소프로필 알콜(IPA), 메틸하이드로겐 실리콘 오일, 불소실란, 기능성 충전제 및 안료를 포함하는 제1 용액; 및 결합제로서 메틸트리메톡시실란(MTMS(methyltrimethoxysilane)), 글리시독시프로필 트리메톡시실란(GPTMS(glycidoxypropyl trimethoxysilane)) 및 촉매를 포함하는 제2 용액을 포함한다.

세라믹히터를 이용한 자동차 내장부품 가공용 융착 툴 어셈블리
출원번호 | 10-2012-0131472 등록번호 | 10-1393-5060000
특허권자 | 한일이화주식회사 발 명 자 | 이찬주, 김태윤
본 발명은 세라믹히터를 이용한 자동차 내장부품 가공용 융착 툴 어셈블리를 제공한다. 본 발명의 일 실시예에 따른 세라믹히터를 이용한 자동차 내장부품 가공용 융착 툴 어셈블리는 상단에 공기가 유입되는 에어노즐이 형성된 중공형의 융착하우징과, 상기 융착하우징이 결합되고 동력부에 의해 상하이동 가능한 고정지그와, 상기 융착하우징의 하단과 결합되는 융착팁과, 상기 융착하우징의 하단 외주측과 결합되어 상기 융착하우징을 따라 슬라이드 이동 가능하게 결합되는 슬라이드 캡, 및 상기 융착팁의 내부에 수용되고, 상기 융착하우징 내부로 유입되는 공기를 가열하는 세라믹히터를 포함하며, 상기 에어노즐을 통해 상기 융착하우징 내부로 유입되는 공기는, 상기 융착팁 내부에서 가열되어 상기 융착팁의 외부로 배출되는 것을 특징으로 한다.

초발수성 코팅용액 조성물 및 코팅 조성물의 제조방법
출원번호 | 10-2012-0088146 등록번호 | 10-1401-7540000
특허권자 | 동국대학교 산학협력단 발 명 자 | 박상권
본 발명은 윈도우에 적용될 수 있는 고투명 초발수 코팅용액 조성물 및 코팅 조성물의 제조방법에 관한 것이다.
본 발명의 코팅 조성물은, 투명도가 우수하고 자기세정 기능성의 구현이 가능하므로, 건축용 및 자동차용 윈도우용에 적용이 가능하다. 건축용 윈도우뿐만 아니라 유리 및 세라믹 재질의 건축용 외장 및 인테리어 소재에 적용할 경우, 자기세정 기능성 구현에 의하여 그린환경 조성에 일조할 수 있으며, 궁극적으로는 이산화탄소 배출 감소에도 작지 않은 역할을 할 수 있다.

치과용 글래스 조성물 및 글래스 침투 세라믹 수복재
출원번호 | 10-2011-0072317 등록번호 | 10-1395-8620000
특허권자 | (주)메덴트솔루션 발 명 자 | 김명호, 이상혁
침투용 글래스는 35 내지 45중량%의 란타늄 산화물(La2O3), 14 내지 24 중량%의 실리카(SiO2), 14 내지 24 중량%의 알루미나(Al2O3), 12 내지 21 중량%의 산화붕소(B2O3), 2 내지 6 중량%의 산화나트륨(NaO), 1 내지 3 중량%의 산화칼슘(CaO), 2.5 중량% 이하의 산화마그네슘(MgO)의 조성을 가진다. 산화마그네슘(MgO)이 포함되면 글래스가 세라믹 코어에 보다 효과적으로 침투되어 치과 수복제의 기계적 특성과 내구성이 향상된다.

효과 안료
출원번호 | 10-2007-0056215 등록번호 | 10-1404-3390000
특허권자 | 메르크 파텐트 게엠베하 발 명 자 | 디에츠요한 외 3명
본 발명은 합성 운모 플레이크를 기초로 한 높은 백색도를 갖는 황화 안정성 은백색 효과 안료, 및 이것의, 도료, 래커, 프린트 잉크, 플라스틱, 버튼 페이스트, 세라믹 물질, 유리에서의, 씨드 착색을 위한, 플라스틱 및 종이의 레이저 표시를 위한 도판트로서, 플라스틱의 레이저 용접용 첨가제로서, 식료품 및 의약 분야 및 화장용 제제에서 착색용 첨가제로서, 그리고 안료 조성물 및 건조 제제의 제조를 위한 용도에 관한 것이다.

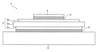
반도체장치 및 그 제조방법
출원번호 | 10-2012-0009720 등록번호 | 10-1402-9240000
특허권자 | 후지 덴키 가부시키가이샤 발 명 자 | 니시무라 요시타카 외 4명
본 발명은 환경에 미치는 영향을 고려한 고신뢰성의 반도체장치를 제공한다.
세라믹기판(2a)의 양면에 도체층(2b,2c)이 형성된 절연기판(2)이 방열 베이스(6) 위에 땜납층(5)을 사이에 두고 땜납접합되는 동시에, 그 절연기판(2) 위에 IGBT 등의 반도체 칩(4)이 땜납층(3)을 사이에 두고 땜납접합된 파워반도체모듈(1)을 형성할 때, 절연기판(2)과 반도체 칩(4)의 접합, 및 절연기판(2)과 방열 베이스(6)의 접합에 ‘납 프리 땜납’을 이용한다. 또한, 절연기판(2)과 방열 베이스(6)의 접합시에는, 접합 전에 미리 방열 베이스(6)에 절연기판(2)이 땜납접합되는 면과 반대되는 면쪽에 접합 후에 평탄하거나 평탄함에 가까운 상태가 얻어지도록 볼록한 형상의 휨을 부여해 둔다. 이로써, 방열 베이스(6)를 냉각 핀 등에 부착하였을 때, 이들의 열저항이 낮게 억제되어 반도체 칩(4)의 열이 효율적으로 방산되어 비정상적인 온도상승이 방지된다.

나이오베이트 유전체 조성물 및 이를 사용하는 나노시트 박막
출원번호 | 10-2013-0009749 등록번호 | 10-1398-5530000
특허권자 | 한국과학기술연구원 발 명 자 | 최지원 외 7명
본 발명은 하기 화학식 1, 화학식 2 또는 화학식 3으로 표시되는 나이오베이트 유전체 조성물 및 이를 사용하는 나노시트 박막을 제공한다.
KCa2(1-x)Sr2xNb3O10 (화학식 1)
HCa2(1-x)Sr2xNb3O10  (화학식 2)
Ca2(1-x)Sr2xNb3O10  (화학식 3)
(상기 식에서, x는 0003c#x≤1임)
본 발명에 따르면, 높은 유전상수를 유지하면서 매우 낮은 유전손실을 보이며 선형적인 유전 특성을 나타내므로 적층 세라믹 캐패시터, 마이크로파 유전체, 트랜지스터용 게이트, 차세대 TFT의 유전막 등에 사용될 수 있다. 또한 본 발명에 따른 나노 시트는 나노 레벨에서도 우수한 유전 특성을 가지므로 나노 레벨의 MLCC에 기능성 유전 박막으로 응용될 수 있다

 

기사를 사용하실 때는 아래 고유 링크 주소를 출처로 사용해주세요.

https://www.cerazine.net

 

0
회원로그인

댓글 삭제

삭제한 댓글은 다시 복구할 수 없습니다.
그래도 삭제하시겠습니까?

독일 뮌헨 세라믹 전시회
고기능소재위크
세로형 미코
02이삭이앤씨 large
이영세라켐
03미코하이테크 large
해륭_250509
케이텍
진산아이티
삼원종합기계
오리엔트
미노
대호CC_240905
01지난호보기
월간도예
모바일 버전 바로가기