주요 등록특허 공개내용
2014년 3월 1일~2014년 3월 31일
세라믹 기재 지지구 및 세라믹 부재의 제조 방법
출원번호 | 10-2012-0023785 등록번호 | 10-1377-8300000
특허권자 | 이비덴 가부시키가이샤 발 명 자 | 미노우라세이지 외 2명
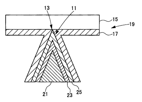
본 발명의 과제는 지지구 피막(SiC 피막)을 확실하게 세라믹 기재(SiC 피복 흑연재)에 잔류시켜, 결함이 적은 세라믹 부재를 얻을 수 있는 세라믹 기재 지지구 및 상기 지지구를 이용한 세라믹 부재의 제조 방법을 제공한다.
본 발명의 해결수단은 선단부 (13)으로 세라믹 기재 (15)를 지지하고, 반응로 내에서 세라믹 기재 (15)에 세라믹 부재 피막 (17)을 형성하여 세라믹 부재 (19)를 제조할 때에 사용되는 세라믹 기재 지지구 (11)이며, 세라믹 기재 지지구 (11)은 흑연을 포함하는 코어재 (21)과, 적어도 선단부 (13)을 포함하는 표면에 열 분해 탄소층 (23)을 개재하여 지지구 피막 (25)를 갖는다.
테트라에톡시 씰란화합물을 용매로 사용하여 습윤면 부착성능과 내구성을 향상시킨 실란변성 탄성 세라믹메탈 함유 우레아수지계 방수·방식재 및 이를 이용한 방수·방식공법
출원번호 | 10-2013-0144885 등록번호 | 10-1371-3450000
특허권자 | 박기형, 주식회사 세명크리텍 발 명 자 | 박기형.jpg)
본 발명은 테트라에톡시 씰란화합물을 용매로 사용하여 습윤면 부착성능과 내구성을 향상시킨 실란변성 탄성 세라믹메탈 함유 우레아수지계 방수·방식재 및 이를 이용한 방수·방식공법에 관한 것으로, 특히 콘크리트 구조물이 습윤 상태이더라도 습윤면에 도막방수재를 완벽하게 접착시켜 고정시킬 수 있는 실란화합물을 함유하여 습윤면 부착성능과 내구성을 향상시킨 실란변성 탄성 세라믹메탈 함유 우레아수지계 방수·방식재 및 이를 이용한 방수·방식공법에 관한 것이다.
본 발명의 테트라에톡시 씰란화합물을 용매로 사용하여 습윤면 부착성능과 내구성을 향상시킨 실란변성 탄성 세라믹메탈 함유 우레아수지계 방수·방식재는, 실란변성 프라이며, 실란변성 바탕조정재, 제 1 및 제 2 실란변성 나노세라믹 수지층, 탄성세라믹 우레아수지층을 포함하는 것을 특징으로 하며, 이를 이용한 방수·방식공법은 콘크리트 바탕면의 이물질 및 단차를 제거하여 정리하는 제1단계; 상기 정리된 콘크리트 바탕면에 실란변성 프라이머를 도포하는 제2단계; 상기 실란변성 프라이머가 도포된 면에 실란변성 바탕조정재를 도포하는 제3단계; 상기 바탕조정재가 도포면 면에 제 1 및 제 2 실란변성 나노세라믹 수지층을 적어도 2회 도포하는 제4단계; 및 상기 제 2 실란변성 나노세라믹 수지층이 도포된 면에 탄성세라믹 우레아수지층을 도포하는 제5단계를 포함하는 것을 특징으로 한다.
세라믹 코팅한 소아 보철용 에스에스크라운
출원번호 | 10-2012-0074259 등록번호 | 10-1376-1280000
특허권자 | 조성훈 발 명 자 | 조성훈
본 발명은 스테인레스 스틸로 제작된 크라운에 치아와 같은 색상의 세라믹을 코팅하여 크라운의 경도를 향상시키고 금속 알레르기 문제를 야기하지 않으며, 세라믹으로 인해 세균번식을 억제하여 항균성과 탈취성을 향상시키고, 크라운의 색상과 다른 치아의 색상이 같아 사용에 거부감을 주지 않는 세라믹 코팅한 소아보철용 에스에스크라운에 관한 것이다.
본 발명에 따른 세라믹 코팅한 소아 보철용 에스에스크라운은, 유치(乳齒)의 보철치료를 위해 스테인레스 스틸로 제조된 크라운과, 상기 크라운에 액상 세라믹을 도포하고 소성처리하여 형성시킨 세라믹 코팅층으로 구성되고, 상기 크라운은 단부를 내측으로 절곡시킨 절곡부가 형성되어 있으며, 상기 세라믹 코팅층은, 상기 크라운 표면에 금강사 또는 유리비드를 분사시켜 요철면을 형성한 다음, 1차로 색상 세라믹액을 코팅한 후, 그 위에 2차로 투명 세라믹액을 코팅하여 180~200℃의 온도에서 20~30분 소성시켜 형성한 것을 특징으로 한다.
리튬 이차전지의 제조방법과 이에 의해 제조된 리튬 이차전지
출원번호 | 10-2012-0132995 등록번호 | 10-1378-4530000.jpg)
특허권자 | 에너테크인터내셔널 주식회사 발 명 자 | 안명규 외 4명
본 발명은 리튬 이차전지의 분리막 상에 세라믹 코팅층을 형성한 후 형성된 세라믹 코팅층 위에 소정 두께의 전극활물질층을 형성한 후, 전극활물질층이 형성된 전극과 접착하여, 분리막에 형성된 세라믹 코팅층과 전극에 형성된 전극활물질층이 일체적으로 결합된 구조를 갖도록 함으로써, 고온 안정성이 우수한 리튬 이차전지를 제조할 수 있는 방법을 제공한다.
본 발명에 따른 제조방법은, (a) 분리막의 적어도 일면에 세라믹 코팅용 조성물을 도포 및 건조하여 세라믹 코팅층을 형성하는 단계; (b) 상기 세라믹 코팅층 상에 제 1 전극활물질층 형성용 슬러리를 도포 및 건조하여 제 1 전극활물질층을 형성하는 단계; (c) 집전체 상에 제 2 전극활물질층 형성용 슬러리를 도포 및 건조하여 제 2 전극활물질층을 형성하는 단계; 및 (d) 상기 제 1 전극활물질층과 제 2 전극활물질층을 접합하는 단계;를 포함한다.
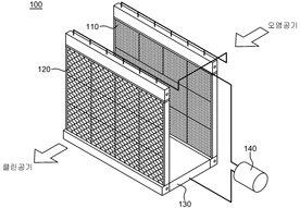
수용성가스 처리용 바이오유니트 및 이를 이용한 복합 공조유니트
출원번호 | 10-2013-0150361 등록번호 | 10-1372-8270000
특허권자 | 씨에이엔지니어링(주) 발 명 자 | 지용섭
본 발명은 수용성가스 처리용 바이오유니트 및 이러한 바이오유니트를 이용한 복합 공조유니트에 관한 것으로, 유리섬유 여재로 이루어지는 1차 패드; 상기 1차 패드를 통과하는 공기와 마주하도록 1차 패드의 후방에 배치되며, 다공성 세라믹 여재로 이루어진 2차 패드; 상기 1차 패드와 2차 패드의 하부에 위치하도록 설치되며, 1차 패드 및 2차 패드로부터 떨어지는 여과용액을 유입받아 저장하는 순환탱크; 및 상기 순환탱크에 저장된 여과용액을 1차 패드 및 2차 패드의 상부로 이송시켜 분사하는 펌프;로 구성되며, 상기 2차 패드는, 볼록부와 오목부가 반복적으로 연속되어 전체적으로 주름진 형상을 갖되, 상기 볼록부와 오목부가 상향 경사진 구조를 갖도록 형성되며, 측면이 2차 패드의 전면에 노출되도록 수직하게 세워지는 다수개의 제1 다공성 세라믹 여재; 볼록부와 오목부가 반복적으로 연속되어 전체적으로 주름진 형상을 갖되, 상기 볼록부와 오목부가 하향 경사진 구조를 갖도록 형성되며, 측면이 2차 패드의 전면에 노출되도록 수직하게 세워지되, 오목부가 제1 다공성 세라믹 여재의 볼록부와 마주한 채 접하도록 제1 다공성 세라믹 여재의 사이사이에 배치되어 제1 다공성 세라믹 여재와 함께 2차 패드의 전면에 벌집구조를 형성하는 다수개의 제2 다공성 세라믹 여재;로 구성된 것을 특징으로 하는 수용성가스 처리용 바이오유니트와, 이러한 바이오유니트를 이용하여 구성되는 복합 공조유니트를 제공한다.
이중 온도 영역을 갖는 정전기 척을 구비한 기판 지지대.jpg)
출원번호 | 10-2006-0129234 등록번호 | 10-1380-8790000
특허권자 | 어플라이드 머티어리얼스, 인코포레이티드
발 명 자 | 마츄쉬킨 알렉산더 외 3명
기판 프로세싱 챔버 내에 기판을 수용하기 위한 정전기 척은 기판 수용면 및 서로 이격된 복수의 메사를 갖는 대향 후면을 구비한 세라믹 퍽을 포함한다. 전극은 기판을 유지하기 위한 정전기력을 발생시키도록 세라믹 퍽 내에 내장된다. 세라믹 퍽의 중앙부와 주변부에 위치되는 히터 코일들은 세라믹 퍽의 중앙부와 주변부의 독립적인 온도 제어를 가능하게 한다. 척은 공기를 제공하는 홈을 갖는 기저부에 의해 지지된다. 척과 기저부는 챔버 내의 기판에 대한 온도 프로파일의 조정을 가능하게 하도록 협력한다.
방열판 피복용 수용성 나노 세라믹 방열코팅 조성물
출원번호 | 10-2012-0107495 등록번호 | 10-1374-1510000
특허권자 | 한가람화학 주식회사 발 명 자 | 장세도
본 발명은 방열판 피복용 수용성 나노 세라믹 방열코팅 조성물에 관한 것으로, 수용성 세라믹 수지 또는 아크를 및 우레탄 수지를 사용하여 친환경 코팅제를 만들고 전도성 세라믹 필러가 함유된 전착코팅방식을 통하여 열면적을 증대시킴과 동시에 온도를 냉각시키는 방식을 도입하고 도막의 접착성과 내 환경성을 제공하도록 수용성 아크릴 10~40중량%, 우레탄 30~40중량%, 암모늄염 수용액에 알루미늄 전구체 5~15중량%와 실란의 중합을 통해 얻어진 실라놀 화합물 10~30중량%을 용해한 혼합물 10~20중량%, 고분산된 나노 세라믹 미립분말의 조성물 10중량%와 여분의 증류수를 혼합하여 전체 100중량%가 되도록 혼합조성된 것으로, 중금속이나 인체에 유해한 유기 용제를 전혀 함유하지 않으므로, 친환경적이며, 방열판에 전착 코팅시 우수한 내식성, 일정한 코팅 도막두께, 강도, 밀착성을 가짐과 동시에, 우수한 방열의 효과를 얻을수 있다. 뿐만 아니라 전착도장을 통해 생산성의 향상과 고른 품질을 유지할 수 있는 것을 특징으로 하는 방열판 피복용 수용성 나노 세라믹 방열코팅 조성물에 관한 것이다.
터널용 세라믹 도료의 조성물
출원번호 | 10-2012-0074728 등록번호 | 10-1380-2360000
특허권자 | 주식회사 부광산업 발 명 자 | 장세영, 조종춘
본 발명은 터널용 세라믹 도료의 조성물에 관한 것으로, 콘크리트의 기재 표면에 도막 형성용 도료의 조성물로서, 분자당 적어도 2개 이상의 하이드록실기를 가지는 α,ω-디하이드록시 폴리다이메틸 실록산(dihydroxy polydimethyl siloxaxne) 1~95중량부와, 실리콘 MQ수지 5~60중량부와, 분자당 적어도 하나 이상의 하이드록실기와 친수성기를 가지는 실란이나 폴리올가노실록산 중에서 수용성인 것 중 하나 이상인 것의 0.1~30중량부와, 하나 이상의 유화제 0.005~9.5중량부로 구성되는 실리콘 에멀젼 전색제와, 은폐안료로서 산화티탄(titanium oxide/TiO2)과, 충전안료로서 탄산칼슘과 침강방지제로서 하이드로마그네슘알루미늄실리케이트 (hydro magnesium aluminium silicate)와 소포제로 실리콘 소포제 및 증점제로 하이드록시에틸 셀룰로오스 (hydroxyethyl cellulose)로 구성되는 기능성 세라믹 재료와, 형광안료, 형광염료, 금박, 펄, 반짝이, 도로표지용 유리알 등에서 선택되는 고 휘도용 착색제로 구성된다.
따라서, 터널 내부와 벽면에서 휘도가 충분히 발현됨으로써 동일 조명 하에서 터널 내부가 보다 더 밝으면서도 터널 내부를 주행하는 운전자에게 방해가 되는 플리커(flicker)가 발생하지 않는 장점이 있고, 단위 면적당 시공비가 낮아 시공비용이 크게 절감되고, 세라믹 도료의 방오성으로 인해 터널 내부가 쉽게 오염되지 않으므로 유지 관리가 용이하여 유지관리 비용이 절감되는 경제적인 효과가 있으며, 결로가 방지되고 방수성이 뛰어나 항균 성능이 우수하며, 원적외선과 음이온을 발생시킴으로 인해 터널 내부의 매연 및 오염 등을 정화시켜 쾌적한 터널 내부 환경을 조성하는 장점이 있고, 천연의 수성 세라믹 도료로서 휘발성 유기화합물들이 없을 뿐만 아니라 터널 내부의 사고 등에 의한 화재 발생 시에도 연소하거나 유독가스가 발생하지 않아 안전성을 확보할 수 있는 매우 유용한 발명이다.
세라믹 히터 및 글로우 플러그
출원번호 | 10-2010-7009247 등록번호 | 10-1375-9890000
특허권자 | 니혼도꾸슈도교 가부시키가이샤
발 명 자 | 세키구치유타카 외 2명
우수하고 빠른 가열 성능을 가지며, 전력 소모를 감소시킬 수 있고, 내구성이 우수한 세라믹 히터, 및 빠른 가열 성능, 낮은 전력 소모 및 빠른 온도 상승시의 내구성을 모두 높은 수준으로 실현할 수 있는 글로우 플러그의 제공.
세라믹 히터(12)는 기판(60) 및 상기 기판(60) 내에 매설되는 저항기 소자(30)를 포함한다. 상기 저항기 소자(30)는 전기적으로 도전성인 세라믹으로 형성되고 U-형 형상으로 절첩된 열-발생부(33), 상기 열-발생부(33)의 단부에 결합되는 리드부(31), 및 상기 열-발생부(33)와 상기 리드부(31)의 사이에 위치되는 중간부(40)를 포함한다. 상기 중간부(40)는, 상기 축(XA) 방향을 따라 임의의 2개 지점(P1), (P2)에서의 단면을 비교할 때, 상기 저항기 소자(30)의 단면을 포함하는 가상 외접원(CG)의 직경(CL) 및 상기 단면의 전체 단면 영역(HS) 모두가 후단측 단면 내의 그것들에 비하여 선단측 단면 내에서 작게 되도록 형성된다.
형질전환 돼지 뼈를 이용한 골 이식용 세라믹 입자, 그 제조방법 및 상기 입자를 포함하는 생체의료용 세라믹재료.jpg)
출원번호 | 10-2012-0123493 등록번호 | 10-1379-8940000
특허권자 | 전남대학교산학협력단 발 명 자 | 강성수 외 2명
본 발명은 골 세라믹 입자 및 이를 이용한 생체의료용 골이식 재료에 관한 것으로, 보다 구체적으로는 인간에 대한 초급성, 급성혈관성 및 세포매개성 면역거부 현상이 없도록 형질 전환된 돼지의 뼈를 원료로 제조된 형질전환 돼지 뼈를 이용한 골 이식용 세라믹입자, 그 제조방법 및 상기 입자를 포함하는 생체의료용 세라믹재료에 관한 것이다.
중공형 가스터빈 고온부품 진공정밀 주조용 세라믹 코어의 제조
방법
출원번호 | 10-2012-0099595 등록번호 | 10-1373-4810000
특허권자 | 한국전력공사 발 명 자 | 장중철 외 2명
본 발명은 중공형 (고효율 내부 냉각 유로를 갖는) 가스터빈 고온부품 진공정밀 주조 시 필수적으로 사용되는 세라믹 코어(Ceramic core)의 제조 과정 중 강도 부족으로 인한 세라믹 코어의 파손, 특히 두께가 얇은 부분에서는 주입 성형 후 소결(sintering)과정 또는 주조 단계에서 파손되어 전체 공정의 실패를 초래하는 비용 및 시간적 소모를 방지하기 위해 세라믹 코어의 강도가 증가될 수 있도록 하는 제조 공정과 전처리 방법에 관한 것이다.
마모방지기능을 가지는 실린더 및 헤드세트와 이의 제작방법.jpg)
출원번호 | 10-2012-0052753 등록번호 | 10-1380-7360000
특허권자 | 강정일, 전혜숙 발 명 자 | 강정일, 전혜숙
본 발명은 마모가 발생되는 실린더의 내주면 및 헤드세트를 소정형태의 세라믹 소재로 형성하여 마모 현상을 거의 배제함으로써 뛰어난 내구성은 물론 반영구적으로 사용가능하도록 한 마모방지기능을 가지는 실린더 및 헤드세트와 이의 제작방법에 관한 것으로, 상기 실린더는, 관통공이 형성된 원통형의 본체와, 상기 관통공에 삽입 고정되며 스크류가 장착되는 스크류장착공이 형성된 파이프형상의 마모방지부재로 구성되고, 상기 마모방지부재는 세라믹을 소결시켜 성형하여 된 것이다.
하니컴 세라믹 필터용 탄화규소 세그먼트의 제조방법
출원번호 | 10-2007-0045736 등록번호 | 10-1380-9650000
특허권자 | 주식회사 칸세라 발 명 자 | 공영민, 한대곤
본 발명은 매연여과장치(DPF)인 하니컴 세라믹 필터용 탄화규소 세그먼트의 제조방법에 관한 것으로, 압출 후 소정 크기로 커팅한 세그먼트 성형물을 건조한 다음, 천공, 플러깅 및 소결하는 과정으로 구성되고, 상기 마이크로파 건조 과정에서 국부적인 열점이 발생하지 않도록, 상기 세그먼트 성형물의 이송 경로는 마이크로파 건조기의 마이크로파의 인가 위치에 대해 소정의 패턴으로 변경하는 것을 포함하는 탄화규소 세그먼트의 제조 방법을 제공한다.
이러한 방법에 의해 제조된 하니컴 세라믹 필터는 마이크로파 건조 공정에서 열점이 발생하는 현상을 방지함으로써, 굴곡이나 뒤틀림 등의 변형이 방지될 수 있고, 세그먼트의 물성이 균일하게 되므로 궁극적으로 매우 우수한 필터링 성능을 갖는다.
유전체 조성물 및 이를 이용한 적층 세라믹 전자부품.jpg)
출원번호 | 10-2012-0108744 등록번호 | 10-1376-9240000
특허권자 | 삼성전기주식회사 발 명 자 | 강성형 외 2명
본 발명은 유전체 조성물 및 이를 이용한 적층 세라믹 전자부품에 관한 것으로, 본 발명은 ABO3로 표현되는 페롭스카이트 구조를 가지는 유전체 그레인을 포함하며, 상기 유전체 그레인의 중심에서 그레인 경계(grain boundary) 방향으로 가상의 직선을 그었을 때, 상기 유전체 그레인의 중심에서 0.75 내지 0.95에 해당하는 영역에서의 희토류 원소의 함량은 B 사이트를 차지하는 이온 100 at% 대비 0.5 내지 2.5 at%인 유전체 조성물을 제공한다.
3Å 크기의 기공을 갖는 기체 분리용 제올라이트 무기막의 제조방법
출
원번호 | 10-2012-0062192 등록번호 | 10-1380-8960000
특허권자 | 한국화학연구원 발 명 자 | 이혁희, 장태선
본 발명은 (a) 액상의 규산칼륨(Potassium silicate, K2SiO3)과 액상의 알루민산칼륨(Potassium aluminate, KAlO2)을 세라믹으로 구성된 기판의 양면에 각각 독립적으로 접촉시키는 접촉단계; (b) 상기 세라믹으로 구성된 기판의 양면에 각각 접촉된 상기 액상의 규산칼륨과 액상의 알루민산칼륨이 기판의 표면으로부터 기판의 내부로 침투해 들어가는 침투단계; (c) 상기 기판의 내부에 침투된 규산칼륨과 알루민산칼륨이 반응하여 알루민산규산 칼륨(Potassium aluminosilicate)의 비정질 결정을 형성하는 단계; (d) 상기 알루민산규산 칼륨(Potassium aluminosilicate)의 비정질 결정을 가열하여 결정을 성장시키는 가열단계; (e) 상기 기판의 내부에 생성된 비정질의 알루민산규산 칼륨 이외의 부산물 또는 잔류의 미반응 규산칼륨 및 알루민산칼륨을 제거하는 세척단계; 및 (f) 상기 기판 내부에 포함된 수분을 제거하는 건조단계를 포함하는 것을 특징으로 하는 기판 내부에 3Å 크기의 기공을 갖는 기체 분리용 제올라이트 무기막의 제조방법에 관한 것이다.
무기 항균제의 분산성이 개선된 골재의 제조방법 및 항균성 골재를 사용한 콘크리트블록 및 그 제조방법.jpg)
출원번호 | 10-2013-0046730 등록번호 | 10-1375-1460000
특허권자 | (주)장성산업 발 명 자 | 김천수
본 발명은 무기 항균제의 분산성이 개선된 골재의 제조방법 및 항균성 골재를 사용한 콘크리트블록 및 그 제조 방법에 관한 것으로, 더욱 상세하게는 입자가 3 ~ 30 ㎜로 비교적 크기가 큰 무기세라믹 쇄석 또는 경량 골재를 무기 항균제에 담궈 무기세라믹 쇄석 또는 경량 골재 표면에 항균 물질을 골고루 입혀 무기항균골재를 제조하고 이를 콘크리트 블록 제조에 투입함으로써 분말 무기 항균제를 투입하는 것과는 달리 항균 성분이 밀집되지 않고 블록 전체에 골고루 분포되어 품질이 우수하고 균일한 항균성 콘크리트 블록을 제공할 수 있다.
다중 전해질층을 가진 용융 탄산염 연료전지
출원번호 | 10-2012-0157939 등록번호 | 10-1374-8680000
특허권자 | 트윈에너지(주) 발 명 자 | 허창기, 박남신
본 발명은 다중 전해질층을 가진 용융 탄산염 연료전지에 관한 것으로, 보다 상세하게는 캐소드 전극(Cathode Electrode)과 전해질(Electrolyte)의 반응 속도를 개선하여 부반응에 의해 발생되는 니켈 금속의 용출을 최소화하여 애노드 전극(Anode Electrode)과 캐소드 전극(Cathode Electrode) 사이에서의 쇼트를 방지하고 수명을 연장시킬 수 있고, 또한 전해질의 증발을 억제하고 전해질을 보충할 수 있도록 할 목적으로, 캐소드 전극(10)과 애노드 전극(20) 및 상기 각 전극 사이에 개재되는 전해질층(30)으로 이루어진 용융 탄산염 연료전지에 있어서, 상기 전해질층은 공극률이 서로 다른 복수 층의 전해질층으로 이루어지는 한편, 상기 전해질층(30)의 가장자리에 상기 전해질층의 외기 접촉을 차단하도록 측부를 커버하는 세라믹 서포터(40)가 더 구비된 것이 특징인 다중 전해질층을 가진 용융 탄산염 연료전지가 제공된다.
요철 패터닝 된 금속을 이용한 금속지지층과 금속산화물 막으로 형성된 복합분리막 및 그 제조방법
출원번호 | 10-2012-0033027 등록번호 | 10-1379-4980000 .jpg)
특허권자 | 한국전기연구원 발 명 자 | 정대영, 김종욱
본 발명은, 요철 패터닝 된 금속을 이용한 금속지지층과 금속산화물 막으로 형성된 복합분리막 제조방법에 관한 것으로, 표면을 요(凹)부와 철(凸)부 모양의 패턴으로 패턴닝 시킨 금속소재의 표면을 양극산화하고 식각하여 금속소재의 요(凹)부 부분에 관통된 직관통공을 형성시키는 요철 패터닝 된 금속을 이용한 금속지지층과 금속산화물 막으로 형성된 복합분리막 제조방법을 기술적 요지로 한다. 그리고 본 발명은 표면이 요(凹)부와 철(凸)부 모양의 패턴으로 패턴닝 된 금속소재와; 상기 금속소재의 표면을 양극산화시켜 상기 금속소재의 표면에 형성시킨 금속산화물막과; 상기 금속소재를 양극산화하여 금속소재의 요(凹)부 부분에 관통되게 형성시킨 직관통공을 포함하여 구성되는 요철 패터닝 된 금속을 이용한 금속지지층과 금속산화물 막으로 형성된 복합분리막을 또한 기술적 요지로 한다.
이에 따라, 양극산화 나노다공질 산화물 세라믹 막에 우수한 기계적 성질을 부여함으로써, 취급이 용이할 뿐만 아니라, 고온이나 저온의 펄스 가스에 의한 역세 시 열 및 기계적 충격에 대한 저항성과 열팽창에 대한 저항성을 극도로 향상시켜, 대면적의 실제적인 장치에 적용할 수 있고, 다른 장치와의 연결성을 향상시킬 수 있는 이점이 있다.
기사를 사용하실 때는 아래 고유 링크 주소를 출처로 사용해주세요.
https://www.cerazine.net