세라믹스 관련 주요 특허출원 공개목록
주요 등록특허 공개내용
2014년 2월 1일 ~ 2014년 2월 28일
수소성 고분자로 표면처리된 세라믹 나노 분말의 제조방법 및
이에 따라 제조되는 세라믹 나노 분말
출원번호 | 10-2010-0131373 등록번호 | 10-1239-3560000
특허권자 | 한국원자력연구원 발 명 자 | 엄영랑 외 4명
.jpg)
본 발명은 소수성 고분자로 표면처리된 세라믹 나노 분말의 제조방법 및 이에 따라 제조되는 세라믹 나노 분말에 관한 것으로서, 상세하게는 세라믹 분말, 소수성 고분자 및 공정제어제(PCA, pro-cess control agent)를 습식밀링하여 세라믹분말을 나노입자화시키는 동시에 소수성 고분자로 표면처리하는 것을 특징으로 하는 소수성 고분자로 표면처리된 세라믹 나노 분말의 제조방법 및 이에 따라 제조되는 세라믹 나노 분말을 제공한다. 본 발명에 따른 소수성 고분자로 표면처리된 세라믹 나노 분말의 제조방법 및 이에 따라 제조되는 세라믹 나노 분말은 one-step 볼밀링 공정을 이용하여 세라믹 분말을 나노화시킴과 동시에 소수성 물질로 표면을 코팅할 수 있는 특징이 있으며, 산 또는 염기성 용액에 반응하는 세라믹 분말의 표면 활성화 및 유기용제의 슬러리화에 의하여 견고한 코팅층을 형성할 수 있어 고분자 기재 분산시 젖음성과 접착성이 향상되어 나노입자가 고분자 기지에 균일 분산될 수 있고, 세라믹 나노입자와 고분자 기지의 결합을 강하게 할 수 있다. 또한, 방사선 차폐재에 이용되는 경우 감마선 또는 중성자 차폐능을 크게 향상할 수 있어 극한환경에서도 장기간 물성을 유지해야 하는 원자력, 우주, 의료 및 국방 등 다양한 분야의 방사선 환경에 이용할 수 있다
세라믹 필터를 이용한 계단식 집진장치
출원번호 | 10-2009-0122856 등록번호 | 10-1237-7570000
특허권자 | 김기호 발 명 자 | 김기호
.jpg)
본 발명은 세라믹필터 집진장치에 관한 것으로, 세라믹필터 집진장치에 있어서, 가로(행)방향으로 일정한 배열을 가지고 배열 장착되어 층을 이루고, 배열을 갖는 층 그룹이 계단식 구조를 구성하는 세라믹필터 집진장치; 상기 가로방향으로 필터의 배열을 하는 것은 직사각 형상을 모듈화로 필터의 여과면적은 체적에 비해 높지만 필터의 길이가 짧아 장치의 규모를 최소화 할 수 있는 장점이 있어 이를 포함하는 것을 특징으로 하는 세라믹필터 집진장치에 관한 것이다. 이를 통하여 종래의 필터에서 분진 탈진시 필터 전체에 공기량을 전달할 수 없었으나 세라믹필터 전체 표면에서 압축공기를 통한 고른 탈진효과를 얻을 수 있는 장점이 있으며, 필터의 행 방향 탈진 작업할 때 하부로 떨어지는 분진의 양을 제한적으로 필터에 영향을 줄 수 있는 계단식 구조를 구성하므로 이를 통한 고온의 환경에서도 원활히 운전될 수 있는 세라믹필터를 이용한 탈진 시스템을 얻을 수 있는 효과를 가진다.
압전 세라믹 조성물 및 이것을 이용한 압전 소자
출원번호 | 10-2010-7015520 등록번호 | 10-1235-4340000
특허권자 | 니혼도꾸슈도교 가부시키가이샤
발 명 자 | 야마자키 마사토 외 3명
.jpg)
본 발명은 높은 열저항 및 높은 압전 변형 상수를 갖는 압전 세라믹 조성물 및 상기 압전 세라믹 조성물을 이용하는 압전 소자를 제공한다. 본 발명의 압전 세라믹 조성물은 Na, Bi, Ti, Cr 및 O을 포함하는 압전 세라믹 조성물을 포함하며, 여기에서 Na, Bi, Ti, 및 Cr의 함유율은 그의 산화물에 의하여 다음의 구성 범위 이내로 된다: aNa2O-bBi2O3-cTiO2 -dCrO3/2, 여기에서, a, b, c 및 d는 몰분율이며; 0.030≤a≤0.042; 0.330≤b≤0.370; 0.580≤c≤0.620; 0003c#d≤0.017; 그리고 a+b+c+d=1이다. 상기 압전 세라믹 조성물은 바람직하게는 강유전성 비스무트층 구조의 결정상을, 더욱 바람직하게는 Na0.5Bi4.5Ti4O15 결정을 갖는다. 본 발명의 압전 소자는 상기 압전 세라믹 조성물로 형성되는 압전체 및 상기 압전체에 접촉되어 지지되는 적어도 한 쌍의 전극을 포함한다.
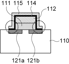
세라믹-메탈 패키지
출원번호 | 10-2012-0059260 등록번호 | 10-1238-6330000
특허권자 | 한국세라믹기술원 발 명 자 | 김효태
.jpg)
본 발명에 따른 세라믹-메탈 패키지는 하나의 금속기판(10)과, 상기 금속기판(10)의 일면 상에 형성된 복수의 세라믹 절연층(12)과, 상기 복수의 세라믹 절연층(12) 상면에 각각 형성된 복수의 전극층(14)을 포함하고, 상기 복수의 세라믹 절연층(12)은 상기 복수의 전극층(14)과 함께 전기회로 패턴을 이루며, 상기 복수의 세라믹 절연층(12) 각각은 이러한 전기회로 패턴에 따라 상호 인접한 세라믹 절연층(12)과 소정 거리만큼 상호 이격된다.
무기질 세라믹 코팅제 제조방법 및 그를 코팅하는 방법
출원번호 | 10-2010-0021187 등록번호 | 10-1237-6560000
특허권자 | 라채근 발 명 자 | 라채근
.jpg)
본 발명은 무기질 세라믹 코팅제 제조방법 및 그를 도포하는 방법에 관한 것으로서, 더 상세하게는 금속이나, 비금속의 소재 표면에 무기질 세라믹 코팅제를 제조, 도포하여 코팅층을 형성하여 내열성, 내마모성, 내용제성, 내식성, 내변색성, 비점착성 등의 효과를 갖도록 할 수 있는 무기질 세라믹 코팅제 제조방법 및 그를 도포 하는 방법에 관한 것이다. 본 발명의 의한 무기질 세라믹 코팅제 제조방법은 바인더 역할을 하는 무기 결합제 1~99 중량부의 제1단계와, 기능성 충진 역할 및 색상을 내는 역할을 하는 무기안료 1~99 중량부의 제2단계를 포함하는 것을 특징으로 한다. 본 발명에 의한 무기질 세라믹 코팅제 도포방법은 소재의 기름이나 오물 등을 제거하고 표면에 요철을 주는 샌드블라스트 하는 제3단계와, 소재를 예열하고 코팅을 하는 제4단계와, 건조를 하는 제5단계로 무기질 세라믹 코팅제를 코팅하는 것을 특징으로 한다.
가스터빈 고온 부품 제조용 세라믹 코어의 제조방법과
가스터빈 고온 부품 제조용 세라믹 코어의 소결용 받침판
출원번호 | 10-2011-0058864 등록번호 | 10-1233-4760000
특허권자 | 한국전력공사, 한국동서발전 주)
.jpg)
발 명 자 | 장성용, 장중철, 김범수
본 발명은 가스 터빈 고온 부품 제조용 세라믹 코어의 제조 방법과 세라믹 코어의 소결용 받침판에 관한 것으로, 코어 안착 홈부가 상부면에 형성된 코어 받침 패널부재를 포함한 코어 소결용 받침판의 상기 코어 안착 홈부에 주조로 제조된 세라믹 코어를 삽입하여 소결함으로써, 제조 과정에서 가스 터빈 고온 부품 제조용 세라믹 코어의 파단을 방지하여 제조 시 불량률을 크게 줄이고, 세라믹 코어의 생산성을 향상시키며 제조 원가를 절감한다.
인 제거용 세라믹 조성물 및 이의 제조방법
출원번호 | 10-2010-0117737 등록번호 | 10-1240-5890000
특허권자 | 코리아엔텍(주), 초당대학교 산학협력단
발 명 자 | 이용환, 조기안, 이상균
.jpg)
본 발명은 인 제거용 세라믹 조성물 및 이의 제조방법에 관한 것으로서, 더욱 상세하게는 세라믹을 이용하여 생물학적으로 처리가 어려운 용존 상태의 인을 효과적으로 제거할 수 있는 인 제거용 세라믹 조성물 및 이의 제조방법에 관한 것이다. 본 발명의 인 제거용 세라믹 조성물의 제조방법은 감람석, 제올라이트, 슬래그를 분말로 파쇄하여 선별하는 파쇄단계와, 상기 감람석 40 내지 45중량%, 상기 제올라이트 10 내지 20중량%, 상기 슬래그 40 내지 45중량%를 혼합하는 혼합단계와, 상기 혼합단계에서 수득된 혼합물에 물을 가하여 반죽한 후 성형체로 성형하는 성형단계와, 상기 성형체를 건조한 후 소성하는 소성단계;를 포함한다.
서큘레이터 및 아이솔레이터를 위한 복합 조립체를 제조하기 위한
자성 재료와 유전재료의 동시 소성
출원번호 | 10-2010-7022806 등록번호 | 10-1235-9640000
특허권자 | 스카이워크스 솔루션즈 인코포레이티드
발 명 자 | 쳉 징민 외 2명
.jpg)
본 발명에 따라 복합 자성-유전 디스크 조립체를 제조하기 위한 방법은, 유전 세라믹 실린더를 형성하는 것, 자성 세라믹 로드를 형성하는 것, 로드-실린더 조립체를 형성하기 위해 유전 세라믹 실린더 내측에 동축으로 자성 세라믹 로드를 조립하는 것, 로드-실린더 조립체를 굽는 것 소성하는 것), 그리고 복수 개의 디스크 형상의 복합 자성-유전 조립체를 형성하기 위해 로드-실린더 조립체를 슬라이싱하는 것을 포함한다. 상기 자성-유전 디스크 조립체는, 예컨대 서큘레이터, 아이솔레이터, 또는 유사한 전자 구성요소를 제조하는 데 이용될 수 있다. 이에 따라, 상기 디스크 조립체를 제조하기 위한 방법은 상기 전자 구성요소를 제조하기 위한 방법의 일부로서 포함될 수 있다.
박막 세라믹 회로기판 모듈 및 열전도성 접착 조성물
출원번호 | 10-2011-0101534 등록번호 | 10-1238-2380000
특허권자 | 주식회사 케이에이치바텍 발 명 자 | 박성진, 진의선, 김덕근
.jpg)
본 발명은 박막 세라믹 회로기판 모듈 및 열전도성 접착조성물에 관한 것으로서, ㄴ특히 열 및 전기적 전도성이 높아 방열이 우수하며, 두께를 얇게 할 수 있는 박막세라믹 회로기판 모듈 및 열전도성 접착조성물에 관한 것이다. 본 발명의 박막 세라믹 회로기판 모듈은, 절연성을 갖는 박막 세라믹으로 이루어진 기판층과, 상기 기판층의 상부에 통전물질이 인쇄되어 회로를 형성하는 패턴층과, 상기 기판층의 상부에 장착되는 발열체와, 상기 기판층의 하부에 장착되어 상기 발열체에서 발생된 열을 외부로 방출하는 방열판과, 열 및 전기적 던도성을 갖는 물질로 이루어져 상기 기판층의 하부와 상기 방열판을 상호 결합시켜 상기 발열체에서 발생된 열을 상기 방열판으로 전달하는 접착조성물을 포함하여 이루어지되, 상기 접착조성물은 에폭시수지 20~50중량% 경화제 1~20중량%, 난연제5~20중량%, 가소성부여제 1~10중량%, 충진제 20~60 중량%, 조색제 1~2 중량%, 및 기능성첨가제 1미만 중량%의 혼합 조성물로 이루어진 것을 특징으로 한다.
오염물질 분해 효과를 갖는 미세 다공질 세라믹 패널 및
그 제조방법
출원번호 | 10-2010-0120685 등록번호 | 10-1234-6090000
특허권자 | 한국교통대학교산학협력단 발 명 자 | 류성림, 김병성
.jpg)
신축 건물 등의 생활공간에서 환경유해물질 저감시키는 미세 다공질 세라믹의 기공 내에 흡착되는 오염 물질을 분해시킴으로써 오염된 물질 방출이 없으므로 쾌적한 생활공간을 반영구적으로 사용할 수 있는 미세 다공질 세라믹 패널에 대하여 개시한다. 본 발명에 따른 미세 다공질 세라믹 패널은 복수의 기공을 구비한 다공질 세라믹층 및 상기 다공질 세라믹층의 표면 상에 1 ~ 10㎛의 두께로 형성되며, 아나타제형 결정 구조를 갖는 광촉매층을 포함하며, 상기 광촉매층은 자연광 또는 인조광에 의하여 상기 기공 내에 흡착되는 오염 물질을 분해하는 것을 특징으로 한다.
친수성으로 표면처리된 세라믹 분말을 제조하는 방법 및
이를 입도별로 분급하는 방법
출원번호 | 10-2011-0064366 등록번호 | 10-1232-9690000
특허권자 | 한국원자력연구원 발 명 자 | 이창규 외 5명
.jpg)
본 발명의 일 실시예에 따라 제조된 친수성으로 표면처리된 세라믹 분말은 친수성 유체 내에서 분산성이 향상된 입자를 이용한 나노 유체의 제조가 가능하다. 또한, 나노 크기의 입자를 대량으로 합성할 경우 비교적 간단한 공정으로 마이크론 크기의 입자를 제거하여 구조소재에서 기계적 물성저하를 방지하며 불량제품의 수율을 낮추는 효과가 있다. 또한, 상기와 같이 친수성으로 표면 처리함으로써 세라믹 분말의 분급을 더 세밀하게 분급화하여, 입도가 균일한 상태의 세라믹 분말을 제공할 수 있다.
내화성 물질
출원번호 | 10-2007-7017611 등록번호 | 10-1232-5910000
특허권자 | 코닝 인코포레이티드 발 명 자 | 탄너 외 11명
.jpg)
본 발명은 P2O5/R2O3 성분, 및/또는 V2O5/R’2O3 성분을 함유하는 내화성 물질을 제공하며, 여기서 R은 Y, Sc, Er, Lu, Yb, Tm, Ho, Dy, Tb, Gd, 또는 이들의 혼합물이고, R’은 Y, Sc, 하나 이상의 희토류 원소, 또는 이들의 혼합물이다. 어떤 실시 예에 있어서, 상기 내화성 물질은 제노타임-타입 물질 및/또는 제노타임-안정화 지르콘-타입 물질이다. 상기 내화성 물질은 유리 및 유리-세라믹을 제조하는데 사용될 수 있다. 예를 들어, 상기 내화성 물질, 특히 P2O5/R2O3 성분을 함유하는 물질은 평평한 패널 디스플레이의 제조에 기판으로 사용된 유리 시트와 같은 유리의 평평한 시트를 제조하기 위한 융해 공정에서 제조 구조물 (이소파이프)로 사용될 수 있다.
배기가스 정화용 세라믹 필터의 조성물 및 세라믹 하니컴 필터의 제조방법
출원번호 | 10-2010-0083765 등록번호 | 10-1234-4450000
특허권자 | 전북대학교산학협력단, 이근호
발 명 자 | 이근호, 유연태
본 발명은 저온 소성이 가능하고 저열팽창성의 우수한 내열충격성을 가지고 기공율을 향상시켜 배기가스에 포함된 입자상 물질을 효과적으로 제거할 수 있는 배기가스 정화용 세라믹 필터의 조성물 및 세라믹 하니컴 필터의 제조방법에 관한 것이다.
미세 패턴을 가지는 세라믹 템플릿의 제조방법
출원번호 | 10-2010-0130785 등록번호 | 10-1235-3600000
특허권자 | 한국기계연구원 발 명 자 | 김사라 외 10명
.jpg)
미세 패턴을 가지는 세라믹 템플릿의 제조 방법이 개시된다. 세라믹 템플릿의 제조 방법은 돌출부를 포함하는 유연 몰드를 제조하는 단계와, 기판 상에 금속-유기물 전구체 용액을 도포하여 코팅층을 형성하고, 유연 몰드로 코팅층을 가압한 상태에서 코팅층을 경화시킨 후 유연 몰드를 제거하여 제1 오목부를 포함하는 금속산화물 패턴을 형성하는 단계와, 적어도 2개의 반복 단위로 이루어진 블록 공중합체를 포함하는 블록 공중합체 코팅층을 제1 오목부에 채우는 단계와, 블록 공중합체 코팅층을 소결하여 반복 단위들을 미세 상 분리시킴으로써 복수의 고분자 블록으로 이루어진 자기 조립 구조를 형성하는 단계와, 복수의 고분자 블록 중 일부의 고분자 블록을 제거하여 제2 오목부를 포함하는 미세 패턴을 형성하는 단계를 포함한다.
내충격성이 뛰어난 플러깅된 탄화규소 필터의 제조방법
출원번호 | 10-2007-0002664 등록번호 | 10-1237-3490000
특허권자 | (주)엘지하우시스 발 명 자 | 배일준, 임호연, 이민희
.jpg)
경제적으로 제조할 수 있고, 내산화성이 우수하고 장기간 사용하여도 여과 효율이 유지될 수 있으며 외부 충격에 대한 내충격성이 강한 플러깅된 탄화규소 필터의 제조 방법이 개시된다. 본 발명에 따른 탄화규소 필터의 제조 방법은 평평한 탄소 섬유 시트와 파형화된 탄소 섬유 시트를 교대로 적층하고, 상기 적층으로 형성된 복수개의 단위셀의 어느 한쪽 단부만을 세라믹 밀봉재로 플러깅한 다음 필터 외부에 보호층을 형성함으로써, 압출방식에 의하지 않고 탄화규소 섬유보다 상대적으로 저렴한 탄소 섬유를 사용하여 경제적으로 탄화규소 필터를 제조할 수 있으며, 상기 방법으로 제조된 탄화규소 필터는 압출 방식에 의한 필터보다 기공율이 뛰어나고 장기간 사용하여도 여과효율을 유지할 수 있을 뿐 아니라 외부 보호층으로 인해 필터의 내충격성이 뛰어나다.
원통형 스퍼터링 타겟의 제조방법
출원번호 | 10-2011-0137586 등록번호 | 10-1240-2040000
특허권자 | 주식회사 나노신소재 발 명 자 | 박장우, 김상희
.jpg)
본 발명은, 원통형 세라믹 타겟과 원통형 백킹 튜브(Backing Tube)로 이루어진 원통형 스퍼터링 타겟을 제조함에 있어서, 원통형 백킹 튜브의 외주에, 중공 원통형 세라믹 타겟을 배치하는 제1 단계; 상기 세라믹 타겟의 외부를 가온하면서, 상기 백킹 튜브 내부에 액체 열매체를 순환 또는 충진시켜, 세라믹 타겟과 백킹 튜브 사이 간극의 온도를 제어하는 제2 단계; 및 상기 세라믹 타겟과 상기 백킹 튜브 사이에 용융상태의 인듐을 충진하여 세라믹 타겟과 백킹 튜브를 접합시키는 제3 단계를 포함하는 것을 특징으로 하는, 원통형 스퍼터링 타겟의 제조 방법에 관한 것이다.
압축공기를 이용한 세라믹코팅의 손상 진단장치 및 진단방법
출원번호 | 10-2010-0075728 등록번호 | 10-1238-9210000
특허권자 | 부산대학교 산학협력단 발 명 자 | 박진효 외 4명
.jpg)
본 발명은 세라믹코팅의 손상 진단장치 및 진단방법에 관한 것으로, 세라믹 코팅층에 압축공기를 분사하여 발생하는 탄성파를 감지하는 방식에 의해 보다 신속하고 정확하게 세라믹 코팅층의 손상을 진단할 수 있도록 한 것이다. 이러한 본 발명은 세라믹 코팅된 피진단물을 지지하는 지그와, 지그에 장착된 피진단물을 향해 압축공기를 분사하는 분사노즐과, 피진단물과 충돌한 압축공기에 의해 발생되어 피진단물을 통해 전달되는 탄성파를 감지하고 이를 전기신호로 변환하는 감지센서와, 감지센서로부터 전달된 전기신호를 분석하여 세라믹 코팅층의 손상 여부를 판단하는 제어기를 포함하여 구성된다.
박막전국 세라믹 기판 및 이의 제조방법
출원번호 | 10-2011-0078189 등록번호 | 10-1234-8780000
특허권자 | 삼성전기주식회사 발 명 자 | 유원희 외 3명
.jpg)
본 발명은 세라믹 기판, 상기 세라믹 기판에 형성된 전극 패턴, 및 상기 전극 패턴에 형성된 도금층을 포함하며, 상기 도금층은 상기 전극 패턴의 상부 및 양 측면에 형성되는 것인 박막 전극 세라믹 기판 및 이의 제조방법에 관한 것이다. 본 발명에 따른 박막 전극 세라믹 기판은 박막 전극 패턴의 상부 및 양 측면에 도금층을 형성시키거나, 또는 세라믹 기판 표면에 음각 형태의 에칭 방지 금속층을 형성하여 에칭액에 의한 기판 표면과 전극 패턴 간, 및 전극 패턴들 간의 언더컷 발생을 방지할 수 있다.
반사판 및 이를 이용한 발광 다이오드 및 그 패키지
출원번호 | 10-2010-0047045 등록번호 | 10-1233-3050000
특허권자 | 교리츠 엘렉스 가부시키가이샤
발 명 자 | 야마모토 이츠키 외 3명
.jpg)
발광 다이오드를 소형 박형화하는 것이 가능한 반사 특성을 향상시킨 세라믹을 제공하는 것이다. 본 발명에서는, 반사판 및 그 반사판을 이용한 발광 다이오드(1) 및 그 패키지(2)에 있어서, 알루미나와 지르코니아의 혼합물을 소성한 세라믹을 이용하는 것으로 했다. 특히, 지르코니아의 함유량을 20~50중량%로 하고, 또한, 지르코니아의 입경을 알루미나의 입경보다 작게 하고, 혹은, 알루미나와 지르코니아의 혼합물에 바륨 화합물을 2~5중량% 첨가한 것으로 했다. 또, 발광 다이오드(1)는, 발광 다이오드 소자(3)를 실장하기 위한 베이스체(4)의 상부에 반사면(9)을 갖는 개구(8)를 형성한 커버체(5)를 점착한 발광 다이오드용 패키지(2)를 이용한 구조로 했다.
기사를 사용하실 때는 아래 고유 링크 주소를 출처로 사용해주세요.
https://www.cerazine.net