회사로고

Top
기사 메일전송

[ 통권 302호 2013.7 | ]

주요 등록특허 공개내용
  • 편집부
  • 등록 2013-09-11 17:48:54
기사수정

주요 등록특허 공개내용 2013년 5월 1일 ~ 5월 31일

 

3차원 망상구조의 세라믹 구조체를 제조하는 세라믹 조성물 및 그 제조방법
출원번호 | 10-2013-0006640 등록번호 | 10-1272303-0000
특허권자 | (주)나노푸드 발 명 자 | 임태순
본 발명은 알칼리 실리카 졸(SiO2 30%), 페타라이트(petalite, LiAlSi4O10), 지르콘(ZrSiO4), 세리사이트(sericite, (K,Na)2ㆍAl2O3ㆍSiO2), 활석(3MgOㆍ4SiO2ㆍH2O) 및 수산화알루미나 분말과 증점제, 분산제, 소포제, 점결제, 및 물을 혼합하여 각종 조리용 용기 및 장치를 제조하는 3차원 망상구조의 세라믹 구조체를 제조하는 세라믹 조성물에 있어서, 상기 세라믹 조성물의 배합비율은 알칼리 실리카 졸 300 ~ 800중량부, 페 타라이트 500 ~ 2000중량부, 지르콘 500 ~ 2000중량부, 세리사이트 100 ~ 500중량부, 활석 50 ~ 100중량부, 및 수산화 알루미나 50 ~ 200중량부와 활석 50 ~ 100중량부와, 증점제 1 ~ 4중량부, 소포제로는 지방산 에스텔 1 ~ 2중량부를 포함하고, 점결제로는 헥사메타포스페이트(hexamethaphosphate) 50 ~ 150중량부 및 물300~500중량부를 포함하는 것을 특징으로 하는 3차원 망상구조의 세라믹 구조체를 제조하는 세라믹 조성물을 제공한다.

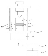
메탈 세라믹 진동자의 접합치구 정렬장치 및 방법
출원번호 | 10-2006-0130721  등록번호 | 10-1264259-0000
특허권자 | 재단법인 포항산업과학연구원
발 명 자 | 김영덕, 목임수
본 발명은 각종 접합을 위한 치구의 정밀한 정열을 위한 장치 및 방법에 관한 것으로, 특히 휴대용 정보통신 기기 등과 같이 가볍고 작으며, 저속에서 큰 토크가 필요한 초음파 모터에 적용하기 위한 초음파 진동자의 접합 치구의 정밀 정렬 방법에 관한 것이다.
본 발명은 초음파 모터용 메탈-세라믹 진동자에서 메탈과 세라믹을 정밀하게 접합하기 위한 치구를 정밀하게 정열하기 위한 장치로써, 전자석과 전자석의 자력을 변화시키기 위한 제어기와 전원 공급부; 접합하기 위해 압을 가하는 프레스를 포함하는 메탈 세라믹 진동자 접합을 위한 치구의 정렬장치를 제공한다. 본 발명은 메탈 세라믹 진동자 접합을 위한 치구의 정열방법에 있어서, 프레스 하단 부의 정확한 지점에 베이스 치구를 설치하여 전자석을 이용하여 고정하는 단계; 베이스 치구 위에 자성체가 아닌 압전 세라믹과 메탈(비자성체)을 정열하는 단계; 제어기와 전원 공급장치를 이용하여 전자석의 자성을 떨어뜨린 다음 최종 상단부 치구를 정열하는 단계; 상기 상단부 치구에 프레스를 이용하여 압을 가하고 자성을 제거하는 단계를 포함하는 메탈 세라믹 진동자 접합 치구의 정열 방법을 제공한다.

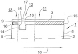
적어도 부분적으로 세라믹으로 된 허니콤 구조체 및 센서용수용 장치를 포함하는 허니콤 요소, 및 이 허니콤 요소의제조 방법
출원번호 | 10-2007-7017468 등록번호 | 10-1271325-0000
특허권자 | 에미텍 게젤샤프트 퓌어 에미시온스테크놀로기 엠베하
발 명 자 | 브뤠크롤프
본 발명은, 특히 감싸는 관 (3) 의 적어도 부분적으로 세라믹으로 된 허니콤 구조체 (2) 를 포함하는, 차량의 배기 가스 시스템에 사용되는 허니콤 요소 (1) 에 관한 것이다. 유체가 통과할 수 있는 상기 허니콤 구조체 (2) 는 중공부 (4) 를 구비한다. 본 발명은 허니콤 요소 (1) 가 종방향 (10) 으로 두 개 이상의 축방향 부분영역 (11, 12, 13) 을 둘러싸는 것을 특징으로 한다. 허니콤 구조체 (2) 는 축방향 체결 영역 (11) 에서 감싸는 관 (3) 에 연결되어 있고 축방향 센서 영역 (12) 은 허니콤 구조체 (2) 에서 센서 (8) 를 수용하기 위한 오목부 (14) 를 구비한다. 본 발명의 허니콤 요소 (1) 는, 체결 영역 (11) 에서 감싸는 관 (3) 과 허니콤 구조체 (2) 사이의 비정형 및/또는 정형 결합의 바람직한 결과로서 감싸는 관 (3) 과 세라믹 허니콤 구조체 (2) 사이의 이중 연결을 제공하며, 오목부 (14) 에도 불구하고 센서 영역 (12) 의 허니콤 구조체 (2) 에 대한 손상을 방지할 수 있다.

세라믹 코팅된 팁을 이용한 2전극 전기 가스 아크 용접장치
출원번호 | 10-2007-0022978 등록번호 | 10-1268734-0000
특허권자 | 현대중공업 주식회사  발 명 자 | 배상득 외 4명
본 발명의 목적은 제 1 와이어 및 제 2 와이어를 이용하여 용접을 하고 제어부를 포함하는 세라믹 코팅된 팁을 이용한 2전극 전기 가스 아크 용접 장치에 있어서, 상기 제 1 와이어 및 상기 제 2 와이어를 공급하는 공급장치; 상기 공급장치로부터 제 1 와이어를 공급받고, 상기 제어부로부터 전원을 공급받아 상기 제 1 와이어를 이용하여 피용접판에 아크를 발생시켜 상기 피용접판을 용접하는 제 1 안내부; 상기 제 2 와이어를 공급받고, 상기 제어부로부터 전원을 공급받아 상기 제 2 와이어를 고온으로 가열하는 제 2 안내부; 상기 제 1 안내부 및 상기 제 2 안내부 중 적어도 어느 하나의 안내부에 설치되는 절연체; 상기 제 1 안내부 및 상기 제 2 안내부 중 적어도 어느 하나의 안내부를 이송하는 이송부; 및 상기 공급장치, 상기 제 1 안내부, 상기 제 2 안내부 및 상기 이송부 중 적어도 어느 하나를 제어하는 상기 제어부를 포함하되, 상기 제 1 와이어에서 발생하는 아크 열원을 이용하여 고온으로 가열된 상기 제 2 와이어를 용융시켜 상기 피용접판을 용접하고, 상기 용접에서 발생하는 스패터로 인해 상기 제 1 안내부와 상기 제 2 안내부가 통전되는 것을 상기 절연체를 이용하여 방지하는 것을 특징으로 하는 세라믹 코팅된 팁을 이용한 2전극 전기 가스 아크 용접 장치에 의해 달성된다. 이에 따라, 스패터가 부착되어 통전되는 것을 방지하여 아크가 단락되는 것을 방지하고, 용접속도 및 용접품질을 향상시킬 수 있다.

세라믹 램프 및 그 제조 방법
출원번호 | 10-2007-7030792 등록번호 | 10-2007703-0792
특허권자 | 제너럴 일렉트릭 캄파니  발 명 자 | 뷰레이버나드패트릭 외 8명
세라믹 아크 외피, 상기 세라믹 아크 외피에 결합되고 상기 세라믹 아크 외피 내 개구를 가로질러 연장된 단부 구조체를 가지는 램프로서, 여기서 상기 단부 구조체는 세라믹 아크 외피의 내부 챔버와 연통하는 통로를 포함하는 그러한 램프가 제공된다. 상기 램프는, 상기 통로를 통하여 연장되고 상기 통로와 함께 밀폐되는 몰리브덴-레늄 전극 리드를 추가로 포함한다. 상기 몰리브덴-레늄 전극 리드는 몰리브덴-레늄 합금을 포함한다. 추가로, 상기 램프는 내부 챔버 내부에서 상기 전극 리드에 결합된 전극 팁을 포함한다.

나노구조 합금-세라믹 복합재료의 제조방법
출원번호 | 10-2010-0069381 등록번호 | 10-1272350-0000
특허권자 | 전북대학교산학협력단  발 명 자 | 손인진 외 4명
본 발명은 나노구조 합금-세라믹 복합재료의 제조방법에 관한 것으로, 특히 금속 산화물 및 금속 분말의 혼합물을 나노 분말화한 후, 이 혼합물에 압력 및 유도전류에 의하여 발생된 열을 가하여 합금-세라믹 복합재료를 합성한 다음, 상기 가해진 압력과 유도전류를 제거하고 냉각하여 나노구조 금속-세라믹 복합재료를 제조함으로써 유도전류에 의한 단일공정으로 3분 이내라는 짧은 시간에 제조할 수 있으며, 값이 매우 싼 출발 원료를 사용하고, 별도의 후처리 공정이 없어 제조 시간과 단가를 줄일 수 있는 나노구조 합금-세라믹 복합재료의 제조방법에 관한 것이다.

적층 세라믹 커패시터용 이형필름 및 그의 제조방법
출원번호 | 10-2010-0104126 등록번호 | 10-1271468-0000
특허권자 | 도레이첨단소재 주식회사  발 명 자 | 신준호 외 4명
본 발명은 적층 세라믹 커패시터(MLCC)용 이형필름 및 그의 제조방법에 관한 것이다.
본 발명의 MLCC용 이형필름은 이형층; 폴리에스테르 기재시트층; 및 아크릴 수지층 또는 우레탄 수지층의 주행성 향상층;이 순차 적층된 구조로서, 상기 이형층 면이 1 내지 10㎚의 3차원 중심선 평균조도(SRa)를 가짐에 따라 표면조도가 낮은 표면의 평활성을 충족하면서도 표면이 평활하여 발생되는 이형필름의 주행불량 및 권취불량을 해소할 수 있다. 이에, 본 발명의 MLCC용 이형필름은 세라믹시트의 성형을 위한 캐리어 필름으로 사용되어, 적층 세라믹 커패시터의 제조 공정 중 세라믹 시트의 성형 중 발생하는 핀홀 문제를 개선하고, 표면조도가 낮은 이형필름을 통해 MLCC 의 세라믹 시트의 두께를 보다 박막화하고 다층으로 적층하여 MLCC의 수율 향상에 기여할 수 있다.

알루미늄 기재에 내열성 세라믹 코팅막을 형성하는 방법
출원번호 | 10-2010-0047896 등록번호 | 10-1266302-0000
특허권자 | 주식회사 아스플로  발 명 자 | 김동섭 외 2명
본 발명은, 전해액이 담긴 전해조를 마련하고, 상기 전해조 내에 알루미늄 기재가 장착된 전극을 배치하는 단계와, 상기 전극에 교류전원을 공급하기 위한 교류전원 공급수단을 배치하는 단계와, 상기 전해액에 전압과 전류를 공급하기 위한 전원 공급수단을 배치하는 단계와, 상기 교류전원 공급수단을 통해 상기 전극에 교류전원을 인가하고, 상기 전원 공급수단을 통해 상기 전해액에 전압과 전류를 공급하여 상기 알루미늄 기재에 세라믹 코팅막을 형성하는 단계를 포함하며, 상기 전해액은 탈이온수, Na2SiO3 및 Na2WO4·2H2O를 포함하고, KOH, KF 및 NaOH 중에서 선택된 적어도 1종 이상의 물질을 더 포함하는 알루미늄 기재에 내열성 세라믹 코팅막을 형성하는 방법에 관한 것이다. 본 발명에 의하면, 다른 금속에 비해 낮은 융점을 갖는 알루미늄 기재에 습식 표면처리를 통해 높은 내열성과 내스크래치성을 갖는 세라믹 코팅막을 용이하게 형성할 수 있다.

수도 밸브용 세라믹 디스크의 수명 시험 장치
출원번호 | 10-2010-0127552  등록번호 | 10-1261803-0000
특허권자 | 한국세라믹기술원  발 명 자 | 최형석, 서원선
본 발명은 세라믹 디스크를 사용할 수 있는 테스트 모듈을 구성하고 수도 밸브의 레버를 구동시커서 가속 조건하에서 카트리지에 안치된 세라믹 디스크의 정량적인 수명 시험을 실행하는 수도 밸브용 세라믹 디스크의 수명 시험 장치를 개시하며, 상기 수도 밸브용 세라믹 디스크의 수명 시험 장치는, 베이스; 상기 베이스 상에 설치되는 지그, 상기 지그 상에 고정되고 온수가 공급되는 관통공과 냉수가 공급되는 관통공이 형성된 시험용 세라믹 디스크를 이용하며 상기 냉수와 상기 온수가 공급되는 카트리지, 상기 카트리지에 조립되어서 단부의 상하 구동에 의하여 냉수와 온수의 배출을 개폐하고 상기 단부의 좌우 구동에 의하여 상기 세라믹 디스크를 구동하여서 온수 및 냉수의 양을 조절하는 레버를 포함하는 테스트 모듈; 상기 테스트 모듈 상부에 배치되며 상기 레버의 상기 단부가 결합되는 레버 플레이트를 구비하고 상기 세라믹 디스크의 가속 시험을 위하여 정해진 알고리즘에 의하여 상기 레버 플레이트를 구동시킴으로써 상기 레버의 상기 단부를 잠금, 회전, 온수 공급 및 냉수 공급을 위한 위치의 순으로 미리 정해진 사이클만큼 반복적으로 순환시키는 레버 구동 모듈; 및 상기 레버 구동 모듈을 탑재하여 테스트 위치로 상기 레버 구동 모듈의 세팅을 조절할 수 있는 스탠드를 포함한다.

세라믹 과립을 포함하는 고체산화물 연료전지 및 이의 제조방법
출원번호 | 10-2011-0112037 등록번호 | 10-1272036-0000
특허권자 | 한양대학교 산학협력단  발 명 자 | 신동욱 외 2명
본 발명은 세라믹 과립을 포함하는 고체산화물 연료전지, 및 이의 제조방법에 관한 것으로, 더욱 상세하게는 다공성 박막으로 이루어진 애노드 및 캐소드과, 이들 사이에 개재된 고체전해질 박막을 포함하고, 상기 캐소드와 접하는 고체전해질 박막 상에 세라믹 과립이 존재하는 것을 특징으로 하는 고체산화물 연료전지 및 이의 제조방법에 관한 것이다. 상기 고체산화물 연료전지는 전해질 박막 상에 존재하여 상기 전해질 박막과 전극 간의 접촉 면적을 증가시켜 이들 간 계면에서의 저항을 충분히 낮춤에 따라 전지 성능이 크게 향상되며, 특히 고온에서 뿐만 아니라 저온에서도 작동이 가능한 저온형 고체산화물 연료전지로 적용할 수 있다.

다기능 세라믹 판넬 제조 방법
출원번호 | 10-2011-0007665 등록번호 | 10-1270632-0000
특허권자 | 한국교통대학교산학협력단  발 명 자 | 류성림, 김병성
ALC(autoclaved lightweight concrete) 잔해를 주 원료로 이용함으로써 제조 원가를 절감할 수 있으면서도 습도 조절 기능이 우수하여 실내 상대습도를 일정하게 유지할 수 있는 다기능(향균, 탈취) 세라믹 판넬에 대하여 개시한다.
본 발명에 따른 다기능 세라믹 판넬은 복수의 기공을 구비하며, ALC(auto-claved lightweight concrete) 잔해를 가공 처리하여 형성되는 다공질 세라믹층; 및 상기 다공질 세라믹층의 표면에 형성되는 표면 처리층;을 포함하는 것을 특징으로 한다.

발포세라믹 보드를 사용한 철도차량의 바닥구조
출원번호 | 10-2011-0128859  등록번호 | 10-1267787-0000
특허권자 | 한국철도기술연구 발 명 자 | 이덕희 외 2명
본 발명은 발포세라믹 보드를 사용한 철도차량의 바닥구조에 관한 것으로, 구체적으로는 알루미늄 판과 직물 유리섬유 사이에 발포세라믹 보드가 삽입되어 철도차량의 경량화 및 내화성능이 뛰어나도록 하는 발포세라믹 보드를 사용한 철도차량의 바닥구조에 관한 것이다.
본 발명은 철도차량 바닥의 기본 프레임을 구성하는 키스톤 플레이트; 상기 키스톤 플레이트의 상부에 소정 간격을 두고 구비되는 발포세라믹 보드; 상기 키스톤 플레이트와 발포세라믹 보드 사이에 구비되되 유리섬유 또는 광물섬유로 구성되는 단열부; 상기 발포세라믹 보드와 단열부 절연부 사이에 구비되는 직물 유리섬유; 상기 직물 유리섬유 및 단열부 사이에 구비되는 제2 알루미늄 패널; 상기 발포세라믹 보드의 상부면과 접착되는 제1 알루미늄 패널 및 상기 알루미늄 패널의 상부면과 접착되는 커버부재를 포함한다.

내플라즈마 특성을 갖는 희토류 산화물-알루미나계 세라믹 및 그 제조방법
출원번호 | 10-2011-0050951 등록번호 | 10-1268870-0000
특허권자 | 한국세라믹기술원  발 명 자 | 이성민 외 2명
본 발명은, 희토류 금속을 적게 함유하는 Y3Al5O12 조성에서 Y의 일부가 Gd로 치환되거나, LaAl11O18 조성에서 La의 일부가 Y로 치환되어 우수한 내플라즈마 특성을 가지면서도 상안정성을 갖는 희토류 산화물-알루미나계 세라믹 및 그 제조방법에 관한 것이다. 본 발명에 의하면, Al2O3와 같은 2차상이 존재하지 않거나 매우 적게 함유되기 때문에 Al2O3의 선택적인 식각이 발생하지 않고 오염입자의 발생 가능성이 적고, 가넷 결정상을 포함하므로 열적 상 안정성(phase stability)이 우수하고, 고온에서의 우수한 기계적 특성 때문에 열 차폐용 소재로 사용될 수 있다.

다공성 세라믹 비드 포집재를 이용한 매연저감장치
출원번호 | 10-2011-0035219 등록번호 | 10-1268856-0000
특허권자 | 주식회사 우진  발 명 자 | 이대균, 주현규
본 발명은 매연저감장치에 관한 것으로, 일측에는 매연이 유입되는 유입구(13)가 형성되고 타측에는 유입된 매연이 배출되도록 배출구(14)가 형성된 몸통부(10)와, 상기 몸통부(10)에 삽입되는 중심축(21) 및 상기 중심축(21)의 외주면에 나선형으로 고정 형성된 날개부(22)로 구성되는 스크류부재(20), 및 상기 유입구(13)를 통해 유입된 매연을 포집하도록 몸통부(10) 내에 장입되는 매연포집재(30)를 포함하여 구성되는 매연저감장치(100)를 제공한다.
이에 따라 매연의 흐름을 와류 형태로 유도하여 매연의 이동경로(거리)를 증가시킴으로써 포집된 매연의 반응을 위한 필터링(정화) 효율을 극대화할 수 있다.

세라믹 휴즈의 제조방법
출원번호 | 10-2011-0101733 등록번호 | 10-1267239-0000
특허권자 | 주식회사 이비엔텍  발 명 자 | 김용문, 이기충
본 발명은 세라믹 휴즈의 제조방법에 관한 것으로서, 좀더 상세하게는 세라믹 판에 산과 잘 반응하지 않는 고 융점의 붕규산 유리(Borosilicate glass) 원료 50~70%와 오일 30~50%를 혼합한 잉크로 세라믹 전체 표면을 인쇄하여 건조 처리하는 단계와, 상기 세라믹 판에 전체 인쇄표면 위에 고 융점의 비스무트 유리(bismuth glass) 원료 20~50%와 Ni 또는 Fe 파우다 50~80%의 혼합물 50~70%에 오일 30~50%를 혼합한 잉크로 패턴부 표면을 인쇄하여 건조 처리하는 단계와, 상기 세라믹 판의 패턴부 표면에 다시 동 도금을 행하는 단계로, 제조하는 방법을 제공하므로 종래 제조 방법중 에칭에 의한 문제점이 제거되므로 패턴부의 치수와 형상의 차이가 거의 발생되지 않아 휴즈의 정밀성이 우수하고, 오일을 사용하지만 고온건조하여 탄화 소실되므로 휴즈 단락시 탄화 및 Restrike되지 않고 세라믹 판과 동 도금의 밀착성 및 내구성을 우수하게 제공하는데 그 특징이 있다.

재단 소결 세라믹 시트 및 그 제조 방법
출원번호 | 10-2012-0122318  등록번호 | 10-1271563-0000
특허권자 | 가부시키가이샤 마루와  발 명 자 | 니시이쿠오, 간베세이
소결 세라믹 시트를 신속하게 복잡한 형상으로 가공하는 재단 소결 세라믹 시트의 제조 방법과 상기 방법으로 제조된 재단 소결 세라믹 시트를 제공한다.
세라믹 그린 시트를 성형하는 제1 공정과, 성형 세라믹 그린 시트를 소성하는 제2 공정과, 소결 세라믹 시트의 적어도 편면에 점착제가 도포된 가요성 수지 필름을 부착하여 필름 부착 세라믹 시트를 얻는 제3 공정과, 상기 필름 부착 세라믹 시트를 전단하는 제4 공정으로 이루어지는 재단 소결 세라믹 시트의 제조 방법에 있어서, 상기 제4 공정은, 상기 필름 부착 세라믹 시트를 상하 금형의 맞닿음면에 대하여 제1 또는 제2 가압부에 의해 직접 또는 간접적으로 가압하면서 상기 상하 금형의 맞닿음면에 있는 에지 사이에서 전단하는 조작을 포함하는 재단 소결 세라믹 시트의 제조 방법과, 상기 방법으로 제조한 재단 소결 세라믹 시트를 제공한다.

다공성 세라믹 담체를 활용한 가열식 가습기
출원번호 | 10-2012-0117186 등록번호 | 10-1268866-0000
특허권자 | 주식회사 테드솔루션  발 명 자 | 김성규
본 발명은 가열식 가습기에 관한 것으로, 더욱 상세하게는 여과 기능과 가습 기능을 함께 겸비하고 자연친화적인 가열식 가습기에 관한 것이다.
본 발명에 따른 다공성 세라믹 담체를 활용한 가열식 가습기는, 물을 담아두는 저수조이며, 중심부에 다공성 세라믹 담체가 위치하는 제1 공간과, 상기 제1 공간과 구분되어 내부에 전기부품들이 내장되는 제2 공간을 갖는 본체와 상기 제1 공간의 중심에 위치하는 다공성 세라믹 담체와 상기 세라믹 담체의 내부에 장착되는 히터를 포함하여 이루어진다.
이러한 가열식 가습기는 친환경적이며, 세균의 번식과 세균으로부터의 오염 등을 막을 수 있으며, 부품의 간소화로 제작비가 절감되는 효과를 가져온다.

건식 적층 세라믹 커패시터 제조방법
출원번호 | 10-2012-0113781 등록번호 | 10-1266002-0000
특허권자 | 김형태 외 2명 발 명 자 | 김형태 외 3명
본 발명은 건식 방법을 이용한 적층 세라믹 커패시터(Multi-Layer Ceramics Capacitor)의 제조방법에 관한 것이다. 개시된 본 발명은 웨이퍼 기판을 이용하여 MLCC를 제조하는 방법으로써, 웨이퍼 준비 단계, 내부 전극과 유전층의 횟수를 지정하는 단계, 웨이퍼를 식각하는 단계, 내부 전극 형성 단계, 유전층을 형성하는 단계, 내부 전극과 유전층의 형성을 반복적으로 실시하는 적층 단계, 웨이퍼의 뒷면을 연마하는 단계, 적층된 웨이퍼를 칩(Chip) 형태로 절단하는 단계, 절단된 칩의 모서리를 연마하는 단계 및 칩의 외면에 외부 전극을 형성하는 단계를 포함한다.
본 발명은 건식 방법만으로 내부전극과 유전층을 형성하는 방식이므로, 기존의 슬러리 형태의 습식 공정에서 반드시 필요로 하는 고온 소결 공정에 기인한 층간 계면의 불량을 제거할 수 있으며, 또한 원자층 증착 방식을 사용하므로 정밀한 두께 조절이 가능하고, 박막이 치밀하여 고품질의 캐패시터의 제조가 가능하다.

 

기사를 사용하실 때는 아래 고유 링크 주소를 출처로 사용해주세요.

https://www.cerazine.net

 

0
회원로그인

댓글 삭제

삭제한 댓글은 다시 복구할 수 없습니다.
그래도 삭제하시겠습니까?

독일 뮌헨 세라믹 전시회
고기능소재위크
세로형 미코
02이삭이앤씨 large
이영세라켐
03미코하이테크 large
해륭_250509
케이텍
진산아이티
삼원종합기계
오리엔트
미노
대호CC_240905
01지난호보기
월간도예
모바일 버전 바로가기