주요 등록특허 공개내용
2012년 10월 1일 ~ 10월 31일
세라믹 허니컴 구조체 및 그의 압출 성형에 사용하는 배토
출원번호 | 10-2006-7004157 등록번호 | 10-1191-8450000
특허권자 | 히타치 긴조쿠 가부시키가이샤
발 명 자 | 가와타쓰네히로 외 4명
다공질 격벽에 의해 나누어진 다수의 유로를 가지는 세라믹 허니컴 구조체는, 상기 격벽의 기공률이 55 내지 75%, 상기 격벽의 표면에서의 평균 세공 직경 Da가 5 내지 30㎛, 상기 격벽의 표면에서의 세공 면적 비율 Sa가 10 내지 30% 이며, 또한 상기 격벽의 임의의 수직 절단면에서, 상기 세공의 개구부의 평균 길이 La와, 상기 격벽의 표면으로부터 La의 깊이에서의 세공의 평균 폭 Lb가, 1.1 003c# Lb / La 003c# 5의 조건을 만족시킨다.
또 코디어라이트를 주성분으로 하는 세라믹스로 이루어지는 세라믹 허니컴 구조체로서, 상기 세라믹스가 Fe를 함유하는 동시에 스피넬을 함유하고, 상기 스피넬의 함유량은 X선 회절 강도비로 4% 이하이며, 상기 스피넬의 입경은 실질적으로 0.01 내지 5㎛ 인 것을 특징으로 하는 세라믹 허니컴 구조체이다.
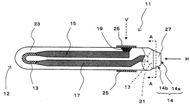
세라믹 히터 및 글로우 플러그.jpg)
출원번호 | 10-2010-7018491 등록번호 | 1011959180000
특허권자 | 쿄세라 코포레이션 발 명 자 | 히우라노리미츠
글로우 플러그 등에 탑재되는 세라믹 히터는 과혹한 환경하에서 이용되기 때문에 더욱더 내구성의 향상이 요구되고 있다. [해결 수단] 발열 저항체(13)와, 제 1 리드부(15) 및 제 2 리드부(17)와, 이들 리드부(15, 17)의 단부에 각각 전기적으로 접속된 제 1 전극 인출부(19) 및 제 2 전극 인출부(21)와, 발열 저항체(13), 제 1 리드부(15) 및 제 2 리드부(17), 및 제 1 전극 인출부(19) 및 제 2 전극 인출부(21)가 매설된 세라믹 기체(23)와, 세라믹 기체(23)의 표면에 형성된 제 1 전극(25) 및 제 2 전극(27)을 구비한 세라믹 히터(11)이며, 제 1 전극 인출부(19)는 제 1 전극(25)과의 접속 부분의 면적(S1)이 제 1 리드부(15)와의 접속 부분의 면적(S2)보다도 크다.
보석 세팅 세라믹 부품의 제조 방법 및 이를 이용하여 제조된 보석 세팅 세라믹 부품
출원번호 | 10-2012-0070185 등록번호 | 10-1195-4770000
특허권자 | 주식회사 세라트 발 명 자 | 은경아
본 발명은 보석이 세팅되는 세라믹 부품에 야광 또는 축광 재질의 파지구를 개재시켜 보석의 빛깔과 광택을 더욱 돋보이게 함은 물론 야광 또는 축광 재질의 파지구로 인해 주변의 빛을 제거해도 보석으로 빛을 투과시킴으로써 보석의 심미감과 식별성을 더욱 높일 수 있는 보석 세팅 세라믹 부품의 제조 방법에 관한 것으로, (a)상부면에 삽입홈을 가지는 세라믹 부품을 제조하는 단계; (b)상부면에 요입홈을 가지는 파지구를 야광 또는 축광 물질을 이용해 제조하는 단계; (c)상기 파지구의 요입홈에 보석을 삽입하여 고정시키는 단계; (d)상기 파지구를 보석이 전면에 드러나도록 세라믹 부품의 삽입홈에 삽입해 결합시키는 단계; 를 포함하는 것을 특징으로 한다.
친환경 세라믹 흡음재 및 그 제조방법.jpg)
출원번호 | 10-2010-0039609 등록번호 | 10-1193-4820000
특허권자 | 주식회사공간세라믹 발 명 자 | 조백일 외 2명
본 발명은, 세라믹 흡음재의 골격을 이루는 폐점토벽돌, 상기 폐점토벽돌 사이의 공간을 연결하는 점토 및 상기 폐점토벽돌과 상기 점토를 서로 연결하여 강도를 유지시켜 주는 프릿을 포함하며, 상기 점토는 상기 폐점토벽돌 100중량부에 대하여 5~15중량부 함유되고, 상기 프릿은 상기 폐점토벽돌 100중량부에 대하여 5~15중량부를 함유되는 친환경 세라믹 흡음재 및 그 제조방법에 관한 것이다. 본 발명에 의하면, 점토 벽돌 생산시 부산물로 발생하여 매립 폐기되어지는 무해한 폐점토벽돌을 이용하여 저주파 영역의 흡음특성이 우수하고, 친환경적이며, 강도가 뛰어나고, 유기 휘발물질을 발생시키지 않으면서 불연성인 세라믹 흡음재를 제조할 수가 있다.
발광 다이오드 패키지
출원번호 | 10-2010-0131145 등록번호 | 10-1195-0620000
특허권자 | 한국광기술원 발 명 자 | 김완호 외 7명
본 발명은 세라믹 기판을 이용한 발광 다이오드 패키지에서 열 방출용 금속 코어부와 세라믹 기판부 사이에 열충격 방지용 버퍼를 형성하여 금속 코어부의 열팽창에 의한 충격을 완충시켜 세라믹 기판부의 파손을 방지한 발광 다이오드 패키지를 제공하는 것을 목적으로 한다. 본 발명은 상부 세라믹 기판부의 하부로 상부 전극과 하부 세라믹 기판부와 하부 전극이 설치되고, 상기 하부 세라믹 기판부의 중앙에는 열방출용 금속 코어부가 형성되며, 상기 금속 코어부의 상면에는 빛을 발광하는 발광 다이오드 칩이 실장된 발광 다이오드 패키지에 있어서, 상기 하부 세라믹 기판부와 금속 코어부 사이에 형성되어 상기 금속 코어부와 상기 하부 세라믹 기판부 사이에 열전달 특성을 개선하고 상기 금속 코어부의 열팽창으로 인한 충격이 상기 하부 세라믹 기판부에 전달되는 것을 방지하도록 완충 공간을 형성하는 버퍼부를 포함하는 것을 특징으로 한다.
다층구조 세라믹 보호층을 포함하는 핵연료봉 및 이의 제조방법
출원번호 | 10-2011-0102100 등록번호 | 10-1189-1700000
특허권자 | 한국원자력연구원 발 명 자 | 박정용 외 8명.jpg)
본 발명은 다층구조 세라믹 보호층을 포함하는 핵연료봉 및 이의 제조방법에 관한 것으로, 상세하게는 핵연료 소결체; 일단부는 폐쇄되고, 타단에 개구부를 구비하여 상기 핵연료 소결체가 내부에 장입되는 봉상의 세라믹 튜브; 상기 핵연료 소결체가 장입된 세라믹 튜브의 상기 개구부와 접합될 수 있는 세라믹 소재 마개; 상기 세라믹 튜브와 세라믹 소재 마개의 표면에 권취되는 세라믹 섬유, 및 상기 세라믹 섬유들 사이의 공간으로 충진된 세라믹 소재 충진물을 포함하는 세라믹 복합체층; 및 상기 세라믹 복합체층 표면에 형성된 세라믹 소재 외부보호층을 포함하고, 상기 세라믹 튜브의 개구부와 세라믹 소재 마개는 동일한 형상의 접합면을 가지며, 상기 세라믹 튜브 및 세라믹 소재 마개와 동일한 재질의 접합소재로 접합되는 것을 특징으로 하는 세라믹 소재 핵연료봉 및 이의 제조방법을 제공한다. 본 발명에 따른 다층구조 세라믹 보호층을 포함하는 핵연료봉 및 이의 제조방법은 세라믹 튜브와 동일한 소재의 마개를 이용하여 세라믹 튜브 연속체를 형성함으로써, 마개 접합부가 파손될 수 있는 위험성을 제거하였으며, 나아가 마개 접합부로 세라믹 섬유를 조밀하게 권취시켜 건전성을 극대화시킴으로써 핵연료봉의 안전성을 크게 향상시킬 수 있다.
열전 소자용 다결정 세라믹의 제조 방법
출원번호 | 10-2010-0091868 등록번호 | 10-1198-2130000
특허권자 | 서울대학교산학협력단 발 명 자 | 박찬 외 3명
열전 소자용 다결정 세라믹의 제조 방법이 제공된다. 이 방법은 소성된(calcined) 세라믹 분말을 준비하는 것, 소성된 세라믹 분말을 일축(uni-axial) 압축하여 세라믹 시트(sheet)를 형성하는 것, 복수의 세라믹 시트들을 일축 방향으로 적층하는 것 및 적층된 복수의 세라믹 시트들을 동시 소성(cofiring)하는 것을 포함한다.
-----------이하 생략(더 많은 정보는 세라믹코리아 2012년 12월호 참조바랍니다.)
기사를 사용하실 때는 아래 고유 링크 주소를 출처로 사용해주세요.
https://www.cerazine.net