주요 등록특허 공개내용
2012년 9월 1일 ~ 9월 30일
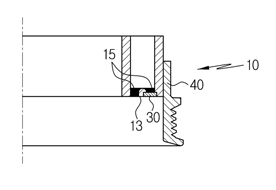
스파크 플러그 절연기로 사용하기 위해 개선된 고온전기특성을 갖는 세라믹
출원번호 | 10-2006-7009088 등록번호 | 10-1185-2560000
특허권자 | 페더럴-모걸 코오포레이숀 발 명 자 | 월커윌리암,제이.,주니어
세라믹은 약 90 내지 약 99중량%의 알루미나와, 약 0. 내지 약 1중량%의 지르코늄 함유성분과, 약 1 내지 약 10중량%의 산화 혼합물을 포함한다. 산화 혼합물은 유리 형성제와 망구조 변형제를 포함하며, 유리 형성제-망구조 변형제의 몰비율은 약 0.8:1 내지 1.2:1 사이의 범위에 속한다. 세라믹 절연기는 1000℉에서 1000 메가오옴 이상의 분로저항과, 개선된 유전체 강도를 제공하기 위해 스파크 플러그의 절연기로 사용되므로, 스파크 플러그의 분로를 감소시키며 이에 따라 스파크 플러그에 의해 생성된 스파크의 품질을 개선시킨다.
다층 졸겔층을 갖는 압전 세라믹 소자.jpg)
출원번호 | 10-2011-0009229 등록번호 | 10-1187-4650000
특허권자 | 한국산업기술대학교산학협력단 발 명 자 | 이희철
본 발명은 다층 졸겔층을 갖는 압전 세라믹 소자에 관한 것이다. 본 발명에 따른 압전 세라믹 소자는 압전 세라믹 소재층과, 각각 휘발성을 갖는 휘발성 압전 성분을 포함하여 구성되며, 상기 압전 세라믹 소재층의 일측 표면에 순차적으로 적층되는 복수의 제1 졸겔층과, 상기 휘발성 압전 성분을 포함하여 구성되며, 상기 압전 세라믹 소재층의 타측 표면에 순차적으로 적층되는 복수의 제2 졸겔층과, 상기 복수의 제1 졸겔층 중 최외곽에 위치하는 제1 졸겔층의 표면에 형성되는 제1 전극과, 상기 복수의 제2 졸겔층 중 최외곽에 위치하는 제2 졸겔층의 표면에 형성되는 제2 전극을 포함하며; 상기 각 제1 졸겔층의 상기 휘발성 압전 성분의 함량은 상기 압전 세라믹 소재층으로부터 상기 제1 전극으로 갈수록 낮아지며; 상기 각 제2 졸겔층의 상기 휘발성 압전 성분의 함량은 상기 압전 세라막 소재층으로부터 상기 제2 전극으로 갈수록 낮아지는 것을 특징으로 한다. 이에 따라, PZT 계열이나 NKN 계열 등의 압전 세라믹 소자의 특성 향상, 예를 들어 공공 및 결정립계에 의한 특성 저하의 영향을 감소시키고 누설 전류의 증가 없이 전기적 신호 연결을 위한 전극이 형성 가능하게 된다.
고방열 저온소성 세라믹 기판
출원번호 | 10-2010-0073884 등록번호 | 10-1187-0290000
특허권자 | 주식회사 이글래스 발 명 자 | 김종철
본 발명은 각종 전자회로 및 전자부품에서 발생하는 열을 효과적으로 외부 전달하여 냉각을 도와주는 고방열 저온소성 세라믹 기판에 관한 것으로서, 더욱 상세하게는 금속 기판으로 이루어진 열전도층에 다량의 개기공(open pore)을 보유한 고방열 세라믹 절연층을 적층시켜 저온소성에 의해 복합층 구조를 갖도록 함으로써, 열전도성 향상을 위한 금속기판과 고방열 세라믹 절연층의 적층 부가에 의해 방열효과와 전기절연성을 동시에 향상시킨 전자부품용 방열 저온소성 세라믹 기판에 관한 것이다.
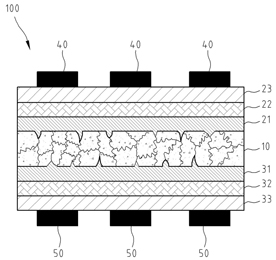
전기화학 전지에 사용하기 위한 비대칭 기공 구조의 분리막 .jpg)
출원번호 | 10-2005-7009531 등록번호 | 10-1187-5900000
특허권자 | 에보닉 데구사 게엠베하 발 명 자 | 헨니게폴커
본 발명은 호울이 제공된 가요성 캐리어(A) 및 캐리어의 호울을 충전시키는 데 사용되는 다공성 세라믹 재료(B)를 포함하는, 전기화학 전지용 분리막에 관한 것이다. 세라믹 재료는 이온 전도성 전해질을 수용하기에 적합하고, 평균 기공 크기를 특징으로 하는 제1 다공성 표면과 전극과 접촉시키기 위한 하나 이상의 제2 다공성 층을 갖는다. 제2 다공성 층의 평균 기공 크기는 제1 다공성 층의 평균 기공 크기보다 작다.
다층 구조의 생체 재료 다공질체 및
그 제조방법
출원번호 | 10-2011-0004946 등록번호 | 10-1186-3700000
특허권자 | 순천향대학교 산학협력단 발 명 자 | 이병택 외 1명
본 발명은 인공 뼈, 골 충진제 및 뼈 이식제 등의 생체 재료로 사용되는 다층 구조의 생체 재료 다공질체 및 그 제조방법에 관한 것이다. 본 발명은 강도 세라믹의 다공질체; 상기 다공질체의 표면에 형성되고, 강도 세라믹과 생체 활성 세라믹을 포함하는 복합 중간층; 및 상기 복합 중간층 상에 형성된 생체 활성 세라믹층을 포함하는 다층 구조의 생체 재료 다공질체를 제공한다. 또한, 본 발명은 강도 세라믹의 다공질체를 제조하는 제1단계; 상기 다공질체의 표면에 강도 세라믹과 생체 활성 세라믹을 포함하는 복합 중간층을 형성하는 제2단계; 및 상기 복합 중간층 상에 생체 활성 세라믹층을 형성하는 제3단계를 포함하는 다층 구조의 생체 재료 다공질체의 제조방법을 제공한다. 본 발명에 따르면, 강도 세라믹의 다공질체에 복합 중간층과 생체 활성 세라믹층이 코팅된 다층 구조에 의해 우수한 기계적 강도와 생체 활성을 갖는다. 또한, 생체 활성 세라믹층의 소결 형성 시, 강도 세라믹과 생체 활성 세라믹의 열팽창 계수차에 의해 균열이 발생될 수 있는데, 두 재료를 포함하는 복합 중간층(강도 세라믹과 생체 활성 세라믹의 복합)이 형성되어 균열이 방지된다.
저온 소결 및 유약을 이용한 세라믹 방열판 및 이의 제조방법.jpg)
출원번호 | 10-2011-0035981 등록번호 | 10-1185-2950000
특허권자 | 주식회사 삼전 발 명 자 | 옥윤포
1~50 ㎛의 입자 크기를 가지는 탄화규소(SiC) 80~95 wt%와, 첨가제 5~20 wt%를 혼합하여 분산시키는 분산공정을 포함하여 제조되고, 이때의 첨가제는 유약 0~10 wt%과, Mn, Bi, Cu, Zn, Nb, Ta, Sb, W, Nd, La, Co, Ni, Ga, Li, In, Sc, Ce 군에서 선택된 단일 산화물 또는 둘 이상의 혼합물인 소결조제 0~10 wt%를 포함하는 세라믹 방열판을 개시한다. 개시된 세라믹 방열판은 소결온도가 낮으면서 열전도도가 높은 장점이 있다.
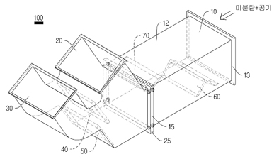
미분탄 공급장치의 석탄 에어세퍼레이터
출원번호 | 10-2012-0023079 등록번호 | 10-1183-3150000
특허권자 | (주)한남세라믹 발 명 자 | 이계일
본 발명은 미분탄 공급장치의 석탄 에어세퍼레이터에 관한 것으로, 주공급관(10, 110)에 미분탄 공급장치에서 고압의 공기와 미분탄이 혼합되어 유입되고, 서로 일체로 구성되는 제1 및 제2 송출관(20, 30, 120, 130)이 주공급관(10, 110)에 플랜지(15, 25, 115, 125)와 체결장치(예, 볼트와 너트)에 의해 체결되어 연결된다. 미분탄에 의해 침식이 많이 진행된 부분은 체결장치를 분리하여 주공급관(10, 110)과 제1 및 제2 송출관(20, 30, 120, 130)을 탈거 분리하여 수리 또는 교체가 용이하도록 한다. 주공급관(10, 110)과 제1 및 제2 송출관(20, 30, 120, 130)의 내부 벽면에는 세라믹 타일(80)로 도포되고, 세라믹 타일(80)은 내마모도를 극대화하기 위하여 주재료 Al2O3된: 92~93%, SiO2: 3~4%, 기타소결제로 이루어지도록 되고, 크기를 대략 1/2로 줄여서 단위하중을 줄임으로써 진동에 의해 세라믹 타일(80)이 탈락되는 것을 방지한다. 주공급관과 제1 및 제2 송출관을 2부분으로 분리하여 탈거 분리가 가능하도록 함으로써 석탄 에어세퍼레이터의 내부에서 침식이 많이 진행된 부분에 접근하여 수리가 가능하고, 석탄 에어세퍼레이터의 주공급관과 제1 및 제2 송출관의 내부 벽면에 경제성과 함께 열적 안정성 및 내마모성이 최적화된 세라믹 타일을 부착설치하여, 내벽의 열화를 방지하여 에어 세퍼레이터의 수명을 극대화할 수 있다.
휘발성 유기화합물의 산화반응용 촉매 복합체 및 그의 제조 방법
출원번호 | 10-2010-0008184 등록번호 | 10-1182-7550000
특허권자 | 한국세라믹기술원 발 명 자 | 유중환 외 4명
본 발명은 휘발성 유기화합물(VOCs)을 산화반응시키는 데 사용되는 고활성 촉매 복합체에 관한 것으로, 특히, 노블 메탈(noble metal)을 포함하는 코어와 상기 코어층 외부에 형성되며 세라믹 산화물을 포함하는 쉘을 포함하는 휘발성 유기화합물의 산화반응용 촉매 복합체 및 그의 제조 방법에 관한 것이다.
본 발명에 따르면 노블 메탈 촉매를 세라믹 산화물로 캡슐화시켜 코어-쉘 구조를 형성시킴으로써 열적 안정성과 촉매 수명을 동시에
향상시킬 수 있다.
고체산화물 연료전지용 세라믹 접속자 분말의 제조방법 및
그 접속자
출원번호 | 10-2011-0080740 등록번호 | 10-1188-7880000
특허권자 | 한국에너지기술연구원 발 명 자 | 송락현 외 6명
본 발명은 고체산화물 연료전지(Solid Oxide Fuel Cell, SOFC)의 접속자 제조용 세라믹 분말에 관한 것으로, 페로브스카이트 구조를 가지며 스트론튬(Sr), 란탄 (La) 및 타이타늄(Ti)을 함유하거나 이에 전이금속(V, Co, Nb, Mn)이 함유된 세라믹 접속자 분말을 제조하는 방법 및 그 세라믹 분말로 제조된 접속자에 관한 것이다.
본 발명의 방법은, 스트론튬 질산염{Sr(NO3)2·xH2O}, 란탄 질산염{La(NO3)3·xH2O} 및 타이타늄 이시프로폭사이드{Ti(OCH(CH3)2)4}를 출발물질로 하여 에틸렌 글리콜에 용해시킨 후, 이에 구연산을 첨가하여 졸을 제조하는 단계; 상기 졸 용액을 가열하여 겔(gel)을 제조하는 단계; 상기 겔을 계속 가열하여 열분해시키는 단계; 상기 열분해 된 겔을 건조 공기와 접촉시키면서 고온에서 열처리하는 단계로 이루어진다.
내플라즈마 부재의 제조방법
출원번호 | 10-2010-0037282 등록번호 | 10-1183-0210000.jpg)
특허권자 | 한국세라믹기술원 발 명 자 | 이성민 외 3명
본 발명은, 기판과 상기 기판 상에 형성된 Y2O3 코팅막을 포함하며, 상기 Y2O3 코팅막은 상기 기판의 표면과 수평한 결정면에 기인한 2θ=52.2±0.5°에서의 X-선 회절 피크와 Y2O3의 (222)면에 기인한 X-선 회절 피크가 존재하는 주상 구조의 막이며, 상기 기판의 표면과 수평한 결정면에 기인한 2θ=52.2±0.5°에서의 X-선 회절 피크의 강도가 상기 Y2O3의 (222)면에 기인한 X-선 회절 피크의 강도 대비 0.03~4.7 범위를 이루는 내플라즈마 부재 제조방법에 관한 것이다. 본 발명에 의하면, 내플라즈마 특성이 우수하고, 오염입자 발생이 억제되며, 균열이 없고, 플라즈마에서 생성되어 가속화된 입자에 의한 선택적 식각이 되지 않도록 충분히 낮은 표면조도를 가지며, 0.1㎛ 이상의 큰 기공이 없고 플라즈마에서 발생한 반응가스가 내부로 유입되지 않는 치밀하고 안정한 세라믹 코팅막이 형성될 수 있다.
고체 산화물 연료 전지용 금속 산화물 박막의 저온 무수축 제조 방법
출
원번호 | 10-2009-0108785 등록번호 | 10-1186-9290000
특허권자 | 한국과학기술연구원 발 명 자 | 이해원 외 4명
본 발명은 금속 산화물을 함유하는 염 용액 및 상기 금속 산화물과 동종 또는 이종의 금속 산화물의 나노분말 입자를 포함하는 금속 산화물의 콜로이드 혼합 졸, (1) 금속 산화물을 함유하는 염 용액을 제조하는 단계, (2) 단계 (1)에서 제조한 용액에 금속 산화물 나노분말 입자를 분산시켜 금속 산화물의 콜로이드 혼합 졸을 제조하는 단계, (3) 단계 (2)에서 제조한 금속 산화물의 콜로이드 혼합 졸을 기판에 도포하고 건조시키는 단계, (4) 상기 단계 (3)에서 형성시킨 막에 단계 (1)에서 제조한 금속 산화물을 함유하는 염 용액을 도포하고 건조시키는 단계 및 (5) 단계 (4)의 결과물을 열처리하는 단계를 포함하는 금속 산화물 박막의 제조 방법, 및 상기 방법으로 제조된, 고체 산화물 연료 전지의 구성 요소로 응용되는 금속 산화물 박막에 관한 것이다.
평판 디스플레이 패
널 실링용 유리 조성물
출원번호 | 10-2010-0045196 등록번호 | 10-1181-8330000
특허권자 | 공주대학교 산학협력단 발 명 자 | 정운진 외 2명
본 발명은 평판 디스플레이 패널 실링용 유리 조성물에 관한 것으로, 보다 상세하게는 평판 디스플레이 패널 실링용 인산 바나듐계 유리 조성물로, 상기 유리 조성물로 실링용 유리를 제조함으로써 친환경적이며, 우수한 화학적 내구성 및 향상된 유리안전성을 가질 수 있고, 400℃ 이하의 낮은 유리전이온도 및 60 내지 90×10-7/℃의 낮은 열팽창계수를 갖기 때문에 저온 밀봉이 가능하여 PDP 및 LCD용 실링 재료로 사용할 수 있는 효과가 있다.
특정 조성의 세라믹 분말을 함유하는 건자재용 조성물
출원번호 | 10-2005-0059062 등록번호 | 10-1188-4900000
특허권자 | 김영문 발 명 자 | 김영문
본 발명은 특정 조성의 세라믹 분말을 함유하는 건자재용 조성물에 관한 것으로, 보다 자세하게는 통상의 건자재용 조성물에 규소, 게르마늄 및 마그네슘을 일정성분 비율로 함유하는 세라믹 분말을 일정 비율로 함유하여 방사에너지 및 원적외선 방출능이 뛰어난 건자재용 조성물에 관한 것이다.
상기와 같이 구성되는 본 발명의 건자재용 조성물은 이들 세라믹성분이 일정 파장대의 원적외선과 방사에너지를 일정한 량으로 방사함으로, 이를 함유하여 성형된 벽지, 욕조용기, 세면용기, 타일, 석고보드 등의 각종 건축용 자재는 원적외선과 방사에너지를 일정하게 방사하여, 이를 사용하여 건축된 건물 안에 기거하는 사람에게 건강상 유익한 작용을 제공하는 유용한 발명이다.
폴리올레핀 제조용 담지촉매, 및 이를 이용하는 폴리올레핀의 제조방법
출원번호 | 10-2007-0003391 등록번호 | 10-1181-0890000
특허권자 | 주식회사 엘지화학 발 명 자 | 권혁주 외 3명
본 발명은 폴리올레핀 제조용 담지촉매에 관한 것으로, 보다 상세하게는 생체 세라믹으로서, 천연의 생물체로부터 얻어져, 간단한 물리적인 처리공정을 거쳐 사용이 가능함으로써 생산비용을 크게 감소시킬 수 있으며, 다양한 작용기를 함유하여 하나의 담체 만으로도 서로 다른 특성의 활성점을 조성할 수 있는 담체에 메탈로센계 촉매를 담지시킨 폴리올레핀 제조용 담지촉매, 및 이를 이용한 폴리올레핀의 제조방법에 관한 것이다.
고체산화물 연료전지용 밀봉재.jpg)
출원번호 | 10-2010-0076613 등록번호 | 10-1185-1640000
특허권자 | 한국전력공사 발 명 자 | 최미화 외 5명
본 발명은 폴리실록산(polysiloxane)계 고분자, 충진재, 및 보론트리옥사이드(B2O3)를 포함하는 고체산화물 연료전지용 밀봉재에 관한 것이다. 본 발명에 따른 고체산화물 연료전지용 밀봉재는, 기존의 유리 또는 유리기반의 밀봉재들이 연료전지 작동온도에서 점성을 갖기 때문에 연료 혹은 산소 가스의 압력을 견디지 못하고, 열 사이클에서 쉽게 깨어지는 문제점을 해결할 수 있다. 즉, 본 발명에 따른 고체산화물 연료전지용 밀봉재는 낮은 수축률을 가지기 때문에 단위셀을 소결하여 조립할 때 발생할 수 있는 열응력을 방지하며, 금속 인터커넥터(interconnector)와 유사한 열팽창계수를 가져 열팽창계수의 차이로 인한 응력이 발생하지 않기 때문에 연료전지의 반복적인 열 사이클에서 안정적이라는 장점을 가진다. 또한, 본 발명에 따른 고체산화물 연료전지용 밀봉재는, 간단히 충진재를 바꿈으로서 수축률, 열팽창율, 및 강도와 같은 물성의 제어가 용이하며, 높은 가스 압력을 견딜 수 있어 연료전지의 장기 신뢰성을 확보할 수 있다.
웨
이퍼 가열장치와 반도체 제조장치
출원번호 | 10-2006-7027674 등록번호 | 10-1185-7940000
특허권자 | 쿄세라 코포레이션 발 명 자 | 이와타케이지 외 2명
저항발열체를 가진 판상체로 이루어지는 히터부의 냉각 속도를 향상시킴으로써 급속 냉각이 가능한 웨이퍼 가열장치를 제공한다.
그 웨이퍼 가열장치는, 대향하는 2개의 주면을 가지며, 그 한쪽의 주면을 웨이퍼가 적재되는 적재면으로 하고 다른쪽의 주면에 띠형상의 저항발열체를 갖고 이루어지는 판상체와, 저항발열체에 접속되고 그 저항발열체에 전력을 공급하는 급전단자와, 판상체의 다른쪽의 면에 급전단자를 덮도록 설치된 케이스와, 판상체의 다른쪽의 면에 대향하는 선단을 가지며, 판상체를 냉각하는 노즐을 구비하고, 판상체의 다른쪽의 면에 있어서의 노즐 선단의 투영위치를 저항발열체의 띠의 사이로 했다.
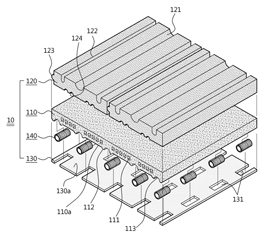
층간차음바닥 및 이를 이용한 건축물의 층간차음구조.jpg)
출원번호 | 10-2010-0061820 등록번호 | 10-1183-9080000
특허권자 | 지이코리아세라믹(주) 발 명 자 | 유경훈 외 1명
층간차음바닥 및 이를 이용한 건축물의 층간차음구조가 개시되어 있다.
개시된 층간차음바닥은, 지지패널(110)의 상부에 점토블록(120)이 접합되어 이루어지는 층간차음바닥(10)에 있어서, 상기 지지패널(110)은 그 두께내에 길이방향으로 다수개의 관통홀(111)이 일정간격으로 형성되고, 지지패널(110)의 하부면에 다수의 지지레그(112)가 하향 일체로 형성되어지되, 상기 지지레그(112) 하부에는 차음재(130)가 구비되어 상기 지지패널(110)의 하부면과 상기 차음재(130)의 상부면 사이에 제1 공간부(S1)가 형성되어 지고, 상기 점토블록(120)은 상부면에 길이방향으로 파이프홈(121)이 형성되고, 상기 점토블록(120)의 파이프홈(121) 양쪽에 길이방향으로 요홈(122)이 형성되며, 점토블록(120)의 일측면에 길이방향으로 측면돌기(123)가 형성되고, 상기 점토블록(120)의 하부면중 상기 파이프홈(121)과 요홈(122) 사이에 해당되는 위치에 반원형 홈부(124)가 형성되어지는 것을 특징으로 한다.
전자클러치용 로터의 제조방법
출원번호 | 10-2005-0029585 등록번호 | 10-1181-6610000
특허권자 | 한라공조주식회사 발 명 자 | 오성택 외 2명
본 발명은 전자클러치용 로터의 제조방법에 관한 것으로, 그 목적은 전자클러치용 로터의 브릿지부를 비자성체로 몰딩하도록 하여 전자기력의 손실을 감소시키도록 하는 전자클러치용 로터의 제조방법을 제공함에 있다. 이는 판소재를 프레싱하여 바나나 슬롯 위치에 한쌍의 그루브를 형성하는 이중원통부재 성형단계와, 상기 그루브 내부에 일정간격으로 이격되게 비자성체로 이루어진 예비소결품을 삽입하는 단계와, 상기 예비소결품이 삽입된 이중원통부재를 소결로에 투입하여 상기 예비소결품을 일체로 몰딩하는 단계와, 상기 예비소결품이 몰딩된 상기 이중원통부재의 마찰면을 가공하여 바나나 슬롯과 비자성체의 브릿지를 형성시키는 단계를 포함하는 것이다.
인공 관절용 고분자 소재의 내마모성 향상 방법 및 그 장치.jpg)
출원번호 | 10-2010-0003765 등록번호 | 10-1181-4490000
특허권자 | 한국과학기술연구원 발 명 자 | 한승희 외 3명
본 발명은 인공 관절용 고분자 소재, 특히 초고분자량 폴리에틸렌의 내마모성 향상을 위한 것으로, 고체 이온을 위 고분자 소재의 표면에 효율적으로 이온 주입하기 위하여 고안된 것으로, 동기화된 펄스전압이 인가된 마그네트론(magnetron) 스퍼터링 증착원과 고전압 펄스를 이용함으로써 고체 원소 이온의 플라즈마 형태로의 주입을 가능하게 하는 방법 및 그 장치에 관한 것이다.
종래 박막증착을 위한 증착원으로서 이용되고 있었던 마그네트론 스퍼터링 증착원으로서 생체적합성이 뛰어나고 시료 내부로 이온주입되어 세라믹 입자를 형성할 수 있는 원소의 스퍼터링 증착원을 장착하여 펄스직류 전원을 이용한 펄스 모드로 작동하고, 이와 동기화된 고전압 펄스를 시료에 인가함으로써 펄스 모드의 마그네트론 스퍼터링 증착원으로부터 발생된 이온을 가속하여 시료의 표면에 이온주입을 할 수 있게 한다.
본 발명에 의한, 고체 원소 플라즈마 이온주입 방법은, 펄스 마그네트론 스퍼터링 증착원과 동기화된 고전압 펄스를 이용함으로써, 소재의 표면에 고체 이온을 효율적으로 이온 주입할 수 있으며, 이로 인하여 인공 관절용 소재의 내마모성 향상을 구현할 수 있다.
무
기질 중공사 및 그 제조 방법
출원번호 | 10-2009-0135865 등록번호 | 10-1185-4900000
특허권자 | 한국에너지기술연구원 발 명 자 | 조철희 외 5명
저비용으로, 난소결성 비산화물, 산화물-비산화물 등과 같은 무기질 중공사를 제조할 수 있는 방법에 대하여 개시한다.
본 발명에 따른 무기질 중공사 제조 방법은 (a)고온 자전 반응물(Self-propagating High Temperature Reactant), 고분자 및 분산제를 포함하는 조성물을 마련하는 단계; (b)상기 조성물을 방사 노즐(spinneret)을 이용하여 습식 방사하는 단계; (c)상기 (b)단계의 결과물을 세척 및 건조하여, 고분자-고온자전반응물 중공사를 형성하는 단계; 및 (d) 상기 고분자-고온자전반응물 중공사를 열처리하여, 고분자 성분을 제거하고 상기 고온자전반응물을 고온자전반응(Self-propagating High Temperature Reaction)시켜 무기질 중공사를 형성하는 단계;를 포함하는 것을 특징으로 한다. 이때, 상기 조성물은 고온자전반응물 45~60중량%, 고분자 6~17중량%, 분산제 0.1~4중량% 및 잔량의 유기 용매를 포함하는 것을 특징으로 한다.
기사를 사용하실 때는 아래 고유 링크 주소를 출처로 사용해주세요.
https://www.cerazine.net