주요 등록특허 공개내용
2012년 8월 1일 ~ 8월 31일
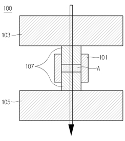
세라믹 히터, 이의 제조 방법 및 이를 갖는 박막 증착 장치
출원번호 | 10-2007-0121643 등록번호 | 10-1177749-0000
특허권자 | 주식회사 코미코 발 명 자 | 이성민 외 2명
세라믹 히터는 플레이트 및 발열 부재를 포함한다. 플레이트는 그 상면에 기판이 놓여지고, 분말 상태의 세라믹으로부터 한번의 소결 공정을 통하여 수득한다. 발열 부재는 플레이트에 내장되어 열을 발생하고, 플레이트가 소결 공정을 진행할 때 분말 상태의 세라믹에 매설된다. 따라서, 세라믹 히터를 제조하기 위한 공정수를 감소시켜 전체적인 제조 공정 시간과 비용을 감소시킬 수 있다.
리드 프레임 및 이를 이용한 표면실장형 고압 세라믹 커패시터 제조방법
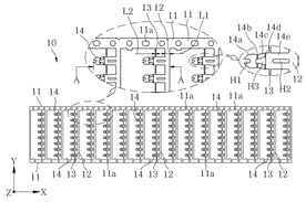
출원번호 | 10-2009-0105865 등록번호 | 10-1176610-0000.jpg)
특허권자 | 삼화콘덴서공업주식회사 발 명 자 | 유영민 외 4명
본 발명은 세라믹 디스크소자의 상/하측에 리드단자를 용이하게 형성할 수 있는 리드 프레임 및 이를 이용한 표면실장형 고압 세라믹 커패시터의 제조방법에 관한 것으로, 대향되도록 배치되는 한 쌍의 정렬프레임(11)과; 한 쌍의 정렬프레임(11) 사이에 제1방향(X)으로 배열되도록 형성되어 한 쌍의 정렬프레임(11)을 지지하는 지지바(12)와; 한 쌍의 정렬프레임(11) 사이에 지지바(12)와 이격되도록 제1방향(X)으로 배열되어 형성되는 댐바(13)와; 지지바(12)와 댐바(13)에 제1방향(X)과 직교하는 제2방향(Y)으로 배열되어 형성되는 리드단자(14)로 구성되며, 리드단자(14)는 지지바(12)와 댐바(13)에 의해 지지되도록 형성되고, 일단에 솔더 재질이 통과되도록 제1장공(H1)이 형성되며, 타단에 제2장공(H2)이 형성되며, 제1장공(H1)과 제2장공(H2) 사이에 몰딩재질이 통과되도록 출입공(H3)이 형성되는 것을 특징으로 하여 표면실장형 고압 세라믹 커패시터의 제조작업의 생산성을 개선시킬 수 있도록 함에 있다.
저온소성용 마이크로파 유전체 세라믹 조성물
출원번호 | 10-2011-0046552 등록번호 | 10-1178226-0000
특허권자 | 한국과학기술연구원 발 명 자 | 박재관 외 4명
본 발명은 저온소성용 마이크로파 유전체 세라믹 조성물에 관한 것이다. 보다 구체적으로는 Zn1-xCoxTiNb2O8 또는 ZnTi(Nb1-yTay)2O8 유전체 조성물에 보로실리케이트계 유리프리트를 저온소결제로 첨가하여 제조한 저온소성용 유전체 세라믹 조성물로서, 900℃ 이하의 온도에서 저온소성이 가능하고 내화학성이 양호하며, 유전특성은 유전율 (k) 25 ~ 45, 품질계수 (Qㅧf) 10,000 GHz 이상, 공진주파수의 온도계수(τf)는 -100 ~ +100 ppm/℃의 범위로 조절이 가능하다. 따라서, 본 발명의 마이크로파 유전체 세라믹 조성물은 듀플렉서(duplexer), BPF(Band Pass Filiter) 등 수동부품에 응용되며, 기판 및 안테나 등에 응용되는 동일 또는 유사한 보로실리케이트계 유리프리트를 적용한 저유전율 유전체 조성물과 동일소성이 가능하여 다층 패키징 및 복합모듈화가 가능하다.
복합 세라믹 구조체와 그 제조 방법 및 그 복합 세라믹구조체를 이용한
벽면구조
출원번호 | 10-2007-7004985 등록번호 | 10-1171992-0000
특허권자 | 오미-세라믹 컴퍼니 리미티드 발 명 자 | 오쿠다, 노부야수 외 1명
본 발명의 목적은 다공질의 세라믹과 통상의 도기가 소결에 의해 결합된 복합 세라믹 구조체 및 그 제조 방법을 제공하는데 있다. 또한, 복합 세라믹 구조체로 이루어진 신규의 타일과 복합 화분 등의 제품을 제공하는데 있다. 또, 건식타일 제조의 부가가치화를 꾀하여 식물에 의한 벽면장식의 외관이 미려한 벽면구조를 제공함과 동시에 빌딩 등과 같은 건축물의 공조부하 경감에 의한 에너지 절약을 실현하는 벽면구조를 제공하는 데 있다
기벽면에 면 형태로 복수의 타일이 배열되어 타일이 결착되지 않은 부분에 분 형태 타일이 결착하는 벽면구조로 타일이 가로세로 격자형으로 배치되어 타일면을 구성하며, 타일이 결락된 개소에 대응하는 부분에 분 형태 타일이 결착하여 분 형태 타일의 폭의 정수배와 타일의 가로폭의 정수배가 거의 동일해져 분 형태 타일 높이의 정수배와 타일의 세로 폭의 정수배가 거의 같아지고, 결락된 개소에 분 형태 타일이 끼워지는 벽면구조이다. 이 타일은 도기체와 다공질 세라믹이 소결에 의해 결합되어 이루어진 복합 세라믹 구조체로 구성된 복합타일이다.
다공성 마이크로스피어 및 이의 제조방법.jpg)
출원번호 | 10-2009-0056511 등록번호 | 10-1178204-0000
특허권자 | 단국대학교 산학협력단 발 명 자 | 김해원 외 1명
본 발명은 다공성 마이크로스피어 및 이의 제조방법에 관한 것으로, 더욱 상세하게는 생체활성 세라믹을 포함하는 구형의 몸체의 표면 및 내부에 미세 기공이 형성되고, 상기 미세 기공이 상호 연결된 열린 기공 구조를 갖는 다공성 마이크로스피어 및 이의 제조방법에 관한 것이다.
상기 다공성 마이크로스피어는 서로 잘 연결된 열린 기공구조를 가져 체내 이식시 세포의 부착과 증식이 활발하게 일어나므로 골 및 치주조직의 재생을 효과적으로 도모할 수 있다.
내환원성 유전체 조성물 및 이를 포함하는 세라믹 전자 부품
출원번호 | 10-2011-0052282 등록번호 | 10-1179295-0000 .jpg)
특허권자 | 삼성전기주식회사 발 명 자 | 윤석현 외 4명
본 발명은 내환원성 유전체 조성물 및 이를 포함하는 세라믹 전자 부품에 관한 것으로, 본 발명에 따른 내환원성 유전체 조성물은 BaTiO3계 모재 분말; 상기 모재 분말 100 몰에 대하여, 전이금속 산화물 또는 탄산염 0.1 내지 1.0몰; 및 SiO2를포함하는 소결 조제 0.1 내지 3.0몰을 포함하는 것으로, 본 발명에 따른 유전체 조성물을 포함하는 세라믹 전자 부품은 고용량 및 우수한 신뢰성을 가질 수 있다.
고체산화물 연료전지용 밀봉재 및 그 제조방법
출원번호 | 10-2010-0137300 등록번호 | 10-1180217-0000
특허권자 | 주식회사 포스코 발 명 자 | 국승택 외 4명
본 발명의 일측면은 유리 분말과 세라믹 분말을 각각 30~50중량% 및 40~70중량%로 용매에 첨가하여 슬러리를 제조하는 단계; 상기 제조된 슬러리를 볼밀 분쇄하는 단계; 및 상기 볼밀 분쇄된 슬러리를 테이프 캐스팅한 후 건조하는 단계를 포함하는 고체산화물 연료전지용 밀봉재의 제조방법을 제공함으로써, 상기 세라믹 분말에 의해 밀봉재의 기계적 안정성을 확보하고, 테이프 캐스팅을 통해 얇은 두께의 밀봉재를 대량
생산할 수 있으며, 유리분말을 통해 우수한 기밀성도 확보할 수 있는 고체산화물 연료전지용 밀봉재를 얻을 수 있다.
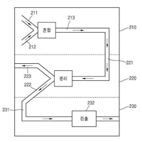
세라믹 적층형 바이오칩 모듈 및 그 제조 방법
출원번호 | 10-2010-0120954 등록번호 | 10-1174338-0000
특허권자 | 한국세라믹기술원 발 명 자 | 김종희 외 6명
세라믹의 장점을 활용할 수 있으며, 칩의 면적을 감소시킬 수 있는 세라믹 적층형 바이오칩 모듈 및 그 제조 방법에 대하여 개시한다. 본 발명에 따른 세라믹 적층형 바이오칩 모듈은 세균성 물과, 세균을 캡처링(capturing)하는 리간드가 부착된 마그네틱 비드를 혼합(mixing)해주는 기능을 하는 제1세라믹층; 세균이 캡처링된 상기 마그네틱 비드를 물과 분리(separating)하는 기능을 하는 제2세라믹층; 및 상기 마그네틱 비드에 캡처링된 세균의 수를 검출(detecting)하는 기능을 하는 제3세라믹층;을 포함하는 것을 특징으로 한다.
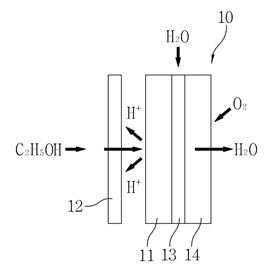
멤브레인을 포함하는 직접 에탄올 연료전지
출원번호 | 10-2010-0034617 등록번호 | 10-1173622-0000
특허권자 | 동신대학교산학협력단 발 명 자 | 윤영훈
본 발명은 세라믹 멤브레인을 포함하는 직접 에탄올 연료전지에 관한 것으로, 물에 용해된 에탄올에 의한 멤브레인의 팽윤(swelling)에도 뒤틀림(distortion)이 일어나지 않도록 함을 목적으로 한다.
본 발명에 의한 세라믹 멤브레인을 포함하는 직접 에탄올 연료전지는, 탄화규소를 포함하는 세라믹 분말로 이루어는 세라믹 멤브레인(11); 상기 세라믹 멤브레인의 양측면에 각각 형성되는 양극과 음극의 제1,2금속 촉매층(12,13)을 포함하며, 상기 세라믹 멤브레인은, 0.4 내지 10㎛의 탄화규소 분말, 실리콘 수지, 아세톤 용액이 혼합되어 이루어지며 기공율이 30~40%이다.
결정성 보로실리케이트계 유리프리트 및 이를 포함
하는 저온 동시소성용 저유전율 유전체 세라믹 조성물
출원번호 | 10-2010-0002759 등록번호 | 10-1179510-0000
특허권자 | 한국과학기술연구원 발 명 자 | 박정현 외 3명
본 발명은 결정성 보로실리케이트계 유리프리트 및 이를 포함하는 저온 동시소성용 저유전율 유전체 세라믹 조성물에 관한 것이다. 보다 상세하게는 본 발명은 보로실리케이트계 유리프리트 기본조성에서 알칼리토류 산화물의 함량을 높게 유지하고 필요에 따라 TiO2 등의 핵 형성제를 추가로 포함하고 있어 소성온도 800℃ 온도에서 유리 결정상이 생성되기 시작하여, 소성온도 900℃에서는 유리 결정상이 70 부피% 이상 존재하게 되는 신규 조성의 결정성 보로실리케이트계 유리프리트와, 그리고 상기한 유리프리트에 통상의 충전재를 포함시켜 750~900℃의 저온에서 소성되어 200 MPa 이상의 우수한 강도 값과 1 MHz에서의 저유전 손실율 0.1% 이하의 유전특성을 가지는 저온 동시소성(LTCC)용 저유전율 유전체 세라믹 조성물에 관한 것이다.
다공성 세라믹 지지체 위에 전사법을 이용한 세그멘티드형 고체산화물연료전지 구성 소재막 제조 방법.
출원번호
| 10-2010-0047891 등록번호 | 10-1179478-0000
특허권자 | 한국세라믹기술원 발 명 자 | 최병현 외 4명
본 발명은 고체산화물 연료전지(SOFC; Solid Oxide Fuel Cell)용 다공성 세라믹 지지체 위에 전사지를 이용하여 전극을 구성하는 것에 관한 것으로서, 기존의 스크린 법을 사용하여 제조하는 SOFC 셀(cell) 제조법은 슬러리를 용이하게 제작하고 구성물을 저가로 제작할 수 있으나 세라믹 지지체의 표면 가공 없이는 전극을 구성하는데 어려움이 있고, 일정한 두께와 전극 구성물간의 크기, 위치 제어의 어려움이 있으며, 이러한 단점을 보완하기 위해 치수, 위치제어가 가능하며 표면 상태의 제한을 덜 받는 전사기법으로 다공성 세라믹 지지체위에 전극, 전해질 등의 코팅막을 형성하여 segmented SOFC cell을 구성하는 것에 관한 것이다.
이와 같은 방법은, SOFC stack 용 구성소재를 연료극(anode), 전해질(electrolyte), 공기극(cathode), 연결재(Interconnect) 원료를 슬러리(slurry)화하여 페이스트(paste)화하고, 이 페이스트를 전사지 위에 인쇄한 후, 코팅된 전사지를 다기공 세라믹 지지체 위에 구성하는 것으로서 지지체와 전극간 부조합이 없도록 접착 방법을 고안하여 기존의 스크린 방법에 의해 제조된 SOFC cell에 비하여 표면 굴곡부분까지 균일하게 구성하기 쉽고 다양한 치수와 위치로의 제어가 가능하게 되었다..jpg)
적층 인덕터
출원번호 | 10-2010-0136644 등록번호 | 10-1175312-0000
특허권자 | 한국세라믹기술원 발 명 자 | 전명표 외 3명
본 발명은 적층인덕터에 관한 것으로, 자성체층용 세라믹 그린시트 또는 비자성체층에 소결처리된 자성체층용 페라이트 분말을 포함시킴으로써, 내구성이 강화되고, DC 바이어스 특성 및 투자율이 향상되는 효과가 있다.
탄소세라믹복합체를 만드는 방법
출원번호 | 10-2010-0082203 등록번호 | 10-1175756-0000
특허권자 | 주식회사 데크 발 명 자 | 배연숙 외 4명
본 발명인 탄소세라믹복합체를 만드는 방법은, 성형체를 만드는 단계; 상기 성형체를 탄화시키는 단계; 상기 탄화된 성형체에 규소를 침투시키는, 소결유도체를 만드는 단계; 및 상기 소결유도체에 포함된 규소를 녹여, 상기 탄화된 성형체
로 침투시키는 단계;를 포함한다.
본 발명을 사용하면, 탄화된 성형체의 크기와 형상에 관계없이, 탄화규소가 균일하게 분포된 탄소세라믹복합체가 만들 수 있다 . 또한, 진공저항가열로의 공간을 충분히 활용할 수 있어 대량으로 탄소세라믹복합체를 만들 수 있다.
세라믹 코팅제를 이용한 금속 표면의 처리 방법
출원번호 | 10-2012-0054099 등록번호 | 10-1173930-0000
특허권자 | 주식회사 미로 발 명 자 | 최병술 외 1명
본 발명은 무기질의 세라믹 코팅제를 이용한 금속의 표면 처리 방법에 관한 것으로서, 더욱 상세하게는 다양한 금속 재료의 표면을 무기질의 세라믹 코팅제 및 펄 재료로 코팅하여 내식성 및 내염성을 강화하고 반사효과를 높임으로써 내구성이 증대된 금속 표면을 제공하는 방법에 관한 것이다. 본 발명에 따른 금속의 표면 처리 방법에 의하면 금속 또는 시설물의 표면의 염해방지능 및 내부식성이 강화되어 내구성이 증가하는 효과를 갖는다. 또한 본 발명은 빗물에 의해 시설물 표면에 부착된 오염물질의 제거가 용이하고, 특히 바닷물에 의한 내부식성이 강해 해변가 및 겨울철 결빙구간에 매우 유용한 효과를 갖는다. 뿐만 아니라 도료에 펄 재료를 혼합하여 사용함으로써 야간에 반사효과를 높여 시설물의 안전성을 기할 수 있다. 또 본 발명은 내식성으로 인해 내구성이 향상되고 이로 인해 시설물의 교체 시기를 늦춰 관리비용을 절감할 수 있다.
압전 세라믹 조성물
출원번호 | 10-2011-0047242 등록번호 | 10-1176502-0000
특허권자 | 한국과학기술연구원 발 명 자 | 윤석진 외 4명
본 발명은 하기 화학식1로 표시되는 화합물 및 CuO를 포함하는 압전 세라믹 조성물을 제공한다.
[화학식 1]
XPb(ZraTib)O3-YPb(AlcNbd)O3-ZPb(MneSbf)O3
(상기 화학식 1에서, X+Y+Z=1, 0.8≤X003c#1.0, 0.04≤Y≤0.1, 0.04≤Z≤0.1, a+b=1, 0.4≤a≤0.6, 0.4≤b≤0.6, c+d=1, 0.2≤c≤0.4, 0.6≤d≤0.8, e+f=1, 0.2≤e≤0.4, 0.6≤f≤0.8)
본 발명의 압전 세라믹 조성물은 압전상수, 기계적 품질계수 및 전기기계 결합계수가 모두 클 뿐만 아니라, 소결온도가 900℃ 이하로 낮아 저온 동시소성이 가능하기 때문에, 적층 액츄에이터로의 응용 및 산업기기 전반에 압전소자로 폭넓게 활용될 수 있다.
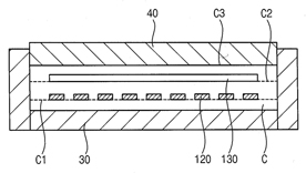
스파크 플라즈마 소결에 의한 세라믹 분말 합성용 금형
출원번호 | 10-2009-0087220 등록번호 | 10-1177778-0000
특허권자 | 한국기계연구원 발 명 자 | 이세훈 외 11명
본 발명은 분말 합성용 금형에 관한 것으로서, 보다 상세하게는 스파크 플라즈마 소결을 적용하기 위한 금형 시스템에 있어서, 내부에 세라믹 분말 합성을 위한 원료분말이 장입되는 관체 형상의 금형 몸체와; 상기 금형 몸체의 상부와 하부에 각각 접촉하는 한 쌍의 금형 커버;를 포함하여 구성되는 스파크 플라즈마 소결에 의한 세라믹 분말 합성용 금형을 제공함으로써 가압에 의한 합성분말내의 응집체의 생성을 근원적으로 억제할 수 있는 한편, 작은 전력으로도 금형 시스템을 작동할 수 있어 시스템에 무리를 주지 않으며, 작동 시 소비전력을 절감하도록 할 수 있다.
마모방지부재를 구비한 컨베이어 구동롤러 및 그 제조방법
출원번호 | 10-2010-0045580 등록번호 | 10-1176328-0000
특허권자 | 오경열 발 명 자 | 오경열
본 발명은 세라믹 마모방지부재를 구비한 컨베이어 구동롤러에 관한 것이다. 이러한 본 발명에 의하면, 금속롤러의 표면에 제1유성접착제를 도포하여 미가황고무판을 부착하고, 금속롤러 표면에 부착된 미가황고무판 표면에 제2유성접착제 또는 고무풀접착제 중 어느 하나를 선택적으로 도포하거나 미가황고무판과 마주하는 마모방지고무판의 표면을 사포로 가공하고, 그 표면에 제2유성접착제 또는 고무풀접착제 중 어느 하나를 선택적으로 도포하여 마모방지고무판을 미가황고무판에 부착한 후 상기 마모방지고무판을 나일론 로프로 감아서 가압함과 아울러 마모방지고무판이 부착된 금속롤러를 오븐에 투입하여 오븐 내부의 온도를 120°~130°로 5시간 유지하면서 수증기를 투입하되, 내부압을 4kgf/㎠(절대압력)로 유지하여 가열하는 단계를 거쳐 컨베이어 구동롤러를 제조함으로써, 금속롤러로부터 마모방지고무판이 분리되는 것을 방지할 수 있게 되어 컨베이어 구동롤러와의 교체없이 하나의 컨베이어 구동롤러 만으로도 연속적으로 작업을 진행할 수 있게 된다.
고체산화물 연료전지용 이중 페롭스카이트계 전기연결재 재료 및 그 응용 방법
출원번호 | 1
0-2010-0132074 등록번호 | 10-1180058-0000
특허권자 | 포항공과대학교 산학협력단 발 명 자 | 정종식 외 1명
본 발명은 고체산화물 연료전지용 전도성 세라믹 전기연결재 재료 및 그 구성 성분에 관한 것으로서, 보다 상세하게는 치밀막 구조로 고체 산화물 연료전지 단위셀의 양극과 음극을 전기적으로 연결하여 스택을 형성시키는 고체 산화물 연료전지용 전도성 세라믹 연결재 재료의 구성 성분 및 재료의 응용 방법에 관한 것이다.
본 발명에 따른 고체산화물 연료전지용 AxA‘1-xTiB’O6의 구조식을 가지는 이중 페로브스카이트계 전도성 세라믹 전기연결재는 1400℃의 낮은 소결 온도에서의 소결 우수성 및 800℃의 산화 또는 환원 분위기에서의 높은 전기전도성으로 인해 금속 전기연결재의 표면 피복재 또는 비평판형 SOFC의 음극 또는 양극 상에 박막 피복된 치밀막의 전기연결재로 사용이 가능하다.
탄소나노튜브를 이용하여 제조된 나노입자 및 그 제조방법
출원번호 | 10-2010-0010573 등록번호 | 10-1173847-0000
특허권자 | 성균관대학교산학협력단 발 명 자 | 소강표 외 2명
본 발명은 탄소나노튜브를 이용하여 나노입자를 제조하는 방법 및 이 방법에 의하여 제조된 나노입자를 제공한다. 본 발명은 물리적으로 견고한 구조를 가지고 화학적으로 단단한 결합을 형성하고 있는 탄소나노튜브를 이용하여 금속, 고분자 및 세라믹 등의 분말 입자를 나노 크기로 분쇄하는 것을 특징으로 한다. 또한 이러한 방법을 통하여 제조된 나노입자는 크기가 작고 탄소나노튜브를 포함하고 있으므로 산화력이 좋은 금속에 이용할 경우 고체연료 및 화약 등 발화성이 필요한 응용분야에 적용할 수 있다. 또한, 탄소나노튜브는 기계적 특성과 전기전도도가 우수함으로 그와 관련한 제품에 적용할 수 있다.
고체산화물 연료전지의 단전지 및 그 제조방
출원번호 | 10-2010-0063253 등록번호 | 10-1179137-0000
특허권자 | 한국전력공사 발 명 자 | 최진혁
개시된 본 발명의 본 발명의 고체산화물 연료전지의 단전지 제조 방법은, 연료극, 전해질, 공기극 버퍼층, 제2공기극 및 제1공기극을 포함하는 고체산화물 연료전지의 단전지를 제조하는 방법에 있어서, 스크린 프린팅, 테이프 캐스팅, 화학기상증착, 전기화학기상증착 및 스퍼팅 중 선택된 하나의 박막 코팅 방법으로 코팅 후 건조하여 상기 공기극 버퍼층, 제2공기극 및 제1공기극 각각을 형성하는 단계; 및 상기 공기극 버퍼층, 제2공기극 및 제1공기극을 상기 전해질 위에 순차적으로 코팅하여 건조시키는 단계를 포함한다.
본 발명에 따르면, 복수의 공기극 층을 각각 형성하여 별도의 열처리를 통한 접합공정이 없이 제조하는 방법으로 종래 공기극 제작시 요구되는 다단계 열처리 공정이 제거되어 세라믹 재료의 공기극의 열적 퇴화 문제가 해소될 수 있는 효과가 있다.
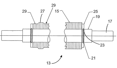
유리 리본 사출용 로울러 및 판유리 제조 방법
출원번호 | 10-2012-7008283 등록번호 | 10-1172245-0000
특허권자 | 코닝 인코포레이티드 발 명 자 | 카이저,데이비드에스 외 1명
본 발명에 따르면 유리 리본(11)용 사출 로울러(13) 및 그러한 로울러를 제조하는 방법들이 제공된다. 로울러는 샤프트(17), 면-대-면 방식으로 샤프트에 장착되는 다수의 내열 디스크(15), 및 샤프트에 부착되어 디스크에 축 압축력을 가하는 한 쌍의 피팅(25 또는 25, 31)을 포함한다. 축 압축력의 크기는 이용 중에 유리 리본과 접촉하는 로울러 표면(33)의 부분(27)이 실내 온도에서 30 내지 55 사이의 쇼어 D 경도를 갖도록 조정된다. 유리 리본에 초과의 힘을 가하거나 또는 높은 수준의 입자 오염을 발생시킴 없이 로울러는 오랜 서비스 수명을 달성한다.
기사를 사용하실 때는 아래 고유 링크 주소를 출처로 사용해주세요.
https://www.cerazine.net