2012년 5월 1일 ~ 5월 31일
정전척
출원번호 | 10-2004-0052389 등록번호 | 10-1146906-0000
특허권자 | 주성엔지니어링(주) 발 명 자 | 한정훈 외 2명
본 발명은 반도체 제조 장치의 웨이퍼 고정용 정전척에 관한 것으로, 유전체 판, 쿨링 판 및 상기 유전체 판과 쿨링 판간을 결합시키기 위한 접속막을 포함하는 정전척에 있어서, 상기 유전체 판의 가장자리 영역이 굴절된다. 여기서, 웨이퍼가 파지되는 상기 유전체 판의 상부 가장자리 영역이 굴절되거나, 상기 유전체 판과 상기 쿨링 판이 결합하는 면의 가장자리 영역이 굴절될 수 있다. 이와같이 정전척의 세라믹 판과 쿨링 판을 결합시키는 인듐막의 가장자리에 소정의 경로차를 주어 외부의 플라즈마에 의한 인듐막의 손상을 방지할 수 있고, O-링의 제거하여 O-링으로 인한 접속면 사이의 간격을 제거하여 접촉을 향상시킬 수 있으며, 세라믹판 및 쿨링판의 바깥쪽 공간을 5mm이하로 줄일 수 있고, 이로인해 본딩영역을 더 넓게 할 수 있으며, 정전척의 수명을 늘릴 수 있다.
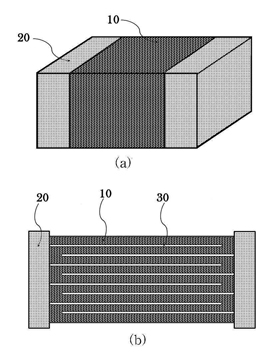
적층 세라믹 전자부품 제조방법 및 그 제조방법에 의한 적층 세라믹 전자부품 .jpg)
출원번호 | 10-2010-0131697 등록번호 | 1011536860000
특허권자 | 삼성전기주식회사 발 명 자 | 정선구 외 3명
본 발명은 적층 세라믹 전자부품 및 그 방법에 의해 제조된 적층 세라믹 전자부품에 관한 것으로, 본 발명의 일 실시예에 따른 적층 세라믹 전자부품은 제조방법은 제1 측면, 제2 측면, 제3 측면 및 제4 측면을 포함하는 복수 개의 세라믹층을 마련하는 단계; 세라믹층에 제1 측면 또는 제3 측면으로 인출되고, 제2 측면 및 제4 측면 방향에 오목부가 형성된 제1 내부 전극 패턴 및 제2 내부 전극 패턴을 인쇄하는 단계; 및 제1 내부 전극 패턴 및 제2 내부 전극 패턴이 인쇄된 복수 개의 세라믹 층을 적층 및 압착하는 단계를 포함한다.
촉매 코팅을 가진 다공성 세라믹 필터
출원번호 | 10-2006-7019924 등록번호 | 10-1152009-0000
특허권자 | 코닝 인코포레이티드 발 명 자 | 타오,팅홍 외 1명
본 발명은 산화물 워시코팅 공정에 의해 촉매 코팅을 갖도록 제공되는 다공성 세라믹 촉매 지지체 또는 필터는, 가교-결합된 폴리머 베리어 층들로 선-코팅되어 세라믹의 미세크랙된 및/또는 미세다공성 표면으로의 워시코트 나노입자 침투를 차단하고, 상기 베리어 코팅제는 적절한 워시코트 안정화 또는 촉매 활성 온도에서 증기화되는 열적으로 가교-결합 탄화수소 폴리머에 의해 형성되고 제품의 미세기공/미세채널 기공 부피를 선택적으로 막을 수 있다.
조명용 LED모듈 및 제조방법
출원번호 | 10-2009-0091343 등록번호 | 10-1153818-0000.jpg)
특허권자 | 전자부품연구원 발 명 자 | 조현민 외 1명
방염 및 방수성능이 우수한 조명용 LED모듈 및 제조방법이 제안된다. 제안된 조명용 LED모듈은 바닥부 및 격벽부를 포함하되, 바닥부 및 격벽부로 형성되는 내부공간에 LED패키지를 포함하는 세라믹 PCB 기판, 및 세라믹 PCB 기판의 상부를 덮는 덮개부를 포함한다.
머시너블 흑색 세라믹 복합체 및 그 제조방법
출원번호 | 10-2010-0104523 등록번호 | 1011512090000
특허권자 | 한국세라믹기술원 발 명 자 | 박주석 외 3명
본 발명은, 지르코니아(ZrO2), 질화붕소(BN), 산화이트륨(Y2O3) 및 알루미나(Al2O3)를 포함하며, 상기 지르코니아(ZrO2)와 상기 질화붕소(BN)는 78~96 중량% 함유되고, 상기 산화이트륨(Y2O3)은 3~12 중량% 함유되며, 상기 알루미나(Al2O3)는 1~10 중량% 함유되고, 꺾임강도가 100~160 MPa 정도이고, 열팽창계수는 6.0~9.0×10-6/℃ 범위 이며, 백색도가 30~50 범위인 머시너블 흑색 세라믹 복합체 및 그 제조방법에 관한 것이다. 본 발명에 의한 머시너블 흑색 세라믹 복합체는, 결정 상태가 우수하고 기계적 특성도 우수하며 입자 사이의 간격이 매우 조밀하고 기계적 가공성이 우수하며, 명도가 낮다.
이층기공구조를 가지는 진공척용 다공성 세라믹 소재 및 이의 제조방법.jpg)
출원번호 | 10-2010-0052677 등록번호 | 1020110133120
특허권자 | 한국기계연구원 발 명 자 | 송인혁 외 2명
다공질 세라믹 소재를 이용한 진공척 소재에 관한 것으로서, 진공척 소재는 높은 통기성을 가지고 있어야 하며, 이는 조대한 열린 기공구조를 통하여 이룰 수 있다. 그러나 진공척의 정밀도 및 피흡착물의 변형을 억제하기 위해서는 진공척 소재의 기공구조 미세화가 필요하지만, 기공구조의 미세화는 통기도의 저하를 유발한다. 이와 같은 문제를 해결하기 위하여 본 발명에서는 미세구조를 기공 크기별로 조대한 부분과 미세한 부분으로 이층구조화 하였다. 특히 미세 기공 구조층을 셀룰라 기공 구조로 제조함으로써 통기도의 저하를 최소화할 수 있는 미세구조를 만들 수 있다. 즉 이층기공구조를 가지는 진공척용 다공성 세라믹 소재는, 다수 미세기공을 구비하여 셀룰라 기공구조를 가지는 흡착층과, 상기 흡착층보다 큰 조대기공을 갖는 서포터층을 포함하여 구성되며, 상기 미세기공과 조대기공은 서로 연통하는 것을 특징으로 한다.
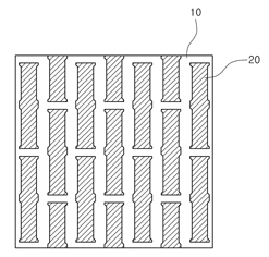
다공질 세라믹을 이용한 저널 스러스트 베어링의 제조방법 및 그에 의해 제조된 저널 스러스트 베어링
출원번호 | 10-2010-0119603 등록번호 | 10-1147818-0000
특허권자 | 주식회사 맥테크 발 명 자 | 김병학 외 3명
본 발명은 크게 네 단계를 거쳐 제작되는바, 알루미나 75 내지 90 중량%와 실리카 5 내지 15 중량%, 산화철 2 중량%, 산화망간 1 중량% 및 산화코발트 0.5중량%를 계량한 후 이를 혼합 및 분쇄하되, 상기 혼합물 전체 중량에 대하여 세라믹 분산제 1중량%와 유기바인더 1.5중량%를 첨가하여 알루미나 재질의 볼을 장입한 볼밀에서 습식혼합 분쇄하여 알루미나의 평균입경이 3 내지 4㎛가 되도록 분쇄하는 원료계량 및 분쇄공정(S1)과; 상기 혼합·분쇄된 혼합물을 스프레이 드라이어를 통해 평균입경 50 내지 100㎛가 되도록 과립화 한 후, 중심부에 금속재질의 코어가 삽입된 고무재질의 튜브형 몰드에 과립화된 혼합물을 장입하고 물속에서 1000kg/㎠의 압력으로 정수압성형 하는 성형공정(S2)과; 상기 성형된 원통 형태의 성형체를 전기로에 넣어 상온에서 600℃까지는 50℃/h의 승온속도로 승온한 다음, 이후 100℃/h의 승온속도로 1600℃까지 승온한 후 2시간 유지한 후 로냉하여 기공률 8 내지 9%의 원통형 세라믹(1)을 얻은 후 외경을 연삭하는 소결 및 외경연삭공정(S3)과; 상기 제작된 원통형 세라믹(1)을 급기공(2a)이 형성된 원통 형태의 알루미늄 하우징(2)에 에폭시(3)를 이용하여 접합한 후, 내경 및 전면부를 연삭하고, 이를 세척하는 조립 및 후가공공정(S4)으로 이루어지는 대략적인 구성을 갖는다.
고유전 복합 조성물의 제조방법.jpg)
출원번호 | 10-2007-0134276 등록번호 | 10-1144376-0000
특허권자 | 주식회사 엘지화학 발 명 자 | 박영효 외 2명
본 발명은 고유전 복합 조성물의 제조방법에 관한 것으로, 보다 상세하게는 열가소성 수지 또는 열(광)경화성 수지 20 내지 80 부피% 및 세라믹 입자 0 내지 30 부피%를 압출기의 주 투입구(10)에 투입하는 제 1단계; 및 세라믹 입자 20 내지 50 부피% 및 충전재 1 내지 20 부피%를 압출기의 측면 투입구(20)에 투입하는 제 2단계를 포함하는 고유전 복합 조성물의 제조방법에 관한 것이다.
본 발명에 따라 제조된 고유전 복합 조성물은 수지의 분해 및 세라믹 입자의 변
형으로 인한 물리적 특성의 저하 방지 및 우수한 유전율 특성을 가지며, 이에 따라 RFID 안테나, 통신 안테나, DMB 방송용 수신 안테나와 같은 각종 안테나 제조 등에 사용될 수 있다.
티탄산바륨 분말, 니켈 페이스트, 제법 및 적층 세라믹 콘덴서
출원번호 | 10-2010-0053376 등록번호 | 10-1151118-0000
특허권자 | 다이켄카가쿠 코교 가부시키가이샤
발 명 자 | 우에야마료스케 외 1명
적층 세라믹 콘덴서(MLCC)의 제조에 있어서의 소성 시의 크랙 등의 발생이 억제되어, 제조 수율을 향상시킬 수 있는, MLCC 생성용 니켈 페이스트에 이용하는 유황 함유 티탄산바륨, 그 유황 함유 티탄산바륨을 포함하는 니켈 페이스트 및 그 제조 방법, 크랙 등의 결함이 없는 내부 전극을 가지는 MLCC를 제공하는 것이다.
[해결 수단] 적층 세라믹 콘덴서의 내부 전극에 이용하는 니켈 페이스트에 있어서, 니켈분말과, 바인더제와, 용제에 가하여, 티탄산바륨분말에 유황을 혼재시킨 유황 함유 티탄산바륨을 첨가했다.
질화물 강화 텅스텐 나노복합재료 및 그 제조방법.jpg)
출원번호 | 10-2010-0024960 등록번호 | 10-1144884-0000
특허권자 | 한국과학기술원 발 명 자 | 홍순형 외 4명
본 발명에 따른 질화물 강화 텅스텐 나노복합재료는 텅스텐 금속 기지 내부에 질화물 세라믹 나노입자가 균일하게 분산되어 있는 것을 특징으로 하며 밀도, 압축강도 및 경도가 우수하기 때문에 국방 무기, 항공기 또는 로켓의 추진기관에 사용되는 내열부품 등 다양한 분야에 활용할 수 있다.
산화물 전극 소재 및 이를 구비한 적층세라믹 전자부품
출원번호 | 10-2009-0104122 등록번호 | 1011504060000
특허권자 | 전자부품연구원 발 명 자 | 이형규 외 2명
본 발명은 산화물 전극 소재 및 이를 구비한 적층세라믹 전자부품에 관한 것으로, 적층세라믹 전자부품의 내부전극을 구성하는데 사용되는 기존의 귀금속 메탈(Ag, Au, Pt, Pd) 또는 고온에서 용융이 안 되는 고융점 메탈(W, Mo, Ni, Cu) 소재를 대체하여, 저렴하면서 고온(800℃~1600℃ 정도)의 열처리(소결)온도에서 전기 전도성이 유지되며, 소결 후 완성 제품에서도 내부전극의 역할을 유지할 수 있는 산화물 전극 소재를 제공하고, 이 산화물 전극 소재를 채용한 적층세라믹 전자부품을 제공한다.
반도체 세라믹 재료
출원번호 | 10-2009-7026005 등록번호 | 10-1149634-0000
특허권자 | 가부시키가이샤 무라타 세이사쿠쇼
발 명 자 | 가츠하야토
Pb를 함유하지 않고 큐리점(Curie Point)이 높으며, 또한 비저항이 낮은 PTC 특성을 가지는 반도체 세라믹 재료를 제공한다. 일반식: ABO3으로 표시되는 PTC 특성을 가지는 반도체 세라믹 재료이며, A는 Ba, Ca, 알칼리 금속 원소, Bi 및 희토류 원소를 포함하고, B는 Ti를 포함한다. Ca는 Ti 100몰부에 대해서 5~20몰부, 바람직하게는 12.5~17.5몰부 포함한다. 알칼리 금속 원소의 함유량/(Bi의 함유량+희토류 원소의 함유량)은 1.0~1.06의 범위로 선택되는 것이 바람직하다. 또한, Mn을 Ti 100몰부에 대해서 0.01~0.2몰부 더 포함하는 것이 바람직하다.
압전 소자 및 이를 이용한 압전 스피커
출원번호 | 10-2010-0089767 등록번호 | 10-1152231-0000
특허권자 | 주식회사 이노칩테크놀로지 발 명 자 | 남승희
본 발명은 경방향 진동 특성을 향상시키고, 음향적인 에너지를 평탄하게 출력하는 압전 소자 및 이를 이용한 압전 스피커에 관한 것으로서, 특히 본 발명의 일실시예에 따른 압전 소자는 전극에 신호 전압을 인가하면 진동하는 압전 소자로서, 두께 방향으로 분극되어 적층되는 적어도 3층 이상의 압전 세라믹판을 포함하고, 상기 각각의 압전 세라믹판은 분극 방향이 서로 역 방향이 되도록 적층된 것을 특징으로 한다.
기사를 사용하실 때는 아래 고유 링크 주소를 출처로 사용해주세요.
https://www.cerazine.net