2012년 4월 1일 ~ 4월 30일
적층 세라믹 전자부품 및 그 제조방법
출
원번호 | 10-2011-7000219 등록번호 | 10-1143128-0000
특허권자 | 가부시키가이샤 무라타 세이사쿠쇼
발 명 자 | 히라타요스케 외 5명
내부전극을 가지는 적층체를 포함하는 적층 세라믹 전자부품에 있어서, 세라믹층 및 내부전극이 박층화되어도, 적층체를 소결시키기 위한 소성 공정에 있어서, 전극 파손이나 뭉침 등의 상태 변화가 생기기 어렵게 하는 동시에 DC 바이어스 특성을 개선한다.
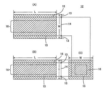
적층체(12)는 세라믹층을 구성하는 세라믹의 그레인 지름에 관해, 이것이 비교적 큰 대그레인 영역(13)과 비교적 작은 소그레인 영역(14)으로 분류된다. 대그레인 영역은 소그레인 영역의 외측에 위치하고, 대그레인 영역과 소그레인 영역의 경계면(15)은, 적층체에서의 내부전극이 존재하는 부분(16)을 둘러싸면서 적층체의 외표면의 내측에 위치한다. 적층체를 얻기 위해, 소성 공정에 있어서, 실온에서 최고 온도까지의 평균 승온 속도를 40℃/초 이상으로 하는 온도 프로파일로 열처리한다.
VOC 저감용 세라믹 복합소재
출원번호 | 10-2010-0038753 등록번호 | 10-1142006-0000
특허권자 | 인천대학교 산학협력단 발 명 자 | 황명환
본 발명은 대기중의 유해성 유기물질 또는 휘발성 유기물질 또는 새집 증후군의 주범인 포름 알데히드와 톨루엔 등의 오염물질을 제거하고 음식물처리기에서 발생하는 악취를 제거하기 위해 공기 청정기나 음식물 처리기의 필터에 사용되는 탈취 기능이 있는 세라믹 복합 소재에 관한 것으로, 상기 필터의 잦은 교체의 부담을 덜기 위해 장시간 집진기능 및 탈취기능을 나타내는 세척 가능한 기능성 세라믹 탈취소재, 특히, 활성탄/세라믹 복합소재, 그중에서도, 활성탄, 제올라이트, 숯, 금속산화물, 토르 말린, 수산화아파타이트계 물질 등을 포함하여 냄새성분을 흡착하여 제거하고 또한 기존의 탈취필터의 단점을 보완할 수 있는 활성탄/세라믹 기능성 복합소재에 관한 것이다.
세라믹 내열도료의 조성물
출원번호 | 10-2010-0121581 등록번호 | 10-1134564-0000
특허권자 | 목포대학교산학협력단 발 명 자 | 이상진
본 발명은 세라믹 내열도료의 조성물에 관한 것으로, 보다 구체적으로는 상온에서 도막 형성이 수월하고 도포 후 냄새의 발생이 현저히 낮으며, 고온에서의 접착성 및 내열성이 높아 고온에 쉽게 노출되는 산업설비에 도포하여 열원을 차단할 수 있으며, 실내건축물 또는 상기 산업설비에 화재 발생 시 화재 전이를 효과적으로 방지하며 유독가스가 발생하지 않게 한 세라믹 내열도료의 조성물에 관한 것이다.
투수성 흡착 세라믹 정화블록 및 그 제조방법
출원번호 | 10-2010-0045990 등록번호 | 10-1142548-0000
특허권자 | (주) 한길산업 발 명 자 | 송영한
본 발명은 투수성 흡착 세라믹 정화블록 및 그 제조방법에 관한 것으로서, 본 발명에 따른 투수성 흡착 세라믹 정화블록은 8~12mesh의 고로 슬래그 20~40중량%와, 0.5~3mm의 제올라이트 20~40중량%와, HAP(hydroxy apatite) 0.01~0.05중량%와, 8~30mesh의 활성탄 5~20중량%와, 1~5mm의 안트라사이트(anthracite) 5~20중량%와, 황토(loess) 1~5중량%와, 산화알루미늄 0.01~0.05중량%와, 일라이트(illite) 0.5~5중량%로 구성되며, 본 발명의 투수성 흡착 세라믹 정화블록 및 그 제조방법에 따르면, 미생물 고정화에 의한 세라믹 담체(擔體) 기능으로 인한 유기물 제거능과, 산화성 세라믹 재료들에 의한 산화환원 반응에 의한 초기 우수 중의 BOD 및 COD 저감능과, 격자형 광물에 의한 중금속 흡착능을 보유하여 우수한 정화 효율성을 가짐과 아울러, 필터 소재의 유실 염려가 없고, 설치 편의성 및 운반성, 그리고 유지관리성이 우수한 장점을 가지므로, 집수구나 초기우수처리시설의 흡착용 블록, 또는 생태 블록이나 어초 블록에 효과적으로 적용 가능하다.
세라믹 허스롤
출원번호 | 10-2009-0132567 등록번호 | 1011425050000
특허권자 | 재단법인 포항산업과학연구원 발 명 자 | 박중철
세라믹 슬리브에 형성되는 핀홀의 내마모성을 증가시켜 파손을 최소화시킬 수 있도록, 세라믹 슬리브와, 상기 세라믹 슬리브를 관통하는 롤샤프트, 상기 롤샤프트에 설치되는 롤플랜지에 장착되어 상기 세라믹 슬리브 선단에 형성된 핀홀에 끼워지는 핀볼트를 포함하며, 상기 핀홀 내주면에 라이너가 끼워져 핀홀 내주면과 상기 핀볼트 사이에 설치되는 구조의 세라믹 허스롤을 제공한다.
디스플레이 장치 제조공정용 세라믹 평판 히터
출원번호 | 10-2011-0070627 등록번호 | 10-1136892-0000
특허권자 | (주)엠에스아이코리아 발 명 자 | 김응천 외 5명
본 발명은 세라믹 평판 히터에 관한 것으로서, 보다 상세하게는 디스플레이 장치 제조공정 과정에서, 대용량・대면적으로 400℃ 이상의 안정적인 초고온 히팅이 가능하며, 전체적으로 온도 균일도와 IR 방사율이 높게 구현되고, 고온으로 인한 케이스의 열팽창 휨 현상과 그에 따른 세라믹 절연판의 파손을 방지할 수 있는 디스플레이 장치 제조공정용 세라믹 평판 히터에 관한 것이다.
상기와 같은 목적을 달성하기 위한 본 발명에 따른 디스플레이 장치 제조공정용 세라믹 평판 히터에 따르면, 복수 개의 단위 절연판이 타일 형태로 배치된, 세라믹 재질의 절연판과; 상기 절연판의 표면 또는 내부에 지그재그로 형성된 열선과; 금속 재질의 상판과 하판이 결합되어, 상기 절연판을 수용하는 케이스를 포함하는 것을 특징으로 한다. 그리고, 상기 케이스 상하면에 수평하게 설치된 제 1 지지바를 포함하는 것을 특징으로 한다.
또한 상기 케이스는, 상판과 하판의 테두리에 각각 수직으로 절곡면이 형성될 수 있으며, 상기 상판과 하판의 절곡면 사이에, 길이 방향으로 제 2 지지바가 삽입되는 것을 특징으로 한다. 아울러, 상기 케이스는 표면에 IR 코팅 처리된 것을 특징으로 한다.
다공성 멤브레인 및 그 제조방법, 이를 이용한 연료전지용고분자 전해질막, 및 이를 포함하는 연료전지 시스템
출원번호 | 10-2005-0002864 등록번호 | 1011354770000
특허권자 | 삼성에스디아이 주식회사 발 명 자 | 김희탁 외 1명
본 발명은 다공성 멤브레인 및 그 제조방법, 이를 이용한 연료전지용 고분자 전해질막, 및 이를 포함하는 연료전지 시스템에 관한 것으로, 상기 다공성 멤브레인은 세라믹 섬유들이 네트워크 형태로 서로 교차되어 기공이 형성된다. 본 발명은 또한, 세라믹 섬유, 교차점 형성제(intersection forming agent), 유기 섬유, 및 펄프를 물에 분산시킨 후 압축하여 웨트 페이퍼(wet paper)를 제조하고, 상기 웨트 페이퍼를 건조하여 필름을 제조한 후 열처리하여 기공을 형성하는 것인 다공성 멤브레인의 제조방법을 제공한다.
세라믹기판용 유리 조성물
출원번호 | 10-2009-0095990 등록번호 | 10-1141499-0000
특허권자 | 연세대학교 산학협력단 발 명 자 | 조용수
본 발명에 따라서 5~15 mol%의 MgO, 15~35 mol%의 Nd2O3, 50~70 mol%의 B2O3를 포함하는 것을 특징으로 하는 LTCC 세라믹 기판용 유리 조성물이 제공된다. 이러한 유리 조성물은 종래의 LTCC 세라믹 기판용 유리 조성물과 달리 내식성 및 기계적 강도를 동시에 크게 향상시킬 수 있고, 실시예에 따라서는 유전율, 품질 계수와 같은 전기적 특성도 향상시킬 수 있다.
저온소성용 마이크로파 유전체 세라믹 조성물 
출원번호 | 10-2010-0003537 등록번호 | 10-1135577-0000
특허권자 | 한국과학기술연구원 발 명 자 | 박정현
본 발명은 저온소성용 마이크로파 유전체 세라믹 조성물에 관한 것이다. 보다 상세하게는 보로실리케이트 유리프리트를 주성분으로 하고, 여기에 공진주파수의 온도계수(Temperature Coefficient of Resonant Frequency: τf)가 양(+) 또는 음(-)의 범위인 서로 다른 복합금속산화물 분말을 2종 이상 혼합함으로써 900℃ 이하의 낮은 온도 범위에서 소성이 가능하고 마이크로파 대역에서의 유전율(k) 20 이상의 유전특성을 가지는 저온소성용 마이크로파 유전체 세라믹 조성물에 관한 것이다.
열
전도도 측정장치
출원번호 | 10-2009-0120897 등록번호 | 10-1135151-0000
특허권자 | 한국표준과학연구원 발 명 자 | 성대진 외 3명
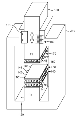
본 발명은 열전도도 측정장치를 제공한다. 이 장치는 하부 온도 고정부, 하부 온도 고정부 상에 이격되어 배치된 상부 온도 고정부, 하부 온도 고정부 상에 배치되고 열류를 생성하는 발열부, 발열부 상에 배치되고 열류 중에서 시료에 전달되는 열류를 측정하는 하부 열류 측정부, 및 상부 온도 고정부의 하부에 배치되고 시료를 통과하여 전달되는 열류를 측정하는 상부 열류 측정부를 포함한다. 시료는 하부 열류 측정부의 일면와 상부 열류 측정부의 일면 사이에 개재되고, 발열부 및 상기 하부 열류 측정부는 열전 소자로 구성된다.
고온 용융염 내의 란탄족 및 악틴족 금속원소를 전착 또는
탐지하는 전기화학적 셀의 고배향 흑연전극
출원번호 | 10-2009-0132853 등록번호 | 10-1142011-0000
특허권자 | 한국원자력연구원 발 명 자 | 배상은 외 2명
본 발명은 고온 용융염 내의 란탄족 및 악틴족 금속원소를 전착 또는 탐지하는 전기화학적 셀의 전극에 관한 것으로 보다 상세하게는 고온 용융염 내의 란탄족 및 악틴족 금속원소를 전착 또는 탐지하는 전기화학적 셀의 작업전극에 있어서, 용융염 내의 란탄족 및 악틴족 금속원소를 전착 또는 탐지하는 전기화학적 셀의 작업전극은 고배향성 흑연전극인 것을 특징으로 하는 고온 용융염 내의 란탄족 및 악틴족 금속원소를 전착 또는 탐지하는 고배향성 흑연전극에 관한 것이다.
고
온환경 열차폐용 저열전도성 복합산화물 및 그 제조 방법
출원번호 | 10-2010-0037303 등록번호 | 10-1143311-0000
특허권자 | 한국세라믹기술원 발 명 자 | 오윤석 외 5명
고온에서 열전도도가 낮아 고온 환경에서 열을 차폐함으로써 부품의 내구성을 향상시킬 수 있는 복합산화물 및 그 제조 방법에 대하여 개시한다.
본 발명에 따른 고온 환경 열차폐용 저열전도성 복합산화물은 A2B2O7으로 표시되며, 상기 A는 LaxGd1-x (0 003c# x 003c# 1), 상기 B는 ZryCe1-y (0 003c# y 003c# 1)이며, 이는 상기 복합산화물의 원료가 되는 원료 분말들을 칭량하는 단계; 상기 원료 분말들을 혼합하여 분쇄하는 단계; 분쇄된 분말을 몰드에 장입하고 가압 성형하는 단계; 및 상기 가압 성형된 결과물을 소결하는 단계;를 포함하는 것을 특징으로 한다.
이중막 구조의 FTO 제조방법
출원번호 | 10-2010-0055913 등록번호 | 10-1135792-0000
특허권자 | (주)솔라세라믹 발 명 자 | 송철규
이중막 구조의 FTO제조방법에 관한 것이으로, 상기 방법은 기판을 400-500도로 가열하고; 상기 가열된 기판 위로 Sn이 함유된 전구체를 분사하여 평판형 FTO를 제조하고; 상기 평판형 FTO막을 500-550도 이상으로 가열하고; 상기 가열된 FTO 기판위로 Sn이 함유된 전구체를 분사하여 FTO 나노막대층을 형성하는 단계를 포함하여 구성된다. 본원발명은 하부에 다결정 FTO 막이 형성되고, 상기 다결정 FTO 막 위에는 나노막대형 FTO 층이 성장형성되는 것을 특징으로 한다.
기사를 사용하실 때는 아래 고유 링크 주소를 출처로 사용해주세요.
https://www.cerazine.net