주요 등록특허 공개내용2012년 3월 1일 ~ 3월 31일
이온성 고분자를 포함하는 가교형 세라믹 코팅 분리막의 제조 방법, 이로부터 제조된 세라믹 코팅 분리막 및 이를 채용한 리튬이차전지
출원번호 | 10-2009-0069411 등록번호 | 10-1125013-0000
특허권자 | 현대자동차주식회사 / 한양대학교 산학협력단
발 명 자 | 김동건 외 4명
본 발명은 이온성 고분자를 포함하는 가교형 세라믹 코팅 분리막의 제조 방법, 이로부터 제조된 세라믹 코팅 분리막 및 이를 채용한 리튬이차전지에 관한 것으로서, 더욱 상세하게는 열적, 기계적 특성을 향상시키기 위한 세라믹 입자와, 싸이클 특성과 고율 특성을 향상시킬 수 있는 기능성 무기 첨가제와, 이들을 분리막 기재상에 결합시키기 위한 이온성 고분자로 구성되는 코팅재를 다공막 기재에 코팅하여 화학적 가교 방법에 의해 제조되도록 한 이온성 고분자를 포함하는 가교형 세라믹 코팅 분리막의 제조 방법, 이로부터 제조된 세라믹 코팅 분리막 및 이를 채용한 리튬이차전지에 관한 것이다.
코팅제 및 이 코팅제가 도포된 세라믹 롤러
출원번호 | 10-2009-0127101 등록번호 | 10-1
132313-0000
특허권자 | 주식회사 포스코 발 명 자 | 이전우 외 2명
본 발명은 내마모성이 향상된 코팅제 및 이 코팅제가 도포된 세라믹 롤러에 관한 것으로,
본 발명의 일 실시예에 따른 코팅제는, 피처리물 표면을 보호하기 위한 코팅제로서, 질화붕소(BN) 분말; 상기 질화붕소 분말에 첨가되는 세라믹 분말; 및, 상기 질화붕소 분말과 상기 세라믹 분말의 결합력을 증가시키는 결합제를 포함한다.
이러한 본 발명의 일 실시예에 따른 코팅제는, 높은 내마모 특성을 갖는 코팅제를 제공할 수 있다. 또한, 본 발명의 실시예들에 의한 코팅제가 도포된 세라믹 롤러는 코팅제의 내마모 특성이 향상되어 실제 조업시 코팅제가 마모된 롤러의 표면에 다시 코팅제를 도포하는 횟수가 감소되고, 이에 따라 RHK(Roller Hearth Kiln) 조업을 중단하는 횟수가 감소되어 조업 생산성을 크게 향상시킬 수 있다.
3차원 세라믹 다공성 인공지지체 및 그 제조방법
출원번호 | 10-2009-0121339 등록번호 | 10-1132747-0000
특허권자 | 포항공과대학교 산학협력단 발 명 자 | 설영준 외 2명
본 발명은 뼈 조직 재생에 사용되는 3차원 세라믹 다공성 인공지지체의 제조방법에 관한 것이다.
본 발명의 일 실시예에 따른 3차원 세라믹 다공성 인공지지체의 제조방법은, 원하는 3차원 인공지지체를 디자인하고, 광 경화 성질을 가지는 슬러리를 준비하는 제1 단계, 상기 제1 단계에서 준비된 슬러리를 pMSTL 시스템에 적용하여 상기 3차원 인공지지체를 성형하는 제2 단계, 및 상기 제2 단계에서 성형된 상기 3차원 인공지지체를 소결하는 제3 단계를 포함한다.
세라믹/CNT 복합체 및 이의 제조방법.jpg)
출원번호 | 10-2010-0034164 등록번호 | 10-1132717-0000
특허권자 | 단국대학교 산학협력단 발 명 자 | 김해원 외 3명
본 발명은 세라믹/CNT 복합체 및 이의 제조방법에 관한 것으로, 생체활성 세라믹으로 이루어진 기재의 표면에 CNT가 균일하게 분산된 코팅층이 형성된 세라믹/CNT 복합체 및 이의 제조방법에 관한 것이다.
본 발명에 따른 세라믹/CNT 복합체는 기계적 물성이 우수할 뿐만 아니라 세포의 부착 및 증식이 촉진하여 골 및 치주조직의 재생을 효과적으로 도모하므로 조직공학용 지지체, 세포 운반체 등으로 적용이 가능하다.
세라믹계 탄소나노복합분말을 이용한 코팅 방법
출원번호 | 10-2010-0043540 등록번호 | 1011316380000
특허권자 | 주식회사 어플라이드카본나노 발 명 자 | 이대열 외 3명
본 발명은, 세라믹 입자와 탄소나노소재를 혼합하여 세라믹계 탄소나노복합분말을 준비하는 단계; 모재의 표면에 상기 탄소나노복합분말을 접촉시키는 단계; 상기 탄소나노복합분말에 충격에너지를 인가하여 코팅하는 단계; 및 상기 모재의 표면으로부터 잔여 탄소나노복합분말을 제거하는 단계를 포함하여 구성되되, 상기 탄소나노복합분말에 충격에너지를 인가함으로써, 상기 세라믹 입자가 모재에 홈을 형성하고, 세라믹 입자의 운동에너지를 이용하여 탄소나노소재가 상기 홈을 중심으로 압착되는 것을 특징으로 하는, 탄소나노복합분말을 이용한 코팅 방법에 대해 개시한다. 상기 방법은, 탄소나노복합분말에 기계적 충격에너지를 인가하는 방식으로 코팅 공정을 대폭 간소화시켜 제조비용을 절감시킬 수 있으며, 코팅 제품에 일반적으로 요구되는 투명성, 접착성, 전기전도성을 종래 방식 대비 동등 수준 이상으로 구현할 수 있고, 또한 피코팅제인 탄소나노소재에 대한 제한 없이 범용적으로 이용될 수 있다.
유전체 세라믹 조성물
출원번호 | 10-2010-0034349 등록번호 | 10-11
33808-0000
특허권자 | 호서대학교 산학협력단/ 주식회사 케이원전자
발 명 자 | 천채일 외 4명
본 발명은 (1-x-y)CaTiO3-x(Li,Nd)TiO3-y(Bi,Na)TiO3의 화학식을 가지며, 상기 화학식 중 x는 0≤x≤0.6, y는 0≤y≤0.6(단, x+y003c#1)인 유전체 세라믹 조성물 에 관한 것이다.
본 발명의 유전체 세라믹 조성물 및 이를 이용한 유전체 세라믹 부품은 유전율이 높고, 품질계수가 좋으며, 온도계수가 작아 각종 전자기기의 세라믹 콘덴서 등으로 사용될 수 있으며, 고가의 MLCC를 대체할 수 있다.
열전도패드 및 그 제조방법
출원번호 | 10-2010-0004534 등록번호 | 10-1130087-0000
특허권자 | 수퍼나노텍(주) 발 명 자 | 문홍웅
본 발명은 열전도도가 20~40W/mK인 세라믹 고체 및 상기 세라믹 고체 사이에 균일하게 분산되는 탄소나노튜브로 구성하고, 열전도특성이 우수한 탄소나노튜브의 균일한 분산을 통하여 고열전도도를 가지는 열전도패드 및 그 제조방법에 관한 것이다.
디스플레이장치용 필터 및 이를 구비하는 디스플레이장치.jpg)
출원번호 | 10-2008-0053685 등록번호 | 10-1129547-0000
특허권자 | 삼성코닝정밀소재 주식회사 발 명 자 | 신동근 외 5명
본 발명은 영상을 디스플레이하는 디스플레이패널의 일 측에 구비되고 베이스 기판과, 베이스 기판에 적층되는 복수의 층으로 구성되고, 복수의 층 중 적어도 어느 한 층에는 원적외선 방사물질이 포함되는 원적외선 방사층이 형성되어, 디스플레이 장치 구동시 발생되는 열을 이용하여 원적외선을 방출하는 디스플레이 장치용 필터 및 이를 구비한 디스플레이 장치를 제공한다.
뮬라이트 결합 탄화규소질 고온가스필터 제조방법
출원번호 | 10-2009-0105786 등록번호 | 10-1133650-0000
특허권자 | 한국에너지기술연구원 발 명 자 | 한인섭 외 7명
본 발명은 스트론튬(strontium)을 포함하는 고온가스필터용 뮬라이트(3Al2O3·2SiO2, mullite)결합 탄화규소 소재의 세라믹 조성물를 이용한 고온가스필터 제조방법에 관한 것으로서, 본 발명에 의하면 탄화규소(SiC) 분말 35~80 중량%; 알루미늄(Al), 산화알루미늄(Al2O3) 및 수산화알루미늄 (Al(OH)3)으로 이루어지는 군에서 선택된 1종 이상의 Al 공급원 15~45 중량%; 및 SrO, SrCO3 및 Sr(NO3)2 로 이루어지는 군에서 선택된 1종 이상의 Sr 공급원 0.1~20 중량%를 포함하여 이루어지는 뮬라이트결합 탄화규소질 고온가스필터 제조용 세라믹조성물이 제공된다. 상기 세라믹 조성물을 성형, 건조 및 소결하여 제조되는 고온가스필터는 기계적강도가 우수하고, 열피로 저항성이 우수하다.
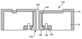
정전척.jpg)
출원번호 | 10-2004-0102281 등록번호 | 10-1132632-0000
특허권자 | 주성엔지니어링(주) 발 명 자 | 김철식
본 발명은 정전척에 관한 것으로, 몸체와,상기 몸체 상부 표면에 형성된 냉각 유로와, 상기 몸체의 측면과 상부 표면과 상기 냉각 유로 위에 형성된 세라믹 코팅막과, 상기 냉각 유로에 냉각 가스를 공급하기 위한 가스 유입관과, 상기 가스 유입관 내측벽에 장착된 절연파이프 및 상기 절연 파이프를 관통하는 절연봉을 포함하는 정전척을 제공한다.
이로써, 냉각 가스가 공급되는 가스 유입관 내에 절연파이프를 장착하여 유로 전체에 플라즈마 발생이나 아킹의 발생을 방지할 수 있고, 절연 파이프 내에 소정의 절연봉을 두어, 절연 파이프의 관통구멍을 미세하게 가공하지 않고도, 냉각 가스가 공급되는 가스유로의 관통구멍을 작게 할 수 있다.
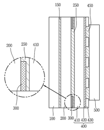
평관형 고체산화물 연료전지의 전기 연결재 제작 및 설치.jpg)
출원번호 | 10-2010-0006284 등록번호 | 10-1130126-0000
특허권자 | 포항공과대학교 산학협력단 발 명 자 | 정종식 외 3명
본 발명은 고체산화물 연료전지용 스텍의 전기연결재(electric collector) 제작 및 설치 방법에 관한 것으로서, 보다 상세하게는 평관 분할형(segmented flat tube type) 연료전지 스텍에서 고온 안정성을 띤 내부/외부 전기연결재의 제작 및 설치 방법에 관한 것이다.
본 발명에 따른 고체산화물 연료전지용 스텍은 평관 분할형 연료전지로 단전지 모듈의 앞면과 뒷면의 전자의 흐름이 다르고 이로 인해 직렬로 연결되는 연료전지 스텍의 제작 방법에 관한 것이다.
본 발명에 따른 고체산화물 연료전지용 스텍은 외부 전기집전체를 cell과 접착 고정하는 방법에 있어서, 금속 또는 세라믹이 사용되는 중간 연결재 및 금속재료가 사용되는 외부 집전판이 고온의 공기와 접촉되지 않아 산화부식이 진행되지 않고, 또한 cell 과 cell사이에 기계적으로 부착되지 않기 때문에 cell이 운전 중에 기계적인 휨 변형등이 발생하여도 전기적 탈락이 발생하지 않는 안정된 연료전지 스텍을 제작하는 방법을 제공한다.
서브마이크론 알파 알루미나 고온결합연마재
출원번호 | 10-2009-7012931 등록번호 | 10-1132159-0000
특허권자 | 생-고뱅 세라믹스 앤드 플라스틱스, 인코포레이티드
발 명 자 | 바우어랄프 외 1명
고온결합연마재는 알루미나 연마그릿들 및 상기 연마그릿들이 분포된 유리질 결합매트릭스를 포함하며, 유리질 결합매트릭스는 1000℃ 이상의 경화 온도를 가진다. 알루미나 연마그릿은, α-알루미나 평균 영역크기가 500 nm 이하인 미세 결정성 마이크로구조를 가지는 다결정 α-알루미나를 포함하며, 알루미나 연마그릿은 다결정 α-알루미나 상에서 분산상인 피닝제를 추가로 포함한다.
근적외선 필터용 유리
출원번호 | 10-2009-0104320 등록번호 | 10-1125681-0000
특허권자 | 한국세라믹기술원/ 나노스 주식회사
발 명 자 | 황종희 외 5명
본 발명은 근적외선 필터용 유리에 관한 것으로서, 본 발명에 의한 근적외선 필터용 유리는, P2O5의 양을 중량비로 60% 이하로 제한하는 한편, 세라믹소재로서 내구성과 강도를 향상시키는 재료인 ZrO2 성분을 적정량 포함하여 이루어지며, 이러한 구성으로 인하여 광학필터용으로 사용되는 인산계 유리의 내수성을 크게 향상시킬 수 있으며, 종래 근적외선 필터용 인산계 기반 유리의 특성인 분광특성을 그대로 유지할 수 있다.
기사를 사용하실 때는 아래 고유 링크 주소를 출처로 사용해주세요.
https://www.cerazine.net