2012년 2월 1일 ~ 2월 29일
세라믹 허니컴 필터 및 그 제조 방법
출원번호 | 10-2006-7006108
등록번호 | 10-1123173-0000
특허권자 | 히타치 긴조쿠 가부시키가이샤
발 명 자 | 도쿠마루신야
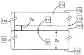
유로를 구획하는 다공질 격벽을 가지고 있는 세라믹 허니컴 소성체와, 소정의 유로에 형성된 밀봉부를 가지고, 상기 다공질 격벽을 통과하는 배기가스로부터 미립자를 제거하는 세라믹 허니컴 필터로서, 상기 세라믹 허니컴 소성체는 코디어라이트를 주성분으로 하는 세라믹 재료로 이루어지고, 상기 밀봉부 중 적어도 일부분은 세라믹 입자 및 비정질 산화물 매트릭스를 함유하며, 상기 비정질 산화물 매트릭스는 콜로이드상 산화물로 형성된 것을 특징으로 하는 세라믹 허니컴 필터이다.
고 변형 유리/유리-세라믹 함유 반도체-온-절연체 구조물.jpg)
출원번호 | 10-2007-7006151
등록번호 | 10-1121798-0000
특허권자 | 코닝 인코포레이티드
발 명 자 | 에이트켄,브루스,쥐 외 3명
본 발명은 변형된 반도체 층을 갖는 반도체-온-절연체 구조물에 관한 것이다. 본 발명의 하나의 구체화에 따르면, 반도체-온-절연체 구조물은, 약 800℃ 이상의 유리 또는 유리-세라믹 변형점을 갖는 유리 또는 유리-세라믹을 포함하는 제2 층에 부착된, 반도체 물질을 포함하는 제1층을 갖는다.
세라믹 전자부품의 제조방법
출원번호 | 10-2007-7003593
등록번호 | 10-1120991-0000
특허권자 | 니혼 유니버서티
발 명 자 | 우치코바후미오
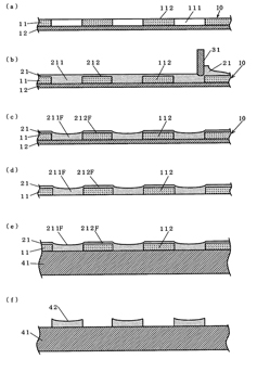
드라이 필름(10)의 포토 레지스트(11)를 패터닝하여 개구부(111), 비개구부(112)를 형성하고(도 1(a) 참조), 닥터 블레이드(31)로 전도 페이스트(21)를 도포한 후(도 1(b) 참조), 전도 페이스트(21)를 건조하고(도 1(c) 참조), 이어서 드라이 필름의 이형 필름(12)을 떼어낸 후(도 1(d) 참조), 드라이 필름(10)을 세라믹 그린시트(41)에 접착하고(도 1(e) 참조), 세라믹 그린시트(41)로부터 드라이 필름의 포토 레지스트(11)를 떼어내어 세라믹 그린시트(41) 위에 도전막(42)을 형성한다(도 1(f) 참조). 세라믹 전자부품은 상기 도전막(42)이 형성된 세라믹 그린시트(41)를 소결하여 제조된다.
세라믹 선재 형성 방법, 세라믹
선재 형성 시스템, 및 이를 이용한 초전도 선재
출원번호 | 10-2011-0107993
등록번호 | 10-112383-00000
특허권자 | 주식회사 서남
발 명 자 | 문승현 외 3명
세라믹 선재 형성 시스템이 제공된다. 상기 세라믹 선재 형성 시스템은 선재 기판 상에 세라믹 박막을 형성하기 위한 박막 증착 유닛; 및 상기 박막 증착 유닛에서 형성된 세라믹 박막을 포함하는 선재 기판을 열처리하기 의한 열처리 유닛을 포함한다. 상기 열처리 유닛은, 상기 선재 기판을 연속적으로 통과시킬 수 있고 차례로 인접한 제 1 용기, 제 2 용기 및 제 3 용기를 포함하고, 상기 제 1 용기, 상기 제 2 용기 및 상기 제 3 용기는 서로 독립적으로 펌핑되어 독립적인 진공을 유지할 수 있고 서로 독립적으로 온도를 유지할 수 있도록 구성된다.
내플라즈마성 전자빔증착 세라믹 피막 부재
출원번호 | 10-2009-0050123
등록번호 | 10-1123719-0000
특허권자 | 한국세라믹기술원
발 명 자 | 오윤석 외 4명
고밀도 플라즈마 환경에서 탑 코트의 박리 현상을 방지하여 내구성을 향상시킬 수 있는 전자빔증착 세라믹 피막 부재에 대하여 개시한다.
본 발명에 따른 전자빔증착 세라믹 피막 부재는 세라믹 기재 표면에 세라믹 소재의 전자빔 증착막(electron-beam deposition film)이 세라믹 탑 코트(ceramics top coat)로서 피복되어 있는 것을 특징으로 한다. 이때, 세라믹 탑 코트 하부에는 세라믹 탑 코트와 세라믹 기재와의 열팽창 계수 차이를 완화하기 위하여, 교대형 또는 농도 구배형으로 형성된 중간층이 형성되어 있다.
LCD 폐유리를 이용한 세라믹 글라스 조성물.jpg)
출원번호 | 10-2009-0055824
등록번호 | 10-1124580-0000
특허권자 | 강릉원주대학교산학협력단, (주)써모텍
발 명 자 | 윤상옥 외 3명
본 발명은 LCD 폐유리를 이용한 세라믹 글라스 조성물에 관한 것으로서, LCD 폐유리를 1 내지 10μm 이하의 입도를 갖도록 미분쇄하여 제조된 유리프리트와 세라믹 충전제(filler)를 일정 성분비로 혼합하여 제조된 본 발명에 따른 세라믹 글라스 조성물은, 850 내지 950 ℃의 저온에서도 소성이 가능하며, 유전율이 낮고 전기적 손실을 최소화할 수 있어 LTCC 기판, 세라믹 히터, 고효율의 필터 및 안테나 등의 공진기(resonator)에 응용이 가능하다.
물유리 및 에어로겔로부터 제조된 세라믹 다공체 및 이의 제조방법
출원번호 | 10-2009-0039031
등록번호 | 10-1129375-0000
특허권자 | 유미선
발 명 자 | 유미선
본 발명은 물유리의 발포로 형성된 기공과 에어로겔의 미세한 기공의 상승작용에 의한 우수한 단열성, 내열성 및 초경량성을 갖는 물유리 및 에어로겔로부터 제조된 세라믹 다공체 및 이의 제조방법에 관한 것이다. 본 발명에 의하면, 물유리와 무기첨가제로서 에어로겔이 2:1 내지 8:1 중량비로 혼합된 소성 혼합물의 소성체인 세라믹 다공체; 및 물유리와 무기첨가제로서 에어로겔을 2:1 내지 8:1 중량비로 혼합하여 소성 혼합물을 준비한 후, 소성 혼합물을 원하는 모양으로 성형하고 120 내지 800℃에서 10분 내지 2시간동안 소성하는 단계를 포함하는 세라믹 다공체 제조방법이 제공된다. 물유리와 에어로겔의 혼합물로부터 제조되는 본 발명에 의한 새로운 세라믹 소성체는 우수한 단열성을 가질 뿐만 아니라, 중량면에서도 초경량의 소성체로서 신소재의 경량화 및 에너지 절감 기능에 부합되는 것으로 첨단소재로서 다양한 분야에 적용될 수 있다.
방탄복용 세라믹 방탄패널 및 그 제조방법.jpg)
출원번호 | 10-2010-0010539
등록번호 | 10-1118133-0000
특허권자 | 국방과학연구소
발 명 자 | 김재근 외 3명
본 발명은 세라믹 플레이트 전면과 후면에 접착필름을 이용하여 방탄직물을 접착함에 있어서 후면에 접착되는 방탄직물을, 나노입자를 분산시킨 전단농화유체로 처리함으로써 방탄성능을 대폭 향상시킴과 아울러 보다 경량화할 수 있는 방탄복용 세라믹 방탄패널 및 그 제조방법을 제공한다.
본 발명에 따른 방탄복용 세라믹 방탄패널은 세라믹 플레이트; 세라믹 플레이트 후면에 적층되는 다수 장의 전단농화유체로 처리된 방탄직물; 전단농화유체로 처리된 방탄직물을 둘러싸면서 밀폐하는 밀폐필름; 세라믹 플레이트 전면에 적층되는 전면 방탄직물; 세라믹 플레이트와 전면 방탄직물 사이에 적층되어 세라믹 플레이트와 전면 방탄직물을 접착하는 전면 접착필름; 세라믹 플레이트와 밀폐필름 사이에 적층되어 세라믹 플레이트와 밀폐필름을 접착하는 세라믹 접착필름; 을 포함하는 적층물로 이루어지고, 이 적층물은 진공상태를 유지하면서 일정 시간동안 일정한 압력과 일정한 온도가 가해져 상기 접착필름들이 용융되고 이 용융에 의하여 세라믹 플레이트를 포함한 상기 적층물들이 서로 접착되는 구조로 이루어져 있다. 또한, 본 발명에 따르면, 상기 적층물은 다수 장의 전단농화유체로 처리된 방탄직물 후면에 적층되는 다수 장의 미처리 방탄직물; 밀폐필름과 미처리 방탄직물 사이에 적층되어 밀폐필름과 미처리 방탄직물을 접착하는 필름-직물 접착필름; 및 미처리 방탄직물들 사이에 적층되어 미처리 방탄직물들을 접착하는 직물 접착필름; 을 더 포함한다.
세라믹 히터, 이의 제조 방법 및 이를 포함하는 박막 증착 장치
출원번호 | 10-2008-0081158
등록번호 | 10-1120599-0000
특허권자 | 주식회사 코미코
발 명 자 | 최정덕 외 3명
세라믹 히터는 플레이트, 제1 발열층, 제2 발열층 및 연결 부재를 포함한다. 플레이트는 상면에 기판이 놓여지고, 절연성의 세라믹 재질로 이루어진다. 제1 발열층은 플레이트에 내장된다. 제2 발열층은 플레이트에 제1 발열층과 복층 구조로 내장되고, 외부의 전원 공급 장치와 연결되어 구동 전원을 공급 받는다. 연결 부재는 플레이트에 제1 및 제2 발열층들의 사이를 연결하도록 내장되고, 제2 발열층이 타겟 온도 이상으로 발열할 때 제2 발열층으로부터 구동 전원을 제1 발열층에 인가한다. 따라서, 발열 초기 단계에서 제2 발열층만 발열하도록 함으로써, 발열을 위한 소비 전력이 낭비되는 것을 방지할 수 있다.
방사성 희토류 산화물이 함유된 세라믹 고화체의 제조방법 및 이에 따라 제조되는 밀도, 열적 안정
성 및 내침출성이 향상된 세라믹 고화체
출원번호 | 10-2009-0051790
등록번호 | 10-1122632-0000
특허권자 | 한국원자력연구원, 한국수력원자력 주식회사
발 명 자 | 안병길 외 4명
본 발명은 방사성 희토류 산화물이 함유된 세라믹 고화체의 제조방법 및 이에 따라 제조되는 밀도, 열적 안정성 및 내침출성이 향상된 세라믹 고화체에 관한 것으로, 더욱 상세하게는 CaHPO4 및 Zn2TiO4를 제조하는 단계(단계 1); 상기 단계 1에서 제조된 Zn2TiO4 50~65중량%, CaHPO4 15~20중량%와 SiO2 8~12중량%, 및 B2O3 12~18중량%를 혼합하는 단계(단계 2); 상기 단계 2에서 제조된 혼합분말을 대기 분위기에서 소결하고 자연 냉각시킨 후 분쇄하여 고화 매질을 제조하는 단계(단계 3); 및 상기 단계 3에서 제조된 고화 매질 60~90중량%와 방사성 희토류 산화물 10~40중량%를 혼합한 후 대기 분위기에서 소결하여 세라믹 고화체를 제조하는 단계(단계 4)를 포함하는 1000℃이하의 저온에서 제조되는 방사성 희토류 산화물이 함유된 세라믹 고화체의 제조방법을 제공한다. 본 발명에 따른 방사성 희토류 산화물이 함유된 세라믹 고화체의 제조방법은 단순한 혼합 및 분말상 소결에 의해 1000℃이하의 저온에서 제조 가능한 방법이며, 상기 방법으로 제조된 세라믹 고화체는 밀도와 열적 안정성이 향상되고 방사성 물질의 누출 속도가 매우 낮은 향상된 내침출성을 나타내므로, 방사성 희토류 산화물을 포함하는 핵 폐기물을 안정한 고화체로 제조하는데 유용하게 사용될 수 있다.
장식 부품용 세라믹, 시계용 장식 부품, 휴대 기기용 장식 부품 및 휴대 기기
출원번호 | 10-2009-7014141
등록번호 | 10-1123674-0000
특허권자 | 쿄세라 코포레이션
발 명 자 | 오오타미즈호 외 1명
장식 부품용 세라믹은 조성식이 TiNx(0.8≤x≤0.96)로 나타내어지는 질화티타늄으로 이루어지는 주성분과, 니켈로 이루어지는 부성분으로 이루어지고, 또한 질화바나듐, 질화니오브, 질화탄탈, 탄화몰리브덴, 탄화니오브, 탄화텅스텐 및 탄화탄탈 중 적어도 어느 1종으로 이루어지는 제 1 첨가 성분 및 산화티타늄으로 이루어지는 제 2 첨가 성분을 함유한다.
이온발생용 세라믹 전극 구조물 및 그를 이용한이온발생장치
출원번호 | 10-2004-0058859
등록번호 | 10-1117248-0000
특허권자 | 삼성전자주식회사
발 명 자 | 박래은 외 2명
본 발명은 방전전극과 유도전극을 포함하되, 방전전극의 면적보다 유도전극의 면적이 커지도록 세라믹 전극 구조물을 개선하고, 개선된 세라믹 전극 구조물에 구형 펄스 전압을 인가하여 이온의 발생량은 증대하고 오존의 발생을 억제한다.
기사를 사용하실 때는 아래 고유 링크 주소를 출처로 사용해주세요.
https://www.cerazine.net