회사로고

Top
기사 메일전송

[ 통권 286호 | ]

주요 등록특허 공개내용
  • 편집부
  • 등록 2012-04-12 17:08:09
기사수정

2012년 1월 1일 ~ 1월 31일

리튬-설퍼 고분자 전지
출원번호 | 10-2011-7014435  등록번호 | 10-1107731-0000
특허권자 | 한양대학교 산학협력단 발 명 자 | 스크로사티, 브루노 외 1명
본 발명은, 리튬 설파이드 및/또는 리튬 폴리설파이드가 포화 상태로 첨가된 비양성자성 유기 용매 중에 리튬염이 함유된 용액을 포함하는 막으로 형성되는 전해질에 의하여 분리된 음극 및 캐쏘드를 가지는 리튬-설퍼 고분자 전지에 관한 것이며, 상기 용액은 고분자 매트릭스 내에 고정되어 있다.

다공성 세라믹 표면을 밀봉하는 치밀한 희토류 금속 산화물 코팅막 및 이의 제조방법
출원번호 | 10-2011-0089675  등록번호 | 10-1108692-0000
특허권자 | 한국기계연구원 발 명 자 | 박동수 외 4명
본 발명은 다공성 세라믹 표면을 밀봉하는 치밀한 희토류 금속 산화물 코팅막 및 이의 제조방법에 관한 것으로, 상세하게는 평균 표면 거칠기가 0.4 내지 2.3 μm인 다공성 세라믹층을 포함하는 기판의 다공성 세라믹층 상에 형성된 희토류 금속 산화물 코팅막을 제공한다. 본 발명에 따른 다공성 세라믹 표면을 밀봉하는 치밀한 희토류 금속 산화물 코팅막 및 이의 제조방법은 충분한 두께의 다공성 세라믹 코팅층에 의해 내전압 특성 확보 및 치밀한 희토류 금속 산화물 코팅막에 의한 플라즈마 내식성 확보가 동시에 이루어질 수 있는 효과가 있어, 반도체 식각장비를 포함하는 다양한 반도체 장비용 부품에 적용될 수 있다.

플라즈마 처리장치 및 플라즈마 처리방법
출원번호 | 10-2011-0065522 등록번호 | 10-1115996-0000
특허권자 | 샤프 가부시키가이샤 발 명 자 | 수가이히데오 외 4명
플라즈마 처리장치 (1)는 진공용기 (4)내에 방사된 전자파에 의해서 진공용기 (4)내에 플라즈마를 생성시켜, 상기 플라즈마에 의해서 플라즈마처리를 행한다. 상기 진공용기 (4)를 구성하는 적어도 일부의 벽이 전자파를 전송하는 전자파 전송로 (3)의 적어도 일부를 포함하도록 한다.

탄소섬유를 이용한 엘이디 조명용 방열체의 제조방법
출원번호 | 10-2011-0031982  등록번호 | 10-1104322-0000
특허권자 | 에스티플렉스 주식회사 발 명 자 | 윤석한
본 발명은 탄소섬유를 이용한 LED 조명용 방열체의 제조방법에 관한 것으로서, 제품의 강도 유지 및 경량화를 위한 충진재, 제품의 열전도특성과 경량화를 위한 탄소섬유에 의한 첨가재, 재료들의 고착을 위한 경화재, 재료간 혼합을 원활하게 하고 흐름성을 좋게 하며 재료간 가교기능을 위한 가교안정제, 제품의 탈형시 용이함을 위한 윤활제를 조성한 후 교반 혼합하여 혼합재료를 만들어내는 교반혼합단계와; 상기 혼합재료를 70~120℃의 온도조건을 갖는 금형에 주입한 후, 250~1500kg/㎠의 압력조건으로 프레스하여 원하는 형상의 방열체를 성형해내는 핫프레스단계; 를 포함하여 제조되며, 상기 혼합재료는 충진재 20~60중량부, 첨가재 10~40중량부, 경화재 5~10중량부, 가교안정제 3~10중량부, 윤활제 1~5중량부로 조성되는 탄소섬유를 이용한 LED 조명용 방열체의 제조방법에 관한 것이다.

유무기 나노융복합 절연바니쉬의 제조방법 및 이에 의해 제조된 유무기 나노융복합 절연바니쉬가 코팅된 코일
출원번호 | 10-2011-0014383 등록번호 | 10-1104390-0000
특허권자 | 한국전기연구원 발 명 자 | 강동필 외 2명
본 발명은 절연바니쉬 및 이를 적용한 코일에 관한 것으로, 수계 또는 알콜계 세라믹졸을 유기실란으로 표면처리하고 유기용매를 첨가하여 용매를 교체하여 유기용매분산 세라믹졸을 합성하는 제1단계와; 상기 유기용매분산 세라믹졸 100중량부에 대해 세라믹 나노입자 0.5~30중량부를 첨가하여 반응성실란으로 세라믹 나노입자를 표면개질하면서 분산시켜 유기계 반응성 나노융복합 세라믹졸을 제조하는 제2단계와; 폴리아미드이미드, 폴리에스테르이미드, 폴리아믹에시드 중 어느 하나의 내열성 수지 또는 이들 중 둘 이상의 혼합수지에 상기 반응성 나노융복합 세라믹졸을 혼합하여 유무기 나노융복합 절연바니쉬를 제조하는 제3단계;를 포함하여 이루어지는 것을 특징으로 하는 유무기 나노융복합 절연바니쉬의 제조방법 및 이를 금속 와이어에 코팅한 코일을 기술적 요지로 한다. 이에 의해 폴리아미드이미드, 폴리에스테르이미드 등의 내열성 수지와 실리카졸을 포함하는 세라믹 나노입자를 균일하게 분산시켜 내아크성, 전기절연특성, 유전특성, 내열특성, 접착특성 및 기계적 특성이 우수한 유무기 나노융복합 절연바니쉬를 제공할 수 있고, 이를 금속 와이어 등에 코팅하여 고온환경에서 서지내구성이 우수한 코일이 모터, 발전기, 변압기 등의 부품으로 사용되면 이들 전기기기의 장기신뢰성을 증가시키는 이점이 있다.

세라믹 기판 제조 방
출원번호 | 10-2011-0005911  등록번호 | 10-1108823-0000
특허권자 | 삼성전기주식회사 발 명 자 | 유수현 외 3명
본 발명은 세라믹 시트와 내부 전극을 동시에 소성하여 고착 강도를 향상시키면서도, 평탄 공정을 진행하여 평단도를 향상시키위해, 복수개의 세라믹 시트를 준비하는 단계; 각각의 세라믹 시트 상에 내부 전극 및 각 층의 내부 전극을 연결하는 비아를 형성하는 단계; 상기 복수개의 세라믹 시트를 일괄 적층 후, 최외층의 세라믹 시트 상에 개구부를 형성하는 단계; 상기 일괄 적층된 적층체를 소성하는 단계; 적층체의 상/하면을 연마하여 평탄화하는 단계; 및 개구부에 외부 전극을 형성하는 단계;를 포함하는 세라믹 기판의 제조 방법을 제시한다.

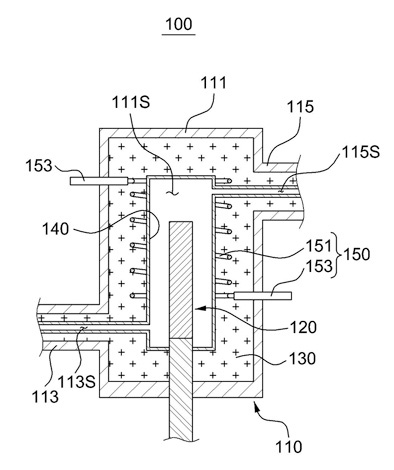
고온 고압 기체 가열기
출원번호 | 10-2010-0132624  등록번호 | 10-1103978-0000
특허권자 | 한국원자력연구원 발 명 자 | 김찬수 외 3명
본 발명의 실시예에 따른 고온 고압 기체 가열기는, 압력용기; 압력용기 내에 장착되어 열을 발생시키는 발열체; 발열체와 이격되도록 압력용기 내에 장착되어 발열체로부터 발생되는 열이 압력용기의 외벽으로 전달되는 것을 저지하며, 내면에는 압력 경계를 이루는 라이너가 장착되는 단열재; 및 적어도 일부분이 단열재에 내장되며, 단열재에 열을 제공함으로써 단열재로부터 수분을 제거하는 수분 제거부;를 포함할 수 있다. 본 발명의 실시예에 따르면, 간단한 구조에 의해서 단열재 내의 수분을 제거할 수 있으며, 이로 인해 발열체 및 라이너가 산화됨으로써 손상되는 것을 방지할 수 있으며, 또한 별도의 외부 발열체 및 외부 단열재를 구비하지 않고도 단열재 내의 수분을 제거할 수 있어 장치를 슬림화할 수 있을 뿐만 아니라 비용을 절감할 수 있다.

양자점과 탄소나노튜브를 이용한 염료감응형 태양전지 및 그 제조방법
출원번호 | 10-2010-0126796 등록번호 | 10-1110356-0000
특허권자 | 한국세라믹기술원 발 명 자 | 김유진 외 2명
본 발명은, 표면개질되어 표면이 술폰화된 탄소나노튜브와 무기염료 양자점이 서로 표면에서 리간드 교환되어 결합되어 있으며, 상기 무기염료 양자점은 태양광의 가시광선을 흡수하여 전자를 제공하고, 상기 탄소나노튜브는 상기 전자를 전이하는 염료감응형 태양전지 및 그 제조방법에 관한 것이다. 본 발명에 의하면, 탄소나노튜브와 무기염료 양자점을 복합화하여 전자전이 특성을 향상시킬 수 있다.

수명 관측이 가능한 원판형 절단날
출원번호 | 10-2010-0056606 등록번호 | 10-1107293-0000
특허권자 | 이화다이아몬드공업 주식회사
발 명 자 | 홍재현 외 2명
본 발명은 절단 작업에 사용되는 원판형 절단날로서, 공구의 수명이 외관에 의해 판별 가능한 원판형 절단날에 관한 것이다.
본 발명의 일 실시예에 따른 수명 관측이 가능한 원판형 절단날은 중앙부에 장착홀이 형성되는 원판형의 절단날 본체와; 상기 본체의 외주부 둘레를 단부에 형성되는 결합부와; 상기 각 결합부의 단부 둘레를 따라 배치되도록 상기 결합부에 장착되는 절단팁과;상기 절단팁 사이에 배치되어 상기 결합부의 어느 일 이상의 단부 영역에 구비되는 측정 가이드;를 포함하여 구성될 수 있다. 상기와 같은 구성에 의해 본 발명은 절단날의 수명을 외부에서 육안으로 판별할 수 있고, 작업시 파손 가능성이 존재하는 절단날의 교체 시기를 인식할 수 있으며, 안전사고의 방지와 더불어 파손된 절단날에 의해 작업 대상물이 파손 또는 손상되는 것을 억제할 수 있다.

원통형 고체산화물 연료전지의 공기극 집전체
출원번호 | 10-2010-0044003  등록번호 | 10-1104117-0000
특허권자 | 한국에너지기술연구원 발 명 자 | 백주열 외 5명
본 발명은 원통형 고체산화물 연료전지에서 메시 타입의 크로퍼를 공기극 집전체로 사용해 기존 기술에 적용할 수 있는 원통형 고체산화물 연료전지의 공기극 집전체 에 관한 것이다. 본 발명은 고체산화물 연료전지의 공기극 집전체 소재로서 메시 타입(mesh-type)의 크로퍼(Crofer 22 APU)를 모재로 사용하고, 그 표면에 샌드블라스팅으로 표면처리한 후 (La0.80Sr0.20)MnO3-d를 코팅재료로 하는 코팅용 슬러리를 스프레이 방식으로 코팅하여 형성된 세라믹 코팅층을 질소의 불활성 분위기 또는 질소 및 수소의 환원분위기 하에서 800~1100℃로 열처리한 것을 특징으로 한다. 본 발명은 세라믹 코팅층을 형성함으로써 산화크롬(Cr2O3)과 같은 스케일의 형성을 억제시켜 고체산화물 연료전지의 우수한 장기 성능 특성을 얻을 수 있는 장점이 있다.

내열 충격저항성 산화물 소결체 및 그 제조방법
출원번호 | 10-2010-00410 등록번호 | 10-1110368-0000
특허권자 | 한국세라믹기술원 발 명 자 | 조우석 외 2명
본 발명은, 내열 충격저항성 산화물 소결체로서, 알루미늄 티타네이트(Al2TiO5) 80~98.8중량%, Li2O-Al2O3-SiO3계 유리 0.1~15중량% 및 Fe2O3 0.01~5중량%를 포함하는 내열 충격저항성 산화물 소결체 및 그 제조방법에 관한 것이다. 본 발명에 의하면, 고온에서 변형되지 않는 고내화도 특성을 갖고, 열충격 특성이 우수하며, 고밀도로 소결되어 신뢰성 및 강도가 향상된 내열 충격저항성 산화물 소결체를 제조할 수 있다.

초소형 열전 소자의 구조 및 그 제작 방법
출원번호 | 10-2010-0037347  등록번호 | 10-1110632-0000
특허권자 | 서울대학교산학협력단 발 명 자 | 전국진
본 발명은 열전소자의 집적도를 향상시킴으로써 단위면적당 발전량이 큰 초소형 열전소자 시스템을 제작할 수 있도록 하는 초소형 열전 소자의 구조 및 그 제작 방법에 관한 것으로, 전기전도도가 높고 열전도도가 낮으며, 양단의 고온단 부위에서 저온단 부위로 열 이동시 각각 전자와 홀이 고온단에서 저온단으로 이동하도록 수평 수직으로 서로 교차되도록 적층되어 있는 P형 물질 및 N형 물질과; 전기 전도도와 열전도도가 모두 높으며, 적층 상태의 상기 P형 물질 및 N형 물질 각각의 사이에 형성된 전기전도판과; 전기전도도가 낮고 열전도도가 높으며, 상기 전기전도판의 일 측면 혹은 그 사이에 위치하여 고온단과 저온단을 형성하는 방열판과; 전기전도도와 열전도도가 모두 낮으며, 동일 수평 상에 인접하게 위치하는 상기 P형 물질 및 N형 물질의 열전도를 차단시키도록 이들 사이에 형성된 절연체를 포함하여 구성되는 것을 특징으로 하는 초소형 열전 소자의 구조와 그 제작방법을 제공한다.

 

기사를 사용하실 때는 아래 고유 링크 주소를 출처로 사용해주세요.

https://www.cerazine.net

 

0
회원로그인

댓글 삭제

삭제한 댓글은 다시 복구할 수 없습니다.
그래도 삭제하시겠습니까?

독일 뮌헨 세라믹 전시회
고기능소재위크
세로형 미코
02이삭이앤씨 large
이영세라켐
03미코하이테크 large
해륭_250509
케이텍
진산아이티
삼원종합기계
오리엔트
미노
대호CC_240905
01지난호보기
월간도예
모바일 버전 바로가기