수도밸브용 세라믹디스크의 수명시험방법
등록번호 | 10-1101705-0000 출원번호 | 10-2009-0132635
특허권자 | 한국세라믹기술원 발 명 자 | 최형석 외 1명
본 발명은 세라믹디스크 시험장치에 시험용 세라믹디스크가 안치된 지그장치를 시험장치 내에 장착시키고 물을 공급시키는 시험장치 장착 단계와, 상기 시험장치장착 단계 후에 누수가 발생되지 않았을 경우 지그장치 내의 카트리지 레버가 일 방향으로 회전하면서 안치된 시험용 세라믹디스크로 온수가 흐른 후 냉수가 흐르게 하는 것이 1사이클에 포함되게 설정된 시험을 실행시키는 디스크시험 실행 단계와, 상기 디스크시험 실행 단계 후에 시험 중인 세라믹디스크의 이상 현상을 체킹하여 현재 시험중 세라믹디스크에 발생된 고장 혹은 이상원인을 분석 및 해석한 다음 그 시험결과 데이터를 산출시키는 고장원인 분석 및 해석 단계를 포함하는 수도밸브용 세라믹디스크의 수명시험방법을 제공한다.
본 발명은 세라믹디스크의 사용 조건하의 고장메커니즘이 반영된 지그장치에 시험용 세라믹디스크를 안치하여 설정된 시험 단계에 따라 정량적인 가속수명 시험을 실행함으로써, 정량적인 수명 평가를 통해 출고전의 세라믹디스크에 대한 수명을 정확히 예측할 수 있기 때문에 세라믹디스크의 교체 주기 및 제품 생산량을 정밀하게 예측할 수 있는 장점을 가진다.
히터와 웨이퍼 가열장치 및 히터의 제조방법.jpg)
등록번호 | 10-1098798-0000 출원번호 | 10-2005-0044514
특허권자 | 쿄세라 코포레이션 발 명 자 | 마키세이이치로 외 3명
본 발명은, 고도의 균열성(均熱性)을 갖고, 그 위에 적재된 웨이퍼 등을 거의 동일하게 가열할 수 있는 히터 및 그것을 사용한 웨이퍼 가열장치 및 그것들의 제조방법을 제공하는 것을 목적으로 한다.
(해결수단) 상기 목적을 해결하기 위해서, 본 발명은, 판상체와, 그 판상체의 표면에 형성되어, 저항치를 조절하기 위한 홈부를 갖는 띠형상의 저항발열체와, 상기 판상체의 표면에 형성되어, 상기 홈부의 위치 결정의 기준이 되는 위치 결정 표시부를 구비한 히터로 한다.
세라믹 적층체 및 세라믹 소결체의 제조방법
등록번호 | 10-1101489-0000 출원번호 | 10-2009-0045995
특허권자 | 삼성전기주식회사 발 명 자 | 유수현 외 1명
본 발명은 세라믹 적층체 및 세라믹 소결체의 제조방법에 관한 것으로서, 본 발명의 일 측면은, 제1 세라믹 입자와 글라스 입자를 구비하는 하나 이상의 세라믹 시트 및 상기 세라믹 시트와 접촉된 상태에서 교대로 적층되며 상기 세라믹 시트의 소결 온도보다 높은 온도에서 소결되는 특성을 갖는 제2 세라믹 입자를 구비하는 하나 이상의 구속용 시트를 포함하며, 상기 글라스 입자의 입경 및 상기 제1 세라믹 입자의 입경은 상기 제2 세라믹 입자의 입경보다 큰 것을 특징으로 하는 세라믹 적층체를 제공한다. 본 발명에 따르면, 소성 시 세라믹 적층체에 구속력을 균일하게 미칠 수 있는 구속용 시트를 구비하는 세라믹 적층체를 얻을 수 있다.
적층 세라믹 전자부품
등록번호 | 10-1102184-0000 출원번호 | 10-2010-7010837.jpg)
특허권자 | 가부시키가이샤 무라타 세이사쿠쇼
발 명 자 | 시미즈나오키
외부의 온도 변화에 따른 열응력이나 외부로부터의 휨응력 등에 따른 크랙에 의해 단락 불량이 발생하기 어려운 적층 세라믹 전자부품을 제공한다.
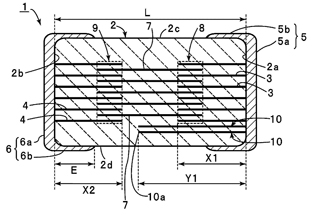
세라믹 소체(2)의 제1의 단면(2a)에 인출되는 제1의 내부전극(3)이 인출되어 있고, 제2의 단면(2b)에 복수의 제2의 내부전극(4)이 인출되어 있으며, 플로트형 내부전극(7)이, 제1, 제2의 내부전극(3, 4)과 세라믹층을 개재하여 겹쳐지도록 배치되어 있고, 그로 인해 제1, 제2의 유효영역(8, 9)이 형성되어 있으며, 제1의 내부도체(10)가 제1의 단면(2a)으로부터 제1의 유효영역(8)과 적층방향에 있어서 겹쳐지는 영역을 넘어서 연장되어 있고, 제1, 제2의 단면(2a, 2b)을 연결하는 길이방향의 치수를 L, 제1의 내부전극의 길이방향 치수를 X1, 제1의 단면(2a)과 제1의 내부도체의 단부 사이의 거리를 Y1, 제2의 단면(2b)에서 제2의 돌아들어감부(6b)의 단부까지의 거리를 E로 했을 때에, X1<Y1<(L-E)로 되어 있는 적층 세라믹 전자부품(1).
무소결 MIM 커패시터 및 그 제조 방법
등록번호 | 10-1101347-0000 출원번호 | 10-2010-0031580
특허권자 | 한국세라믹기술원 발 명 자 | 김지훈 외 3명
무소결 MIM 커패시터(Metal-Insulator-Metal Capacitor) 및 그 제조 방법에 대하여 개시한다.
본 발명에 따른 MIM 커패시터 제조 방법은 하부 금속-절연체-상부 금속을 제조하되, 상기 절연체(Insulator)는, 스몰 파우더(small powder)와 상기 스몰 파우더보다 더 큰 평균 입경을 갖는 라지 파우더(large powder)를 포함하는 고유전성 세라믹 파우더, 고분자 수지 및 용매를 포함하는 세라믹-고분자 조성물을 마련하는 단계; 상기 세라믹-고분자 조성물을 상기 하부 금속 위에 도포하여 세라믹-고분자 막을 형성하는 단계; 및 상기 형성된 세라믹-고분자 막 내의 고분자 수지를 경화시키는 단계를 포함하여, 무소결(non-sintering) 방식으로 형성되는 것을 특징으로 한다.
질화 알루미늄 또는 산화 베릴륨 세라믹 덮개 웨이퍼.jpg)
등록번호 | 10-1099892-0000 출원번호 | 10-2008-0087845
특허권자 | 어플라이드 머티어리얼스, 인코포레이티드
발 명 자 | 라시드,무하메드엠
본 발명의 실시예는 챔버 내부로 세척제를 투입하기 전에 서셉터 상에 산화 베릴륨 또는 질화 알루미늄을 포함하는 세라믹 덮개 기판을 로딩함으로써 세척 작업중에 서셉터를 보호하기 위한 방법 및 장치를 제공한다. 일 실시예에서, 160W/m-K보다 높은 열전도성을 갖는 질화 알루미늄 세라믹 웨이퍼, 약 11인치 내지 약 13인치 범위 이내의 직경을 갖는 원형 기하학적 구조, 약 0.030인치 내지 약 0.060인치 범위 이내의 두께, 및 약 0.010인치 또는 그 미만의 평탄도를 포함하는, 질화 알루미늄 세라믹 덮개 기판이 제공된다. 상기 열전도성은 약 180W/m-K, 약 190W/m-K, 또는 그보다 높을 수 있다. 상기 두께는 약 0.035인치 내지 약 0.050인치 범위 이내일 수 있고, 상기 평탄도는 약 0.008인치, 약 0.006인치, 또는 그 미만일 수 있다.
세라믹 LED 보드 및 이를 이용한 LED의 제조 방법
등록번호 | 10-1092638-0000 출원번호 | 10-2010-011155
특허권자 | 알티반도체 주식회사 발 명 자 | 최정만 외 2명
본 발명은 치수 공차를 최소화할 수 있고, LED 패키지 제작 공정성 저하 및 수율 감소가 발생하지 않는 세라믹 LED 보드 및 이를 이용한 LED의 제조 방법을 제공한다.
본 발명에 따른 세라믹 LED 보드는, LED 패키지를 생산하기 위한 세라믹 LED 보드에 있어서, 판형상의 세라믹 보드; 상기 세라믹 보드에 함몰 형성되어 동일한 크기의 패키지 영역들을 구획하는 분할 커팅홈; 및 상기 패키지 영역에 배열된 복수의 패키지 패턴을 포함할 수 있다.
식물배양형 항균성 세라믹 보드 및 그 제조방법.jpg)
등록번호 | 10-1098235-0000 출원번호 | 10-2009-0073575
특허권자 | 한국세라믹기술원 발 명 자 | 김형태 외 2명
본 발명은, SiO2, Na2O 및 CaO를 함유하는 유리 성분과, 소성 시에 기공을 형성하는 발포제인 하이드록시 아파타이트 성분과, 항균성을 나타내는 은(Ag), 구리(Cu) 및 아연(Zn) 중에서 선택된 1종 이상의 금속 성분 및 식물 배양을 위한 비료용 원료로서 질산칼륨을 포함하며, 상기 유리 성분은 세라믹 보드 100중량부에 대하여 58~95중량부 함유되고, 상기 하이드록시 아파타이트 성분은 세라믹 보드 100중량부에 대하여 0.5~20중량부 함유되고, 상기 금속 성분은 세라믹 보드 100중량부에 대하여 0.05~3중량부 함유되며, 상기 질산칼륨은 세라믹 보드 100중량부에 대하여 0.01~3중량부 함유되는 식물배양형 항균성 세라믹 보드 및 그 제조방법에 관한 것이다. 본 발명에 의하면, 흡음 기능을 갖도록 다공질 형상으로 이루어지고 잔디와 같은 식물의 생육 및 성장이 가능하며 흡차음 성능이 우수하고 항균성을 갖는 식물배양형 항균성 세라믹 보드를 제조할 수가 있다.
방음(soundproof), 흡음(noise absorption), 식물생육(plant growth), 세라믹 보드(ceramic board), 다공질 세라믹(porous ceramics)
적층박막 세라믹 캐패시터의 전기적 특성을 테스트하기 위한 테스트 휠 및 그 제조방법
등록번호 | 10-1092008-0000 출원번호 | 10-2009-0035147
특허권자 | 박병철 발 명 자 | 박병철
본 발명의 목적은 적층박막 세라믹 캐패시터의 테스트 능률을 향상시킬 수 있고, 정밀도를 유지하면서 적층박막 세라믹 캐패시터의 전기적 특성을 용이하게 테스트할 수 있고, 정전기의 발생을 방지할 수 있을 뿐만 아니라, 적층박막 세라믹 캐패시터의 품질 균일성을 유지할 수 있음과 동시에, 정전기 방지제를 혼합한 폴리옥시메틸렌 수지 용융물을 사출성형에 의해 대량생산할 수 있고, 제조 코스트를 절감할 수 있다는 적층박막 세라믹 캐패시터의 전기적 특성을 테스트하기 위한 테스트 휠을 제공하는데 있다.
세라믹 기판의 리페어 방법 및 이를 이용하여 리페어된 세라믹기판.jpg)
등록번호 | 10-1101552-0000 출원번호 | 10-2009-0085932
특허권자 | 삼성전기주식회사 발 명 자 | 오광재 외 3명
본 발명은 적어도 하나의 메인 배선 및 상기 메인 배선 중 손상된 메인 배선을 리페어하는 적어도 하나의 리페어 배선을 구비한 세라믹층을 마련하는 단계, 상기 세라믹층에 상기 메인 배선과 상기 리페어 배선이 각각 전기적 접속 가능하도록 제1 도전 패턴을 형성하는 단계, 상기 메인 배선의 손상 발생시, 상기 제1 도전 패턴을 제거하는 단계, 상기 도전 패턴이 제거된 상기 손상된 메인 배선 상에 절연 부재를 형성하는 단계, 상기 세라믹층에 상기 손상된 메인 배선과 상기 리페어 배선을 연결하도록 리페어 패턴을 형성하는 단계 및 상기 리페어 패턴이 형성된 부분을 제외한 상기 메인 배선 및 상기 리페어 배선 상에 제2 도전 패턴을 형성하는 단계를 포함하는 세라믹 기판의 리페어 방법 및 이를 이용하여 리페어된 세라믹기판을 제공한다.
본 발명의 실시예에 따르면, 불량 발생시 간단한 공정으로 리페어가 가능하며 제조 비용을 저감할 수 있는 세라믹 기판의 리페어 방법 및 이를 이용하여 리페어된 세라믹 기판을 제공할 수 있다.
저전압 구동용 탄소나노튜브 전자 방출원의 제조방법 및 이에 의해 제조된 탄소나노튜브 전자 방출
원
등록번호 | 10-1091186-0000 출원번호 | 10-2009-0132399
특허권자 | 한국전기연구원 발 명 자 | 정희진 외 4명
본 발명은 스프레이법을 이용하여 탄소나노튜브 전자 방출원을 제조함에 있어서 저전압 구동을 위해 첨가되는 금속나노입자를 탄소나노튜브, 바인더와 동시에 제조하는 방법 및 이에 의해 제조된 전계 방출 소자용 탄소나노튜브 전자 방출원에 관한 것이다. 특히, 졸겔 공정을 통해 바인더 물질과 금속 전구체의 상호작용을 조절하여 크기와 형태가 제어된 안정한 분산 용액을 제조함으로서 형성된 금속나노입자의 크기가 작고 균일할뿐더러 경화온도가 낮은 바인더를 사용하여 바인더의 경화과정만으로도 금속나노입자의 소성을 동시에 구현할 수 있으므로 공정 단가 및 시간을 단축하는 이점과 더불어 저전압 구동이 가능하고 박막이면서 균일한 전자 방출 특성을 구현할 수 있는 장점이 있다.
기사를 사용하실 때는 아래 고유 링크 주소를 출처로 사용해주세요.
https://www.cerazine.net