내식성 프로세스 챔버 부품
등록번호 | 10-1087404-0000 출원번호 | 10-2005-0044187
특허권자 | 어플라이드 머티어리얼스, 인코포레이티드
발 명 자 | 락스맨,무루게쉬 외 2명
기판 프로세싱 챔버 부품은 에너지화된 가스에 대해 감소된 부식성을 나타낸다. 상기 부품은 챔버 내에서 에너지화된 가스에 노출되는 표면을 갖는 산화 알루미늄으로 구성된 세라믹 구성을 갖는다. 에너지화된 가스에 의한 표면의 부식은 세라믹 구성에서 입계(grain boundary) 영역 GBSA 의 전체 면적에 대한 입자 GSA의 전체 면적의 비가 약 0.25 내지 약 2.5 인 세라믹 구성의 내식성 특성에 의해 실질적으로 감소된다. 또한, 세라믹 구성에서의 80 % 이상의 입자는 약 1 μ 내지 20 μ 의 범위의 입도(grain size)를 갖는다. 상기 세라믹 구성은 또한 표면의 부식을 더욱 감소시키는 99.8 중량 % 의 순도를 갖는다.
압전 세라믹 소자를 포함하는 회로 장치 및 상기 소자의 제조 방법.jpg)
등록번호 | 10-108174-00000 출원번호 | 10-2009-0102018
특허권자 | 연세대학교 산학협력단 발 명 자 | 조용수 외 1명
본 발명에 따라 압전 세라믹 소자를 포함하는 회로 장치가 제공되는데, 상기 회로 장치는 내부 전극이 인쇄된 복수 개의 층으로 이루어지는 적층형 압전 세라믹 소자로서, 상기 적층형 압전 세라믹 소자의 상단층에는 외부 전극이 형성되고, 하단층의 바닥부에는 고탄성 재질의 금속판이 접합되어 있는 것인 상기 적층형 압전 세라믹 소자를 포함하고, 상기 금속판은 상기 회로 장치의 정류 회로와 연결되어, 가상의 그라운드 역할을 하는 것을 특징으로 하며, 바람직하게는 양면에 전극이 형성된 단판형 압전 세라믹 소자를 더 포함하고, 상기 단판형 압전 세라믹 소자와 상기 적층형 압전 세라믹 소자는 서로 병렬로 연결될 수 있다.
세라믹 히터와 그 금형
등록번호 | 10-1089678-0000 출원번호 | 10-2009-7019914
특허권자 | 쿄세라 코포레이션 발 명 자 | 야마모토켄
저렴하게 제조할 수 있는 세라믹 히터를 제공한다. 그 세라믹 히터는 대향하는 제 1 통전부와 제 2 통전부를 포함하고, 제 1 통전부가 상기 제 1 통전부와 제 2 통전부 사이에 제 1 통전부로부터 연장되는 제 1 버를 갖고, 제 2 통전부가 제 2 통전부와 제 1 통전부 사이에 제 2 통전부로부터 연장되는 제 2 버를 갖는 저항 발열체와, 저항 발열체가 매설된 세라믹 기체를 구비하고, 제 1 및 제 2 통전부의 통전 방향에 수직인 단면 내에 있어서 제 1 버 및 제 2 버 중 적어도 한쪽 버의 적어도 일부가 제 1 버의 기점과 상기 제 2 버의 기점을 연결하는 직선으로부터 떨어져 있다.
압전 적층 세라믹 소자 및
그 제조 방법
등록번호 | 10-1087378-0000 출원번호 | 10-2009-0131565
특허권자 | 전자부품연구원 발 명 자 | 이형규 외 1명
압전 적층 세라믹 소자는 둘 이상의 세라믹 그린 시트들을 적층하여 제조하는 압전 적층 세라믹 소자로서, 상기 둘 이상의 세라믹 그린 시트들에 형성되는 내부 전극들, 및 상기 내부 전극들 사이에 각각 형성되어 상기 내부 전극들을 전기적으로 분리하는 세라믹 층들을 포함하는 세라믹 적층체, 상기 세라믹 적층체는 그 각각이 하나 또는 양 측면 표면으로부터 상기 세라믹 적층체의 중심 방향으로 파여 형성되며, 상기 압전 세라믹 적층체의 상부로부터 하부로 연장되는 제 1 오목부 및 제 2 오목부를 가지며; 및 상기 세라믹 적층제의 상기 제 1 오목부 및 상기 제 2 오목부에 각각 형성되는 제 1 외부 전극 및 제 2 외부 전극을 포함하며, 상지 제 1 외부 전극은 상기 다수의 내부 전극들 중 홀수 번째 전극들을 전기적으로 연결시키며, 상기 제 2 외부 전극은 상기 내부 전극들 중 짝수 번째 전극들을 전기적으로 연결시키는 것을 특징으로 한다.
수직상향 일렉트로 가스용접용 세라믹 용접지지구
등록번호 | 10-1081238-0000 출원번호 | 10-2009-0008942
특허권자 | 정무수 발 명 자 | 정무수 외 2명
본 발명은 알루미늄 케이스를 이용하여 제품을 경량화한 수직상향 일렉트로 가스용접에 사용되는 세라믹 용접지지구에 관한 것이다.
상기 본 발명은 용접부의 보호를 위하여 슬래그를 생성시키는 유리섬유; 상기 유리섬유의 하부에 배치되며 이면비드를 형성시키도록 용접부와 대향면에 비드홈이 형성된 다수의 세라믹 몸체; 상기 다수의 세라믹 몸체의 비드홈 형성면을 제외하고 나머지측면을 커버하는 알루미늄 케이스를 포함한다.
전자부품용 유전체 세라믹 조성물.jpg)
등록번호 | 10-1084710-0000 출원번호 | 10-2010-0004017
특허권자 | 한국과학기술연구원 발 명 자 | 박정현 외 3명
본 발명은 전자부품용 유전체 세라믹 조성물에 관한 것으로, 보다 구체적으로는 보로실리케이트계 유리프리트와 xZnO-yA2O5-zBO2 (이때, A는 Nb, V, P 또는 이들의 혼합원소이고, B는 Ti, Zr, Sn 또는 이들의 혼합원소이다)로 표시되는 복합금속산화물 분말을 포함하는 조성물로, 950℃ 이하의 온도에서 소결되며, 마이크로파 대역에서의 유전율(k) 15 이상, 품질계수(Qxf) 1,000 GHz 이상, 공진주파수 온도계수(τf) -100~+150 ppm/℃의 유전특성을 갖는 전자부품용 유전체 세라믹 조성물에 관한 것이다.
전
기분해를 이용한 나노세라믹 코팅방법
등록번호 | 10-1082979-0000 출원번호 | 10-2011-0035666
특허권자 | 주식회사 위스코하이텍 발 명 자 | 윤주식 외 1명
본 발명에 의한 마그네슘합금 제품의 표면에 세라믹 코팅을 위한 플라즈마 전해 산화용액의 조성물은 물 100중량부를 기준으로 하여 수산화나트륨(NaOH) 1~30 중량부, 지르코늄칼륨플루오르(K2ZrF6) 1~10 중량부, 지르코닐클로라이드(ZrOCl2) 1~10 중량부, 첨정석(MgAl2O4) 1~5 중량부, 페리시안화칼륨(K3[Fe(CN)6]) 1~15 중량부 및 인산수소이나트륨(Na2HPO4) 1~20 중량부를 물에 혼합하는 것으로 이루어진다.
따라서 본 발명에 의한 표면처리용액의 조성물로 이루어진 용액을 이용하여 마그네슘합금 제품의 표면을 두라세라믹플라즈마 표면처리방식으로 표면 처리한 뒤에 내전압 테스트를 한 결과, 가볍고 열전도성이 우수한 재질인 마그네슘합금 제품의 표면에 내전압성 코팅층이 형성됨을 알 수 있었다
연속 탄소나노튜브 성장 장치 및 이를 포함하는 연속 탄소나노튜브 섬유화 시스템.jpg)
등록번호 | 10-1081421-0000 출원번호 | 10-2009-0042566
특허권자 | 한국생산기술연구원 발 명 자 | 최범호 외 2명
본 발명은 연속 탄소나노튜브 성장 장치 및 이를 포함하는 연속 탄소나노튜브 섬유화 시스템에 관한 것으로, 보다 자세하게는 촉매로서 작용하는 전이 금속 촉매의 지속적인 보충 없이 탄소나노튜브를 성장시키는 연속 탄소나노튜브 성장 장치 및 상기 연속 탄소나노튜브 성장 장치를 포함하는 연속 탄소나노튜브 섬유화 시스템에 관한 것이다.
다공성 기판을 이용한 박막 태양전지 제조 방법 및 그에
따른 태양전지
등록번호 | 1010889140000 출원번호 | 10-2009-0075720
특허권자 | (주)포인트엔지니어링 발 명 자 | 안범모
태양전지의 제조 방법 및 그에 따른 태양전지가 개시된다. 본 발명의 한 실시예에 따른 태양전지의 제조 방법은 기존의 실리콘 웨이퍼가 아닌 박막 실리콘으로 실리콘의 사용량을 줄여 태양전지의 원료 부족 우려를 덜고, 제조 비용을 낮춘다. 또한 본 발명의 한 실시예에 따른 태양전지의 제조 방법은 다결정 실리콘을 500℃ 이상에서 증착 또는 비정질 실리콘을 열처리 하여 다결정 실리콘으로 제조함으로써, 태양전지의 생산 효율을 높인다. 다결정 실리콘을 얻기 위해 고온 공정에서 견딜 수 있는 기판이 사용된다. 식각액 또는 식각가스는 다공성 기판의 기공을 통과하여 희생층을 제거하고, 다공성 기판은 태양전지 구조체와 쉽게 분리(Lift-off)된다. 다공성 기판은 다결정 실리콘 뿐만 아니라 CIS(CuInSe2), CdTe, GaAs, InP, Ge등의 화합물 반도체, 염료감응형 또는 유기 박막 태양전지 제조에도 이용될 수 있다.
연료전지용 연결재
등록번호 | 10-1081019-0000 출원번호 | 10-2010-0034899
특허권자 | 쌍용머티리얼 주식회사 발 명 자 | 김진영 외 2명
본 발명은 연료전지용 연결재에 관한 것으로서, 본 발명에 의한 연료전지용 연결재은, 내부 영역에 중공부(中孔部)가 형성되며, 금속으로 이루어진 제1연결재와; 상기 중공부에 삽입설치되며, 다공질의 전도성 세라믹으로 이루어진 제2연결재를 포함하는 것을 특징으로 한다.
본 발명에 의하면, 연료전지 단위 셀을 연결하는 연결재를 단위 셀과 별도로 분리된 2중 구조로 구성하여, 테두리 부분의 금속재로 이루어진 제1연결재는 제2연결재의 변형 및 파괴를 유발할 수 있는 체결시의 압력에 대비하여 이를 완충하는 역할을 하고, 내부 영역의 다공성 세라믹 재질의 제2연결재는 실질적으로 단위 셀을 전기적으로 연결하는 역할을 하여, 이들의 조합으로부터 각각 금속과 세라믹 재질의 장단점을 상호보완하는 연료전지용 분리형 연결재를 제공할 수 있다.
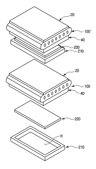
질소 플라즈마 인-시튜 처리 및 엑스-시튜 UV 경화를 이용하여 실리콘 질화물 인장 스트레스를 증가시키는 방법
등록번호 | 10-1081632-0000 출원번호 | 10-2008-7032163
특허권자 | 어플라이드 머티어리얼스, 인코포레이티드
발 명 자 | 발세아누,미하엘라 외 6명
실리콘 질화물 층의 스트레스는 더 높은 온도에서의 증착에 의해 개선될 수 있다. 실질적으로 400℃ 초과로 기판을 가열가능하게 하는 장치를 이용하여 (예를 들어, 알루미늄 보다는 세라믹으로 제조된 히터), 증착된 실리콘 질화물 막은 개선된 스트레스를 나타내어 하부에 놓인 MOS 트랜지스터의 성능 개선을 가능하게 한다. 대안적 구체예에 있어서, 증착된 실리콘 질화물 막은 상승된 온도에서 자외선 (UV)에 노출 경화되어, 막으로부터의 수소 제거를 돕고, 막 스트레스를 증가시킨다. 또 다른 구체예에 있어서, 실리콘 질화물 막은 하부에 놓인 양각 피쳐의 더욱 날카로운 코너에서 막의 인테그러티를 보존하기 위해 많은 증착/경화 주기를 이용한 통합 방법을 이용하여 형성된다. 연속 층의 부착은 각 주기에서 후속-UV 경화 플라즈마 처리의 포함에 의해 조장될 수 있다.
보차도용 열섬현상 저감 보습 점토벽돌 및 그 제조방법
등록번호 | 010904110000 출원번호 | 0-2009-0026881
특허권자 | 주식회사공간세라믹 발 명 자 | 조백일 외 5명
본 발명은 보차도용 열섬현상 저감 보습 점토벽돌 및 그 제조방법에 관한 것으로, 그 목적은 우수한 보수성능을 구비하여 도심 열섬현상을 완화시킬 수 있는 보차도용 열섬현상 저감 보습 점토벽돌 및 그 제조방법을 제공하는 것이다.
본 발명은 고령토 45~70wt%, 점토 10~40wt%, 플라이애쉬 5~40wt%, 흑연 3~5wt%를 포함하며, 내부에 0.1~10㎛의 기공분포를 구비하도록 되어 있으며, 고령토, 점토, 플라이애쉬, 흑연을 혼합하여 혼합물을 형성하는 혼합단계; 혼합물 100 중량부에 물 17~20 중량부를 첨가하여 혼합물을 반죽하는 반죽단계; 반죽된 혼합물을 압출 성형하여 성형물을 형성하는 성형물 형성단계; 형성된 성형물을 20~120℃ 에서 36~48시간 건조하는 건조단계; 건조 후 1100~1200℃로 30~40시간 소성하여 내부에 기공을 형성하는 소성단계에 의해 형성된다.
기사를 사용하실 때는 아래 고유 링크 주소를 출처로 사용해주세요.
https://www.cerazine.net