저온 열처리 공정을 이용한 다공성 세라믹 후막의 제조방법 및 이에 의해 제조되는 나노크기의 기공을 가지는 다공성 세라믹 후막
등록번호 | 10-1079249-0000 출원번호 | 10-2009-0032109
특허권자 | 한국기계연구원 발 명 자 | 최종진 외 2명
본 발명은 저온 열처리공정을 이용한 다공성 세라믹 후막의 제조방법에 관한 것으로, 더욱 상세하게는 세라믹 분말과 유기물 기공 형성체 분말을 분말혼합하는 단계(단계 1); 상기 단계 1의 혼합분말을 상온진공분말분사법으로 모재 일측에 증착하는 단계(단계 2); 및 상기 증착막에서 열처리공정으로 유기물 기공 형성체를 제거하여 다공성 세라믹 후막을 제조하는 단계(단계 3)를 포함하는 저온 열처리공정을 이용한 다공성 세라믹 후막의 제조방법에 관한 것이다. 본 발명에 따른 다공성 세라믹 후막의 제조방법은 상온진공분말분사법을 이용하여 코팅막을 제조하고, 저온 열처리를 통해 모재와의 반응에 영향을 미치지 않는 다공성 막을 형성할 수 있으며, 상기 방법으로 제조된 다공성 세라믹 후막은 나노크기의 기공 및 입자분포를 가지므로 전극의 활성을 증가시켜 고체연료전지, 촉매, 염료감응태양전지 및 가스센서 등의 다공성 세라믹 후막에 유용하게 사용할 수 있다.
세라믹 폴리머 복합체의 제조방법과 이에 의해 제조된 세라믹 폴리머 복합체
등록번호 | 10-1079258-0000 출원번호 | 10-2009-0017314.jpg)
특허권자 | 한국세라믹기술원 발 명 자 | 남송민 외 3명
본 발명은, 성막 챔버 내부를 일정 압력으로 유지하는 단계와, 유량제어수단을 통해 운반가스의 유량이 노즐 분사구의 단위면적(㎟)당 250~10,000sccm이 되게 조절하는 단계와, 유량이 조절된 운반가스를 5㎚~0.5㎛의 입자 크기를 갖는 세라믹 분말이 놓인 공간으로 공급하여 상기 세라믹 분말을 에어로졸화하는 단계와, 형성된 에어로졸을 압력차에 의해 성막 챔버 내의 노즐로 공급하는 단계 및 상기 노즐의 분사구와 성막하려는 기판 사이의 거리가 5~50㎜ 범위로 일정하게 유지되게 하면서 상기 기판을 향해 에어로졸이 분사되게 하여 기판에 분사된 에어로졸이 충격에 의하여 고화되면서 성막되어 다공성 세라믹 구조체를 형성하는 단계를 포함하는 다공성 세라믹 구조체의 제조방법과 이에 의해 제조된 다공성 세라믹 구조체와 상기 방법을 이용한 세라믹 폴리머 복합체의 제조방법 및 이로부터 제조된 세라믹 폴리머 복합체에 관한 것이다. 본 발명에 의한 다공성 세라믹 구조체의 제조방법에 의하면, 세라믹의 장점을 그대로 갖고 있어 높은 절연 및 유전 특성을 나타내고, 열적 안정성이 우수하며, 제조가 용이하여 대량 생산이 가능하며, 10부피% 이상의 기공율을 가지면서 균일한 두께로 성막된 다공성 세라믹 구조체를 얻을 수가 있다.
다이아몬드막으로 코팅된 세라믹 몸체 및 그 제조방법
등록번호 | 10-1072444-0000 출원번호 | 10-2008-0121776
특허권자 | 한국과학기술연구원 발 명 자 | 백영준 외 2명
본 발명은 (1) 세라믹 입자 및 기지상을 포함하는 혼합조성물을 세라믹 몸체에 도포하여 표면층을 형성시키는 단계; (2) 상기 표면층에 포함된 기지상을 제거하여 불규칙한 요철 모양의 표면층을 형성시키는 단계; 및 (3) 상기 기지상이 제거된 표면층에 다이아몬드막을 증착시키는 단계를 포함하는 다이아몬드막이 코팅된 세라믹 몸체의 제조방법에 관한 것이다.
세라믹 본체를 채택하는 발광 다이오드 패키지.jpg)
등록번호 | 10-1080097-0000 출원번호 | 10-2004-0064236
특허권자 | 서울반도체 주식회사 발 명 자 | 김지미
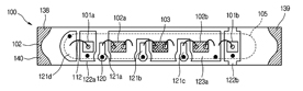
세라믹 본체를 채택하는 발광 다이오드 패키지가 개시된다. 이 발광 다이오드 패키지는 상부면에 제1 전극 및 제2 전극의 전극패턴을 갖는 하부 저온동시소성 세라믹 기판을 포함한다. 상기 하부 세라믹 기판상에 동시소성된 상부 저온동시소성 세라믹 기판이 위치한다. 상부 저온동시소성 세라믹 기판은 전극패턴을 노출시키는 캐비티를 갖는다. 제 1 전극 상에 발광 다이오드 다이가 실장되어 위치하고, 본딩와이어가 발광 다이오드 다이와 제 2 전극을 전기적으로 연결한다. 이에 따라, 내열특성이 우수하며 견고한 발광 다이오드 패키지가 제공된다.
엘이디 패키지용 유리 세라믹 및 그 제조방법
등록번호 | 10-1078638-0000 출원번호 | 10-2011-0008675
특허권자 | 경기대학교 산학협력단 발 명 자 | 김응수 외 4명
본 발명은 방열효과가 우수하도록 열적 특성이 우수한 유리 세라믹 및 그 제조방법을 제공함으로써, 우수한 열전도도를 유지하면서 소결온도를 감소시켜 공정비용이 절감되고 활용도가 상승됨과 동시에 열팽창계수가 감소됨으로써 숄더 크랙 발생을 방지할 수 있는 유리세라믹 및 그 제조방법을 제공할 수 있다.
저온 동시소성용 고출력 압전 세라믹 조성물
등록번호 | 10-1077961-0000 출원번호 | 10-2009-0083746
특허권자 | 한국과학기술연구원 발 명 자 | 윤석진 외 2명
본 발명은 900℃의 낮은 소결온도에서도 압전상수(d33), 전기기계 결합계수(Kp) 및 기계적 품질계수(Qm)가 모두 우수하여 향상된 압전특성을 보이는 하기 화학식 1로 표시되는 고출력 압전 세라믹 조성물에 관한 것이다.
0.9Pb(Zr0.48Ti0.52)O3-0.05Pb(Mn1/3Sb2/3)O3-0.05Pb(Zn1/3Nb2/3)O3 + x wt% CuO
상기 식에서, x는 중량비로서 0003c#x≤2.0이다.또한, 본 발명은 상기 화학식 1로 표시되는 압전 세라믹 조성물에 La2O3이 추가로 첨가되어 하기 화학식 2로 표시되는 압전 세라믹 조성물에 관한 것이다.
0.9Pb(Zr0.48Ti0.52)O3-0.05Pb(Mn1/3Sb2/3)O3-0.05Pb(Zn1/3Nb2/3)O3 + x wt% CuO + y wt% La2O3
상기 식에서, x 및 y는 중량비로서 각각 0003c#x≤2.0 및 0003c#y≤1.0이다.
본 발명은 또한 상기 화학식 1로 표시되는 압전 세라믹 조성물에 Nb2O5가 추가로 첨가되어 하기 화학식 3으로 표시되는 압전 세라믹 조성물에 관한 것이다.
균일한 두께의 그린 시트 제조용 슬러리 배합 방법.jpg)
등록번호 | 10-1078183-0000 출원번호 | 10-2009-0005804
특허권자 | 전자부품연구원 발 명 자 | 김해중 외 2명
본 발명은 사용되는 세라믹 파우더에 각각 적합한 이형 분산제를 사용하여 최적의 분산성을 확보한 혼합물을 구성한 후 이를 혼합하여 최적의 분산 특성을 갖는 슬러리를 제조하여 균일한 두께의 그린 시트를 제작할 수 있도록 하는 균일한 두께의 그린 시트 제조용 슬러리 배합 방법에 관한 것이다.
본 발명에 따르는 균일한 두께의 그린 시트 제조용 슬러리는, 복수의 용기를 준비하는 단계; 상기 복수의 용기 각각에 유기 용매를 투입하는 단계; 상기 유기 용매에 분산제를 각각 첨가하여 혼합하는 단계; 분산제가 첨가된 상기 유기 용매에 분말을 각각 투입하여 혼합 및 분쇄하여 복수의 제1 혼합물을 생성하는 단계; 및 상기 복수의 제1 혼합물을 혼합하여 제2 혼합물을 생성하는 단계에 의해 배합되고, 상기 분산제는 상기 복수의 용기 각각에 투입되는 분말의 종류에 따라 각각 결정되는 것을 구성적 특징으로 한다.
세라믹 유치관 제조방법 및 이에 의해 제조된 세라믹 유치관
등록번호 | 10-1071554-0000 출원번호 | 10-2010-0031516
특허권자 | 주식회사 하스 발 명 자 | 김용수 외 6명
본 발명은, 유치관의 골격을 이루는 지르코니아 또는 알루미나, 사출 성형시 점도를 낮추어 연성을 부여하기 위한 중합체 및 유치와 동일 또는 유사한 색상을 부여하기 위한 조색제를 포함하는 원재료를 혼합하는 단계와, 혼합된 원재료에 함유된 중합체가 연성을 갖도록 가열하는 단계와, 가열된 원재료를 사출 성형하는 단계와, 사출 성형된 사출물에 대하여 취성을 약화시키고 연성이 생기도록 하는 중합체 추출 단계와, 중합체 추출에 의해 중합체 중 일부가 추출된 사출물로부터 중합체 성분을 완전히 제거하기 위하여 탈지하는 단계와, 기계적 물성을 향상시키기 위하여 중합체가 제거된 탈지체를 소결하는 단계 및 소결체 외면을 연마하여 광택성을 부여하고 버(Burr)를 제거하기 위하여 바렐 가공하는 단계를 포함하는 세라믹 유치관 제조방법 및 이에 의해 제조된 세라믹 유치관에 관한 것이다. 본 발명에 의하면, 높은 강도와 인성을 가지는 지르코니아 또는 알루미나를 원재료로 이용하므로 심미적으로 우수하고 생체친화성이 높으며, 사출 성형을 이용하여 용이하게 제작이 가능하고 대량 생산이 가능함으로써 제조원가가 절감되고 가격이 저렴하여 소아보철용 유치관으로 널리 활용될 수 있다.
탄소나노튜브 박막 후처리 공정
등록번호 | 10-1079664-0000 출원번호 | 10-2009-0035080
특허권자 | 한국세라믹기술원 발 명 자 | 허승헌
본 발명은 고상 파우더 증착 원리에 의하여 탄소나노튜브(CNT)를 고속으로 가속시켜 모재(기판) 위에 충돌시킴으로서 독특한 탄소나노튜브 박막을 제조하고, 상기 탄소나노튜브 박막에 대한 기상, 액상, 고상 후처리 공정을 수행하여 전기전도성 등의 기능이 향상된 탄소나노튜브 필름을 제조하는 방법에 관한 것이다. 따라서, 본 발명은 (a) 탄소나노튜브를 고속으로 기판에 충돌시켜 탄소나노튜브 박막을 제조하는 단계; 및 (b) 상기 탄소나노튜브 박막에 대한 후처리 단계; 로 이루어지는 탄소나노튜브 박막 후처리 공정을 제공하며, 상기 후처리 단계는 1) 전도성 물질의 액상 코팅, 2) 전도성 물질의 기상 코팅, 3) 전도성 폴리머의 접착 또는 압착 등의 방법을 통해 실현한다.
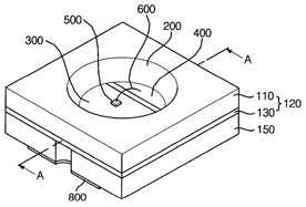
발광 다이오드 램프
등록번호 | 10-1072028-0000 출원번호 | 10-2004-0087886
특허권자 | 엘지이노텍 주식회사 발 명 자 | 박준석
본 발명은 발광 다이오드가 실장된 램프 패키지의 상하 측면에 전극 단자들을 형성함으로써, 실장 공간을 확보하면서 견고하게 실장할 수 있는 발광 다이오드 램프를 개시한다. 개시된 본 발명은 램프 패키지; 상기 램프 패키지의 개구 영역에 형성되어 있는 금속 리드; 상기 금속 리드의 사이에 형성되어 있는 복수의 전극 패드; 상기 금속 리드 상에 실장되고, 상기 전극 패드와 금속 리드에 전기적으로 연결된 복수의 발광 다이오드; 및 상기 패키지의 상하면 또는 측면 상에 상기 금속 리드 또는 전극 패드와 전기적으로 연결되도록 형성된 적어도 한개의 전극 단자를 포함하는 것을 특징으로 한다.
따라서, 본 발명은 인쇄회로기판 상에 LED 패키지를 실장할 때, 실장 공간을 자유롭게 선택할 수 있고, 실장시 인쇄회로기판 상에 견고하게 고정할 수 있는 효과가 있다.
나노하이브리드 복합체의 제조방법.jpg)
등록번호 | 10-1079271-0000 출원번호 | 10-2008-0127667
특허권자 | 한국세라믹기술원 발 명 자 | 구은희 외 2명
본 발명은 양자점이 고밀도화된 나노하이브리드 복합체의 제조방법에 관한 것으로서, 반도성 양자점 나노입자와 고분자 수지 및 가교제가 제1용매에 혼합된 잉크 조성물을 제조하는 단계와, 상기 잉크 조성물의 액적을 상기 고분자에 대한 가용성이 없는 제2용매 내로 분사하여 비드를 형성하는 단계와, 상기 비드 내의 상기 고분자 수지를 경화시켜 분리해내고 상기 비드를 회수하여 나노 하이브리드 복합체를 형성하는 단계를 포함한다.
기사를 사용하실 때는 아래 고유 링크 주소를 출처로 사용해주세요.
https://www.cerazine.net