세라믹 멤브레인을 이용한 수소 제조 방법 및 장치
등록번호 | 10-2010008-2197 출원번호 | 10-2009-0001567
특허권자 | 홍익대학교 산학협력단 발 명 자 | 황진하 외 2명
본 발명은 수소 제조 과정에서 공급되는 환원성 가스와 접촉하는 세라믹 멤브레인 표면의 기계적 특성의 감소를 방지하여 세라믹 멤브레인의 수명을 증가시킬 수 있는 세라믹 멤브레인을 이용한 수소 제조 방법 및 장치에 관한 것이다.
상기 세라믹 멤브레인을 이용한 수소 제조 방법은 세라믹 멤브레인의 일측면으로 수증기를 공급하고 세라믹 멤브레인의 타측면으로 환원성 가스를 공급하여 세라믹 멤브레인의 일측에서 수소를 생성하는 제1단계 및 상기 세라믹 멤브레인의 일측면으로 환원성 가스를 공급하고 세라믹 멤브레인의 타측면으로 수증기를 공급하여 세라믹 멤브레인의 타측에서 수소를 생성하는 제2단계를 포함하며, 제1단계와 제2단계가 주기적으로 반복되는 것을 특징으로 한다.
상기 세라믹 멤브레인을 이용한 수소 제조 장치는 외측 튜브, 외측 튜브의 내부에 설치되는 세라믹 멤브레인, 외측 튜브의 일측과 타측의 내부 공간에서 설치되는 제1내측 튜브와 제2내측 튜브, 외측 튜브의 일측에서 세라믹 멤브레인에 인접한 위치에 설치되는 제1배출관 및 외측 튜브의 타측에서 세라믹 멤브레인에 인접한 위치에 설치되는 제2배출관을 포함하는 것을 특징으로 한다.
수처리용 활성수 장치
등
록번호 | 10-1048276-0000 출원번호 | 10-2011-0005336
특허권자 | 박연노 발 명 자 | 박연노
본 발명에서 수처리의 효율성을 증대시킬 수 있는 수처리용 활성수 장치를 개시한다. 본 발명에 따른 활성수 장치는, 원통형 구조의 세라믹 활수 하우징 내부로 다량의 세라믹 볼을 적재한 후, 노즐을 통해 용수의 수압을 승압하여 다량의 세라믹 볼 간 마찰을 유도함으로써 공급 용수로 원적외선을 방사하는 세라믹 활수장치; 세라믹 활수장치를 거쳐 유출되는 용수에 자기력선을 방사하기 위한 자석봉이 원통형 구조의 자화활수 하우징에 소정 간극을 갖고 삽설되어, 자석봉에 의해 용수의 클러스터 분쇄를 유도하는 자화 활수장치; 및 자화 활수장치 및 세라믹 활수장치가 ‘U’자형 구조를 갖도록 각 활수장치의 상단부에서 상호 연통하여, 세라믹 활수장치에서 배출된 용수를 자화 활수장치로 저속 유출시키는 연결관로로 구성되는 것을 특징으로 한다.
따라서, 본 발명은 용수의 원적외선 수용량을 높이고, 자화에 의한 클러스터 분쇄를 최대화할 수 있어, 활성수 장치의 효율을 증대시키는 효과가 있다. 또한, 본 발명은 고압 분사에 의한 세라믹 볼의 유동성을 높이고, 대신 세라믹 볼 간 충돌에 의한 파티클 발생을 최소화할 뿐만 아니라, 분리형 구조를 갖도록 하여 세척이 용이한 효과가 있다.
박막 전자부품용 세라믹 기판 및 그 제조방법 및 이것을사용한 박막 전자부품
등록번호 | 10-1051197-0000 출원번호 | 10-2004-0077122
특허권자 | 니혼도꾸슈도교 가부시키가이샤
발 명 자 | 이치야나기세이지 외 3명
높은 정밀도의 평탄면이 확실하고 또한 용이하게 얻어지는 박막 전자부품용 세라믹 기판 및 그 제조방법 및 이것을 사용한 박막 전자부품을 제공한다. (해결수단) 제 1 기판은 기부용 세라믹 기판(2)과 글레이즈층(3)을 구비하며, 글레이즈층의 표면의 산술평균조도(Ra)는 0.02㎛ 이하이고 또한 최대 높이(Ry)는 0.25㎛ 이하이다. 또, 제 2 기판은 기부용 세라믹 기판(2)의 표면에 형성된 유리층(24)을 가열?가압처리하여 기부용 세라믹 기판(2) 상에 글레이즈층(3)을 형성하고, 그 표면을 평탄화 연마하여 이루어진다. 또한, 제 3 기판은 기부용 세라믹 기판(2)과 이것의 적어도 일면측에 형성된 포어를 가지지 않는 글레이즈층(3)을 구비하며, 글레이즈층(3)의 표면은 평탄화 연마하여 이루어진다.
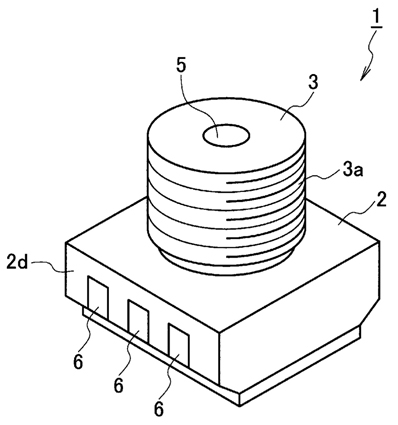
압력센서
등록번호 | 10-1050334-0000 출원번호 | 10-2009-7005435
특허권자 | 파나소닉 전공 주식회사 발 명 자 | 코바야시미츠루 외 6명
돌기부(3)에 형성된 관통구멍(5)의 도중 또는 안쪽측에 압력검출소자(4)가 설치된 압력센서(1)에 있어서, 본체부(기체부(2) 및 돌기부(3))를, 세라믹 또는 절연성의 수지재료에 의해 소정 형상으로 성형함과 아울러 표면에 도체패턴(6)을 형성한 입체회로기판으로 구성하였다. 이에 의해, 보다 소형의 압력센서를 얻을 수 있다.
환경 친화성 콘크리트 침투
방지 세라믹 도료 조성물 및 그 제조방법
등록번호 | 10-1054588-0000 출원번호 | 10-2009-0124225
특허권자 | 김선권 발 명 자 | 김선권
본 발명은 환경 친화성 콘크리트 침투 방지 세라믹 도료 조성물 및 그 제조방법에 관한 것이고, 구체적으로 콜로이드 실리카를 포함하는 무기 바인더에 소수성 관능기를 부가하여 제조되는 콘크리트 침투 방지 세라믹 도료 및 그 제조방법에 관한 것이다. 세라믹 도료 조성물은 메틸트리메톡시실란, 옥틸실란 및 메탄올이 혼합된 용액에 실리카 졸, 증류수 및 초산이 혼합된 용액을 첨가하여 제조된 하도 바인더; 및 메틸트리메톡시실란 및 메탄올이 혼합된 용액에 실리카 졸, 증류수 및 초산이 혼합된 용액을 첨가하여 제조된 상도 바인더를 포함한다.
방탄 소재
등
록번호 | 10-1054651-0000 출원번호 | 10-2009-0073032
특허권자 | 김현복 발 명 자 | 김현복
본 발명은 방탄 소재에 관한 것으로서, 보다 구체적으로는, 세라믹볼을 소성 가공하여, 소성된 다수의 세라믹볼 주위에 세라믹 분말이 소성 가공되어 접착되게 세라믹볼을 일정한 두께의 판상으로 형성하여 방탄 소재를 제조함으로써, 방탄 소재에 총격이 가해지거나, 방탄 소재가 피폭을 받았을 때, 탄환 또는 파편이 방탄 소재를 구성하고 있는 세라믹볼과 충돌한 뒤, 세라믹볼의 둥근 외주면과 접촉되어 빗겨 나가면서 그 충격을 완화시킬 수 있게 하여, 방탄 소재의 기능을 크게 향상시킬 수 있게 함과 동시에, 탄환 또는 파편의 충격이 탄환 또는 파편이 충돌된 방탄 소재의 세라믹볼에 국한되게 하여 파손 범위를 최소화시킴으로써, 방탄 소재의 수명을 보다 오래 유지시킬 수 있도록 하며, 세라믹볼의 사이 사이에 공극이 형성되어, 공극 내부에 세라믹 분말이 소성 가공되어 충진됨으로써, 방탄 소재의 강도가 강화되고, 경량화되어 사용에 보다 간편함을 제공할 수 있도록 한 것이다.
할로우 펄라이트를 포함하는 플라즈마 디스플레이 패널의 격벽용 세라믹 복합체 조성물.jpg)
등록번호 | 10-1053240-0000 출원번호 | 10-2009-0067293
특허권자 | 인하대학교 산학협력단, 주식회사 휘닉스소재
발 명 자 | 김형순 외 2명
본원은 할로우 펄라이트를 포함하는 플라즈마 디스플레이 패널의 격벽용 세라믹 복합체 조성물을 개시하며, 상기 세라믹 복합체 조성물은 산화비스무스(Bi2O3), 산화아연(ZnO), 산화붕소(B2O3), 산화인(P2O5), 산화바륨(BaO), 산화규소(SiO2), 산화알루미늄(Al2O3), 산화주석(SnO, SnO2) 및 이들의 조합으로 이루어진 군에서 선택되는 산화물 을 포함하는 모상 유리 70 중량% 이상 내지 100 중량% 미만; 및 할로우(hollow) 펄라이트 0 중량% 초과 내지 30 중량% 이하를 포함하며, 상기 할로우 펄라이트를 포함함에 따라 낮은 유전율과 우수한 기계적 특성을 가지는 플라즈마 디스플레이 패널의 격벽을 제조할 수 있다.
적층 세라믹 콘덴서 및 그 제법
등록번호 | 10-1053945-0000 출원번호 | 10-2008-7030364
특허권자 | 쿄세라 코포레이션 발 명 자 | 야마자키유이치
유전체층이 티탄산바륨을 주성분으로 하고, 평균 결정입경이 0.15~0.3㎛인 결정입자를 갖고, 티탄산바륨 100몰부에 대해서 Mg를 MgO 환산으로 0.5~2몰부, Mn을 MnO 환산으로 0.2~0.5몰부, Ho, Y, Er, Tm, Yb 및 Lu으로부터 선택되는 1종의 제 1 희토류 원소(RE) 및 Sm, Eu, Gd, Tb 및 Dy로부터 선택되는 1종의 제 2 희토류 원소(RE)를 RE2O3 환산한 합계로 0.7~3몰부 함유하고, 상기 결정입자가 상기 제 1 희토류 원소와 상기 제 2 희토류 원소를 제 1 희토류 원소량이 제 2 희토류 원소량보다 많아지도록 함유하고, 또한 제 1 희토류 원소의 결정입자의 입계로부터 중심부에 있어서의 농도구배가 -0.005~-0.05원자%/nm, 제 2 희토류 원소의 상기 농도구배가 -0.0005~-0.005원자%/nm인 유전체 자기로 이루어진 적층 세라믹 콘덴서 및 그 제법이다.
적층형 세라믹 전자 부품의 제조 방법 및 적층
형 세라믹전자 부품
등록번호 | 10-1051404-0000 출원번호 | 10-2008-7007265
특허권자 | 가부시키가이샤 무라타 세이사쿠쇼
발 명 자 | 하가다이스케 외 1명
제 1 층째 세라믹 그린시트의 버블 트래핑의 발생을 방지할 수 있는 적층형 세라믹 전자 부품의 제조 방법 및 적층형 세라믹 전자 부품을 얻는다. 지지체(61) 상에 적재되어 있는, 예를 들면 표면이 조면인 상질지로 이루어지는 시트(5) 상에 외층용 세라믹 그린시트(4)를 압착하여 캐리어 필름(6)을 박리함으로써 제 1 층째 세라믹 그린시트로 한다. 제 1 층째 외층용 세라믹 그린시트(4)는 분산제로서 입체 장애형 분산제, 예를 들면 알릴에테르 폴리머를 사용한다. 바인더는 가볍기 때문에 위쪽으로 편석하여 두께 방향으로 C농도가 변화한다. 보다 구체적으로는 캐리어 필름(6)에 지지된 캐리어 필름측 면의 C농도에 대하여, 캐리어 필름측 면과는 반대인 개방면의 C농도가 1.5~4.0배이다.
내부 냉각채널을 갖는 세라믹 브레이크 디스크 로터의 제조방법
등록번호 | 10-1051408-0000 출원번호 | 10-2008-0095934
특허권자 | 주식회사 데크 발 명 자 | 이준상 외 5명
세라믹 브레이크 디스크 로터를 구성하는 냉각채널을 보다 정밀하고도 용이하게 구현하는 방법에 관한 것이다.
이를 실현하기 위하여 본 발명은, (a) 탄소섬유를 보강한 탄소-탄소 복합재료를 이용하여 디스크 로터의 하중부(110, 210), 마찰면(120, 220) 및 베인(300)을 각각 별개의 공정을 통해 제조하는 단계; (b) 각각 별개의 공정을 통해 제조된 상기 하중부(110, 210), 마찰면(120, 220) 및 베인(300)을 하나의 구조물로 조립하는 단계; 및 (c) 조립된 상기 하나의 구조물에 대하여 용융 규소 함침(Liquid Silicon Melt Infiltration) 처리를 수행하는 단계를 포함하는 것을 특징으로 하는 내부 냉각채널을 가지는 세라믹 브레이크 디스크 로터의 제조방법을 제공한다.
본 발명에 의하면, 냉각채널 형상을 보다 경제적이고도 용이하게 구현할 수 있으며, 또한, 냉각채널의 치수 정밀도가 향상되므로, 디스크 로터의 성능이 향상되는 효과가 있다.
스트립캐스팅 에지댐 제어장치 및 제어방법
등
록번호 | 10-1051736-0000 출원번호 | 10-2003-0096816
특허권자 | 주식회사 포스코 발 명 자 | 김상훈 외 2명
본 발명은 쌍롤형 박판주조장치에 있어서, 에지댐의 일측에 설치된 실린더와 에지댐의 변위를 측정하는 변위측정장치와 상기 변위측정장치로부터 에지댐의 이동거리의 신호를 받아 다시 상기 실린더에 전달하여 에지댐의 이동을 미세조정하는 피이더백 제어장치로 구성된 것을 특징으로 하는 스트립캐스팅 에지댐 제어장치를 제공한다.
본 발명에서는 에지댐과 주조롤 중심선을 손쉽게 일치시켜서, 주조롤 측면과 접촉하는 고가의 BN함유의 세라믹을 최소화하여 에지댐의 제조비용을 감소시키는 효과가 있으며, 주조롤 측면과 에지댐 사이의 용강 유출을 억제하여서 주조안정성을 증가시키는 효과가 있다.
기사를 사용하실 때는 아래 고유 링크 주소를 출처로 사용해주세요.
https://www.cerazine.net