등록번호 | 10-1030150-0000 출원번호 | 10-2010-0075972 플라즈마 디스플레이용 유리세라믹스 재료 
등록번호 | 10-1030880-0000 출원번호 | 10-2009-7014627
특허권자 | 샌트랄 글래스 컴퍼니 리미티드
발 명 자 | 니시카와가즈히로 외 1명
본 발명에 따르면, 연화점이 570~640℃인 유리미립자(A)가 40~70 중량%, 연화점이 480~540℃인 유리미립자(B)가 30~60 중량%인 플라즈마 디스플레이용 유리세라믹스 재료로서, 유리미립자(A)가 SiO2를 2~12 중량%, B2O3를 50~58 중량%, Al2O3를 10~20 중량%, ZnO를 0~6 중량%, Li2O를 0~2.8 중량%, 추가적으로 MgO, CaO, SrO, BaO 중에서 선택되는 1종 이상을 10~22 중량% 포함하고, 유리미립자(A)의 굴절률이 1.53~1.56인 것을 특징으로 하는 플라즈마 디스플레이용 유리세라믹스 재료가 제공된다.
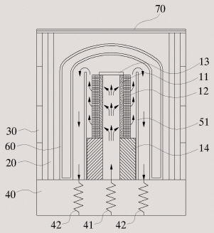
세라믹 섬유 다공체 내 연소를 이용한 열광전 발전장치
등록번호 | 10-1029572-0000 출원번호 | 10-2009-0131628
특허권자 | 한국에너지기술연구원 발 명 자 | 이대근
본 발명은 연소에 의해 발생하는 열에너지로 물질을 가열할 때 발생되는 복사에너지를 광전소자에 조사하여 발전하는 열광전 발전장치에 관한 것이다. 본 발명은 세라믹 섬유로 이루어지는 다공성 방사체와, 상기 다공성 방사체 내부에서 초과 엔탈피 연소가 이루어지도록 연료와 공기의 분배와 연소 안정성을 제공하는 미세 다공성 분배관과, 상기 방사체에서 방사되는 복사에너지 중 특정 스펙트럼만 통과시키는 광학필터와, 상기 광학필터를 통과한 스펙트럼의 광자를 전기로 변환하는 광전소자를 포함한다. 본 발명에 따르면, 연료의 연소에 의해 발생되는 열에너지가 열역학적 동력 사이클을 통하지 않고, 전기로 직접 변환되므로 고효율 발전이 가능하며, 다공체 내부에서 열의 재순환이 발생하여 고온의 화염을 형성할 수 있어서 고효율 발전이 가능한 이점이 있다.
유리를 코팅한 금속 분말을 사용한
적층형 세라믹 제조방법
등록번호 | 10-1028117-0000 출원번호 | 10-2009-0003736
특허권자 | 한국전기연구원 발 명 자 | 정순종 외 4명
본 발명은 유리를 코팅한 금속 분말을 사용한 적층형 세라믹 제조방법에 관한 것으로 전극을 이루게 될 금속 분말의 표면에 유리를 코팅하는 코팅단계와; 세라믹 막의 표면에 상기 코팅단계에서 유리가 코팅된 금속 분말을 내부 전극의 위치에 도포한 후 상기 세라믹 막을 다수개 적층하는 적층단계와; 상기 적층단계에서 적층이 세라믹 막을 고온에서 열처리하여 세라믹 재료를 경화시키고, 유리를 녹여 상기 금속 분말이 노출되도록 하여 내부 전극을 형성하는 열처리단계;를 포함하여 구성되는 것을 특징으로 하는 유리를 코팅한 금속 분말을 사용한 적층형 세라믹 제조방법을 기술적 요지로 하게 되어 저가의 금속으로 전극을 형성할 수 있어 경제적이라는 효과가 있다.
BNBT6 압전세라믹스 및 그의 제조방법
등록번호 | 10-1029027-0000 출원번호 | 10-2009-0002692
특허권자 | 충주대학교 산학협력단 발 명 자 | 윤만순 외 2명
본 발명은 친환경 무연계 압전세라믹스인 BNBT6 압전세라믹스에 관한 것으로, 더욱 자세하게는 압전 및 유전 특성이 향상된 BNBT6 압전세라믹스 및 그의 제조방법에 관한 것이다.
본 발명에 의한 BNBT6 압전세라믹스는, 페로브스카이트 결정구조를 갖는 BNBT계 압전세라믹스에 있어서, 조성이 (Bi0.5Na0.5)0.94 Ba0.06TiO3 이며, 입자의 크기가 50~70㎚의 범위인 것을 특징으로 한다. 또한 본 발명에 의한 BNBT6 압전세라믹스의 제조방법은, BNBT6 압전세라믹스의 조성에 맞추어 BaTiO3, TiO2, Na2CO3 및 Bi2O3 원료분말을 준비하는 단계; 상기 원료분말을 혼합하여 볼 밀링하는 단계; 상기 밀링된 분말을 하소하는 단계; 상기 하소된 분말을 나노 밀링하는 단계를 포함하는 것을 특징으로 한다.
적층 세라믹 전자부품 및 그 제조방법
등록번호 | 10-1029689-0000 출원번호 | 10-2008-0129364
특허권자 | 가부시키가이샤 무라타 세이사쿠쇼
발 명 자 | 카와사키켄이치 외 5명
얇고, 또한 세라믹 소체에 대한 고착력이 뛰어난 외부단자전극을 가지는 적층 세라믹 전자부품을 제공한다.
외부단자전극(9)을 형성하기 위해, 세라믹 소체(2)에 도금 처리를 직접 실시하여, 내부전극(12)의 노출부(14)상에 Cu도금막(20)을 석출시킨 후, 열처리를 실시하여 Cu도금막(20)과 세라믹 소체(2)의 사이에 Cu액상, O액상 및 Cu고체상을 생성시킴으로써, Cu도금막(20)의 내부이며, Cu도금막(20)의 적어도 세라믹 소체(2)와의 계면측에, 불연속 형상으로 Cu산화물(21)을 생성시킨다. Cu산화물(21)이 접착제의 역할을 수행하기 때문에, Cu도금막(20)의, 세라믹 소체(2)에 대한 고착력을 높일 수 있으며, 결과적으로 세라믹 소체(2)에 대한 고착력이 뛰어난 외부단자전극(9)을 얻을 수 있다.
세라믹 가스센서 및 그 제조방법
등록번호 | 10-1031209-0000 출원번호 | 10-2008-0118518
특허권자 | 한국세라믹기술원 발 명 자 | 김효태 외 4명
본 발명에 의한 가스센서는 p형 반도성 세라믹 분말과 n형 반도성 세라믹 분말의 복합체(composite) 세라믹 후막소자를 구비하여 무작위형 복수 계면(multi interface)의 p-n 접합구조를 가지는 일체형 환경감시용 세라믹 가스센서이다. 이때, 상기 세라믹 후막소자는 상기 p형 반도성 세라믹 분말과 n형 반도성 세라믹 분말을 혼합하여 상온에서 에어로졸 증착함으로써 형성된다.
표면 실장 가능한 복합 세라믹 칩 부품
등록번호 | 10-1031111-0000 출원번호 | 10-2008-0108854
특허권자 | 조인셋 주식회사 발 명 자 | 김선기
표면 실장 가능한 복합 세라믹 칩 부품이 개시된다. 상기 복합 세라믹 칩 부품은, 각각 세라믹 베이스와, 상기 세라믹 베이스의 대향하는 양 측면에 외부전극을 구비하고 서로 다른 전기적 특성을 갖는 사전에 소성된 둘 이상의 단일 세라믹 칩 부품을 포함하며, 상기 단일 세라믹 칩 부품은 각각 인접한 외부전극이 다층 구조로 이루어진 금속층에 의해 병렬 회로를 이루며 기구적으로 접합되고, 상기 금속층을 통하여 회로 기판에 솔더 크림과 리플로우 솔더링이 된다.
저압주조용 세라믹 스토크의 슬래그 제거장치
등록번호 | 10-1028266-0000 출원번호 | 10-2008-0077964
특허권자 | 기아자동차주식회사 발 명 자 | 김종욱
본 발명은 저압주조용 세라믹 스토크의 슬래그 제거장치에 관한 것으로서, 보온로 내에 저장된 알루미늄 용탕을 저압주조금형 내부에 급탕 시, 공급관인 세라믹 스토크에 부착되는 슬래그를 원활하게 제거시킬 수 있는 저압주조용 세라믹 스토크의 슬래그 제거장치에 관한 것이다.
이와 같은 목적을 달성하기 위하여, 본 발명은 박스 형상의 테두리를 이루는 프레임부와, 상기 프레임부의 상측에 구비되어 전동모터의 구동에 의해 회동하는 구동축 및 이와 일체 구성된 스프라켓과, 상기 세라믹 스토크에 연결되어 스프라켓의 회전에 의해 세라믹 스토크를 승,하강시키는 체인과, 상기 프레임부의 상측에 고정되어 세라믹 스토크의 승,하강시 상기 세라믹 스토크 내경에 삽입되어 내경의 슬래그를 제거하는 일정한 길이를 갖는 바아(bar) 형상의 내경 청소구와, 상기 프레임부의 하측에 고정되며, 상기 세라믹 스토크의 외경에 밀착되어 외경에 부착된 슬래그를 제거하는 외경 청소구를 포함하여 구성된 저압주조용 세라믹 스토크의 슬래그 제거장치를 제공하고자 한다.
무알칼리 유리 기판 및 그 제조 방법 그리고 액정 디스플레이 패널
등록번호 | 10-1028981-0000 출원번호 | 10-2008-7025631
특허권자 | 아사히 가라스 가부시키가이샤
발 명 자 | 마에하라데루타카 외 3명
영률이 높고, 선팽창 계수가 낮고, 변형점이 높고, 밀도가 낮고, 점도가 낮고, 플로트 성형에서 실투하지 않으며, 내산성이 우수한 무알칼리 유리 기판의 제공. 하기 산화물 기준의 몰% 표시로, 실질적으로 알칼리 성분 및 BaO 를 함유하지 않고, 각 성분의 함유율이 SiO2 : 57.0 ∼ 65.0%, Al2O3 : 10.0~12.0%, B2O3 : 6.0~9.0%, MgO : 5.0~10.0%, CaO : 5.0~10.0%, SrO : 2.5~5.5% 이고, 또한, MgO + CaO + SrO : 16.0~19.0%, MgO/(MgO + CaO + SrO) ≥ 0.40, B2O3/(SiO2 + Al2O3 + B2O3) ≤ 0.12 로서, 영률 ≥ 75GPa, 50~350℃ 의 선팽창 계수 : 30 × 10-7 ∼ 40 × 10-7/℃, 변형점 ≥ 640℃, 점도 η 가 logη = 2 를 만족시키는 온도인 T2 ≤ 1620℃, 점도 η 가 logη = 4 를 만족시키는 온도인 T4 ≤ 1245℃, 실투 온도 ≤ T4, 90℃, 0.1N 의 HCl 중에 20 시간 침지 후의 단위 면적당의 질량 감소량이 0.6㎎/㎠ 이하인 무알칼리 유리 기판.
광투과성을 증진시킨 초친수 무기 코팅제, 이의 제조방법 및
이를 이용한 코팅필름
등록번호 | 10-1031518-0000 출원번호 | 10-2010-0056767
특허권자 | 성균관대학교산학협력단, 주식회사 카이네틱에너지
발 명 자 | 황헌
본 발명은 테트라에톡시실란, 산촉매, 콜로이달 실리카, 증류수 및 알콜을 포함한 실리카 졸; 및 안티몬 틴 옥사이드 졸을 산성용액 내에서 중합시켜 형성된 콜로이드 입자를 포함하는 무기 코팅제, 이의 제조방법 및 이를 이용한 코팅필름에 관한 것이다. 본 발명에 따른 무기 코팅제는 유기 기재뿐만 아니라 무기 기재의 표면을 친수성화 하여 유기물과 함께 무기물을 분해할 수 있는 자기세정 효과, 결로방지 효과, 대전방지 효과를 제공할 수 있다. 또한 본 발명에 따른 무기 코팅제는 기재의 광투과성, 유무기물에 대한 방오성 및 방담성을 증진시켜 태양전지 등의 표면에 사용되는 경우 태양전지의 광전변환효율을 향상시킬 수 있다.
기사를 사용하실 때는 아래 고유 링크 주소를 출처로 사용해주세요.
https://www.cerazine.net