주요 등록특허 공개내용 (2011년 2월 1일~2011년 2월 28일)
금속 표면 및 콘크리트 표면 코팅에 사용되는 세라믹 플라스틱
세라믹스의 조성물 제조방법
등록번호|10-1016172-0000 출원번호|10-2010-0112287특허권자|(주)한국스틸코트 발 명 자|장인호
본 발명은 금속 표면 코팅에 사용되는 세라믹 플라스틱 세라믹스(CPC:Ceramic Plastic Ceramics)의 조성물 제조방법에 관한 것으로, 보다 상세하게는 패각 분말을 기본재료로 하여 여기에 파인세라믹 분말을 첨가하고, 개질 폴리에틸렌 분말을 첨가하여 패각 분말과 개질 된 폴리에틸렌분말과 파인 세라믹분말을 미립자화 하여 보다 향상된 조성물을 제조하고 열 용사 코팅장치를 이용해 강관 류 및 콘크리트 표면에 코팅하는 것이다. 본 발명은 지하에 매립되거나 바다 속에 매장되는 패각을 분말화 하여 세라믹 분말과 폴리에틸렌 분말을 혼합함으로 열 용사 코팅장치에 사용되며, 코팅의 효율을 높임과 패각을 재활용하여 환경오염을 방지와 폐기처리 비용을 줄여주는 효과를 제공하며, 철의 표면에 발생 되는 부식층에 관계없이 용융코팅이 가능하므로 철의 표면에 쇼트 등을 생략하는 효과가 있으며, 이러한 장점으로 인해 본 원료를 기반으로 하여 모든 철 구조물, 상수도관, 가스관, 도복장, 강관파일, 오일 관 등의 모든 방수와 콘크리트 구조물에 코팅을 적용시키는 효과를 제공한다.
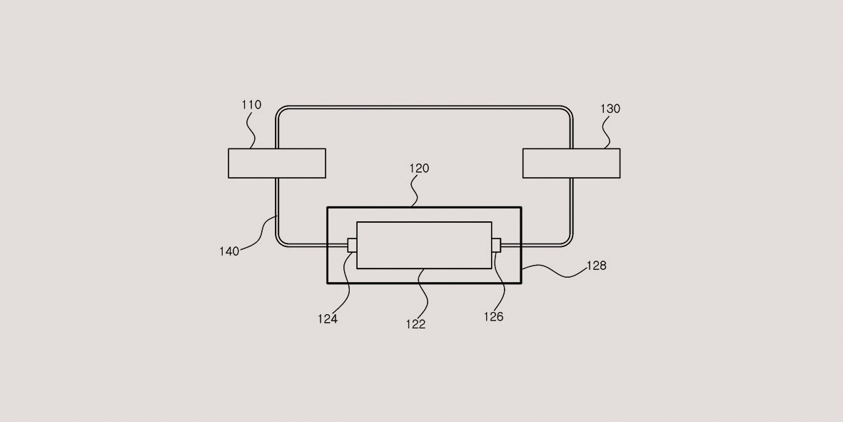
파인세라믹 조성물을 가지는 냉온매체 주머니
등록번호|10-1019174-0000 출원번호|10-2010-0069529특
허권자|강성모 발 명 자|강성모
본 발명은 파인세라믹(fine ceramic) 조성물을 가지는 냉온매체 주머니에 관한 것으로, 내부에 냉온매체가 수용되는 주머니 본체와, 주머니 본체 내에 수용되는 파인세라믹 조성물을 포함하며, 파인세라믹 조성물은, 무수규산 45 내지 50중량%, 산화알미늄 20 내지 25중량%, 산화제1철 5 내지 7중량%, 산화제2철 5 내지 7중량%, 산화마그네슘 2 내지 4중량%, 산화칼슘 1 내지 3중량%, 나트륨 2 내지 4중량%, 칼륨 3 내지 5중량%, 지단 0.1 내지 0.5중량%, 무수인산 0.1 내지 0.5중량%, 산화망간 0.1 내지 0.5중량% 및 기타성분 0.5 내지 1.5중량%로 이루어진 것을 특징으로 하며, 이러한 구성의 파인세라믹 조성물은 인체에 최적합 모형의 파장대로서 에너지가 방사되도록 가공되어 체질에 관계없이 적용이 가능하며 고순도원료 분리정제가 가능할 뿐만 아니라 장기간동안 지속성 및 동일방사가 유지되어 반영구적이라 할 수 있고 다공성 및 용존산소를 증가시킬 수 있는 장점이 있다.
수열합성 공정에 의한 비연계 압전세라믹 분말 합성 방법
등록번호|10-1015375-0000 출원번호|10-2010-0020427특허권자|한국기계연구원 발 명 자|전재호 외 1명
본 발명은 수열합성 공정에 의한 비연계 압전세라믹 분말 합성 방법에 관한 것이다. 본 발명의 실시 예에 의한 수열합성 공정에 의한 비연계 압전세라믹 분말 합성 방법은, (K0.5Na0.5)NbO3 비연계 압전세라믹 분말 합성 방법에 있어서, NaOH 분말과 KOH 분말을 증류수에 혼합시켜 용액상태로 만들고 소량의 Nb2O5 분말을 첨가한 다음, 설정시간 및 설정온도로 수열합성 반응기에서 반응시킨 후 건조하는 것에 의해 이루어진다.
세라믹 적층체 모듈 및 그 제조방법
등록번호|10-1015709-0000 출원번호|10-2009-0060243특허권자|삼성전기주식회사 발 명 자|황규만 외 2명
본 발명은 세라믹 적층체 모듈 및 그 제조방법에 관한 것으로, 서로 다른 면적을 갖는 상,하부 세라믹 시트부가 적층된 세라믹 적층체 상기 세라믹 적층체의 하면에 실장되는 전자부품 및 내부에 상기 전자부품이 실장된 세라믹 적층체를 수용하는 수용공간이 구비되고 상기 전자부품이 삽입되는 관통홀이 구비된 히트 싱크를 포함하는 세라믹 적층체 모듈 및 그 제조방법을 제공한다.
어레이 구조를 갖는 표면실장형 고압 세라믹 커패시터
등록번호|10-1018935-0000 출원번호|10-2009-0023601특허권자|오영주 발 명 자|오영주
본 발명은 다수개의 커패시터를 어레이(array) 구조로 형성함으로써 인쇄회로기판에 실장 시 다수개의 커패시터를 동시에 실장이 가능하도록 하여 실장공수를 줄임으로써 실장작업의 생산성을 개선시킬 수 있는 어레이 구조를 갖는 표면실장형 고압 세라믹 커패시터에 관한 것으로, 본 발명의 어레이 구조를 갖는 표면실장형 고압 세라믹 커패시터는 세라믹부재(11)와 세라믹부재(11)의 일면에 형성되는 공통전극부재(12)와 세라믹부재(11)의 타면에 배열되어 형성되는 다수개의 개별전극부재(13)와 공통전극부재(12)에 연결되는 공통리드단자(14)와 공통리드단자(14)와 마주대하도록 개별전극부재(13)에 각각 연결되는 다수개의 개별리드단자(15)와 세라믹부재(11)와 공통전극부재(12)와 다수개의 개별전극부재(13)를 밀봉하는 몰딩부재(16)로 구성됨을 특징으로 한다.
세라믹-금속 나노복합체를 이용한 박막 내장형 저항체 
등록번호|10-1016729-0000 출원번호|10-2009-0014518특허권자|성균관대학교산학협력단, 삼성전기주식회사
발 명 자|서수정 외 10명
본 발명은 열안정성이 우수하며 높은 저항값을 가지는 세라믹-금속 나노복합체를 이용한 박막 내장형 저항체 및 이의 제조방법에 관한 것이다. 본 발명의 박막 내장형 저항체는 세라믹-금속 나노복합체를 이용하여 제조됨으로써 산화 구조로 인해 산화의 영향을 적게 받아 우수한 열안정성을 나타낼 뿐만 높은 저항값을 나타내어 회로의 집적도를 높인 저항 내장형 인쇄회로기판 등에 사용될 수 있다.
다층 세라믹 기판, 다중 전극을 갖는 도전성 비아 형성 방법 및
이를 이용한 다층 세라믹 기판의 제조방법
등록번호|10-1018100-0000 출원번호|10-2009-0001227특허권자|삼성전기주식회사 발 명 자|박성열
본 발명은 다층 세라믹 기판, 다중 전극을 갖는 도전성 비아 형성 방법 및 다층 세라믹 기판의 제조방법에 관한 것으로, 본 발명의 일 실시 형태에 따른 다층 세라믹 기판은, 복수의 세라믹층이 적층된 세라믹 적층체 상기 복수의 세라믹층 중 적어도 일부 세라믹층에 형성된 적어도 하나 이상의 도전성 비아 및 도전성 라인으로 이루어진 회로부를 가지며, 상기 도전성 비아 중 적어도 하나는, 해당 도전성 비아의 비아홀 내벽의 다른 영역에서 서로 전기적으로 절연되도록 이격되며, 상기 세라믹층의 두께방향을 따라 형성된 복수의 비아 전극요소를 가짐으로써, 하나의 도전성 비아로 다중 신호 라인을 형성할 수 있다.
납땜 구조체, 세라믹 히터 및 글로우 플러그 
등록번호|10-1016977-0000 출원번호|10-2008-7001895특허권자|쿄세라 코포레이션 발 명 자|마루야마타카히로
외주면의 일부에 메탈라이즈층이 형성된 막대형상의 세라믹체와, 상기 세라믹체의 일부가 삽입된 통형상 금속 피팅을 구비하고, 상기 통형상 금속 피팅의 내주면과 메탈라이즈층을 땜납재에 의해 납땜한 세라믹 히터이며, 세라믹체는 한쪽의 단부가 통형상 금속 피팅 내에 위치하고, 메탈라이즈층보다 한쪽의 단부측에 위치하며, 또한 한쪽의 단부측을 향함에 따라서 지름이 작아지도록 형성된 축경부를 갖고, 상기 축경부의 일부와 축경부에 대향하는 통형상 금속 피팅의 내주면 사이에는 땜납재가 충전되어 있다. 이것에 의해 고온, 고압력하 등의 가혹한 조건하에서도 내구성이 뛰어나고 신뢰성이 높은 납땜 접합을 갖는 세라믹 히터 등의 납땜 구조체로 할 수 있다.
감광성 세라믹 시트를 이용한 미세유체 연료전지 소자 및
그 제조 방법
등록번호|10-1015-2160000 출원번호|10-2008-0133004특허권자|한국세라믹기술원 발 명 자|윤영준 외 4명
본 발명은 감광성 세라믹 시트를 이용한 미세유체 연료전지 소자 및 그 제조 방법에 관한 것으로, 보다 상세하게는 미세채널에서 발생하는 층류(laminar flow) 형성에 따라 전해질 분리막 없이 구현가능하며, 직렬 및 병렬로 적층함으로써 출력밀도를 향상한 감광성 세라믹 시트를 이용한 미세유체 연료전지 소자의 제조 방법에 관한 것이다. 이를 위하여 본 발명은 LTCC(저온동시소성 세라믹, Low temperature co-fired ceramic) 기판을 제작하는 단계 적어도 하나 이상의 감광성 세라믹 시트를 제작하는 단계 감광성 세라믹 시트에 산화제 및 연료가 흘러들어갈 수 있도록 미세 채널을 형성하는 단계 연료의 변환 및 전자의 흐름을 제어하도록 전극을 형성하여 단위 셀을 형성하는 단계 및 단위 셀로 형성된 시트를 적층하는 단계를 제공한다. 본 발명에 의하면 세라믹 기판 및 시트를 이용함으로써 열적안정성 및 내화학성 등 내구성이 좋으며, 적층 및 소자 내장화가 용이한 LTCC 방식의 특성상 수평 및 직렬 조합으로써 3차원 적층이 가능하므로 출력밀도를 높일수 있다.
밀링 장치 및 밀링 장치용 세라믹 필터의 제조방법
등록번호|10-1018209-0000 출원번호|10-2008-0124182특허권자|삼성전기주식회사 발 명 자|전병진 외 3명
본 발명에 따른 밀링 장치는 일정 크기로 해쇄하기 위한 대상물을 저장하는 배출부 내부에 다공성 세라믹을 구비하는 필터부를 포함하고, 상기 배출부로부터 전달받은 상기 대상물을 상기 필터부를 통과시켜 일정 크기로 해쇄하는 해쇄부 및 상기 해쇄된 대상물을 전달받아 저장하는 저장부를 포함한다. 또한, 본 발명에 따른 밀링 장치용 세라믹 필터의 제조방법은 증류수에 알루미나 분말을 혼합하여 슬러리를 제조하는 단계 상기 슬러리에 가연성 제조분말을 혼합하여 캐스팅할 수 있는 점도를 유지하도록 교반하는 단계 교반 후 상기 슬러리를 필터 몰드에 주입하며, 겔 상태의 필터로 만들기 위해 저온 가열하여 수분을 제거하는 단계 및 상기 겔 상태의 필터를 저온 건조한 후, 상기 가연성 제조분말을 가소하고 소성시키는 단계를 포함한다.
세라믹 패키지 및 이를 구비하는 헤드램프 모듈
등록번호|10-1018191-0000 출원번호|10-2008-0119183특허권자|삼성엘이디 주식회사 발 명 자|이영진 외 1명
본 발명은 구조가 간단하고, 기판 상에 접합된 세라믹 패키지로부터 열방출이 원활하게 이루어지도록 하여 방열특성을 향상시킴으로써 광효율을 극대화할 수 있는 헤드램프용 세라믹 패키지 및 이를 구비하는 헤드램프 모듈을 제공한다.
비늘형 세라믹 타일을 적용한 하이브리드 개인용 방탄복![]()
등록번호|10-1014407-0000 출원번호|10-2008-0064479특허권자|한국과학기술원 발 명 자|김천곤 외 2명
이 발명은 원형 형태의 다수의 세라믹 타일의 일부분을 직물에 고정시켜 방호층을 형성하는 개인용 방탄복으로서, 표면을 4등분하는 가상의 수평선과 수직선을 그을 경우, 전면의 수평선 상부면과 후면의 수평선 하부면에 두께방향으로 단차진 계단형 단면부를 각각 갖는 다수의 세라믹 타일을 서로 간에 계단형 겹치기 방식으로 정렬 배열함으로써 구성된다. 이 발명은 비늘형 세라믹 타일을 계단형 겹치기 방식으로 채택 구성함으로써, 기존의 방탄복에 비해 착용자의 운동성을 향상시킬 수 있으며, 다중탄환의 피탄시에나 경사각의 탄환에 대해서도 관통확률을 감소시킬 수 있고, 또한 신체 부위별 위협도에 따라 두께를 조절한 세라믹 타일을 적용하여 효율적으로 방탄성능을 유지할 수 있도록 설계 구성함으로써, 전반적인 착용자의 생존성 향상을 기대할 수 있다.
기사를 사용하실 때는 아래 고유 링크 주소를 출처로 사용해주세요.
https://www.cerazine.net