(2010년 1월 1일~1월 31일)
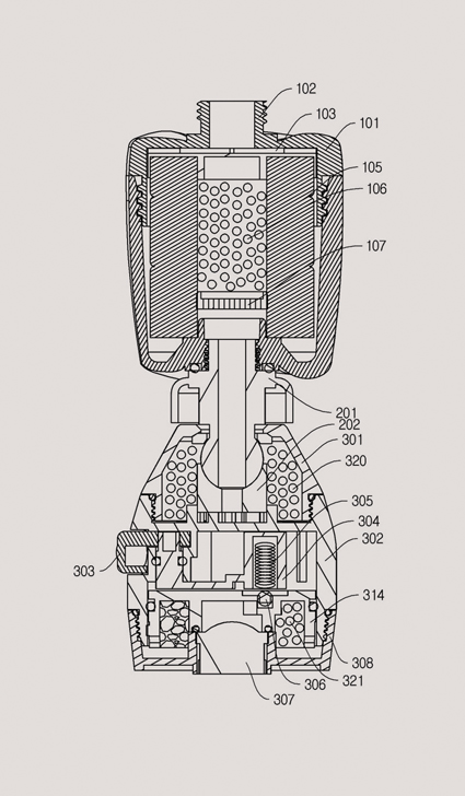
기능성 세라믹 볼이 구비된 수전 부착형 정수장치
등록번호|10-1011795-0000 출원번호|10-2010-0107564특허권자|(주)웰로스코리아 발 명 자|김동규
본 발명의 수전 부착형 정수장치는 수전 연결홀 및 분사 조절부 연결홀이 형성된 투명한 재질의 필터 하우징과, 필터 하우징 내부의 공간에 설치된 원통형의 필터와, 필터의 하부를 고정시키는 필터 후단 가이드와, 필터의 상부를 밀폐시켜 물이 필터의 외부에서 내부 방향으로 이동하게 하는 필터 전단 가이드와, 원통형 필터의 내부에 충진되어 물에 용해된 염소를 제거하는 제1세라믹 볼로 이루어진 필터부 분사 조절부 연결홀에 연결되고, 필터부에서 유입된 물이 통과하는 상호 연결부; 및 상호 연결부에 연결되고, 유입된 물 입자를 분쇄하여 배출하는 분사 조절부를 포함하는 것을 특징으로 한다.
세라믹 분말을 이용한 수질개선 및 인공어초용 블럭 및 
이의 제조방법
등록번호|10-1008822-0000 출원번호|10-2010-0081787특허권자|(주)한동알앤씨, 한국신기술산업(주), 에스씨종합건설(주)
발 명 자|천기화 외 1명
본 발명은 해양식물의 서식처를 제공함과 동시에 해양 및 해저면의 생태계를 보전하는데 사용하는 인공어초용으로 사용되는 블럭과 이의 제조방법에 관한 것으로, 본 발명에 따른 수질개선 및 인공어초용 블럭은 마그네사이트 분말 40~70wt%, 감마형 알루미나분말 10~20wt%, 나노(nano)미터 크기인 은 분말 3~10wt%에 결합제로 황토 또는 벤토나이트분말 5~15wt% 및 규조토 분말 5~15wt%이 혼합하고, 상기 혼합물 100중량부에 대하여 목분 또는 톱밥 20~40중량부를 함유시켜 성형체를 제조한 후 건조시킨 다음 소성가공하면, 목분 또는 톱밥이 고온에 의해 완전 연소되면서, 몸체 내부를 다공질로 만들게 되고, 이 다공질의 기공이 생태통로를 이루게 되어, 각종 해조류나 어패류 등이 상기 생태통로에 뿌리를 내리게 함으로써 쉽게 부착하며 잘 떨어지지 않고 생장할 수 있게 하는 한편, 수질도 개선할 수 있게 하는 효과를 얻을 수 있다.
세라믹 분말을 이용한 수질개선 및 인공어초용 블럭 및
이의 제조방법
등록번호|10-01008310-0000 출원번호|10-2010-0080478특허권자|김선기, 조인셋 주식회사 발 명 자|김선기 외 2명
외부의 환경으로부터 외부로 노출된 금속의 리드 와이어를 경제성 있고 신뢰성 있게 절연하는 세라믹 칩 어셈블리가 개시된다. 상기 어셈블리는, 전기적 특성을 갖는 세라믹 베이스; 상기 세라믹 베이스의 쌍을 이루어 대향하는 면에 각각 형성된 외부전극; 일단이 상기 외부전극 각각에 전기전도성 접착수단에 의해 전기적 및 기구적으로 연결되는 단심의 금속 리드 와이어; 상기 금속 리드 와이어의 타단이 외부로 노출되도록 상기 세라믹 베이스, 외부전극, 그리고 상기 금속 리드 와이어의 일단을 밀봉하는 절연 봉지재; 및 상기 절연 봉지재와 상기 절연 봉지재로부터 노출되는 상기 금속 리드 와이어 일부에 걸쳐 연속하여 형성된 절연 폴리머 코팅층을 포함하며, 상기 절연 폴리머 코팅층은, 이에 대응하는 액상의 절연 폴리머 수지에 상기 절연 봉지재와 상기 금속 리드 와이어의 일부를 디핑(Deeping)하여 꺼낸 후 도포된 상기 액상의 절연 폴리머 수지를 경화 공정에 의해 경화하여 형성하고, 상기 금속 리드 와이어의 타단 부분에 인접한 부위에 형성된 상기 절연 폴리머 코팅층의 두께는 상기 절연 봉지재에 인접한 부위에 형성된 상기 절연 폴리머 코팅층의 두께와 다르게 형성된다.
세라믹 코어를 갖는 수직 원심 주조기 및 세라믹 코어를 이용한
수직 원심 주조 방법
등록번호|10-1011331-0000 출원번호|10-2010-0076330특허권자|홍선영, 김영철 발 명 자|김영철 외 3명
본 발명은 세라믹 코어를 갖는 수직 원심 주조기 및 세라믹 코어를 이용한 수직 원심 주조 방법에 관한 것으로서, 본 발명에 따른 본 발명에 따른 세라믹 코어를 이용한 수직 원심 주조 방법은 회전을 통해 원심력을 발생시키는 동력부 상부에 면판을 설치하는 단계, 상기 면판 위에 내부 공간을 갖는 링 형상의 금형을 설치하는 단계, 상기 금형의 내경에 내부 공간을 갖는 링 형상의 세라믹 코어를 설치하는 단계, 상기 동력부를 이용하여 상기 금형 및 상기 세라믹 코어를 회전시키면서 상기 세라믹 코어가 설치된 상기 금형의 내부 공간에 용탕을 주입하여 1차 성형 주조 제품을 제조하는 단계, 합체된 상기 세라믹 코어와 상기 1차 성형 주조 제품을 상기 금형으로부터 분리하는 단계, 상기 1차 성형 주조 제품으로부터 상기 세라믹 코어를 분리 해체하는 단계, 그리고, 상기 1차 성형 주조 제품을 형상 가공 처리 및 열처리하여 링형 내열 합금강 주조 제품을 완성하는 단계를 포함한다.
세라믹 다층 기판의 제조 방법
등록번호|10-1011196-0000 출원번호|10-2008-7004158 특허권자|가부시키가이샤 무라타 세이사쿠쇼
발 명 자|카와무라아키요시 외 3명
정확하고 또한 용이하게 세라믹 다층 기판을 제조할 수 있는 세라믹 다층 기판의 제조 방법을 제공한다. 복수의 미소성 세라믹 기재층(12)을 적층해서 이루어지는 미소성 세라믹 적층체를 형성하는 제1공정과, 미소성 세라믹 적층체를 소성해서 미소성 세라믹층을 소결시키는 제2공정과, 미소성 세라믹 적층체의 소성에 의해 형성된 소결이 끝난 세라믹 적층체를 브레이킹해서 세라믹 다층 기판을 인출하는 제3공정을 구비한다. 제1공정에 있어서 적층되는 세라믹 기재층(12)에 브레이크 라인에 걸쳐 소성시에 소실될 수 있는 브레이킹용 패턴을 형성해 둔다. 제3공정에 있어서, 소결이 끝난 세라믹 적층체에 제2공정의 소성시에 브레이킹용 패턴이 소실되어 형성된 공극을 통과하는 절단면을 형성해서 세라믹 다층 기판을 인출한다.
용융탄산염 연료전지용 다공성 전극 표면의 세라믹 코팅 방법 
등록번호|10-1008091-0000 출원번호|10-2008-0137524특허권자|두산중공업 주식회사 발 명 자|윤주영 외 8명
본 발명은 용융탄산염 연료전지용 다공성 전극 표면의 세라믹 코팅 방법에 관한 것으로, 더욱 상세하게는 단위전지 혹은 그 단위전지가 적층된 스택에 장착되는 각 전극의 매트릭스와 접하는 표면부를 매트릭스의 재료인 세라믹을 이용하여 표면부에만 얇게 코팅함으로써 전극과 매트릭스의 접촉면적을 극대화하여 전지의 저항을 감소시키며 전지의 성능을 증가시킬 뿐만 아니라 전극 내 반응기체가 매트릭스로 유입되는 것을 차단하여 매트릭스의 장기 안정성 효과를 가지는 용융탄산염 연료전지용 다공성 전극 표면의 세라믹 코팅 방법에 관한 것이다.
다이아몬드막으로 코팅된 세라믹 몸체 및 그 제조방법
등록번호|10-1012091-0000 출원번호|10-2008-0121295특허권자|한국과학기술연구원 발 명 자|백영준 외 2명
본 발명은 (1)세라믹 몸체의 표면에 화학반응을 일으켜 반응 잔류물을 포함하는 표면층을 형성하는 단계 (2)상기 세라믹 몸체의 표면층에 포함된 반응 잔류물을 제거하여 불규칙한 요철 모양의 표면층을 형성시키는 단계 및 (3)상기 불규칙한 요철 모양의 표면층에 다이아몬드막을 증착시키는 단계를 포함하는, 다이아몬드막이 코팅된 세라믹 몸체의 제조방법에 관한 것이다.
센서 및 액추에이터용 비납계 압전 세라믹
조성물 및 그 제조방법
등록번호|10-1012143-0000 출원번호|10-2008-0108951특허권자|한국전기연구원 발 명 자|김민수 외 4명
본 발명은 납이 함유되지 않은 비납계 압전 세라믹 조성물과 그의 제조방법에 관한 것으로서, 보다 상세하게는 센서 및 액추에이터에 적용될 수 있는 우수한 전기기계결합계수 및 압전특성을 지닌 납이 함유되지 않은 압전 세라믹 조성물 및 그 제조방법에 관한 것이다. 본 발명의 압전 센서 및 액추에이터용 비납계 압전 세라믹 조성물은 x Na(Nb0.8Ta0.2)O3-yK(Nb0.8Ta0.2)O3-z Li(Nb0.8Ta0.2)O3의 분말 1mol 대비 a mol의 비율로 Li2CO3 가 첨가된 조성을 갖되, 상기 x는 0.47 이상 0.53이하이고, y는 0.98-x이고, z는 0.02이며, a는 0.01이다. 보다 바람직하게는 상기 x는 0.51이다.
마그네슘 스트립 캐스팅용 세라믹 노즐 제조 방법 및
이를 사용하여 형성된 마그네슘 스트립 캐스팅용 세라믹 노즐
등록번호|10-1009036-0000 출원번호|10-2008-0092721특허권자|재단법인 포항산업과학연구원, 주식회사 포스코
발 명 자|이석근 외 1명
마그네슘 스트립 캐스팅용 세라믹 노즐 제조 방법 및 이를 사용하여 형성된 마그네슘 스트립 캐스팅용 세라믹 노즐에서, 세라믹 파이버, 무기 바인더 및 유기 바인더의 혼합물을 물에 배합하여 조성물을 형성한다. 이어서, 조성물에 진공 성형법을 적용하여 보드 형태의 세라믹 성형 원판을 제조한다. 그 후, 세라믹 성형 원판의 테두리와 표면을 노즐 형상으로 가공하여 마그네슘 스트립 캐스팅용 세라믹 노즐 제조한다. 본 발명의 실시예들에 따르면 마그네슘 스트립 캐스팅용 세라믹 노즐은 마그네슘 용탕에 대한 내식성 및 단열성이 우수하고 기계적 강도가 높아서 마그네슘 스트립 캐스팅 공정에 적용시 수율을 향상시키고 불량률을 감소시킬 수 있다.
비전도성 타겟을 사용하는 스퍼터링에 의한 세라믹 박막의 증착
방법 및 그를 위한 장치
등록번호|10-1010716-0000 출원번호|10-2008-0072487특허권자|지에스나노텍 주식회사 발 명 자|남상철 외 6명
본 발명은, 세라믹 박막의 증착 속도 및 박막의 균일도를 향상시키기 위하여, 비전도성 재질로 만들어지는 타겟을 진공 챔버 내에 위치시킨 상태에서, 타겟에 교류 고주파 전원을 인가하여 챔버 내에 플라즈마를 형성시키고, 이어서 타겟에 교류 고주파 전원과 직류 전원을 혼성화시켜 인가함으로써, 진공 챔버 내에서 스퍼터링을 진행하여 진공 챔버 내에 위치하는 기판 위에 세라믹 박막을 증착하는 스퍼터링에 의한 세라믹 박막의 증착방법을 제공한다.
내벽을 금속
성 혹은 전도성 물질로 감싼 세라믹 패키지를
이용한 콘덴서 마이크로폰
등록번호|10-1008399-0000 출원번호|10-2007-0088962특허권자|주식회사 비에스이 발 명 자|박성호 외 1명
본 발명은 MEMS 마이크로폰 칩 및 회로부가 상부에 장착된 기판 상기 기판의 상부에 장착되고, 상기 MEMS 마이크로폰 칩 및 회로부를 둘러싸는 링(Ring) 형태의 패키지 상기 패키지 내벽에 부착되고 전도성 물질로 제작된 링 형태의 삽입부 및 상기 패키지를 완전히 덮고 소리가 통과할 수 있는 음향홀이 뚫린 상판을 포함하는 콘덴서 마이크로폰를 개시한다. 추가적으로, 본 발명은 MEMS 마이크로폰 칩 및 회로부가 상부에 장착된 기판 상기 기판의 상부에 장착되고, 상기 MEMS 마이크로폰 칩 및 회로부를 덮으며, 소리가 통과할 수 있는 음향홀이 뚫린 패키지 및 상기 패키지 내벽에 부착되고, 전도성 물질로 제작된 삽입부를 포함하는 콘덴서 마이크로폰를 개시한다.
수용화 액상 나노세라믹을 함유하는 친환경 수용성 방청코팅조성물
등록번호|10-1010323-0000 출원번호|10-2009-0025749특허권자|정재헌 발 명 자|정재헌 외 3명
본 발명은 수용화 액상 나노세라믹을 함유하는 수용성 코팅조성물에 관한 것, 구체적으로는 졸-겔반응에 의하여 생성되는 수용화 액상 나노세라믹, 물과의 상용성이 우수한 수지, 방청성이 우수한 무기금속 등을 함유하여 금속의 표면에 우수한 방청성을 부여하는 수용성 코팅조성물에 관한 것으로서, 본 발명에 따르면 수용화 액상 나노세라믹 5∼30중량%, 실란커플링제 1∼5중량%, 세라믹첨가제 5∼25중량%, 무기금속 1∼10중량%, 수용성수지 5∼40중량% 및 잔부의 용매를 포함하는 수용성 코팅조성물이 제공된다.
기사를 사용하실 때는 아래 고유 링크 주소를 출처로 사용해주세요.
https://www.cerazine.net