(2010년 12월 1일~12월 31일)
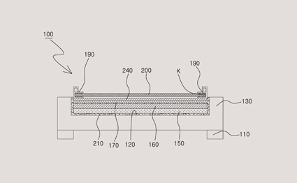
원적외선 방사 맥섬석 세라믹을 갖는 숙면침대
등록번호|10-1006789-0000 출원번호|10-2010-0085741특허권자|맥섬석 지.엠. 주식회사 발 명 자|곽성근 외 1명
목재 또는 금속재질로 구성된 지지부 상측에 일정한 깊이로 안치 공간부가 형성되는 프레임과, 상기 프레임의 안치 공간부 내부에는 쿳션역할을 수행하는 내화 및 단열 보료를 개재하여 발열판이 순차로 적층되며, 상기 발열판 상측에는 발열판의 전자파를 차단하는 동판과, 상기 동판의 상부에는 실리콘 튜브의 틈새부 사이에 일정한 크기의 맥섬석 세라믹의 모서리부가 내삽 고정토록 설치되는 맥섬석 세라믹 침대에 있어서, 상기 지지부 상측에 일정한 깊이로 형성되는 안치 공간부의 내주면에는 일정 두께의 펠트(felt)층이 착설되며, 상기 발열판 상측에 적층되어 발열판의 전자파를 차단하는 동판의 저면(底面)에는 다수의 돌기부가 일체로 돌출 형성되어, 상기 발열판과 일정간격 이격되어 동판이 간접 가열되도록 설치되고, 상기 동판의 상부에는 쿳션층을 개재하여 맥섬석 세라믹이 적층토록 되며, 이때 상기 쿳션층의 상부 주연에 설치되어 맥섬석 세라믹의 모서리부가 내삽 고정토록 틈새부가 형성되는 실리콘 튜브의 틈새부 내부에는 일측으로 경사진 경사부가 형성되는 고정 돌기부가 형성되어, 상기 맥섬석 세라믹의 단부가 틈새부에 긴밀하게 내삽되어 유동을 방지하면서 고정토록 설치되며, 이때 상기 실리콘 튜브의 상단부에는 사각 걸림턱이 절곡 형성되고, 상기 동판 상부에 적층되어 침대를 구성하는 다수의 맥섬석 세라믹중 인체의 목부위 및 허리부에 위치되는 맥섬석 세라믹의 표피층 표면에는 항균 및 피부염 방지를 위한 금코팅부가 일정두께 형성되는 것을 특징으로 하는 원적외선 방사 맥섬석 세라믹을 갖는 숙면침대.
천연복합패각 세라믹을 포함하는 도료,이의 제조방법,
이를 코팅한 강관 및 강관말뚝
등록번호|10-1001577-0000 출원번호|10-2010-0055236특허권자|웰텍 주식회사 발 명 자|이성식 외 1명
패각의 아미노산(NH2)을 제거하는 공동화공정을 실시하는 단계(S1); 상기 아미노산이 제거된 패각에 올리고머 수지를 혼합 및 충진공정을 실시한 후, 분쇄공정을 실시하여 올리고머 충진 패각을 제조하는 단계(S2); 및 상기 올리고머 충진 패각에 바인더 및 가교제를 혼합하는 단계(S3)를 포함하고, 상기 S2 단계에서 혼합 및 충진공정은 상기 아미노산이 제거된 패각을 올리고머 수지에 혼합하여 밀폐한 후 3내지 20kg/cm2의 압력 하에 1내지 6시간 동안 50내지 120℃의 온도로 열을 가하는 것을 특징으로 하는 도료의 제조방법.
미분기의 오리피스 구조체용 세라믹 라이닝
등록번호|10-1005380-0000 출원번호|10-2010-0038837특허권자|김봉찬 발 명 자|김봉찬
본 발명은, 92 내지 93 중량%의 산화알루미늄(Al2O3), 3 내지 4 중량%의 이산화규소(SiO2), 0 초과 0.1 이하 중량%의 산화제이철(Fe2O3), 2 내지 3 중량%의 산화칼슘(CaO), 1 내지 2 중량%의 산화마그네슘(MgO), 0.1 내지 0.5 중량%의 산화칼륨(K2O), 0.1 내지 0.5 중량%의 산화나트륨(Na2O), 및 0 초과 0.1 이하 중량%의 산화티탄(TiO2)을 포함하는 세라믹 조성물을 일정 온도로 소결하여 형성되는 미분기의 오리피스 구조체용 세라믹 라이닝을 개시한다. 본 발명에 의하면, 고압의 공급관의 내측에 열적 안정성 및 내마모성이 최적화된 세라믹 라이닝을 설치 형성하여, 오리피스 구조체의 열화를 방지할 수 있고 고압의 미분탄과의 마찰에 의한 오리피스 구조체의 손상 및 파손을 방지함으로써, 오리피스 구조체의 수명을 보다 연장하여 미분탄을 보일러로 공급할 수 있다.
세라믹 기판의 전극패턴 형성방법
등록번호|10-1003615-0000 출원번호|10-2009-0048593특허권자|삼성전기주식회사 발 명 자|유원희 외 2명
본 발명은 세라믹 기판의 전극패턴 형성방법에 관한 것으로서, 세라믹 기판 상에 서로 이격된 복수의 도전성 접착패턴을 형성하는 단계; 상기 세라믹 기판 상에 상기 도전성 접착패턴을 덮는 도금 씨드층을 형성하는 단계 상기 도금 씨드층 상에 상기 도전성 접착패턴과 대응하는 부분을 노출시키는 감광막 패턴을 형성하는 단계 상기 감광막 패턴에 의해 노출된 상기 도금 씨드층 상에 도금층을 형성하는 단계; 상기 감광막 패턴을 제거하는 단계 및 상기 감광막 패턴이 제거되어 노출된 상기 도금 씨드층 부분을 식각하는 단계를 포함하는 세라믹 기판의 전극패턴 형성방법을 제공한다.
발광다이오드용 적층 세라믹 방열판 
등록번호|10-1006246-0000 출원번호|10-2009-0044303특허권자|에스브이에스 주식회사 발 명 자|임성한 외 2명
본 발명은 발광다이오드 패키지에 관한 것으로, 더욱 상세하게는 발광다이오드 칩의 동작 열을 효과적으로 발산시키기 위한 적층 세라믹 방열판에 관한 것이다.
본 발명에 의하면, 발광다이오드에서 발생한 열을 효율적으로 방출하기 위하여, 발광다이오드 칩이 실장되어 있는 회로기판과 결합하는 발광다이오드용 적층 세라믹 방열판에 있어서, 회로기판과 접하는 제1면과 상기 제1면과 평행한 제2면을 구비한 세라믹 몸체부 상기 발광다이오드 칩이 삽입될 수 있도록, 상기 세라믹 몸체부의 제1면과 제2면을 관통하여 형성된 캐비티 홀 상기 캐비티 홀의 표면으로부터 상기 세라믹 몸체부의 내부를 향해, 상기 몸체부의 제1면에 평행하게 형성된 제1방열(放熱)층 상기 제1방열층과 교차하도록, 상기 몸체부의 제1면으로부터 상기 세라믹 몸체부의 내부를 향해 형성된 방열(放熱) 비아 홀 및 상기 방열 비아 홀의 내부에 형성된 제2방열층을 포함하며, 상기 제1방열층 및 제2방열층의 열전도도는 각각 상기 세라믹 몸체부의 열전도도보다 높은 것을 특징으로 하는 발광다이오드용 적층 세라믹 방열판이 제공된다.
적층 세라믹 콘덴서
등록번호|10-2008007-2749 출원번호|10-2008-7015499특허권자|쿄세라 코포레이션 발 명 자|야마자키유이치 외 2명
본 발명은 유전체층을 박층화하여도 고온 부하 시험에서의 신뢰성이 뛰어난 적층 세라믹 콘덴서를 제공한다. 결정 입자 중에 포어(13)를 갖는 티탄산 바륨계 결정 입자(11)로 구성된 복수의 유전체층(5), 상기 유전체층(5) 사이에 형성된 복수의 내부 전극층(7), 및 상기 내부 전극층(7)에 전기적으로 접속된 외부 전극(3)을 구비하는 적층 세라믹 콘덴서에 있어서, 상기 티탄산 바륨계 결정 입자(11)가 코어부(11a)와 그 주위에 형성된 코어부(11a)보다 정방정의 비율이 낮은 셸부(11b)로 구성된 코어셸 구조를 갖고, 또한, 상기 포어(13)가 주로 상기 코어부(11a)에 형성되어 있다.
세라믹-복합재 파이프 및 그 제조방법
등록번호|10-1005067-0000 출원번호|10-2009-0062457특허권자|(주) 씨에스피 발 명 자|박증규 외 2명
본 발명은 세라믹층과 복합재를 필라멘트 와인딩 공법을 통해 일체형으로 성형한 세라믹-복합재 파이프 및 그 제조방법에 관한 것이다.
이를 실현하기 위하여 본 발명은, 세라믹-복합재 파이프를 제조하는 방법으로서, (a)멘드렐의 표면을 이형처리하는 단계 (b)이형처리된 멘드렐의 표면상에 접착제를 도포하는 단계 (c)멘드렐의 외주면을 덮도록 복수의 세라믹타일을 배열하여 세라믹층을 형성하는 단계 (d)상기 세라믹층의 외주면에 접착제를 도포하는 단계 (e)필라멘트 와인딩 방법에 의해, 상기 접착제가 도포된 세라믹층의 외주면에, 고분자 수지에 함침된 연속섬유를 압착 와인딩하는 단계 (f)압착 와인딩된 연속섬유를 경화처리하는 단계 및 (g)멘드렐을 탈형하는 단계를 포함하는 것을 특징으로 하는 세라믹-복합재 파이프 제조방법을 제공한다.
인덕션 레인지의 히트 씽크 제조용 고분자 세라믹 다중벽-
탄소나노튜브 조성물 및 이를 제조하는 방법
등록번호|1009997380000 출원번호|10-2008-0119963특허권자|고려대학교 산학협력단 발 명 자|임상호 외 3명
본 발명은 인덕션 레인지의 히트 씽크 제조용 고분자 세라믹 조성물 및 이를 제조하는 방법에 관한 것으로, 각각 상이한 형태 및 상이한 크기를 갖는 세라믹 충전제 입자들 및 다중벽-탄소나노튜브(Muti-Walled Carbon Nanotube) 입자들을 저점도 고분자 수지에 분산시켜 열전도 고분자 복합체를 제조함으로써, 인덕션 레인지(Induction Range)에 사용되는 구리 코일을 진공몰딩(Vacuum Molding)시킬 수 있고 이로 인하여 별도의 냉각 장치 없이도 구리 코일에서 발생하는 열을 신속히 방출시킬 수 있도록 하는 발명에 관한 것이다.
환기겸용 바이오세라믹 공기청정기 .jpg)
등록번호|10-1001435-0000 출원번호|10-2008-0114475특허권자|장용기 발 명 자|장용기
본 발명은 환기겸용 바이오 세라믹 공기청정기에 관한 것으로, 필요시 신선한외기를 도입할 수 있는 전열교환식 외기도입구가 설치된 환기겸용 공기청정기에 관한 것이다.
실내발생 부유 오염분진이나 미생물, 가스, 냄새등을 다공질 바이오 세라믹 전열교환소자 겸용 필터로 여과 흡착하는 방식으로 실내오염원을 제거하며, 밀폐된 실내의 산소결핍 문제를 해결하기 위하여 필터겸용 전열교환소자로 폐열을 회수한 신선한 외기를 도입하여 쾌적한 실내 환경을 유지할 수 있는 것을 특징으로 하는 환기겸용 바이오세라믹 공기청정기가 제공된다.
내화성 세라믹 생성물을 제조하기 위한 방법,
용융물을 상기 생성물로 개질하기 위한 방법 및 상기 생성물의 용도
등록번호|10-2008004-3377 출원번호|10-2008-7007552특허권자|리프랙토리 인터렉추얼 프라퍼티 게엠베하 운트 코. 카게
발 명 자|드주리시스, 보로 외 1명
바람직하게 사용될 때, 내화성 성질로 제공되는 생성물, 특히 페이스트와 몰드된 부분은 특히, 강철 용융물(철 용융물), 비철 용융물(예를 들면, 구리 용융물), 유리 용융물, 또는 암석 용융물과 같은 용융물을 수용, 처리 및/또는 전달하기 위한 장치에서 사용되며, 상기 용융물들은 보통 1000℃부터 2000℃까지 온도 범위를 갖는다. 레이들 분석치는 내화성 생성물로부터 계량 방식으로 적어도 하나의 물질을 방출하는 것에 의해 특히 변경된다.
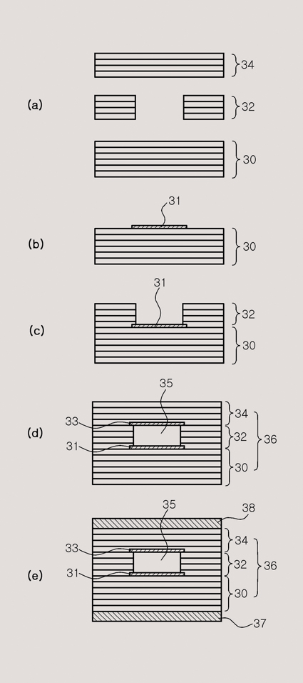
캐비티를
갖는 다층 세라믹 기판의 제조방법
등록번호|10-1004840-0000 출원번호|10-2008-0087825특허권자|삼성전기주식회사 발 명 자|추호성 외 2명
본 발명은 캐비티(cavity)를 가지는 다층 세라믹 기판의 제조방법에 관한 것으로, 캐비티를 형성하기 위한 개방부를 가지는 제1세라믹 적층체, 상기 제1 세라믹 적층체의 상하면에 각각 제공될 제2 및 제3세라믹 적층체를 마련하는 단계 상기 제2세라믹 적층체의 상면 중 적어도 상기 개방부에 대응되는 영역에 제1폴리머층을 형성하고, 상기 제3세라믹 적층체의 하면 중 적어도 상기 개방부에 대응되는 영역에 제2폴리머층을 형성하는 단계 상기 개방부 하부에 상기 제1 폴리머층이 위치하도록 상기 제2세라믹 적층체를 적층하는 단계 상기 개방부 상부에 상기 제2폴리머층이 위치하도록 상기 제3세라믹 적층체를 적층하여 원하는 다층 세라믹 적층체를 형성하는 단계 상기 제2 및 제3세라믹 적층체의 일면에 각각 제1 및 제2구속층을 접합하는 단계 및 상기 제1 및 제2구속층이 배치된 다층 세라믹 적층체를 소성하는 단계를 포함한다.
따라서, 본 발명은 캐비티가 형성된 저온 소결 세라믹(LTCC: Low Temperature Co-fired Ceramics) 기판의 강도를 개선하고, 내장 소자의 실장 가능한 유효 면적을 증가시킬 수 있다.
NaX 제올라이트를 코팅한 세라믹 페이퍼의 제조방법
등록번호|10-1004826-0
000 출원번호|10-2005-0061827특허권자|호서대학교 산학협력단 발 명 자|김익진 외 1명
본 발명은 NaX 제올라이트를 코팅한 세라믹 페이퍼의 제조방법에 관한 것으로 좀더 상세히는 1차로 세라믹 페이퍼를 NaX 제올라이트 슬러리에 함침시켜 NaX 제올라이트 결정(2~3㎛)의 침적을 통한 시드층(seed layer)을 형성시키고, 2차로 수열합성을 이용하여 상기 형성된 시드를 성장시키는 단계를 거치는 NaX 제올라이트를 코팅한 세라믹 페이퍼의 제조방법에 관한 것이다.
기사를 사용하실 때는 아래 고유 링크 주소를 출처로 사용해주세요.
https://www.cerazine.net