하폐수 처리시설의 화학적 침식된 토목구조물의 보수,
보강 및 콘크리트 표면보호와 방수, 방식을 위한 세라믹 및
고분자수지를 함유한 조성물 및 표면보호공법
등록번호|10-0986711-0000 출원번호|10-2010-0074142특허권자|알루텍 주식회사, 한토산업(주)
발 명 자|이상우 외 4명
본 발명은 외부환경에 의해 점차적으로 열화되는 하폐수 처리시설의 토목구조물에 대해, 그 손상원인물질을 원천적으로 차단함으로써 콘크리트 표면보호, 방수, 방식 및 보수, 보강을 위한 하폐수 처리구조물의 표면보호용 고분자 도료 조성물 및 이를 이용한 하폐수 처리구조물의 표면보호공법에 관한 것이다. 구체적으로, 본 발명은 상재하중과 각종 화학물질이 존재하는 가혹한 환경 하에 있는 하폐수 처리시설의 콘크리트 토목구조물의 방수, 방식 및 콘크리트 표면보호를 위한 도료용 고분자 조성물에 관한 것으로서, 더욱 상세하게는 환경호르몬인 휘발성 유기용제(VOC) 및 납, 크롬, 카드늄, 수은 등의 중금속이 발생하지 않아 환경친화적이고, 방수, 방식 및 콘크리트 표면보호 능력이 우수하며, 공기중 또는 수중에서 경화시간 조절이 가능하고, 콘크리트 구조물과의 접착력이 뛰어나 보수, 보강 효과까지 구비한 고분자 도료 조성물 및 이를 이용한 표면보호공법에 관한 것이다.
세라믹/폴리머 복합재를 이용한 칩 캐패시터 제조방법
등록번호|10-0992233-0000 출원번호|10-2008-0094859특허권자|삼성전기주식회사 발 명 자|김진철 외 1명
본 발명은, 세라믹 분말과 폴리머가 혼합된 복합재로 이루어진 유전체층과 그 유전체층의 양면 각각에 일정한 간격으로 형성된 제1 및 제2 내부 전극을 갖는 캐패시터 적층체를 마련하는 단계와, 상기 캐패시터 적층체의 양면에 절연성 물질로 이루어진 커버층을 형성하는 단계와, 상기 제1 및 제2 내부전극이 각각 노출되도록 상기 커버층이 형성된 상기 캐패시터 적층체에 적어도 하나의 제1 및 제2 관통구를 형성하는 단계와, 상기 제1 및 제2 관통구에 상기 제1 및 제2 내부전극에 각각 연결된 도금층을 형성하는 단계와, 상기 제1 및 제2 관통구에 형성된 도금층이 각각 제1 및 제2 외부단자으로 제공되도록 상기 결과물을 상기 제1 및 제2 관통구 위치를 따라 칩 단위로 절단하는 단계를 포함하는 칩 캐패시터 제조방법을 제공한다.
비납계 PTC 써미스터용 세라믹 조성물 및 이를 이용하여
제조되는 PTC 세라믹 써미스터
등록번호|10-0991391-0000 출원번호|10-2008-0101779특허권자|한국세라믹기술원, (주)하이엘
발 명 자|백종후 외 6명
본 발명은 납성분을 포함하지 않는 PTC 써미스터용 세라믹 조성물 및 이를 이용하여 제조되는 PTC 세라믹 써미스터에 관한 것으로, 납(Pb) 성분을 포함하지 않으며(Lead free) 상온에서 낮은 비저항을 가지고 130℃ 이상의 큐리온도(Tc)를 가지는 PTC 써미스터용 세라믹 조성물을 제공하고, 이를 이용하여 제조되는 PTC 세라믹 써미스터를 제공하는 발명에 관한 것이다.
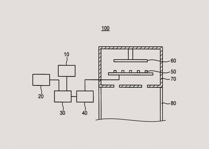
세라믹 코팅막 형성 장치
등록번호|10-0988175-0000 출원번호|10-2008-0072860특허권자|재단법인 철원플라즈마 산업기술연구원, 주식회사 코미코
발 명 자|김형인 외 4명
플라즈마 내성이 향상된 세라믹 코팅막 형성 장치는 세라믹 분말 제공부, 정량 공급부, 분산 유닛, 분출 유닛을 포함하는 구성 갖는다. 상기 세라믹 분말 제공부는 세라믹 분말을 수용하고, 상기 정량 공급부는 상기 세라믹 분말을 제공받아 균일하게 응집된 세라믹 분말을 형성한다. 상기 분산 유닛은 상기 응집된 세라믹 분말을 분쇄 및 분산시켜 에어로졸을 형성하고, 상기 분출 유닛은 피 코팅체에 상기 에어로졸을 고속 분출하여 상기 피 코팅체 표면에 기공 함량이 1% 이하인 세라믹 코팅막을 형성한다.
지지력이 강화되어진 칩 세라믹 전자부품 이송용 그립벨트 구조 
등록번호|10-0986973-0000 출원번호|10-2008-0082703특허권자|주식회사 엠티 발 명 자|성연우
본 발명은 지지력이 강화되어진 칩 세라믹 전자부품 이송용 그립벨트 구조에 관한 것으로 상세하게는 전자제품 제조에 사용되는 (SMD : Surface Mounted Device : 표면실장부품)타입의 전자부품 제조시 전자부품을 이송시키는 그립벨트(Grip belt)에 있어서, 금속재질로 이루어지고, 일정폭을 갖는 얇은 판형태로 형성되어지며, 표면에 다수개의 홀이 직사각형의 형상으로 그룹화 되어 다수개 형성되어지는 그립벨트와; 상기 그립벨트의 표면에 상기 홀을 덮으며 상기 홀을 관통하여 결합되어 중심에 전자부품이 삽입되어지는 삽입홀이 형성되어진 삽입부가 형성되어지며, 고무재질로 이루어지는 완충판을 포함하여 구성되어지는 것을 특징으로 하는 지지력이 강화되어진 칩 세라믹 전자부품 이송용 그립벨트 구조에 관한 것이다.
세라믹 시트의 제조 방법, 그것을 사용한
세라믹스 기판 및 그 용도
등록번호|10-0989304-0000 출원번호|10-2006-7018654특허권자|덴끼 가가꾸 고교 가부시키가이샤
발 명 자|데라오 료우 외 3명
원료의 과립화 공정 및 균일화 공정을 필요로 하는 리드 타임이 긴 생산 방법으로, 연토의 균일화가 불충분하면, 그린 시트의 밀도 편차가 발생하여, 소성 후의 세라믹스 소결체에 변형이나 휨이 발생하기 때문에, 회로 패턴 인쇄 불량이나 금속 회로판·방열판과의 접합 불량이 발생한다는, 종래의 압출 성형에 의한 세라믹 시트의 제조 방법의 문제를 해결한다.
강혼련 성능을 가진 2축 압출기와, 성형 안정성을 가진 1축 성형기를 조합한 압출 성형기를 사용함으로써, 종래와 동등하거나 또는 그 이상의 품질이 얻어지고, 게다가 생산 효율이 양호한 세라믹 시트의 제조 방법, 및 그것을 사용한 세라믹스 기판이 얻어진다.
공기정화용 세라믹필터 제조방법 및 그 세라믹필터 모듈 
등록번호|10-0992115-0000 출원번호|10-2008-0047942특허권자|강원대학교산학협력단 발 명 자|박영구 외 2명
본 발명은 공기정화용 세라믹필터의 제조 및 모듈에 관한 것으로, 더욱 상세하게는 알루미나, 산화마그네슘, 산화티탄, 복합금속산화물, PVA, EVA, 분산제, 무기바인더의 혼합물을 제조하는 단계와, 폴리머 필터(polymer filter)에 상기 혼합물을 접착하는 단계와, 일정온도 및 시간에서 건조하는 단계 및 소성하는 단계를 거쳐 이루어지는 공기정화용 세라믹 필터 제조방법과, 원통형의 모듈 내부에 필터를 설치하여 일측에서 유입된 가스가 필터 처리되어 타측에 설치된 팬을 통해 외부로 배기 되도록 구성되고, 그 필터는 가스가 유입되는 방향으로부터 헤파필터, 제1항의 제조방법에 의해 제조된 세라믹필터, AC필터가 순차적으로 설치된 공기정화용 세라믹 필터 모듈에 관한 것이다.
POSS를 포함하는 PET 하이브리드 나노복합체 및 이의 제조방법
등록번호|1009920610000 출원번호|10-2007-0097689특허권자|한국세라믹기술원 발 명 자|이동진 외 4명
본 발명은 고분자 나노복합체에 관한 것으로서, 더욱 상세하게는 POSS를 포함하는 PET 하이브리드 나노복합체에 관한 것이다. 본 발명은 무기 나노 입자인 POSS와 유기 고분자 물질인 PET의 결합력을 개선한 우수한 성능의 PET 하이브리드 나노복합체를 제공하는 것을 목적으로 한다. 본 발명에서는 1) PET 수지를 실란화합물로 그래프트 중합한 후 POSS를 분산시켜 제조한 나노복합체, 2) 개질형 PET 수지를 상용화제로 사용하여 제조한 나노복합체, 3) PET 나노복합체를 상용화제로 사용함으로써 PET 수지와 POSS의 분산성을 향상시킨 나노복합체를 제공한다. 본 발명의 POSS를 함유하는 PET 하이브리드 나노복합체는 모듈러스 및 난연성이 매우 우수한 특징이 있어 자동차 내장재 및 부품 등 다양한 분야에 폭넓게 적용할 수 있다.
무알카리 알루미나 붕규산염계 디스플레이 파유리를 원료로
하는 태양전지용 저철분 판유리 뱃지조성물
등록번호|10-0990875-0000 출원번호|10-2010-0063743특허권자|군산대학교산학협력단 발 명 자|김기동
본 발명은 박막트랜지스터 액정디스플레이에 사용하는 무알카리 알루미나 붕규산염계 유리를 원료로 하는 태양전지 기판 또는 덮개용 저철분 고투과 소다석회규산염계 판유리 뱃지조성물에 관한 것으로, 보다 상세하게는 태양전지용 저철분 소다석회규산염계 판유리 뱃지조성물에 있어서, 상기 뱃지조성물 중 규사, 규석 또는 규사와 규석의 혼합물을 100 중량부로 하였을 때, 소다회 32~36 중량부, 망초 0.5~1.5 중량부, 무알카리 알루미나 붕규산염계 디스플레이 파유리 3~24 중량부, 석회석과, 마그네사이트 및 백운석 중에서 선택되는 어느 하나를 포함하는 무알카리 알루미나 붕규산염계 디스플레이 파유리를 원료로 하는 태양전지용 저철분 소다석회규산염계 판유리 뱃지조성물을 제공한다. 이로부터, 박막트랜지스터 액정디스플레이 유리 제조공정에서 발생되어 그대로 폐기되는 파유리의 재활용 방안을 모색하고 이를 실제로 적용하도록 함으로써 폐기물의 발생을 경감할 수 있으며, 종래의 태양전지용 판유리 제조공정에서 사용되는 천연 또는 화학원료와 비교하여 보다 고품질의 유리 원료를 저렴하게 공급하도록 함으로써 유리 뱃지조성물의 제조단가를 낮추고 최종 유리제품의 물성을 향상시킬 수 있는 효과가 있다.
폐유리 분말을 이용한 유/무기 복합모르타르와 이를 이용한 
바닥 시공방법
등록번호|10-0988287-0000 출원번호|10-2010-0026481특허권자|권현오, 토림건설 주식회사
발 명 자|배기호 외 2명
본 발명은 폐유리 분말을 이용한 유/무기 복합모르타르와 이를 이용한 바닥 시공방법에 관한 것으로, 그 목적은 폐유리 분말을 골재로 하는 고내화성 모르타르를 형성하여, 바닥면의 표면강도와 내마모성 및 미끄럼 방지기능을 동시에 구비할 수 있는 폐유리 분말을 이용한 유/무기 복합모르타르와 이를 이용한 바닥 시공방법을 제공하는 것이다.
본 발명의 유/무기 복합모르타르는 알루미나 시멘트, 인조규사, 폐유리골재, 셀룰로스 파이버, 증점제, 고유동화재, 소포제, 촉진제, 지연제를 그 구성재료로 하는 바닥용 모르타르 80∼87wt%에 배합용액으로 Tg = 0~-10℃의 고분산성 수용성 EVA 폴리머 13∼20wt%가 배합되도록 되어 있다. 상기 바닥용 모르타르는 알루미나시멘트 20∼40wt%, 석고 5∼20wt%, 백시멘트 5∼20wt%, 인조규사 20∼40wt%, 셀룰로스 파이버 0.1∼1wt%, 폐유리분말 10∼20wt%, MC 0.1∼0.5wt%, 고유동화제 0.5∼1wt%, 소포제 0.3∼1wt%, 촉진제 0.1∼1wt%, 지연제 0.1∼1wt%를 포함하도록 되어 있다.
유무기 하이브리드 기능성 코팅제의 제조방법
등록번호|10-0986270-0000 출원번호|10-2010-0025770특허권자|(주)엔지텍 발 명 자|김종순 외 4명
본 발명은 천연추출물인 폴리페놀과 유무기 하이브리드 바인더를 이용한 기능성 코팅제에 관한 것으로서, 천연 추출된 폴리페놀과 나노 구리(Cu), 나노 은(Ag), 나노 아연(Zn), 나노 백금(Pt), 나노 골드(Au) 성분과, 첨가제, 유무기 하이브리드 바인더를 교반 합성하는 유무기 하이브리드 기능성 코팅제의 제조방법을 기술적 요지로 한다. 이에 의해 유무기 하이브리드 기능성 코팅제는 기본적으로 보호 코팅용 기능성뿐만 아니라 항균, 항곰팡이성, 항바이러스성에 대한 높은 효율을 나타내어 다양한 적용분야에 활용될 것으로 기대된다.
탄소 나노튜브 복합재료를 이용한 태양 전지 및 그 제조방법
등록번호|10-0988206-0000 출원번호|10-2008-0126663특허권자|한양대학교 산학협력단 발 명 자|김태환 외 4명
본 발명에 따른 태양 전지는 기판 상에 순차 형성된 하부 전극, 정공 수송층, 코어(core)-쉘(shell) 구조 나노입자가 부착된 탄소 나노튜브로 이루어진 활성층, 그리고 상부 전극을 포함한다.
기사를 사용하실 때는 아래 고유 링크 주소를 출처로 사용해주세요.
https://www.cerazine.net