주요 등록특허 공개내용
(2009년 7월 1일~7월 31일)
세라믹 허니컴 벽 유동성 필터
등록번호|10-0908800-0000 출원번호|10-2008-7017372특허권자|다우 글로벌 테크놀로지스 인크 
발 명 자|밴스 프레드릭 더블류 외 1명
본 발명은 하기 단계를 포함하는 방법에 의해, 점토로 이루어진 세라믹 허니컴 속의 채널을 플러깅함으로써 제조된 세라믹 허니컴 벽 유동성 필터에 관한 것이다. 1단계는, 분산액과 세라믹 분말로 이루어진 혼합물을 제조한다. 2단계는, 당해 혼합물을 점토로 이루어진 미가공 세라믹 허니컴의 하나 이상의 채널 속에 주입하여, 분산액이 필수적으로 점토를 팽창시키지 못하는 플러깅된 미가공 세라믹 허니컴을 형성한다. 추가로, 플러깅된 하소된 세라믹 허니컴을 형성하기 위해 하소된 세라믹 허니컴 속으로 당해 혼합물을 주입한다. 3단계는, 플러깅된 미가공 또는 하소 세라믹 허니컴을 플러깅된 미가공 세라믹 허니컴을 소결시키기에 충분한 온도로 가열하여, 다공성 소결된 플러깅된 세라믹 허니컴을 형성한다. 당해 방법은 채널 속에 플러그와 분리층을 동시에 만드는데 특히 유용하다. 구체적으로 당해 방법은, 분리층과 조성이 동일한 하나 이상의 말단 위에, 또는 조성이 상이한 각각의 말단 위에 플러그를 갖는 벽 유동성 필터를 만드는데 유용하다.
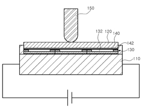
세라믹 패키지 밀봉 방법
등록번호|10-0910499-0000 출원번호|10-2007-0127294특허권자|삼성전기주식회사 발 명 자|안정환
본 발명은 세라믹 패키지 밀봉 방법에 관한 것으로, 캐비티를 갖는 세라믹 본체가 복수개 집합되어 서로 인접하여 어레이(array)를 이루도록 형성된 기판을 하부지그에 구비되는 안착홈에 안착하는 단계; 상기 기판과 대응되는 크기를 가지며, 상기 복수개의 세라믹 본체의 각 캐비티를 일체로 덮도록 상기 기판 상부에 리드(lid)를 올리는 단계; 상기 리드 위로 상부지그를 덮는 단계; 및 상기 하부지그에 전원을 인가하여 발생되는 열원에 의해 용융되는 접합제를 매개로 상기 기판과 리드를 접착하여 상기 복수개의 세라믹 본체에 형성된 각각의 캐비티를 일체로 밀봉하는 단계;를 포함하고, 상기 상부지그는 상기 하부지그의 안착홈과 대응되는 형태로 구비되어 상기 상부지그의 측면이 상기 하부지그의 안착홈 내벽과 접촉된다. 본 발명에 의하면 각각의 세라믹 본체에 형성되는 캐비티를 안정적으로 밀봉할 수 있고, 세라믹 패키지 밀봉시 열에 의한 손상도 줄일 수 있다.
수직형 발광 다이오드 및 그의 제조방법
등록번호|10-0907223-0000 출원번호|10-2007-0066714특허권자|한국광기술원 발 명 자|유영문 외 11명 
본 발명은 수직형 발광 다이오드 및 그의 제조방법에 관한 것으로서, 반도체층이 적층된 발광다이오드 상부에 본딩 금속층을 매개로 접합되고, 내부에 금속으로 충진되어 발광다이오드를 외부와 전기적으로 소통시키는 비아홀을 구비한 세라믹 기판을 포함한다. 이러한 발광 다이오드를 제조하는 방법으로서, 기판 위에 개별소자로 형성된 발광다이오드 상부에 금속으로 충진된 비아홀을 구비한 세라믹 기판을 접합하는 단계와, 상기 기판을 제거하고 세라믹 기판이 접합된 발광다이오드 개별소자를 분리하는 단계를 포함한다.
본 발명에 따르면, 발광 다이오드 상부에 도전성 기판 대신 비아홀을 구비한 세라믹 기판을 장착함으로써 가격대비 열전도율이 매우 우수하고, 질화갈륨 반도체층과 세라믹 기판 사이의 열팽창 계수를 최소화함으로써 소자의 신뢰성이 향상된 발광 다이오드를 얻을 수 있는 효과가 있다.
압전 발진기 및 그 제조 방법
등록번호|10-0910781-0000 출원번호|10-2002-7015725특허권자|엡슨 토요콤 가부시키가이샤
발 명 자|다카나시 히토시 외 5명
본 발명은 발진 회로나 온도 보상 회로를 구성하는 전자 부품을 탑재하는 배선 기판의 상부에, 기둥 부재를 사용하여 패키지화된 압전 진동자를 고정한 구성을 구비한 압전 발진기에 있어서, 기둥 부재의 치수 불균일이나 리플로 시에서의 기둥 부재 탑재 미스 등을 제거하여, 신뢰성이 높고 작업 효율이 우수한 압전 발진기를 제공하는 것을 목적으로 한다. 상면의 랜드 상에 발진 회로 및 온도 보상 회로를 구성하는 복수의 전자 부품을 탑재하는 동시에 외부 전극을 구비한 배선 기판과, 상기 배선 기판 상면에 고정한 기둥 부재를 통해 소정의 갭을 두고 고정된 수정 진동자를 구비한 수정 발진기이다. 또, 기둥 부재의 바닥부 전극을 배선 기판의 상면에 형성한 기둥 부재 고정용 패턴에 전기적 기계적으로 고정하고, 기둥 부재의 상부 전극을 수정 진동자의 바닥면 전극과 전기적 기계적으로 고정하고 있다.
박막 트랜지스터 제조장비의 전극판 재생방법 .jpg)
등록번호|10-0908227-0000 출원번호|10-2008-0008323 특허권자|(주)코리아스타텍 발 명 자|안경주
본 발명은 TFT 제조장비의 전극판 재생방법에 관련되며, 이때 TFT 제조장비의 전극판 제조장비 재생방법은 수회에 걸친 반복 재생(예컨대, 블라스트처리 및 약품세정으로 전극판 표면을 일부 절삭후 세라믹 용사처리하는 과정)사용으로 엠보싱 돌기가 낮아진 전극판을 회수하여 간편하게 재생하기 위해 입고검사단계, 블라스트단계, 제1검사단계, 엠보싱용사단계, 제2검사단계, 세라믹용사단계, 제3검사단계, 세정단계, 건조단계를 거쳐 이루어지는 것을 특징으로 한다. 이에 따라, 본 발명은 엠보싱 지그를 이용하여 전극판 바디상에 돌기를 용사층으로 형성함에 따라 수회에 걸친 재생작업으로 엠보싱 돌기가 변형 및 손상되더라도 전극판 바디를 전체적으로 교체하지 않고 간편하게 엠보싱 돌기를 신규 형성가능하므로 전극판의 수명이 반영구적으로 연장되고, 특히 엠보싱 돌기가 국부적으로 손상되더라도 손상부를 부분적으로 보수가 가능하여 유지관리에 따른 비용이 크게 절감되는 효과가 있다.
저온 소결용 나노글라스 분말 및 이의 제조방법
등록번호|10-0907455-0000 출원번호|10-2007-0098027특허권자|삼성전기주식회사 발 명 자|안선용 외 3명
본 발명은 저온 소결용 나노글라스 분말의 제조방법에 관한 것이다.
본 발명의 저온 소결용 나노글라스 분말의 제조방법은, 아연(Zn), 알루미늄(Al) 및 비스무스(Bi)의 출발원료를 준비하고, 상기 출발원료를 2-메톡시에탄올(2-methoxyetha
nol, 2MOE)에 용해시키는 단계; 상기 아연, 알루미늄 및 비스무스의 출발원료가 용해된 상기 2-메톡시에탄올 용액에 보론(B)의 출발원료를 첨가하는 단계; 상기 보론의 출발원료가 첨가된 용액에 실리콘(Si)의 출발원료를 첨가한 후, 일정 시간 반응시키고 암모니아수를 첨가하는 단계; 상기 암모니아수 첨가 용액을 일정시간 반응시켜 겔(gel)화 시키고, 상기 겔화된 결과물을 건조하는 단계; 및 상기 건조된 결과물을 열처리하여 나노 크기의 글라스 분말을 제조하는 단계;를 포함하며, 상기 저온 소성 자성체 세라믹 부품의 인덕턴스 용량과 품질계수가 향상되는 장점이 있으며, 저온 소결시의 은(Ag) 전극의 휘발을 억제할 수 있는 이점이 있다.
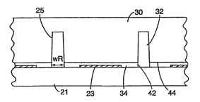
몰드를 사용하여 기판 상에 세라믹 마이크로 구조를 형성하는 방법 및 그 방법에 의해 형성되는 물건
등록번호|10-0909756-0000 출원번호|10-2004-7005160특허권자|쓰리엠 이노베이티브 프로퍼티즈 컴파니 
발 명 자|주성민 외 2명
장 벽부와 랜드부를 포함하는 마이크로 구조 조립체를 개시한다. 마이크로 구조들은 각각 장벽면 및 랜드면을 갖는 장벽부들과 랜드부들을 번갈아 갖는다. 각 장벽면 및 랜드면은 만곡부의 일부인 만곡면에 의해 접속된다. 만곡면 및 랜드면은 실질적으로 연속하다.
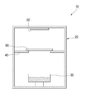
이동하중을 이용한 압전 발전기 및 이를 포함하는 발전기 시스템
등록번호|10-0909255-0000 출원번호|10-2008-0109793 특허권자|한국세라믹기술원 발 명 자|백종후 외 5명
본 발명은 사람, 자동차, 기차 등에서 발생하는 이동하중을 이용한 압전 발전기 및 이를 포함하는 발전기 시스템에 관한 것으로, 지면과 동일한 높이로 설치되어 상기 지면을 이동하는 물체에 의해 가해지는 압력을 상기 지면 하부로 전달하는 상판과, 상기 상판의 에지부를 지지하며, 상기 상판 하부에 발전 공간을 제공하도록 설치되는 고정박스와, 상기 발전 공간 내에 전해지는 압력을 받아 전력을 발생시키는 압전체를 포함하는 구조의 이동하중을 이용한 압전 발전기를 제조함으로써, 상황에 맞게 크기를 자유로이 조절하면서 발전기 제조를 용이하게 하고, 그 적용 범위를 확장시킬 수 있도록 하는 발명에 관한 것이다.
터치 패널과 그의 제조 방법
등록번호|10-0907809-0000 출원번호|10-2007-0056838특허권자|희성전자 주식회사 발 명 자|강지현
본 발명은 터치 패널과 그의 제조 방법에 관한 것으로, 마더 기판에 상부 기판 또는 하부 기판 중 적어도 하나를 배치한 이후에, 상부 기판 또는 하부 기판으로 터치 패널 제조 공정을 수행함으로써, 오염의 발생을 방지할 수 있는 효과가 있다. 또한, 본 발명의 일실시예에 따른 터치 패널의 제조 방법은 상부 기판 또는 하부 기판 중 적어도 하나를 강화유리를 사용하는 경우에도, 한 번의 공정으로 복수의 터치 패널을 형성할 수 있어서 제조 단가를 저감시킬 수 있다. 또한, 본 발명의 일실시예에 따른 터치 패널은 강화유리를 사용함으로써 강도가 향상되고, 두께가 얇아지는 효과가 있다. 본 발명의 일실시예에 따른 터치 패널의 제조 방법은 마더 기판(Mother Substrate)에 터치 패널용 기판을 고정하는 동작과, 터치 패널용 기판에 전극을 형성하는 동작 및 마더 기판에서 터치 패널용 기판을 분리하는 동작을 포함한다.
반도체 검사용 니들 모듈 및 프로브 카드
등록번호|10-0909348-0000 출원번호|10-2008-0116053특허권자|김석희 발 명 자|김석희
본 발명은 반도체 웨이퍼의 불량을 검사하기 위한 니들 모듈과 이 니들 모듈이 구비된 프로브 카드를 제공하기 위한 것으로서, 반도체 검사용 니들(needle) 모듈에 있어서, 웨이퍼(wafer)의 전극패드에 대응하는 위치에 지지부가 형성되고, 지지부 아래에 탄성을 가지고 웨이퍼의 전극패드에 접촉되는 탐침용 핀이 형성되며, 지지부 위로 길이가 다른 한 쌍의 니들이 형성된 프로브 니들; 상기 한 쌍의 니들이 관통 삽입되는 통공이 형성되고 니들이 관통하는 상부에 요(凹)부가 형성된 하부 지지블록과, 하부 지지블록 위에 일체로 결합되고 한 쌍의 니들 중에서 어느 하나의 니들이 관통 삽입되는 통공이 형성되며 니들이 관통하는 하부에 요부가 형성된 상부 지지블록이 구비된 지지부재; 및 상기 지지부재를 기판으로부터 고정하는 고정부재를 포함하여 이루어진 반도체 검사용 니들 모듈과 이 니들 모듈을 구비하는 프로브 카드를 제공하여 프로브 니들의 모양 및 형상을 단순화시켜 제조단가를 절감하면서도 동일 내지는 향상된 검사효율을 도모하고, 프로브 니들의 탐침용 핀의 구조와 위치에 따른 더욱 좁은 피치와 다양한 방향에서 검사가 가능하며, 기판과 지지부재 사이의 간격 조절이 가능하여 프로브 카드의 기능을 향상시키고, 검사할 웨이퍼의 크기에 다양한 변형과 적용범위를 확대한 것이다.
코팅성능 평가장치
등록번호|10-0909448-0000 출원번호|10-2007-0130358특허권자|한국표준과학연구원 발 명 자|윤주영 외 3명
본 발명은 코팅성능장치에 관한 것으로, 더 상세하게는 반도체 제조에 사용되는 정밀기계 부품의 코팅성능을 측정하는 장치로 하나의 장치를 이용하여 플라즈마와 화학기체에 대한 내식평가와 온도영향평가 및 플라즈마 공정시 파티클의 발생 평가를 각각 수행할 수 있도록 하였다. 특히, 트레이에 다수의 시편을 안치하여 각 평가를 수행함으로 동일한 조건에서 동시에 측정이 이루어져 측정오차를 줄일 수 있는 코팅성능장치에 관한 것이다. 본 발명의 코팅성능 평가장치는, 반도체 제조에 사용되는 정밀기계 부품의 코팅성능을 평가하는 장치에 있어서, 중공부를 갖는 챔버와; 상기 챔버의 하부면에 설치되고, 산성을 띠는 부식용액을 담지하는 화학용기와; 상기 챔버의 중단에 설치되고, 내면에 관통공이 형성되어 하부의 부식가스가 트레이 상부에 안치된 시편 코팅면인 저면에 접촉되도록 하는 트레이와; 상기 챔버의 상부에 설치되는 플라즈마발생장치와; 상기 챔버에 열을 가하는 가온수단;를 포함하여 구성된다. 또한, 상기 트레이는 다수의 관통공이 형성되어 다수의 시편을 동시에 시험하도록 하며, 상기 트레이의 관통공은 상부측에 단턱이 형성되도록 하여 상기 단턱에 시편을 안시키며 평면상으로 이동되는 것을 방지하도록 한다.
기사를 사용하실 때는 아래 고유 링크 주소를 출처로 사용해주세요.
https://www.cerazine.net