세라믹스 관련 주요 특허출원 공개목록
◈ 내국인 2009년 6월 1일~6월 30일
번 호 명 칭 출 원 인
10-2008-0059284 세라믹 슬러리의 제조 방법, 이를 이용하여 제조된 세라믹슬러리, 세라믹 슬러리를 포함하는 그린시트, 소결체 및세라믹 콘덴서
(Manufacturing method of ceramic slurry, ceramic slurry manufactured
thereby, greensheet, sintered body and multi layered ceramic condenser
comprising ceramic slurry) 삼성전기주식회사
10-2007-0124151 다 층 세라믹 기판 제조 장치 및 다층 세라믹 기판 제조방법 (Apparatus for manufacturing a multi layer ceramic and
method of manufacturing a multi layer ceramic) 주식회사 코미코
10-2007-0123792 SMD형 세라믹 커패시터 및 그 제조방법
(SMD Type Ceramic Capacitor And Manufacturing Process of the same) 삼화콘덴서공업주식회사
10-2007-0136631 세라믹 코어를 가지는 전도성 입자를 포함하는 전도성실리콘 조성물 및 이로부터 제조된 전자파 차폐용 가스켓
(CONDUCTIVE SILICONE COMPOSITION COMPRISING CONDUCTIVE
PARTICLE HAVING CERAMIC CORE WITH THE FORM-IN-PLACEEMI
SHIELD GASKET PREPARED THEREBY) 제일모직주식회사
10-2007-0125543 적층 세라믹 커패시터를 실장한 인쇄회로기판 및 이를이용한 평판 표시장치 (Printed Circuit Board with Multi Layer Ceramic Capacitor and Flat Panel Display Device Using the Same) 삼성모바일디스플레이주식회사
10-2007-0134219 친환경 세라믹 바닥재 조성물 (ENVIRONMENT-FRIENDLY COMPOSITION FOR CERAMIC FLOORING MATERIAL) 주식회사 대화 정밀화학
10-2007-0133297 무수축 세라믹 기판의 제조방법 (Method for manufacturing non-shrinkage ceramic substrate) 삼성전기주식회사
10-2007-0132927 캔들형 세라믹 필터에 촉매를 코팅하는 방법 (CATALYST COATING METHOD FOR CANDLE TYPE CERAMIC FILTER) (주)신텍
10-2007-0128101 금속표면의 방청처리를 위한 저점도의 나노 아연-세라믹코팅제조성물
(Coating composition for rust proof of metal) 나노코팅 주식회사
20-2007-0020519 어패류용 세라믹 인공어초 (Ceramic artificial reef for fish and shellfish) 대한민국(관리부서:국립수산과학원)
20-2007-0020165 주방용품에 있어서 금속과 세라믹의 체결 (The combination of metal and ceramic in the kitchen utensils) 이종순
◈ 외국인 2009년 6월 1일~6월 30일
번 호 명 칭 출 원 인
10-2009-7002582 코디어라이트질 세라믹 허니컴 필터의 제조 방법 (PROCESS FOR PRODUCING CORDIERITE CERAMIC HONEYCOMB FILTER) 히타치 긴조쿠 가부시키가이샤
10-2009-7004468 세라믹 바디 형태에서의 LED 변환 인광체 (LED CONVERSION PHOSPHORS IN THE FORM OF CERAMIC BODIES) 메르크 파텐트 게엠베하
10-2009-7007444 용융 세라믹 물질의 입자 (Particle of a molten ceramic material) 생-고뱅 생트레 드 레체르체 에 데투드 유로삐엔
10-200-80129364 적층 세라믹 전자부품 및 그 제조방법
(MULTILAYER CERAMIC ELECTRONIC COMPONENT AND METHOD
FOR MANUFACTURING SAME) 가부시키가이샤 무라타 세이사쿠쇼
10-2009-7008589 적층 세라믹 콘덴서 (MULTILAYERED CERAMIC CAPACITOR) 쿄세라 코포레이션
주요 등록특허 공개내용 (2009년 6월 1일~6월 30일)
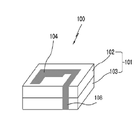
절연성 세라믹 히트 싱크를 갖는 디스크리트 패키지
등록번호|10-0902766-0000 출원번호|10-2002-0058857특허권자|페어차일드코리아반도체 주식회사
발 명 자|손준서 외 2명.jpg)
본 발명의 디스크리트 패키지(discrete package)는, 제1 면 및 반대의 제2 면을 갖는 리드 프레임 패드와, 리드 프레임 패드의 일 측면에 연결된 리드와, 리드 프레임 패드의 제1 면에 부착된 반도체 칩과, 리드 프레임 패드의 제2 면에 직접 접촉되도록 배치된 세라믹막, 및 리드 프레임 패드, 반도체 칩 및 세라믹막의 일부를 둘러싸면서 리드 및 세라믹막의 반도체 칩이 부착된 면의 반대면 만을 노출시키는 몰딩재를 구비한다.
표면처리 금속초미분, 그 제조방법, 도전성 금속 페이스트 및
그 페이스트를 사용하는 적층 세라믹 콘덴서
등록번호|10-0905679-0000 출원번호|10-2003-0088184특허권자|제이에프이 미네랄 가부시키가이샤
발 명 자|우찌다모리시게.jpg)
본 발명은 다층 세라믹 콘덴서의 내부 전극에 사용하기 위한 금속초미분의 내산화성을 개선하고, 금속 내부 전극막의 형성시 표면장력 하에서 용융 금속의 구상화로 인한 금속 내부 전극막의 두께 증가를 억제한다. 금속초미분은 금속초미분의 표면에 존재하는 Y, Zr 및 La 으로 이루어진 군으로부터 선택된 1 종 이상의 원소의 황 함유 화합물을 가지며, 슬러리에서 금속초미분을 분산하는 정제공정, 슬러리에 금속 입자의 표면에 화합물을 형성하기 위해 Y, Zr 및 La 으로 이루어진 군으로부터 선택된 1 종 이상의 원소의 황산염을 함유하는 수용액을 첨가하는 표면처리공정, 여과공정 및 건조공정으로 금속초미분을 형성하여 제조된다.
변/복조 기술을 통한 대역 가변이 가능한 세라믹 필터회로
등록번호|10-0903820-0000 출원번호|10-2003-0003612특허권자|엘아이지넥스원 주식회사 발 명 자|김기범 .jpg)
본 발명은 변/복조 기술을 통한 대역 가변이 가능한 세라믹 필터회로에 관한 것으로, 상세하게는 입력되는 베이스 밴드 신호를 업컨버젼을 위한 캐리어 신호와 곱하여 베이스 밴드 신호를 업컨버젼시키는 제 1멀티플라이어와, 업컨버젼을 위한 캐리어 신호를 생성하여 제 1멀티플라이어로 공급하는 제 1웨이브폼 제너레이터와, 제 1멀티플라이어로부터 출력되는 신호를 필터링시키는 세라믹 필터와, 세라믹 필터로부터 출력되는 신호를 다운컨버젼을 위한 캐리어 신호와 곱하여 신호를 다운컨버젼시키는 제 2멀티플라이어와, 다운컨버젼을 위한 캐리어 신호를 생성하여 제 2멀티플라이어로 공급하는 제 2웨이브폼 제너레이터와, 세라믹 필터의 삽입 손실 보상 및 캐리어 주파수 성분의 신호를 제거하기 위한 증폭 및 로우 패스 필터를 포함하는 것을 특징으로 한다. 따라서 상기와 같이 구성된 본 발명에 따르면 변/복조 기술을 통한 대역 가변이 가능한 세라믹 필터회로에 의하면, 변/복조 기술을 이용하여 세라믹 필터의 대역 통과 및 대역 제한 영역을 가변할 수 있도록 함으로써 고차수(high-order) 필터에서 발생하는 특성의 불안정 요소없이 차단 특성이 좋은 세라믹 필터를 구현하고, 필터링된 데이터를 원하는 주파수 대역으로 이동할 수 있다.
이종의 유전체를 갖는 복합 세라믹 안테나
등록번호|10-0906359-0000 출원번호|10-2007-0097705특허권자|(주)에이스안테나 발 명 자|이영복 외 2명.jpg)
본 발명은 이종의 유전체를 갖는 복합 세라믹 안테나로서, 상이한 유전율을 가지는 두개의 유전체로 형성된 복합 세라믹 유전체 표면에 저주파 대역(GSM/CDMA)과 고주파 대역(DCS/PCS)에서 공진하는 방사패턴을 형성함으로써, 이중대역의 주파수 특성을 가지는 복합 세라믹 안테나에 관한 것이다.
따라서, 본 발명은 상기 저주파 대역과 고주파 대역에서 공진하도록 하는 방사패턴을 각각 상이한 유전율을 가지는 유전체의 표면에 형성함으로써 안테나의 효율을 향상시킬 수 있는 효과가 있다.
세라믹 성형체의 제조방법 및 이를 이용하여 제조된 세라믹성형체
등록번호|10-0906346-0000 출원번호|10-2005-0075016특허권자|주식회사 코미코
발 명 자|박동호 외 1명
세라믹 성형체의 제조를 위해서는 우선, 세라믹 분말을 포함하고 겔 상태를 갖는 성형 재료가 준비된다. 상기 성형재료는, 상부가 개방되고, 하부로부터 돌출된 돌출부를 갖는 제 1 몰드에 주입된다. 상기 주입된 성형 재료를 고화시켜 제 1 성형체를 형성한다. 상기 제 1 성형체 상에는 성형체 내부에 매설된 매설물이 배치된다. 상기 제 1 매설물이 배치된 제 1 성형체는 상기 제 1 몰드와 동일한 형상의 돌출부를 갖고 상기 제 1 몰드보다 폭이 넓은 제 2 몰드에 체결되어 안착된다. 상기 제 2 몰드에 체결된 제 1 성형체 상에 상기 매설물이 덮이도록 상기 성형재료가 상기 제 2 몰드에 주입되어 제 2 성형체가 형성된다. 상기 제 2 성형체는 상기 제 1 성형체와 일체화 될 수 있도록 건조된다. 상기 세라믹 성형체의 제조방법은 매설물의 삽입이 용이하고 공정 효율이 우수하다. 또한 상기 세라믹 성형체의 제조방법에 의하여 제조된 세라믹 성형체는 세라믹의 밀도가 균일하고 체적 고유 저항값이 최적화될 수 있어 기계적 물성 및 전기적 특성이 우수하다.
구속용 그린시트 및 이를 이용한 다층 세라믹 기판제조방법
등록번호|10-0905855-0000 출원번호|10-2007-0112839특허권자|삼성전기주식회사 발 명 자|조범준 외 2명.jpg)
본 발명의 일 측면은,미소결 다층 세라믹 기판의 상면 및 하면 중 적어도 일 면에 배치하기 위한 난소결성 구속용 그린 시트에 있어서, 상기 다층 세라믹 기판에 배치될 면을 가지며, 제1 유기바인더와 구상 또는 유사구상인 제1 무기분말을 포함하는 제1 구속층과, 상기 제1 구속층 상면에 접합되며, 제2 유기바인더와 플레이크(flake)상의 제2 무기분말을 포함하며, 상기 제1 구속층의 분말 충진밀도보다 낮은 분말 충진밀도를 갖는 제2 구속층을 포함하는 난소결성 구속용 그린시트를 제공한다. 또한, 본 발명의 다른 측면은 상기한 난소결성 구속용 그린시트를 이용한 다층 세라믹 기판 제조방법을 제공한다.
우수한 전도성과 유리 및 세라믹 기판과의 접착력 향상을 위한
금속 나노입자와 나노 글래스 프릿을 포함하는 전도성잉크 조성물
등록번호|10-0905399-0000 출원번호|10-2007-0091068특허권자|연세대학교 산학협력단/ (주)창성 .jpg)
발 명 자|문주호 외 6명
본 발명은 평면디스플레이와 적층형 수동부품과 같이 유리 또는 세라믹 기판을 사용하여 400 - 800℃의 비교적 고온에서의 열처리 공정이 수반되는 부품, 소자 제작에 있어서 잉크젯 프린팅 방식에 의해 전도성 패턴 형성을 할 수 있는 잉크젯 프린팅용 전도성 잉크 조성물에 관련된 것으로서, 입도가 균일하고 분산성이 우수하며 소결특성이 우수한 은 나노졸을 합성하는 방법과 우수한 전도성을 갖는 패턴을 형성할 수 있으면서도 패널 장기 안정성 및 신뢰성에 밀접한 영향이 있는 전도성 패턴과 유리 기판 사이의 접착력 향상을 부여하도록 나노 글래스 프릿을 첨가한 전도성 잉크 조성물에 관한 것이다.
본 발명에 의하면 금속 나노 입자, 공용매(co-solvent) 및 나노 글래스 프릿을 포함하는 잉크젯 프린터용 전도성 잉크 조성물로 잉크젯 프린팅 방식을 사용하여 전도성 패턴을 형성하게 되며, 건조, 열처리를 수행하는 동안 첨가된 나노 글래스 프릿이 기판과 융착됨으로 접착력 향상을 도모할 수 있다.
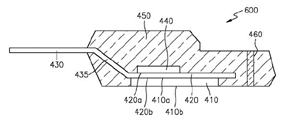
세라믹 밸브 부재를 갖는 압력 조절기
등록번호|10-0902449-0000 출원번호|10-2007-7013816 특허권자|콘티넨탈 오토모티브 시스템즈 유에스, 인코포레이티드 
발 명 자|에더리지, 던, 엠. 외 2명
연료 시스템 내에서 연료의 유동을 지향시키는 관류형 압력 조절기 장치 및 방법이 개시된다. 본 발명은 하부 하우징, 그리고 연료 통로를 갖는 하부 밸브 부재를 포함하며, 하부 하우징은 연료 유입구를 가지며, 연료 유동은 연료 유입구를 통하여 유동하고 밸브 편향 부재를 이용하여 연료 챔버로 소통한다. 밸브 편향 부재는 세라믹 밸브 부재를 개폐함으로써 연료 챔버를 통과하는 연료 유동을 허용하거나 방지한다. 밸브 편향 부재는 하나 이상의 브리지에 의해 연결되는 2개 이상의 망상 동심 링을 갖는 평 디스크를 포함한다. 연료는 개방된 밸브 부재를 지나 하부 밸브 부재의 연료 통로를 통하여 밸브 편향 부재로 유동한다. 그 후, 밸브 편향 부재는 연료의 유동을 확산시킨다. 연료 커버는 밸브 편향 부재로부터 연료 배출구로 연료의 유동을 지향시킨다.
센서 및 액추에이터용 비납계 압전 세라믹 조성물 및 그제조방법
등록번호|10-0901463-0000 출원번호|10-2007-0073550특허권자|한국전기연구원 발 명 자|김민수 외 4명.jpg)
본 발명은 센서 및 액추에이터용으로 납이 함유되지 않은 압전 세라믹의 조성물과 그의 제조방법에 관한 것으로, 이를 위한 압전 세라믹 조성물은 xLiTaO3 - y(Na0.5K0.5)TaO3 - 0.8(Na0.5K0.5)NbO3 + a mol% Li2O으로서, 이때, 0<x<0.05, 0.15<y<0.02,0<a<3이며 산화물 혼합법으로 제조한 것이다. 즉, 먼저 Li2CO3, Ta2O5의 시료를 혼합, 분쇄한 후 건조하여 하소하고, 이 하소한 시료를 재 하소한 후, 다시 혼합, 분쇄, 건조의 과정으로 LiTaO3 분말을 제조하였다. 동일한 방법으로 Na2CO3, K2CO3, Ta2O5의 시료로 (Na0.5K0.5)TaO3를, Na2CO3, K2CO3, Nb2O5의 시료로 (Na0.5K0.5)NbO3를 각각 제조하여, 상기의 조성식에 맞추어 다시 혼합, 분쇄, 건조의 과정으로 최종 압전 분말을 제조한 것이다. 이에 따라 본 발명은 센서 및 액추에이터에 적용될 수 있는 우수한 전기기계결합계수 및 압전특성을 지닌 납이 함유되지 않은 압전 세라믹 조성물과 그 제조방법을 제공하여, 압전 특성이 우수하여 충격 센서, 가속도센서, 초음파 센서, 적층형 압전액추에이터, 압전변압기 및 초음파 진동자, 착화소자와 같은 고신뢰성 압전부품을 제조할 수 있으며, 특히 납을 함유하지 않은 조성으로써 납으로 인한 환경 오염을 감소시킬 수 있는 이점이 있다.
압전체 자기 조성물, 및 이 압전체 자기 조성물의제조방법 및
압전 세라믹 전자부품 .jpg)
등록번호|10-0904618-0000 출원번호|10-2007-7017272특허권자|가부시키가이샤 무라타 세이사쿠쇼
발 명 자|카와다 신이치로 외 2명
본 발명의 압전체 자기 조성물은, 주성분이 일반식 {(1-x)(K1-a-bNaaLib)m(Nb1-c-dTacSbd)O3-xM1nM2O3} (M1은 Ca, Sr 또는 Ba, M2는 Ti, Zr 또는 Sn)로 표시됨과 아울러, 0.005≤x≤0.1, 0≤a≤0.9, 0≤b≤0.3, 0≤a+b≤0.9, 0≤c≤0.5, 0≤d≤0.1, 0.9≤m≤1.1, 및 0.9≤n≤1.1의 범위에 있으며, 또한, In, Sc, Y, Nd, Sm, Eu, Gd, Tb, Dy, Ho, Er, Yb, 및 Lu 중에서 선택된 적어도 1종의 특정 원소가, 상기 주성분 100몰에 대하여 총계로 0.1∼10몰(바람직하게는, 1.5∼10몰) 함유되어 있다. 바람직하게는, 또한 Mn, Ni, Fe, Zn, Cu, 또는 Mg를 첨가한다. 이것에 의해 미소전계시 및 고전계시의 쌍방에서 높은 압전 d상수를 고효율로 안정적으로 얻을 수 있도록 한다.
핫 프레싱 세라믹 변형 제어
등록번호|10-0906177-0000 출원번호|10-2006-7010681특허권자|인터내셔널 비지네스 머신즈 코포레이션 
발 명 자|나타라잔 고빈다라잔 외 1명
본 발명은 소결 이전에 그린 세라믹 적층물(100)에 비조밀 구조물(40)을 배치함으로써 핫 프레싱 소결된 다층 세마릭 적층물(100)의 후소결 변형을 제어하는 방법에 관한 것이다. 하나 이상의 비조밀 구조물(40)은 하나 이상의 세라믹 그린시트(10)들 상에 배치되고, 스택킹 및 적층되어 그린 세라믹 적층물(100)을 형성한다. 그 후, 이 적층물은 소결되고, 비조밀 구조물(40)은 핫 프레스된 다층 세라믹 기판의 치수를 제어한다. 이 방법은 소결 이전에 개별 제품들 사이의 커프 영역(30)에 비조밀 구조물(40)을 배치함으로써 단일 멀티-업 기판들 중 어느 하나로서 제조되는 MLC 기판들에서 후 소결 치수를 제어하는데 사용될 수 있다
기사를 사용하실 때는 아래 고유 링크 주소를 출처로 사용해주세요.
https://www.cerazine.net