주요 등록특허 공개내용 (2009년 5월 1일~5월 31일)
세라믹 기판 및 그 제조 방법
등록번호|10-0899647-0000 출원번호|10-2008-0008508특허권자|동의대학교 산학협력단 발 명 자|신병철 외 4명
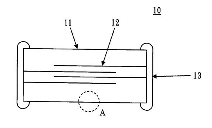
본 발명은 적층된 복수의 세라믹 시트와, 상기 복수의 세라믹 시트 중 적어도 어느 하나의 세라믹 시트 상에 그물 형상으로 형성된 내부 접지 패턴 및 상기 복수의 세라믹 시트 중 적어도 어느 하나의 세라믹 시트 상에 형성된 내부 전극 패턴을 포함하는 세라믹 기판 및 그 제조 방법을 제공한다.
이와 같은 본 발명은 내부 접지 패턴이 그물 형상으로 형성되어 내부 접지 패턴의 형성 면적을 다소 증대시키더라도 상하 세라믹 시트들 간의 층간 접착력이 크게 저하되지 않으므로, 상하 세라믹 시트들 간의 분리 및 이탈로 인한 파손을 방지하면서 내부 소자의 임피던스 설계를 보다 자유롭게 할 수 있다.
무기질 접착제를 이용한 전파투과성 세라믹 복합재제조 방법 
등록번호|10-0899304-0000 출원번호|10-2007-0125799특허권자|국방과학연구소 발 명 자|김재하 외 3명
본 발명은 내습성이 있는 전파투과성 세라믹 복합재에 관한 것으로, 본 발명에 따른 전파투과성 세라믹 복합재는 CAPB(Chromium-Aluminium-Phosphate Binder)에 충진재를 혼합한 컴파운드를 접착제로 이용하여 유리섬유를 적층한 복합재와 상기 복합재의 표면에 코팅된 코팅부를 포함하여 구성되며, 상기 코팅부는 패럴린층과 테프론층으로 이루어진다. 본 발명에 따른 전파투과성 세라믹 복합재는 상기 코팅부로 인해 내습성이 있기 때문에 유전율 등의 물성의 변화가 없는 안정적인 전파투과성 세라믹 복합재를 제공한다.
세라믹 관 히터
등록번호|10-0900002-0000 출원번호|10-2008-0079201특허권자|최기
철 발 명 자|최기철
본 발명은 세라믹 관 히터에 관한 것으로, 세라믹 재질의 관 형상으로 이루어지는 보호관과, 보호관 내에 길이 방향을 따라 길게 구비되어 전류 공급에 따라 발열되고 중앙부를 기준으로 양측에 권선 방향이 서로 반대되는 제1방향 권선부와 제2방향 권선부가 형성되는 나선형 발열선과, 나선형 발열선의 양단부에 각기 결합되어 전류를 전달하는 접속 단자와, 보호관 내에 충진되어 절연 및 축열 기능을 제공하는 충진재를 포함한다.
따라서, 1,000℃ 이상의 높은 발열 온도를 구현할 수 있고, 사용 수명 및 내구성이 매우 길 수 있으며, 가열된 상태에서 적정 조도를 나타낼 수 있고, 건강 증진에 유익한 원적외선을 대량으로 방사할 수 있는 효과가 있다.
금속 박막 또는 세라믹 박막 증착용 유기 금속 전구체 화합물 및
이를 이용한 박막 제조 방법
등록번호|10-0900272-0000 출원번호|10-2007-0048850특허권자|주식회사 유피케미칼
발 명 자|신현국 외 1명
본 발명은 반도체 소자에 적용되는 금속 코발트나 코발트 실리사이드와 같은 코발트가 함유된 금속 박막 또는 코발트 산화물이나 코발트 질화물과 같은 코발트가 함유된 세라믹 박막 증착을 위한 유기 금속 전구체에 관한 것으로서, 본 발명에서는 지속적인 가온에도 특성이 열화 되지 않는 높은 열적 안정성과 함께 높은 증기압을 가짐으로써 유기 금속 화학 증착(MOCVD) 및 원자층 증착법(ALD)을 이용한 금속 코발트, 코발트 실리사이드 등의 코발트를 함유한 금속 박막 및 코발트 산화물, 코발트 질화물등의 코발트를 함유한 세라믹 박막을 증착하는 반도체 제조공정에 유용하게 적용될 수 있는 금속 박막 또는 세라믹 박막 증착용 유기 금속 전구체 화합물 및 이를 이용한 박막 제조 방법을 제공한다.
인조 세라믹 패널 및 그 제조방법
등록번호|10-0900255-0000 출원번호|10-2007-0080786특허권자|송연배 외 2명 발 명 자|송연배 외 2명
본 발명의 목적은 목재 대용으로 사용할 수 있고, 음이온 및 원적외선을 방출하여 인체의 건강을 유지할 수 있으며, 아토피증후군(새집증후군)을 방지할 수 있고, 자연생태계를 보존할 수 있음과 동시에, 자연환경을 보호할 수 있을 뿐만 아니라, 불연재질로서 화재를 방지할 수 있는 인조 세라믹 패널의 제조방법을 제공하는데 있다.
전기적 과부하 방지용 세라믹 재료 및 이를 이용한
저 용량다층 칩 배리스터
등록번호|10-0897390-0000 출원번호|10-2007-0050461특허권자|비 펀드 바이오테크놀로지 아이엔씨 
발 명 자|롄, 층-혼 외 6명
본 발명은 저 용량 다층 칩 배리스터에 관한 것으로서, 더욱 상세하게는 저 용량 다층 칩 배리스터는 1MHz에서 0.5pF 보다 작은 용량을 가지며, 8KV 정전 쇼크의 수천 회 이상의 쇼크에 대한 내성 특성을 가지며, 세라믹 본체, 이 세라믹 본체의 두 단부에 배치된 외부 전극과 그 내부에 배치된 내부 전극을 포함하고, 세라믹 본체는 3~50중량%의 무기 유리와 0.1㎛ 보다 큰 입자 크기를 갖는 50~97중량%의 반도전성 또는 도전성 입자를 포함하고, 상기 반도전성 또는 도전성 입자의 표면을 무기 유리 막의 층으로 덮고, 상기 무기 유리 막은 1마이크론 보다 작은 서브 마이크론 또는 나노미터의 반도전성 또는 도전성 입자를 포함하고, 반도전성 또는 도전성 입자의 함유량은 무기 유리의 함유량 보다 20중량%가 적게 이루어지도록 한 전기적 과부하 방지용 세라믹 재료 및 이를 이용한 저 용량 다층 칩 배리스터에 관한 것이다.
시공이 용이한 단열재를 이용한 난방 시공방법
등록번호|10-0897032-0000 출원번호|10-2007-0062105특허권자|박철우 발 명 자|박철우 외 1명
본 발명은 시공이 용이한 단열재 및 그 단열재를 이용한 난방 시공 방법에 관한 것으로, 이를 대략 설명하면, 판형 형상으로, 그 일면에 길이방향을 따라 파인 직선홈(11)을 다수개 형성하고, 그 양단에 적정 위치에 상기 이웃하는 연결홈(12)을 다수개 형성하며, 구획 짓는 절단홈(13)을 적절한 간격으로 형성한 단열재(10)가 구비되어; 시공할 바닥에 상기 단열재(10)를 그 전면에 설치하되, 단열재(10) 단위 크기보다 적게 남은 공간은 다른 단열재(10)를 절단홈(13)을 따라 절단하여 상기 바닥 전면으로 단열재(10)를 깔아 설치하는 단열재 설치 공정(S1); 상기 단열재(10)의 직선홈(11) 및 연결홈(12)에 전열관(30)을 끼우면서 설치하고, 상기 전열관(30)에 전열선(31)을 인입하며, 상기 전열관(30) 내부에 열매체액(32)을 충전하여 밀폐구(33)로 밀폐하는 전열관 설치 공정(S2); 기능성 물질(23)이 포함된 기능성판(20)을 설치하는 기능성판 설치 공정(S3); 바닥재(40)를 까는 마감 공정(S4)으로 완료하여, 단열재(10)의 절단이 절단홈(13)을 따라 이루어져 시공을 용이하게 하고, 기능성판(20)에 의한 원적외선 방출로 사용자의 건강을 증진할 수 있는 것이다.
무연 압전 세라믹막 및 그 제조방법
등록번호|10-0899846-0000 출원번호|10-2007-0038538 특허권자|한국기계연구원 발 명 자|류정호 외 1명
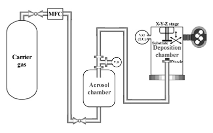
본 발명은 에어로졸-데포지션법(ADM:Aerosol-deposition method)을 이용하여 기본조성이 (KxNa1-x)NbO3이며 x=0-1을 만족하는 세라믹막을 형성하는 무연 압전 세라믹막 제조방법에 관한 것이다.
이를 위해 본 발명은, 기본조성이 (KxNa1-x)NbO3이며 x=0-1을 만족하는 무연 압전 세라믹막 제조방법에 있어서, 순도 99% 이상의 K2CO3, Na2CO3, Nb2O5의 원료분말을 볼밀장치에 장입한 후 평균입경이 1~3㎛가 되는 혼합분말을 제조하는 단계(a); 상기 혼합분말을 진공상태의 에어로졸챔버에서 이송기체와 혼합하여 에어로졸화 시켜 증착챔버로 이송시킨 후, 상기 증착챔버의 내측에서 노즐을 통해 기판에 분사시켜 0.5~100㎛ 두께의 세라믹막을 형성하는 단계(b);로 이루어진다. 이와 같은 본 발명에 의하면, 증착된 막의 유전 및 강유전 특성이 월등하게 향상되는 이점이 있다.
세라믹계 2액형 방식도료 조성물
등록번호|10-0897417-0000 출원번호|10-2008-0068797특허권자|한서포리머주식회사 발 명 자|오제곤 외 1명
본 발명은 세라믹계 2액형 방식도료 조성물에 관한 것으로서, 더욱 상세하게는 주제와 경화제로 이루어지되, 상기 주제에는 페놀노볼락 에폭시수지와 비스페놀A 에폭시수지가 혼합된 폴리머 알로이(Polymer alloy)가 포함되어 있어서 특히 철강 구조물과 같은 피도물에 대한 접착력이 매우 높고, 따라서 열악한 외부환경에서도 우수한 방식 내구성을 유지하는 세라믹계 2액형 방식도료 조성물에 관한 것이다.
수명을 연장시키는 절연막을 갖는 반도체 장비용 정전척
등록번호|10-0899292-0000 출원번호|10-2003-0000516특허권자|주식회사 코미코 발 명 자|안호갑 외 1명
본 발명은 반도체 제조 장치 중 웨이퍼의 정밀한 위치 고정이 필요한 장비에 사용되는 정전척 및 그 제조 방법에 관한 것으로, 특히, 화학적으로 또는 물리적으로 정전척에 나쁜 영향을 줄 수 있는 요소에 대한 충격 완화를 하기에 적합한 절연막을 갖는 정전척 및 그 제조 방법에 관한 것이다. 구제척으로 말하면, 본 발명에 따른 정전척은, 유전체 즉, 절연부분이 플라즈마 또는 가스에 노출됨으로 인하여 생기는 부식을 줄이는 수단을 제공함으로써 장기간 정전척을 사용할 수 있도록 한 것과 그의 제조 방법에 관한 것이다.
기사를 사용하실 때는 아래 고유 링크 주소를 출처로 사용해주세요.
https://www.cerazine.net