회사로고

Top
기사 메일전송

[ 통권 252호 | ]

Patent Information
  • 편집부
  • 등록 2009-06-16 16:27:35
  • 수정 2009-06-16 16:32:59
기사수정

세라믹스 관련 주요 특허출원 공개목록

◈ 내국인                                                                                            2009년  3월 1일~3월 31일

    번 호                                           명 칭                                 출 원 인
 10-2007-0079383 세라믹 기판과, 그 제조방법 및 이를 구비한 측면 발광다이오드 패키지  알티전자  주식회사
  (CERAMIC SUBSTRATE AND  METHOD THEREOF AND LIGHT EMITTING
  DIODE PACKAGE FOR SIDEVIEWING HAVING THE  SAME)
 10-2007-0080425 정수압 성능이 우수한 다공체 압전 세라믹 및 그 제조방법  재단법인서울대학교산학협력재단 외
  (Porous piezoelectric ceramics  with highly hydrostatic
  figure of merit and method thereof)
 10-2007-0078298 산화물 열전반도체 모듈의 제조 방법 및 장치  아주대학교산학협력단
  (Processing and equipments for oxide  thermoelectric module)
 10-2007-0082069 전자파를 이용한 인공치아 소결 방법  김병관
  (Method for Sintering Artificial Tooth  Using Electromagnetic Wave)
 10-2007-0081840  가시광 응답형 산화티탄 광 촉매에 의한 수경재배의 배양액재이용 살균 및 정화 장치  경북대학교 산학협력단
  (Hydroponic  Recyclic System Using the Visible Light-reactive Titanium
  Oxide Photocatalyst  for Sterilization and Purification of Nutrient Solution)
 10-2007-0084893 소각기 배출가스 저감을 위한 세라믹플레이트 및 이들을 이용한 장치  김태웅
  (A ceramic plate and  appratus using these for reducing toxic gas from incinerator)
 10-2008-0072487 비전도성 타겟을 사용하는 스퍼터링에 의한 세라믹 박막의증착 방법 및 그를 위한 장치  (주)누리셀
  (METHOD FOR  DEPOSITING CERAMIC THIN FILM BY SPUTTERING
  USING NON-CONDUCTIVE TARGET AND ITS APPARATUS THEREFOR)

 


◈ 외국인                                               2009년  3월 1일~3월 31일

 번 호                                                       명 칭                                               출 원 인
 10-2008-0073245 세라믹 적층체, 세라믹 부품, 세라믹 적층체의 제조 방법및 세라믹 부품의 제조 방법  니뽄 가이시 가부시키가이샤
  (CERAMIC  LAMINATE, CERAMIC PART, METHOD FOR PRODUCING CERAMIC
  LAMINATE, AND METHOD FOR  PRODUCING CERAMIC PART)
 10-2009-0003470 세라믹그린시이트의 제조방법, 적층세라믹 전자부품의 제조방법 및 세라믹그린시이트용 캐리어시이트 닛토덴코 가부시키가이샤
  (MANUFACTURINGMETHODOFCERAMICGREENSHEET,   
  MANUFACTURING METHOD OF MULTILAYER CERAMIC ELECTRONIC
  COMPONENTS, AND CARRIER SHEET FOR CERAMIC   GREEN SHEETS)
 10-2008-7032028 강화 코디에라이트 유리-세라믹 (Tough cordierite glass-ceramics) 코닝 인코포레이티드
 10-2008-7024149 고온 본딩된 세라믹 상호접속을 구비한 SOFC 스택 및 이를 제조하는 방법  생-고뱅 세라믹스 앤드 플라스틱스, 
  (ASOFCSTACKHAVINGAHIGHTEMPERATUREBONDEDCERAMIC 인코포레이티드
   INTERCONNECT AND METHOD FOR MAKING SAME)
 10-2008-0068991 세라믹 그린시트 구조 및 적층 세라믹 전자 부품의 제조방법  티디케이가부시기가이샤
  (CERAMIC GREEN SHEET  STRUCTURE AND METHOD FOR MANUFACTURING
  LAMINATED CERAMIC ELECTRONIC  COMPONENT)
 10-2008-7031521 유전체세라믹, 세라믹전자부품 및 적층세라믹콘덴서 가부시키가이샤 무라타 세이사쿠쇼
  (DIELECTRICCERAMIC,CERAMICELECTRONICCOMPONENT,
  AND LAMINATED CERAMIC CAPACITOR)
 10-2008-7029250 유리제 하드디스크 기판용 성형 다이 (MOLDING DIE FOR GLASS HARD DISK  SUBSTRATE) 가오 가부시키가이샤 | 가부시키가이샤 오하라
 10-2007-0110282 균일한 과립의 금속계와 금속-세라믹계 분말  헤래우스 인코포레이티드
  (HOMOGENEOUS GRANULATED METAL BASED  and
  METAL-CERAMIC BASED POWDERS)
 10-2007-0095451 전기 저항이 제어된 플라즈마-내성 세라믹 (PLASMA―RESISTANT CERAMICS WITH   어플라이드 머티어리얼스,
  CONTROLLED ELECTRICAL RESISTIVITY) 인코포레이티드
 10-2008-7032163 질소 플라즈마 인-시튜 처리 및 엑스-시튜 UV 경화를 이용하여 실리콘 질화물  어플라이드 머티어리얼스,
  인장 스트레스를 증가시키는 방법  (METHOD TO INCREASE SILICON NITRIDE TENSILE  인코포레이티드
  STRESS USING NITROGEN PLASMA  IN-SITU TREATMENT AND EX-SITU UV CURE)
 10-2008-7030097 수용액용 증점제로서의 탄소 나노튜브 기재 복합체 물질의 용도  아르끄마 프랑스
  (USE OF COMPOSITE MATERIALS  BASED ON CARBON NANOTUBES AS  상뜨로 나쇼날 드 라  러쉐르쉐 샹띠피크
  THICKENING AGENTS FOR AQUEOUS SOLUTIONS)

 


주요 등록특허 공개내용        (2009년 3월 1일~3월 31일)
  무수축 세라믹 기판의 제조방법 및 이에 의해 제조된
  다층세라믹 기판  
등록번호|10-0887112-0000      출원번호|10-2007-0113361특허권자|삼성전기주식회사           발 명 자|신지환
본 발명은 무수축 세라믹 기판의 제조방법 및 이에 의해 제조된 다층 세라믹 기판에 관한 것으로서, 본 발명의 일 측면은 각각 내부전극과 도전성 비아홀이 형성된 복수 개의 유전체 시트를 적층 하는 단계와, 상기 복수 개의 유전체 시트가 적층 된 구조물의 상면 및 하면 중 적어도 하나의 면에 상기 유전체 시트의 글라스 함량보다 높은 글라스 함량을 갖는 유전체 시트로 이루어진 버퍼층을 적층 하여 세라믹 적층체를 마련하는 단계와, 상기 세라믹 적층체의 상하면 각각에 상기 유전체 시트의 면 방향 수축을 억제하기 위한 구속용 시트를 배치하는 단계와, 상기 세라믹 적층체를 상기 유전체 시트의 소성온도로 소성 하는 단계 및 상기 세라믹 적층체로부터 상기 구속용 시트를 제거하는 단계를 포함하는 무수축 세라믹 기판의 제조방법을 제공한다. 본 발명에 따르면, 소성 과정에서 구속용 유전체 시트와 세라믹 적층체 간의 글라스 이동에 의한 피해를 최소화할 수 있는 무수축 세라믹 기판의 제조방법을 얻을 수 있다.       

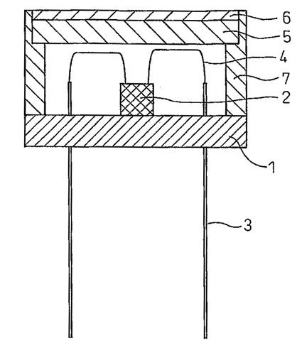
   피에조 세라믹 소자를 이용한 막대형 정전기 제거 장치
등록번호|10-0885176-0000    출원번호|10-2007-0047942특허권자|(주)선재하이테크            발 명 자|이동훈 외 5명
이 발명은 막대형 정전기 제거 장치에 대한 것이다. 이 발명에 따른 방전에 사용되는 고주파 고전압이 피에조 세라믹 소자에 의해 생성되는 막대형 정전기 제거 장치의 바람직한 일 실시예의 구성은, 상기 정전기 제거 장치(1000)는 적어도, 상기 피에조 세라믹 소자를 이용한 정전기 제거장치를 제어하는 제어부(600); 고주파 고전압 인가시 방전이 이루어지는 방전침(340); 내부에 위치하는 상기 방전침(340)에 파티클이 생성되는 것을 막기 위한 먼지 부착 방지용 메인 소켓(350); 및 상기 정전기 제거장치에 공기를 공급하는 에어 바디(300)를 포함하여 이루어지고, 상기 제어부(600)는, 고주파 고전압을 발생시키는 피에조 세라믹 소자(610); 상기 피에조 세라믹 소자에 의해 출력되는 고주파 고전압을 인가받아 이온을 생성하는 상기 방전침(340)에 의해 유도되는 전하량을 측정하는 감지부(310) 상기 감지부(310)의 감지 결과 피에조 세라믹 소자가 정상 동작하는 것으로 판단되면 상기 감지부(310)의 출력신호를 센서 증폭기(630)로 증폭하여 상기 피에조 세라믹 소자(610)에 피드백하여 상기 피에조 세라믹 소자(610)가 지속적으로 고주파 고전압을 발생하도록 하는 피에조 구동기(700); 만약 상기 감지부(310)의 감지 결과 피에조 세라믹 소자(610)가 비정상동작하는 것으로 판단되면 경보를 발생시키는 경보발생수단(640, 660); 및 각 소자에 직류전압을 공급하기 위한 직류전원(670)을 구비하여 이루어진다.       

  반도체 공정 설비내의 세륨 옥사이드 함유 세라믹 부품 및 코팅 
등록번호|10-0882758-0000      출원번호|10-2003-7012823특허권자|램 리써치 코포레이션        발 명 자|오도넬로버트제이 외 1명 
플라즈마 챔버와 같은 반도체 공정 설비의 내부식성 부품은 그 부품의 최외곽 표면으로서 세륨 옥사이드 함유 세라믹 물질을 포함한다. 상기 세륨 옥사이드 함유 세라믹 물질은 그 단일의 최대 구성물로서 하나 또는 그 이상의 세륨 옥사이드를 포함한다. 상기 부품은 전적으로 세륨 옥사이드 함유 세라믹 물질일 수 있으며, 상기 세륨 옥사이드 함유 세라믹은 알루미늄 또는 알루미늄 합금, 세라믹 물질, 스테인레스 스틸 또는 내화금속과 같은 기판상에 층으로서 제공될 수 있다. 세륨 옥사이드 함유 세라믹층은 플라즈마 분사와 같은 기술에 의한 코팅으로서 제공될 수 있다. 하나 또는 그 이상의 중간층이 부품과 세륨 옥사이드 함유 세라믹 코팅 사이에 제공될 수 있다. 세륨 옥사이드 함유 세라믹 코팅의 접착성을 향상시키기 위해, 부품 표면 또는 중간층 표면은 세륨 옥사이드 함유 세라믹 코팅을 증착하기 이전에 표면 거칠기 처리를 할 수 있다.          

  SMD형 세라믹 디스크 커패시터
등록번호|10-0887453-0000     출원번호|10-2007-0017350특허권자|삼화콘덴서공업주식회사      발 명 자|이경민 외 2명 
본 발명은 리드단자들 사이 또는 리드단자와 전극사이의 간격이 작음으로 인해 발생될 수 있는 플래쉬오버 현상을 방지할 수 있고 세라믹 디스크와 리드단자 사이의 조립성을 개선시키며 세라믹 디스크 커패시터의 실장시 접착력을 개선시킬 수 있는 SMD형 세라믹 디스크 커패시터에 관한 것이다.
본 발명의 SMD형 세라믹 디스크 커패시터는 세라믹 디스크(10), 세라믹 디스크(10)의 제1면(11a)에 도전재질로 형성되는 제1전극(20)과, 세라믹 디스크(10)의 제2면(11b)에 도전재질로 형성되는 제2전극(30)과, 제1전극(20)에 설치되고 다수개의 제1내지 제7연장부(41,42,~,47)가 일체로 형성되는 제1리드단자와, 제2전극(30)에 설치되고 다수개의 제8 내지 제14연장부(51,52,~,57)가 일체로 형성되는 제2리드단자(50)와, 세라믹 디스크(10)와 제1전극(20)과 제2전극(30)을 포함하고 제1리드단자(40)의 제5연장부(45)와 제2리드단자(50)의 제12연장부(55)가 일부가 포함되도록 몰딩하는 몰딩부(60)로 구비됨을 특징으로 한다.

  AI2O3-희토류 산화물-ZrO2/HfO2 물질 및 그의 제조 및 사용 방법 
등록번호|10-0885329-0000     출원번호|10-2004-7001675특허권자|쓰리엠 이노베이티브 프로퍼티즈 컴파니                        
발 명 자|로젠플란즈, 아나톨리제트
Al2O3-희토류 산화물-ZrO2/HfO2 세라믹 (유리, 결정성 세라믹 및 유리-세라믹을 포함) 및 그의 제조 방법. 본 발명에 따른 세라믹은 유리 비드, 물품(예, 판), 섬유, 입자 및 얇은 피복로 만들어지거나, 형성되거나 전환될 수 있다. 상기 입자 및 섬유는 예를 들면 복합재(예, 세라믹, 금속 또는 중합체 매트릭스 복합재)에서 절연, 충진재 또는 보강재로서 유용하다. 얇은 피복은 예를 들면 열 관리용 뿐만 아니라 마모를 수반하는 응용에서 보호 피복으로서 유용할 수 있다. 본 발명에 따른 특정 세라믹 입자는 연마 물품으로서 특히 유용할 수 있다.  

  광변환 구조체 및 그것을 이용한 발광장치
등록번호|10-0885694-0000     출원번호|10-2007-7013378특허권자|우베 고산 가부시키가이샤   
발 명 자|사카타 신이치 외 2명
본 발명은 빛의 투과성이 좋고, 열화가 적으며, 원하는 색조로 제어할 수 있고, 고휘도의 빛을 방출할 수 있는 광변환 구조체와 그것을 사용한 발광장치를 제공한다. 본 발명의 광변환 구조체는, 제1 광의 일부를 흡수하고 제2 광을 발산하는 동시에 상기 제1 광의 일부를 투과하는 세라믹 복합체로 이루어지는 층과, 상기 세라믹 복합체의 표면에 형성되며, 상기 제1 광의 일부 또는 상기 제2 광의 일부를 흡수하고 제3 광을 발산하는 동시에 상기 제1 광의 일부 또는 상기 제2 광의 일부를 투과하는 색조 제어용 형광체층을 가지는 광변환 구조체로서, 상기 세라믹 복합체가 적어도 2개 이상의 금속 산화물상이 연속적이면서 3차원적으로 서로 얽혀서 형성되어 있는 응고체로 이루어지고, 상기 응고체 안의 금속 산화물상 중 적어도 하나는 형광을 발산하는 금속원소 산화물을 함유하고 있다. 

  세라믹 파이버로 이루어진 허니컴 구조체 및 그 제조방법
등록번호|10-0885477-0000      출원번호|10-2006-0031357특허권자|주식회사 엘지화학           발 명 자|김선주 외 5명
본 발명은 세라믹 파이버로 이루어진 허니컴 구조체 및 그 제조방법에 관한 것으로서, 보다 상세하게는 권취형의 세라믹 시트를 이용하여 일반적인 세라믹 필터보다 작은 직경의 허니컴 단위 구조체를 제조한 후, 단일체를 형성하는 빈 공간을 최소화할 수 있는 허니컴 단위 구조체들의 조합 및 배치를 통해 허니컴 구조체의 낮은 기계적 강도를 증대시킬 수 있는 허니컴 구조체 및 그 제조방법에 관한 것이다.
본 발명의 허니컴 구조체는 종래 소성으로 인해 제한적인 강도를 가지는 구조체들을 최적 크기로 제작한 후 이들을 조합하고 구조체 간 공간에 바인더를 충전하여, 최소의 단위 면적 손실을 가지게 함으로써, 기계적 강도를 획기적으로 강화시킬 수 있다.

  리튬 이온 2차 전지 및 그 고체 전해질
등록번호|10-0884599-0000     출원번호|10-2008-0038584특허권자|가부시키가이샤 오하라     발 명 자|인다 야스시
본 발명은, 2층 이상의 적층된 전해질을 포함하는 리튬 이온 2차 전지용 고체 전해질을 제공한다. 적층된 전해질의 가장 두꺼운 층은, 리튬 이온 전도성 결정, 바람직하게는, 주 결정상이 Li1+x+y(Al, Ga)x(Ti, Ge)2-xSiyP3-yO12(단, 0≤x≤1, 0≤y≤1)인 리튬 이온 전도성 유리-세라믹을 함유한다. 바람직한 구현예에 있어서, 리튬 이온 전도성 유리-세라믹을 함유하는 전해질층의 두께는 150㎛ 이하이며, 리튬 이온 전도성 유리-세라믹을 함유하지 않거나 또는 소량만을 함유하는 전해질층의 두께는 50㎛ 이하이다.

  내열결정화유리를 이용한 면상 히터의 제조 방법
등록번호|10-0883302-0000     출원번호|10-2007-0042861특허권자|아프로시스템 주식회사     발 명 자|강병수
가정용 또는 산업용으로 사용되어 발열체부에 의해 균일하게 열을 방출할 수 있는 내열결정화유리를 이용한 면상 히터의 제조방법에 있어서, 발열체부에서 발생하는 열을 안정적으로 흡수 또는 방출하도록 상기 발열체부 하단에 내열결정화유리를 형성하는 제1단계와, 상기 제 1단계로부터 발열체부에 전원을 공급하는 배선부를 형성하는 제2단계와, 상기 제 2단계로부터 일정 형상의 패턴을 가지고 전원을 인가할 경우 열을 발생시키는 발열체부를 형성하는 제3단계와 상기 제 3단계로부터 상기 발열체부와 배선부의 패턴보호 및 절연을 위해 면상히터 최상단부에 세라믹 보호층을 형성시키는 제4단계로 이루어지는 것을 특징으로 하는 내열결정화 유리를 이용한 면상 히터의 제조방법.

 

기사를 사용하실 때는 아래 고유 링크 주소를 출처로 사용해주세요.

https://www.cerazine.net

 

0
회원로그인

댓글 삭제

삭제한 댓글은 다시 복구할 수 없습니다.
그래도 삭제하시겠습니까?

독일 뮌헨 세라믹 전시회
고기능소재위크
세로형 미코
02이삭이앤씨 large
이영세라켐
03미코하이테크 large
해륭_250509
케이텍
진산아이티
삼원종합기계
오리엔트
미노
대호CC_240905
01지난호보기
월간도예
모바일 버전 바로가기