◈ 내국인
2014년 7월 1일 ~ 2014년 7월 31일
번 호 명 칭 출 원 인
10-2012-0155776 세라믹 입자의 자성체 코팅 방법
MAGNETIC SUBSTANCE COATING METHOD OF CERAMIC PARTICLE 전자부품연구원
10-2013-0005601 세라믹 분말의 제조방법
MANUFACTURING METHOD OF CERAMIC POWDER 주식회사 효성
10-2012-0151824 가공성이 우수한 고밀도 세라믹 코팅강판
Ceramic-coated steel sheet with high formability 주식회사 포스코
10-2012-0158258 세라믹 경도체 어셈블리 및 이를 포함하는 방탄용 보호 패널
Ceramic tile assembly and Bulletproof protect panal including the same ㈜아르모프
10-2012-0152908 플렉서블 압전 복합체 및 이를 이용한 캔틸레버형 압전 에너지 하베스터
CANTILEVER TYPE ENERGY HARVERSTER 한국세라믹기술원
10-2012-0146463 세라믹 섬유의 수소이온전달 작용기 기능화로 섬유 강화 고분자 복합 전해질 막
MODIFIED CERAMIC FIBER BY PROTON CONDUCTING GROUP FOR REINFORCED POLYMER COMPOSITE FUEL CELL ELECTROLYTE MEMBRANE 연세대학교 산학협력단
한국세라믹기술원
10-2012-0143890 다이렉트 발포방식을 이용한 기능성 다공체 세라믹 재료의 제조방법 및 기능성 다공체 세라믹 재료
MANUFACTURING METHOD OF FUNCTIONAL POROUS CERAMICS MATERIAL USING DIRECT FORMING METHOD AND FUNCTIONAL POROUS CERAMICS MATERIAL 한서대학교 산학협력단
순천향대학교 산학협력단
◈ 외국인
2014년 7월 1일 ~ 2014년 7월 31일
번 호 명 칭 출 원 인
10-2014-7015428 마그네슘 임플란트 재료 상의 생체적합성 플라즈마 전해질 코팅을 위한 린 전해질
LEAN ELECTROLYTE FOR BIOCOMPATIBLE PLASMAELECTROLYTIC COATINGS ON MAGNESIUM IMPLANT MATERIAL 신세스 게엠바하
10-2014-7014998 구리 구조들을 갖는 AIN으로 만들어진 회로 기판
CIRCUIT BOARD MADE OF AIN WITH COPPER STRUCTURES 세람테크 게엠바하
10-2014-7017322 압력 센서 부착 세라믹 글로 플러그
CERAMIC GLOW PLUG EQUIPPED WITH PRESSURE SENSOR 니혼도꾸슈도교 가부시키가이샤
10-2012-7030253 세라믹 페룰
Ceramic ferrule 차오조우 쓰리-써클(그룹)Co., LTD.
난총 쓰리-써클 일렉트로닉스 Co., LTD.
10-2013-7029414 반도체 제조장치용 부재
MEMBER FOR SEMICONDUCTOR MANUFACTURING DEVICE 도가로가부시키가이샤
10-2014-7016517 기판상에 안료 패턴의 형성
FOAMING A PIGMENT PATTERN ON A SUBSTRATE 후지필름 디마틱스, 인크.
10-2014-7012645 전극 구조물 및 그의 제조 방법
ELECTRODE STRUCTURE AND METHOD FOR MAKING THE SAME 시온 파워 코퍼레이션
주요 등록특허 공개내용
2014년 7월 1일 ~ 2014년 7월 31일
우수한 접착강도의 하니컴 세라믹 필터
출원번호 | 10-2007-0003578 등록번호 | 10-1426-5230000
특허권자 | 주식회사 칸세라 발 명 자 | 안훈 외 2명
.jpg)
본 발명은 다수의 세라믹 세그먼트들을 상호 접합시켜 소정 형태의 하니컴 세라믹 필터를 제조하는 방법으로서, 세라믹 세그먼트들 사이의 접합부 및/또는 소정의 형태로 재단된 필터의 외벽 도장부에는, 다수의 세라믹 파이버들이 부직포의 형태로 밀집되어 있는 층(세라믹 부직포 층)을 형성하는 방법을 제공한다.
본 발명에 따른 하니컴 세라믹 필터는 세라믹 부직포 층을 개재함으로써 접합 성분의 낭비를 막을 수 있어 경제적이고, 접합 성분들이 세그먼트의 다공성 구조로 과량 흡입(suction)되는 문제점을 근본적으로 해소할 수 있으며, 내열 충격성이 매우 우수하다.
세라믹 허니컴 필터 및 배기가스 정화장치
출원번호 | 10-2008-7019853 등록번호 | 10-1425-4960000
특허권자 | 히타치 긴조쿠 가부시키가이샤
발 명 자 | 오츠보야스히코
.jpg)
발광세라믹을 지닌 조명장치
출원번호 | 10-2009-7013904 등록번호 | 10-1423-4750000
특허권자 | 코닌클리케 필립스 엔.브이 발 명 자 | 부셀트 볼프강 외 3인.jpg)
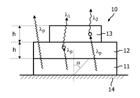
본 발명은 활성층(11), 예컨대 제1 발광 세라믹 변환층(12)으로 덮이며 제2 발광 세라믹 변환층(13)으로 부분적으로 덮이는 청색 LED를 포함하는 조명 장치(10)에 관한 것이다. 제1 변환층(12) 및 제2 변환층(13)은 활성층(11)에 의해 방출되는 1차 광자(λp)를 상이한 더 긴 파장(λ1, λ2)의 광자로 변환하며, 여기서 조명 장치(10)의 컬러 포인트는 제2 변환층(13)의 상대 크기를 조정함으로써 조정될 수 있다.
중온 동시 소성용 마그네시아 세라믹 기판 조성물
출원번호 | 10-2012-0138719 등록번호 | 10-1417-4450000
특허권자 | 송해근 발 명 자 | 송해근
.jpg)
본 발명은 적층 세라믹 기판을 제조함에 있어 가격이 저렴한 Ni 전극과 동시소성이 가능하도록 1400℃이하에서 소결특성과 Ni 전극과의 접합성이 우수한 마그네시아 세라믹 기판 조성물을 제공하는 것이다. 이를 위하여 본 발명은 Ni 전극과 열팽창계수가 비슷하고 열전도도가 높은 마그네시아(MgO)에 소결조제로 양질의 유리분말(glass powder) 또는 산화붕소(B2O3)나 산화바나듐(V2O5)를 적당량 첨가함으로써 소결특성을 개선시킨 마그네시아 세라믹 기판 조성물에 관한 것이다.
적층세라믹 전자부품
출원번호 | 10-2012-0111905 등록번호 | 10-1426-3220000
특허권자 | 티디케이가부시기가이샤 발 명 자 | 엔도마코토 외 2명
.jpg)
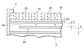
소형화되어도, 우수한 내습성과 전기 특성을 갖는 적층형 세라믹 전자 부품을 제공한다.
적층형 세라믹 전자 부품(1)은, 유전체층(2a)과 Ni를 주성분으로 하는 내부 전극층(3)이 교대로 복수 적층된 내층부와, 상기 내층부를 사이에 개재하는 한 쌍의 유전체 외층부(2b)를 구비하고 있다. 그리고, 상기 유전체 외층부(2b)에는 Ni 입자가 편석하고 있다. 또한, 상기 유전체층(2a)에 존재하는 Ni 입자의 양은, 상기 유전체 외층부(2b)에 비해 적게 되어 있다.
유전체 조성물 및 이를 유전체층으로 포함하는 적층형 세라믹 콘덴서
출원번호 | 10-2012-0145511 등록번호 | 10-1420-5350000
특허권자 | 삼성전기주식회사 발 명 자 | 김창훈 외 4명
.jpg)
본 발명은 ABO3(여기서, A는 Ba이고, B는 Ti임) 유전체 모재; 또는 ABO3로 표시되며, 여기서 상기 A는 Ba 및 Ca 중에서 선택되는 1종 이상이거나, 상기 B는 Ti, Ca, Zr, 및 Sn 중에서 선택되는 1종 이상인 유전체 모재를 주성분으로 하고, 부성분으로서 희토류 금속을 포함하지 않으면서, Mg:Mn의 함량비가 2:1≤Mg/Mn≤6:1를 만족하는 것을 특징으로 하는 유전체 조성물 및 이를 유전체층으로 포함하는 적층형 세라믹 콘덴서에 관한 것이다.
본 발명에 따르면, 유전체 조성물에서 희토류 금속을 포함하지 않으면서, Mg/Mn의 함량비를 조절하여 유전체 입자의 입성장 억제와 함께 균일한 미세구조를 형성할 수 있다. 따라서, 상기 유전체 조성물을 이용한 유전체층을 포함하는 본 발명의 적층형 세라믹 콘덴서는 고유전율과 낮은 손실계수을 나타내고, 고온에서의 전기적 특성이 우수하고, 온도에 따른 용량변화가 매우 안정적이다.
세라믹 입자를 포함하는 천 및 이의 제조방법
.jpg)
출원번호 | 10-2008-7023924 등록번호 | 10-1425-6850000
특허권자 | 이 아이 듀폰 디 네모아 앤드 캄파니
발 명 자 | 바데르 위브
가교결합성 폴리우레탄 및 세라믹 입자를 함유하는 조성물로 처리된 비-용융 기재 천을 포함하는, 용융 금속에 대해 저항성을 갖는 천이 제공된다.
잉크젯 프린팅법을 이용한 무소결 페라이트 세라믹 후막 제조방법
출원번호 | 10-2012-0050761 등록번호 | 10-1417-8450000
특허권자 | 한국세라믹기술원 발 명 자 | 김종희 외 3명
.jpg)
잉크젯 프린팅 공정시 노즐 막힘 형상을 미연에 방지함과 더불어 우수한 충진율을 확보할 수 있는 잉크젯 프린팅법을 이용한 무소결 페라이트 세라믹 후막 제조 방법에 대하여 개시한다.
기사를 사용하실 때는 아래 고유 링크 주소를 출처로 사용해주세요.
https://www.cerazine.net