주요 등록특허 공개내용
2014년 6월 1일 ~ 2014년 6월 30일
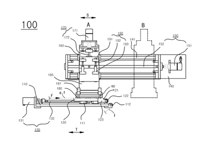
세라믹 시트 연속 박리 적층장치
출원번호 | 10-2012-0131440 등록번호 | 10-1411-2840000
특허권자 | 이상태, 이대근 발 명 자 | (주)이노시엠
.jpg)
본 발명은 세라믹 시트 연속 박리 적층장치에 관한 것으로, 세라믹 시트(s)가 부착된 필름(f)으로부터 상기 세라믹 시트(s)를 연속적으로 박리하며 적층한 후 이송하는 세라믹 시트 연속 박리 적층장치에 있어서, 박리 프레임(110) 상에서 박리 테이블 구동 수단(130)에 의하여 왕복 작동하며 세라믹 시트(s)가 부착된 필름(f)으로부터 상기 세라믹 시트(s)를 박리하도록 작동하는 진공 흡착 박리 테이블(120);과, 상기 박리 프레임(110)의 상측에 박리/적층위치(A)와 이송 위치(B) 사이에 설치되는 이송 프레임(140) 상에서 진공 흡착판 이송 구동 수단(150)에 의하여 왕복 작동하는 진공 흡착판 이송 프레임(160);과, 상기 진공 흡착판 이송 프레임(160) 상에서 상하 적층 구동 수단(170)에 의하여 상하로 왕복 작동하며, 박리된 상기 세라믹 시트(s)를 흡착하며 소정의 매수만큼 적층하는 진공 흡착 적층판(180);을 포함하여 구성되는 것을 특징으로 하는 세라믹 시트 연속 박리 적층장치에 관한 것이다.
본 발명에 의하는 경우 세라믹 시트의 박리와 적층 및 이송을 하나의 장치로 실시할 수 있는 것은 물론, 박리와 동시에 적층 과정을 수행하므로 작업 속도가 대단히 향상된다는 장점이 있다.
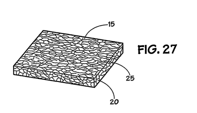
굴곡성 세라믹 적층 시트 및 점 접촉 가압을 통한 이의 제조방법
출원번호 | 10-2013-0022263 등록번호 | 10-1411-4800000
특허권자 | 에스케이씨 주식회사 발 명 자 | 김태경 외 9명
.jpg)
세라믹 소결 시트, 및 상기 세라믹 소결 시트의 일면 또는 양면에 적층된 유연성 필름을 포함하고, 상기 세라믹 소결 시트가 세라믹 소결 시트 상의 하나 이상의 기준점으로부터 둘 이상의 방향으로 전파되어 형성된 다수의 크랙을 포함하는 굴곡성 세라믹 적층 시트는, 세라믹 소결 시트의 일면 또는 양면에 유연성 필름을 적층하고 표면에 하나 이상의 점 접촉 가압을 수행하여 세라믹 소결 시트에 크랙을 형성하는 단계를 포함하여 굴곡성 세라믹 적층 시트를 제조하는 방법에 의해 제조될 수 있어서, 한 번의 공정으로 세라믹 적층 시트 상에 둘 이상의 방향의 크랙을 손쉽게 형성할 수 있을 뿐 아니라 라미네이션과 크랙 형성을 동시에 수행할 수 있으므로, 굴곡성을 필요로 하는 근거리 통신용 기기 등에 사용되는 자성 시트 등의 제조에 유용하게 활용될 수 있다.
세라믹 재료와 칸탈선을 사용한 튜브형 고온 전기로
출원번호 | 10-2013-0025922 등록번호 | 10-1410-8180000
특허권자 | 한국전기연구원 발 명 자 | 김봉서 외 5명
.jpg)
본 발명은 세라믹 재료와 칸탈선을 사용한 튜브형 고온 전기로에 관한 것으로, 더욱 상세하게는 상부가 개방된 튜브 형태의 석영관으로 이루어진 본체부의 외면에 감겨지는 열선부가 무유도 방식으로 권선된 칸탈선과 세라믹선으로 구성되고 열선부의 외측에 설치되는 단열부는 세라믹페이퍼와 비자성 스테인리스스틸시트로 구성되어, 간단한 구조이면서 두께도 줄어들어 제조비용을 줄일 수 있고 협소한 공간에서도 편리하게 사용할 수 있을 뿐만 아니라 고온 내열 재료를 사용하여 내열성과 단열성도 향상시킬 수 있는 세라믹 재료와 칸탈선을 사용한 튜브형 고온 전기로에 관한 것이다.
이러한 본 발명은 상부가 개방된 튜브 형태의 석영관으로 이루어진 본체부; 상기 본체부의 외면에 감겨지는 것으로, 상기 석영관의 외측에 권선되되 양 갈래로 나뉘도록 둥글게 반으로 접은 중간부가 상기 석영관의 하단에 위치한 상태에서 일측부와 타측부가 일정간격을 유지하면서 상기 석영관의 상단까지 나선형으로 감기는 무유도 방식으로 권선된 칸탈선과, 상기 칸탈선의 사이에 권선되어 상기 칸탈선 간의 접촉을 막는 세라믹선으로 이루어진 열선부; 및 상기 열선부의 외측에 설치되는 것으로, 상기 칸탈선과 세라믹선의 외측에 둘러 설치된 세라믹페이퍼와, 상기 세라믹페이퍼의 외측에 둘러 설치된 비자성 스테인리스스틸시트로 이루어진 단열부;를 포함하여 구성됨을 특징으로 한 세라믹 재료와 칸탈선을 사용한 튜브형 고온 전기로를 기술적 요지로 한다.
고밀도와 고강도를 가진 그린시트의 제조방법 그린시트 제조용 세라믹 슬러리, 및 그린시트
출원번호 | 10-2012-0119805 등록번호 | 10-1408-1350000
특허권자 | 한국과학기술연구원 발 명 자 | 오영제 외 2명
.jpg)
본 발명은 그린시트의 제조방법 및 그린시트 제조용 세라믹 슬러리에 대한 발명으로, 분산용매 및 분산제를 혼합하여 분산용액을 제조하는 제1혼합단계, 바인더 및 가소제를 상기 분산용액과 혼합하여 일액형용액을 제조하는 제2혼합단계, 세라믹 분말과 상기 일액형용액을 혼합하여 세라믹 슬러리를 제조하는 제3혼합단계, 그리고 기재(器財) 상에 상기 세라믹 슬러리를 도포, 건조하여 세라믹 시트를 포함하는 그린시트를 제조하는 필름형성단계를 포함하여 그린시트를 제조할 수 있다. 상기 그린시트는 세라믹 입자 간의 결합성, 가소성 및 기재 필름으로부터의 박리성이 양호하고, 원료 분말의 분산성도 우수하여서, 요철이나 크랙, 주름이 없는 우수한 표면성상을 가지는 고밀도의 세라믹 그린시트를 제공할 수 있다.
니켈분말과 그의 제조방법
출원번호 | 10-2006-0102247 등록번호 | 10-1407-1970000
특허권자 | 스미토모 긴조쿠 고잔 가부시키가이샤
발 명 자 | 우에다다까히로 외 3명
.jpg)
본 발명은 적층 세라믹 콘덴서(multilayer ceramic capacitors)의 내부 전극을 제조하는데 아주 적합한 니켈 분말 및 그의 제조방법을 제공하는 것이다.
팔라듐(Pd)과 은(Ag)의 분산 콜로이드 용액과 환원제와 알카리성 물질로 이루어진 알카리성 콜로이드 용액에 니켈(Ni)염 수용액을 첨가하여, 니켈입자를 생성시키고, 상기 니켈염 수용액으로 첨가되는 Ni 량에 대하여, Pd 량을 10~500 질량 ppm, Ag 량을 0.1~5 질량 ppm, 보호 콜로이드제의 첨가량을 0.02~1 질량 %로 한다. Pd와 Ag와 보호 콜로이드제의 질량비를 소정 범위 내로 억제함으로 이들의 첨가량을 더욱 감소시킬 수 있게 되었다. 이러한 제법에 의해 평균 입경이 적고, 균일한 입도분포를 가짐과 동시에 조대입자가 적은 구상 니켈 분말을 얻는다.
상온 경화영 무기질 세라믹 도료 및 이를 이용한 도장방법
출원번호 | 10-2014-0023820 등록번호 | 10-1405-3220000
특허권자 | 부림산업개발(주) 발 명 자 | 김상운, 박정근
.jpg)
본 발명은 무기질 세라믹을 사용하여 상온에서도 경화가 쉽게 일어나 구조물에 도장할 수 있는 도료에 관한 것으로서, 더욱 상세하게는 구조물 바탕면에 도포 되는 하도 도막용 도료 및 상기 하도 도막용 도료 상면에 도포 되는 상도 도막용 도료를 포함하는 상온 경화형 무기질 세라믹 도료 및 이를 이용한 도장 방법에 관한 것이다.
본 발명의 상온 경화형 무기질 세라믹 도료는 구조물의 바탕면에 도포되는 것으로 고로슬래그 100 중량부, 플라이애시 20 ~ 40 중량부, 알칼리성 활성제 30 ~ 70 중량부, 바인더 50 ~ 80 중량부 및 벽물질과 심물질로 구성되어 벽물질 내부에 심물질로서 EM이 포함된 다공성 마이크로캡슐 1 ~ 10 중량부로 구성되는 하도 도막용 도료; 및 상기 하도 도막용 도료 상면에 도포되는 것으로 오르가노 폴리실록산 100 중량부, 콜로이드상 실리카 10 ~ 30 중량부, 유기금속 촉매 0.1 ~ 5 중량부, 아미노실란 경화제 1 ~ 15 중량부, 유기용제 40 ~ 50 중량부, 바인더 10 ~ 30 중량부, 착색안료제 5 ~ 10 중량부 및 내열성 보강재 5 ~ 20 중량부로 구성되는 상도 도막용 도료; 를 포함하는 것을 특징으로 한다.
우수한 TCC를 갖는 중합체-세라믹 복합재
출원번호 | 10-2010-7007285 등록번호 | 10-1414-3760000
특허권자 | 오우크-미츠이, 인크 발 명 자 | 레이드위츠재클린 외 2명
.jpg)
본 발명은 약 -55℃ 내지 약 125℃ 범위 내에서의 온도 변화에 대하여 매우 낮은 정전 용량 온도 계수 변화를 나타내는 축전기 제조용 중합체-세라믹 복합 재료에 관한 것이다. 구체적으로 이러한 축전기 재료는 소정 온도 범위 내에서의 온도 변화에 대하여 약 -5% 내지 약 +5%의 TCC 변화를 가진다. 본 발명 복합 재료는 중합체 성분 및 강유전성 세라믹 입자의 블렌드를 포함하며 여기서 중합체 성분은 1 이상의 에폭시-함유 중합체 및 에폭시-반응성 기를 갖는 1 이상의 중합체를 포함한다. 본 발명 중합체-세라믹 복합 재료는 양호한 박리 강도 및 부서짐 없음과 같은 우수한 기계적 특성, 고 유전 상수와 같은 전기적 특성 및 개선된 가공 특성을 가진다.
블루세라믹 나노안료의 제조방법
출원번호 | 10-2012-0132716 등록번호 | 10-1409-1740000
특허권자 | 한국세라믹기술원 발 명 자 | 김진호 외 4명
.jpg)
본 발명은, 용매, 킬레이트제 및 금속이온을 포함하는 전구체를 혼합하는 단계와, 상기 용매, 상기 킬레이트제 및 상기 전구체가 혼합된 결과물을 가열하면서 교반하여 상기 킬레이트제를 용해시키는 단계와, 상기 킬레이트제가 용해된 용액을 제1 온도로 가열하여 폴리에스테르화를 진행시켜 고분자착체를 형성하는 단계와, 상기 고분자착체를 제2 온도에서 제1 열처리하는 단계와, 상기 제1 열처리된 결과물을 상기 제2 온도 보다 높은 제3 온도에서 제2 열처리하여 분말 형태의 블루 세라믹 나노안료를 형성하는 단계를 포함하며, 상기 전구체는 니켈(Ni) 및 코발트(Co) 중에서 선택된 1종 이상의 금속을 적어도 포함하고, 상기 블루 세라믹 나노안료는 스피넬 구조를 갖는 것을 특징으로 하는 블루 세라믹 나노안료의 제조방법에 관한 것이다. 본 발명의 블루 세라믹 나노안료의 제조방법에 의하면, 공정이 간단하고 신뢰성이 있으며 대량 생산에 적합하고 경제적이다.
금속기판의 세라믹 코팅방법 및 세라믹 코팅 금속기판
출원번호 | 10-2012-0029587 등록번호 | 10-1409-2950000
특허권자 | 한국기계연구원 발 명 자 | 최준환 외 6명
.jpg)
본 발명의 일 관점에 의하면, 금속기판을 제공하는 단계/ 상기 금속기판의 적어도 일면 상에 에어로졸 성막법을 이용하여 하지층을 형성하는 단계 및 상기 하지층 상에 세라믹층을 형성하는 단계를 포함하는, 금속기판의 세라믹 코팅방법이 제공된다. 이때 상기 하지층은 세라믹 재료로 형성할 수 있다. 또한 상기 하지층 및 세라믹층은 동일한 계열의 세라믹 재료를 포함하도록 형성할 수 있다.
다공성 세라믹 담체를 활용한 가열식 가습기
출원번호 | 10-1411-1920000 등록번호 | 10-2013-0106176
특허권자 | 최재구 발 명 자 | 최재구
.jpg)
본 발명은 가열식 가습기에 관한 것으로, 더욱 상세하게는 여과 기능과 가습 기능을 함께 겸비하고 자연친화적인 가열식 가습기에 관한 것이다.
본 발명에 따른 다공성 세라믹 담체를 활용한 가열식 가습기는 다공성 세라믹 재질로 이루어지며, 상기 다공성 세라믹 분말을 이용하여 성형시켜 일정한 형상의 통체로 형성되는 본체와 상기 본체 성형시 내부에 삽입되어 장착되는 히터를 포함하여 이루어진다.
이러한 가열식 가습기는 친환경적이며, 세균의 번식과 세균으로부터의 오염등을 막을 수 있으며, 부품의 간소화로 제작비가 절감되는 효과를 가져온다.
가압-진공 혼합식 세라믹 주입 성형장치
출원번호 | 10-2012-0079561 등록번호 | 10-1410-4200000
특허권자 | 금오공과대학교 산학협력단 다이섹(주)
발 명 자 | 오중표, 조경식
.jpg)
본 발명은 슬러리 상태의 세라믹 혼합재료를 주형에 가압 주입과 동시에 수분을 주형 외부로 신속하게 배출하여 세라믹 분말성형체로 제조한 다음 건조된 세라믹 분말성형체를 원하는 형태로 가공한 후 가열 소결하여 세라믹 성형품을 제조하는 가압-진공 혼합식 주입성형 장치에 관한 것으로서 더욱 상세하게는 성형 공간에 주입된 세라믹 혼합 재료의 성형밀도를 균일하게 유지하며, 균열이 발생하지 않는 세라믹 주입성형 장치에 관한 것이다.
이를 위해 본 발명의 가압-진공 혼합식 주입성형 장치는 천공된 복수의 배출공으로 수분을 배출하며, 판상 형태를 갖는 하부 부재 및 상부 부재를 포함하며, 상기 하부 부재와 상기 상부 부재 사이에 일정 너비를 갖고 내부가 비어 있으며, 수분이 포함된 세라믹 슬러리가 주입되는 적어도 두 개의 주입공이 천공되어 있는 측부 부재를 포함하는 성형틀, 상기 성형틀의 내측에 형성되는 여과 수단, 상기 성형틀 내부로 슬러리를 불어넣어 가압하는 압력 펌프를 포함하며, 상기 압력 펌프는 상이한 압력을 갖는 적어도 2단계의 가압 공정을 통해 최대 압력에 도달함을 특징으로 한다.
경사기공 구조를 갖는 다공성 세라믹 소결체의 제조방법
출원번호 | 10-2012-0053291 등록번호 | 10-1408-0830000
특허권자 | 서울대학교산학협력단 발 명 자 | 홍국선 외 7명
.jpg)
본 발명은 기공 크기와 기공률에 연속적인 경사도를 간단한 방법으로 정밀하게 제어하면서 부여할 수 있는 경사기공 구조를 갖는 세라믹 소결체의 제조방법에 관한 것이다.
본 발명은 세라믹 분말과 고분자 분말을 1:1 내지 100:1의 무게비로 혼합한 혼합분말을 가압 성형하여 성형체를 얻는 단계; 및 상기 성형체에 경사압력을 부여하면서 소결하여 경사기공 구조를 갖는 소결체를 얻는 단계를 포함하는 다공성 세라믹 소결체의 제조방법을 제공한다.
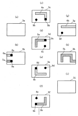
페라이트 자기 조성물, 세라믹 전자 부품 및 세라믹 전자 부품의 제조 방법
출원번호 | 10-2012-0096118 등록번호 | 10-1417-3330000
특허권자 | 가부시키가이샤 무라타 세이사쿠쇼
발 명 자 | 야마모또아쯔시
.jpg)
Cu를 주성분으로 하는 도전성 재료와 동시 소성해도, 절연성을 확보할 수 있어, 양호한 전기 특성을 얻을 수 있는 교대 권취 커먼 모드 초크 코일 등의 세라믹 전자 부품을 실현한다. 제1 코일 패턴(4a, 4b)으로 형성된 제1 코일 도체와, 제2 코일 패턴(5a, 5b)으로 형성된 제2 코일 도체가 자성체 시트(3a 내지 3i) 내에서 교대로 적층되어 있다. 제1 및 제2 코일 도체가 Cu로 형성되고, 자성체부는 CuO의 함유 몰량이 5㏖% 이하, Fe2O3의 함유 몰량 x, Mn2O3의 함유 몰량 y를 (x, y)로 표시하였을 때에, (x, y)가, A(25, 1), B(47, 1), C(47, 7.5), D(45, 7.5), E(45, 10), F(35, 10), G(35, 7.5) 및 H(25, 7.5)의 범위 내에 있는 Ni-Mn-Zn계 페라이트로 형성된다.
단열 및 분진방지용 코팅액이 도포된 세라믹섬유 방직물
출원번호 | 10-2013-0044669 등록번호 | 10-1410-4970000
특허권자 | 유승조 발 명 자 | 유승조
.jpg)
본 발명은 고온단열재나 내열성 보온재 등으로 사용되는 세라믹섬유 방직물에 관한 것으로, 보다 상세하게는 세라믹섬유로 직조된 방직물의 표면에 단열 및 분진방지용 코팅액이 도포되도록 구성함으로써, 사용시 열에 의한 경화 및 부스러짐을 방지하고 별도의 마감처리 없이 절단면의 올풀림을 방지하여 내구성을 대폭 향상시킬 수 있도록 할 뿐만 아니라, 설치 및 철거 작업시 비산분진의 발생을 방지하여 취급성을 향상시키는 동시에 가려움 등과 같은 피부자극이나 안구 및 호흡기 질환을 예방할 수 있도록 하는 단열 및 분진방지용 코팅액이 도포된 세라믹섬유 방직물에 관한 것이다.
지문인식센서 보호용 세라믹코팅제
출원번호 | 10-2014-0033253 등록번호 | 10-1406-3750000
특허권자 | 김제하, 티오켐 주식회사 발 명 자 | 노창섭 외 2명
본 발명은 본 발명은 스마트폰과 같은 모바일 기기용 지문인식센서의 표면에 세라믹코팅제로 코팅된 보호 박막을 형성시킴으로써 스크래치 발생을 억제하고, 변색 방지에 의한 미관을 개선시켜 제품의 장기 저장안정성을 확보할 수 있는 지문인식센서 보호용 세라믹코팅제 및 상기 세라믹코팅제로 코팅된 보호 박막을 갖는 지문인식센서에 관한 것이다.
공정스트림 분리 방법 및 어셈블리
출원번호 | 10-2007-7030055 등록번호 | 10-1417-0490000
특허권자 | 크리스타페이즈 인터네셔널, 인코레이티드
발 명 자 | 라오, 크리쉬나케이 외 3명
.jpg)
구성성분 분리 유닛 내 개방된-공극 다공성 고체 재료를 사용하여, 하나 이상의 공정 스트림을 바람직한 조성을 갖는 구성성분 공정 스트림으로 분리하기 위한 방법 및 어셈블리. 상기 개방된-공극 다공성 고체 재료를 사용하여 구성성분 분리 유닛 내에서 공정 스트림을 바람직한 구성성분 공정 스트림으로 분리하기 위한 방법 및 어셈블리에 있어서, 상기 개방된-공극 다공성 고체 재료는 산화물, 탄화물, 질화물, 붕화물, 세라믹, 금속, 폴리머, 및 화학 증기 증착 재료를 포함할 수 있다.
고체 이산화탄소 흡수제 및 이를 이용한 이산화탄소 제거 및 농축방법
출원번호 | 10-2012-0055975 등록번호 | 10-1414-9920000
특허권자 | 한국에너지기술연구원 발 명 자 | 유윤종 외 2명
.jpg)
본 발명에 따른 고체 이산화탄소 흡수제의 제조 방법은 1) a) 세라믹 섬유 10 ~ 80 중량%, b) 다공성 무기 물질 10 ~ 80 중량% 및 c) 유기 바인더, 무기 바인더 또는 그 혼합물 5 ~ 20 중량%를 혼합하여 종이를 제조하는 단계: 2) 상기 종이를 편파성형체로 성형한 후 감아서 원통형 허니컴 성형체를 제조하는 단계; 3) 상기 허니컴 성형체를 이산화탄소 흡수 물질이 용해된 용액에 침적한 후 건조하는 단계; 및 4) 상기 이산화탄소 흡수 물질이 담지된 허니컴 성형체를 소성한 후 냉각하는 단계를 포함하며, 이에 따라 제조된 고체 이산화탄소 흡수제를 이용하면 배기가스 중 이산화탄소를 제거할 때 공기의 흐름에 따른 흡수제의 깨짐 현상이나 공정 압력의 강하가 발생하지 않으며, 농축 이산화탄소의 필터링이나 주기적 보충이 불필요하고, 공정 단순화를 통해 장치비용과 운전비용이 절감된 안정적인 건식 이산화탄소 흡수 및 분리 농축 공정을 실현할 수 있다.
전기소자-패키지 유닛 제조 방법 및 그 방법에 사용되는 패키지 세트 조립체
출원번호 | 10-2012-0117692 등록번호 | 10-1411-8940000
특허권자 | 주식회사 엠디티 발 명 자 | 최두환, 최재선
.jpg)
본 발명은 전기 소자-패키지 유닛 제조 방법에 관한 것으로서, 더욱 상세하게는 그린 시트를 소결하여 제작된 세라믹 패키지에 전기 소자를 실장하여 전기 소자가 패키징된 상태의 전기 소자-패키지 유닛을 제조하는 방법에 관한 것이다.
본 발명은 패키지 세트 조립체에 관한 것으로, 더욱 상세하게는 상술한 바와 같은 본 발명의 전기 소자-패키지 유닛 제조 방법을 실시하기 위해 사용할 수 있는 패키지 세트 조립체에 관한 것이다. 본 발명의 전기 소자-패키지 유닛 제조 방법은 전기 소자-패키지 유닛을 제조하는 공정을 개선하여 전기 소자-패키지 유닛을 제작하는 공정의 생산성을 향상시키는 효과가 있다. 본 발명의 전기 소자-패키지 유닛 제조 방법은 전기 소자-패키지 유닛을 제조하는 공정을 개선하여 전기 소자-패키지 유닛을 제작하는 공정에서 패키지가 파손되는 것을 방지하고 전체적인 품질을 향상시키는 효과가 있다. 본 발명의 패키지 세트 조립체는 전기 소자-패키지 유닛을 제조하는 공정을 높은 품질과 우수한 생산성으로 수행하는 것이 가능하게 하는 효과가 있다.
원통형 다공성 세라믹 지지체의 제조방법
출원번호 | 10-2012-0156878 등록번호 | 10-1407-5050000
특허권자 | 재단법인 포항산업과학연구원
발 명 자 | 박영민 외 2명
.jpg)
본 발명에 의하면, 기공의 배열위치를 가스의 진행방향과 수평한 방향으로 배열함으로써, 유체가 전해질까지 이동하기에 유리한 원통형 다공성 세라믹 지지체의 제조방법을 제공하고자 한다.
안티 글레어 글래스 제조방법
출원번호 | 10-2009-0116761 등록번호 | 10-14086-630000
특허권자 | (주)미코씨엔씨 발 명 자 | 윤인수 외 4명
.jpg)
안티 글레어 글래스 제조 방법은 유리 기판 상에 균일한 두께를 갖는 세라믹 코팅층을 형성하고, 제1 식각 용액으로 상기 세라믹 코팅층을 상기 유리 기판으로부터 박리하여 유리 기판의 표면에 제1 거칠기를 형성한 후, 제2 식각 용액으로 상기 유리 기판의 표면을 식각하여 상기 유리 기판의 표면에 제2 거칠기를 형성함으로써 이루어진다.
기사를 사용하실 때는 아래 고유 링크 주소를 출처로 사용해주세요.
https://www.cerazine.net