세라믹스 관련 주요 특허
◈ 내국인
2014년 1월 1일 ~ 1월 31일
번 호 /명 칭 /출 원 인
10-2012-0066572 /콜로이드 입자 안정화 세라믹 폼을 코팅한 세라믹 소재 및 이의 제조방법 / 한국기계연구원
10-2014-0010874 /굴곡성을 갖는 세라믹 적층 시트 및 이의 제조방법/ 에스케이씨 주식회사
10-2012-0067360 /세라믹 도료 및 그 제조 방법 / 주식회사 상지기초소재
10-2012-0074259 /세라믹 코팅한 소아 보철용 에스에스크라운/ 조성훈
10-2012-0078413 /전자 화이트보드 코팅용 세라믹 코팅제의 조성물 및 이를 포함하는 전자 화이트보드/ (주)비앤에스미디어
10-2012-0069584 /웨이퍼 연마 장치 및 웨이퍼 연마 방법 /엘지이노텍 주식회사
10-2012-0077918 세라믹 분리막 구조를 포함하는 전기화학소자/ 삼성에스디아이 주식회사
◈ 외국인
2014년 1월 1일 ~ 1월 31일
번 호 /명 칭 /출 원 인
10-2013-7016287 /사이알론계 재료로 제조되는 절삭 공구/ 산드빅 인터렉츄얼 프로퍼티 에이비
10-2013-7025498 /무기 섬유 또는 나노섬유의 사용을 기본으로 하는, 분말 사출 성형에 의한 세라믹 또는 금속 부품의 제조방법/ 꼼미사리아 아 레네르지 아또미끄 에 오 에네르지 알떼르나띠브스
10-2013-7014308 /높은 가시광선 투과율을 갖는 비소가 없는 스피넬 유리-세라믹/ 코닝 인포레이티드
10-2013-7016516 /도펀트 농도 구배를 갖는 방사성 세라믹 재료들 및 그것을 제조하고 사용하는 방법들 / 닛토덴코 가부시키가이샤
10-2013-7022297 /프로판트 제조를 위한 압출 방법/ 옥세인 머티리얼스, 인크.
10-2013-37016390 /환원된 세라믹 가열부재/ 필립모리스 프로덕츠 에스.에이.
10-2013-7019878 /여과용 필터 및 여과용 필터의 제조 방법/ 도쿄엘렉트론가부시키가이샤
주요 등록특허 공개내용
2014년 1월 1일 ~ 1월 31일
대역 통과 필터
.jpg)
출원번호 | 10-2011-0097062 등록번호 | 10-1353-2170000
특허권자 | 삼성전기주식회사 발 명 인 | 장승구
본 발명은 저온 동시 소성 세라믹(LTCC) 기반 필터 등의 부가적인 부품을 추가하지 않고, 기존의 인쇄회로기판(PCB) 및 적층 세라믹 콘덴서(MLCC)로써 구성되어 회로에 내장될 수 있는 대역 통과 필터에 관한 것으로서, 본 발명의 실시예는 PCB 패턴에 의한 인덕터 및 MLCC에 의한 커패시터로 구성된 대역 통과 필터를 구현함으로써, 상대적으로 낮은 비용으로 고성능, 소형화된 대역 통과 필터를 구현하고, 양산성 및 신뢰성이 높은 대역 통과 필터를 생산하기 위한 것이 목적이다. 본 발명의 일 실시예에 따른 대역 통과 필터는 복수개의 PCB 패턴(Pattern)으로, 인덕턴스(Inductance)를 갖는 인덕터(Inductor) 패턴부, 상기 인덕터 패턴부의 하단측에 실장되는 복수개의 MLCC(Multi-Layer Ceramic Chip)로 구성되며, 커패시턴스(Capacitance)를 갖는 MLCC부 및 복수개의 PCB 패턴으로, 상기 인덕터 패턴부로부터 연장된 PCB 패턴에 연결되는 포트(Port)부를 포함할 수 있다.
나트륨 유황 전지 및 그 제조 방법
.jpg)
출원번호 | 10-2011-0143800 등록번호 | 10-1353-6000000
특허권자 | 재단법인 포항산업과학연구원, 주식회사 포스코
발 명 인 | 조문규
세라믹과 금속의 접합에 있어서, 저비용으로 고성능의 접합층을 얻을 수 있고, 세라믹과 금속의 접합에 있어서, 전체적으로 균일한 접합 계면을 형성하고 용융 나트륨에 대한 침식성이 우수한 접합층을 얻을 수 있도록, 나트륨 유황 전지의 양극과 음극을 절연하는 절연체에 금속재를 접합하는 공정을 포함하는 나트륨 유황 전지 제조 방법에 있어서, 상기 금속재의 접합 공정은 Mg 분말, Si 분말, 바인더 및 용매를 혼합하여 페이스트를 제조하는 단계와, 제조된 페이스트를 절연체의 표면에 코팅하는 단계, 절연체에 코팅된 페이스트를 매개로 금속재를 절연체에 열압착하여 접합하는 단계를 포함하는 나트륨 유황 전지 제조방법을 제공한다.
탄소 부품 및 그의 제조 방법
.jpg)
출원번호 | 10-2011-0037125 등록번호 | 10-1355-3270000
특허권자 | 이비덴 가부시키가이샤 발 명 인 | 미노우라 외 9명
본 발명은 내부에 구멍을 갖고, 그 외면이 세라믹 피막으로 덮인 탄소 부품을 제공한다. 상기 탄소 부품은 서로 접합된 두 장의 탄소 판재를 포함한다. 상기 구멍은 적어도 한쪽의 탄소 판재의 중첩 면에 형성된 홈과, 이 홈에 대향하는 다른 쪽의 탄소 판재의 중첩부에 의해 한정되어 있다. 상기 홈의 표면을 포함하는 상기 구멍의 내면 전역이 세라믹 피막으로 피복되어 있다.
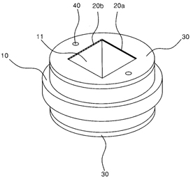
세라믹 성형물 제조용 분리형 및 일체형 초경지그금형
.jpg)
출원번호 | 10-2012-0088051 등록번호 | 10-1355-7550000
특허권자 | 손용주 발 명 인 | 손용주
본 발명은 세라믹 성형물 제조용 분리형 및 일체형 초경지그금형에 관한 것으로, 보다 상세하게는 다수개의 단락된 초경금속 재질 블록(20a, 20b)을 결합하거나 또는 일체화된 블록(20c)을 선택적으로 본체부(10)의 성형홈(11) 내부로 블록(20a, 20b)들을 일체화 시켜 결합 할 수가 있으며 필요에 따라 일체화된 블록(20c)을 구성하여 끼움 시키되 열융착방식이 아닌 다수개의 단락된 블록(20a, 20b)들 또는 일체화로 형성된 블록(20c)을 선택적으로 상기 성형홈(11)의 내부로 결합 구성됨으로써 세라믹 재료에 노출되고 충격이 가해짐으로 인해 손상된 블록(20a, 20b)들 또는 블록(20c)만을 분리하여 교체할 수 가 있어 유지 보수가 용이하여 경제적 효율성이 우수한 발명이라 하겠다.
카본섬유 발열램프 제조방법
.jpg)
출원번호 | 10-2011-0134739 등록번호 | 10-1358-0650000
특허권자 | 정원철 발 명 인 | 정원철
본 발명은 예비관(11)이 측면에 연통된 루비석영유리관(10) 및 카본섬유의 직조로 제작된 카본섬유발열체(20)를 각각 마련하고(S10), 카본섬유발열체(20)의 양 끝 단부(21)에 연결단자(30)를 각각 결속시키고(S20), 루비석영유리관(10) 속으로 카본섬유발열체(20)를 삽입시키고(S30), 연결단자(30)가 양단에 위치되도록 루비석영유리관(10)의 양단을 봉입시키고(S40), 예비관(11)을 통해 루비석영유리관(10) 속의 공기를 빼내 진공시킨 다음 질소 또는 헬륨을 주입시킨 후 예비관(11)을 커팅시킴과 동시에 봉입시키고(S50), 연결단자(30)에 케이블(40)을 접속시키면서 루비석영유리관(10) 및 케이블(40)을 세라믹 캡(50)으로 견고하게 잡아주는 스텝(S60)으로 이루어진 카본섬유 발열램프 제조방법에 관한 것이다.
금속염 화합물의 전구체용액을 이용한 구형 세라믹 분말 제조방법 및 구형 금속염 분말의 제조장치
.jpg)
출원번호 | 10-2012-0112839 등록번호 | 10-1354-4950000
특허권자 | 주식회사 그린리소스 발 명 인 | 이종범, 이종수
본 발명은 금속염 화합물의 전구체용액을 이용한 구형 세라믹 분말 제조방법 및 구형 금속염 분말의 제조 장치에 관한 것으로서, 금속염을 물에 용해하여 금속 염 용액을 준비하는 단계와, 상기 금속 염 용액을 용액저장고에서 일정 온도로 유지하는 단계와, 상기 금속 염 용액을 열선으로 가열하여 일정 온도로 유지하면서 스프레이 실린더에 공급하는 단계와, 상기 스프레이 실린더에 공급되는 금속 염 용액에 고온의 건조가스를 분사하여 분무・건조시켜서 구형 금속염 화합물을 얻는 단계와 상기 분무・건조된 구형 금속염 화합물을 하소 처리하는 단계와, 상기 하소 처리된 구형 금속염 화합물을 소결 처리하는 단계를 포함하여 구성되고, 상기 금속 염 용액을 일정 온도로 유지하는 단계는 고온으로 유지되는 상기 용액저장고로부터 증발하는 상기 금속 염 용액을 냉각기에 의해 냉각시켜 상기 용액저장고에 수용된 상기 금속 염 용액의 농도를 일정하게 유지하여, 독성 산을 용매로 사용하지 않으면서 바로 분무건조에 의해 구형 분말로 제조할 수 있으므로, 친환경적일 뿐만 아니라 제조공정이 간단하므로 금속염 구형 분말의 제조에 소요되는 시간과 비용을 절감할 수 있고, 금속염 용액의 농도가 향상되어 금속 염 구형 분말의 과립의 크기를 증가시키거나 조절할 수 있다.
그래핀의 기계적 분산방법

출원번호 | 10-2012-0013058 등록번호 | 10-1351-7040000
특허권자 | 주식회사 어플라이드카본나노
발 명 인 | 이대열 외 4명
본 발명은 그래핀의 기계적 분산방법에 관한 것으로, 금속, 폴리머, 세라믹 등의 기재와 그래핀을 기계적으로 가공하여 기지를 탄성 변형 또는 소성 변형시킴으로써 기지 내부에 그래핀을 균일하게 삽입 분산시키고, 그래핀이 분산된 복합분말을 기계적인 물질 이동법을 통해 가공함으로써 그래핀에 방향성을 부여하여 물성을 향상시킬 수 있는 그래핀의 기계적 분산방법을 제공한다.
액상가압법을 이용한 금속-탄소 복합재의 제조방법
출원번호 | 10-2012-0067274 등록번호 | 10-1353-9100000
특허권자 | 한국기계연구원 발 명 인 | 이상복 외 5명
액상가압법을 이용한 금속-탄소 복합재 제조 방법에 대하여 개시한다. 본 발명에 의한 제조방법은 a) 금형 내부에 탄소 입자 및 세라믹 입자를 포함하는 혼합 입자와 금속 기지를 장입하는 캐닝단계 b) 상기 금형 내부의 유체를 제거하는 진공형성단계 c) 상기 금형을 가열하는 금형가열단계 및 d) 상기 금형가열단계에서 용융된 금속 기지를 상기 혼합 입자와 함침하는 함침단계를 포함하는 것을 특징으로 한다.
내열성 수소 분리막 및 이의 제조방법
.jpg)
출원번호 | 10-2012-0003066 등록번호 | 10-1349-0110000
특허권자 | 한국에너지기술연구원 발 명 인 | 박종수 외 5명
본 발명은 다공성 금속지지체의 표면에 입상화 된 세라믹을 코팅하고 이의 상부에 수소 투과금속을 코팅하여 지지체와 수소분리층간에 확산을 억제하는 수소 분리막과 이의 제조방법에 관한 것이다. 이를 통하여 금속지지체의 특성으로 모듈화 용이한 장점과 함께 수소 투과층의 박막화에 의하여 수소 투과량의 증가와 함께 분리물질의 사용량을 최소하여 경쟁력이 향상된 수소 분리막을 제공할 수 있다.
실리콘 분리막을 이용한 이산화탄소 분리장치
.jpg)
출원번호 | 10-2013-0053058 등록번호 | 10-1354-6800000
특허권자 | 신기영, 김관식 발 명 인 | 신기영, 김관식
본 발명은 이산화탄소의 분리 및 회수장치와 분리방법에 관한 것으로, 더욱 상세하게는 부생가스가 나노 세라믹 분말로 코팅된 다공성의 고분자 실리콘(silicone)막으로 이루어진 분리관을 통과하면서 부생가스가 흐르는 분리관의 내부와 이산화탄소를 포집하는 분리관 외부의 부압차 및 이산화탄소 농도차를 이용하여 이산화탄소를 선택적으로 분리할 수 있는 이산화탄소 분리장치 및 방법에 관한 것이다.
세라믹 세터 판.jpg)
출원번호 | 10-2012-0077456 등록번호 | 10-1355-1190000
특허권자 | 에스케이씨 주식회사 발 명 인 | 유일환 외 7명
본 발명은 세라믹 세터 판에 관한 것으로서, 더욱 상세하게는 세라믹 그린시트 제조에 사용되는 세라믹 세터 판의 표면에 다수의 관통공과 그 관통공을 상호 연결하는 연결 홈이 형성되어 있는 구조로 이루어져서 세라믹 그린시트에 존재하는 다량의 유기계 결합재의 탈 바인더를 효율적으로 처리하여 이를 이용하여 제조되고 소성되는 세라믹 소결체의 균일성과 평탄화를 높일 수 있는 세라믹 막 또는 시트 제조용 세라믹 세터 판에 관한 것이다.
무소결 세라믹 하이브리드 기판의 층간 접속을 위한 도전성 비아 페이스트 및 그 제조방법
출원번호 | 10-2012-0043582 등록번호 | 10-1348-9500000
특허권자 | 전자부품연구원 발 명 인 | 박성대 외 2명
본 발명은 무소결 세라믹 하이브리드 기판의 층간 접속을 위한 도전성 비아 페이스트 조성물에 관한 것으로, 상기 도전성 비아 페이스트 조성물은, 하나 이상의 도전성 재료로 이루어진 도전성 재료 혼합물 및 열경화성 수지 및 열경화성 수지 경화제로 이루어진 열경화성 수지 혼합물을 포함하고, 상기 경화제는 열경화성 수지의 경화 온도를 상기 도전성 재료 혼합물의 소결 온도 이상으로 유지하도록 선택된 것을 특징적 구성으로 포함한다.
금속의 분산주조용 나노세라믹 복합분말 강화재 및 이를 이용한 금속재료의 강화방법
.jpg)
출원번호 | 10-2012-0060355 등록번호 | 10-1354-5510000
특허권자 | 한국원자력연구원 발 명 인 | 박진주 외 4명
본 발명은 금속의 분산주조용 나노세라믹 복합분말 강화재와 이의 제조방법, 이를 이용한 금속재료의 강화방법 및 이를 이용한 기계적 물성이 향상된 금속재료에 관한 것이다. 이를 위하여 본 발명은 알루미늄(Al), 타이타늄(Ti), 크롬(Cr), 망간(Mn), 철(Fe), 지르코늄(Zr), 구리(Cu), 니켈(Ni), 몰리브덴(Mo) 및 코발트(Co)로 이루어진 군으로부터 선택되는 1종 이상의 분말 및 철 분말을 나노세라믹 분말과 혼합한 후 기계적으로 밀링하여 제조되는 금속의 분산주조용 나노세라믹 복합분말 강화재를 제공한다. 또한, 본 발명은 상기 금속군으로부터 선택되는 1종 이상의 분말 및 철 분말을 나노세라믹 분말과 혼합하는 단계(단계 1) 및 상기 단계 1의 혼합분말을 기계적 밀링하는 단계(단계 2)를 포함하는 것을 특징으로 하는 금속의 분산주조용 나노세라믹 복합분말 강화재의 제조방법을 제공한다. 나아가, 본 발명은 금속을 용융시켜 금속용탕을 제조하는 단계(단계 1) 및 상기 금속의 분산주조용 나노세라믹 복합분말 강화재를 금속용탕에 첨가하는 단계(단계 2)를 포함하는 것을 특징으로 하는 금속재료의 강화방법을 제공한다. 상기 금속재료의 강화방법을 이용하여 기계적 물성 즉, 브리넬경도, 항복강도, 인장강도, 연신율이 향상된 금속재료를 얻을 수 있다.
반도체 제조 장치 부재 .jpg)
출원번호 | 10-2012-7011186 등록번호 | 10-1357-9280000
특허권자 | 엔지케이 인슐레이터 엘티디 발 명 인 | 고토 요시노부
세라믹 히터(10)는, 웨이퍼 배치 면을 갖는 원반형의 세라믹 플레이트(20)와, 이 세라믹 플레이트(20)의 웨이퍼 배치 면과는 반대 측의 면에 접합된 중공형의 샤프트(40)를 구비하고 있다. 세라믹 플레이트(20)의 내부에는, 세라믹 플레이트(20)의 중앙 측으로부터 외주면의 바로 앞에 이르는 열전대 통로(26)가 형성되어 있다. 세라믹 플레이트(20)의 이면에는, 파이프 형상의 열전대 가이드(32)가 부착되어 있다. 열전대 가이드(32)의 가이드 구멍(32a)은, 열전대 통로(26) 중 세라믹 플레이트(20)의 중앙 측에 연통하고 있으며, 열전대 통로(26)의 연장 방향에 대하여 경사지게 되도록 마련되어 있다.
패키징용 부품 및 그 제조방법
.jpg)
출원번호 | 10-2012-0059041 등록번호 | 10-1359-5440000
특허권자 | 필코씨앤디(주) 발 명 인 | 김종기 외 3명
본 발명은 패키징용 부품 및 그 제조방법에 관한 것이며, 보다 상세하게는 세라믹 재질의 출발물질을 혼합하여 슬러리를 제조하는 단계, 제조된 슬러리를 이용하여 세라믹 시트 성형체를 제조하는 단계, 상기 세라믹 시트 성형체의 적어도 일측에 시트간 전기적 연결이 가능하도록 제1도전성 물질이 충전되는 관통홀을 가공하는 단계, 상기 관통홀에 제1도전성 물질을 충전하는 단계, 시트에 회로 패턴을 인쇄하는 단계, 회로 패턴이 인쇄된 시트를 복수로 제조하고 적층하는 단계, 적층된 세라믹 시트의 최상층과 최하층 중 제1도전성 물질이 외부로 노출된 관통홀을 포함하는 영역에 전극 물질을 도포하는 단계, 상기 전극 물질이 도포된 적층된 세라믹 시트를 소성하는 단계 및 상기 도포된 전극 물질 상에 와이어 본딩 또는 솔더 범핑을 위한 제2도전성 물질을 도금하여 입출력 단자를 형성하는 단계를 포함하여 구성되어, 표면 실장 공정 및 와이어 본딩 공정을 선택적으로 사용할 수 있도록 하는 것을 특징으로 하는 패키징용 부품의 제조방법 및 패키징용 부품을 제공한다.
그래핀/세라믹 나노복합분말 및 그의 제조방법
.jpg)
출원번호 | 10-2012-0018179 등록번호 | 10-1355-5410000
특허권자 | 한국과학기술원 발 명 인 | 홍순형 외 3명
본원은 기지 세라믹, 및 상기 기지 세라믹 내에 분산된 그래핀을 포함하는 그래핀/세라믹 나노복합분말 및 그의 제조 방법, 및 상기 그래핀/세라믹 나노복합분말을 포함하는 그래핀/세라믹 나노복합소재 및 그의 제조 방법에 관한 것이다.
니켈 전극에 사용하기 위한 씨오지 유전성 조성물
.jpg)
출원번호 | 10-2008-7007022 등록번호 | 10-1351-1500000
특허권자 | 페로 코포레이션 발 명 인 | 사이메스 18명
본 발명은 다층 세라믹 칩 캐패시터에 관한 것으로서 본 발명에 따라 제조된 캐패시터는 COG 요건을 만족시키고 환원 분위기 소결 조건에 적합하여 니켈 또는 니켈 합금과 같은 비금속이 내부 및 외부 전극용으로 사용될 수 있게 한다. 이 캐패시터는 바람직한 유전 특성(높은 캐패시턴스, 낮은 소산 인자, 높은 절연 저항), 매우 가속된 수명 테스트에서의 우수한 성능 및 유전 파괴에 대하여 매우 우수한 저항성을 나타낸다. 유전 층은 다양한 조합의 TiO2, MgO, B2O3, CaO, A12O3, SiO2 및 SrO와 같은 다른 금속 산화물로 도핑된 스트론튬 지르코네이트 매트릭스를 포함한다. 도 1은 본 발명의 구현예에 따른 다층 세라믹 칩 캐패시터(1)의 단면도이다. 캐패시터(1)의 외부 전극(4)은 캐패시터 칩(1)의 측면 상에 내부 전극 층(3)과 전기 접속하여 배치된다. 캐패시터 칩(1)은 다수의 교호적으로 스택된 유전 층(2)을 갖는다.
다공성 코디어라이트/지르코니아 세라믹 허니컴 제조방법
.jpg)
출원번호 | 10-2007-0059948 등록번호 | 10-1356-3820000
특허권자 | 강릉원주대학교산학협력단 발 명 인 | 박상엽 외 4명
본 발명은 다공성 코디어라이트(cordierite)/지르코니아(zirconia) 세라믹 허니컴(ceramic honeycomb) 제조방법에 관한 것이다. 본 발명의 다공성 코디어라이트/지르코니아 세라믹 허니컴은, 코디어라이트 분말에 기계적 특성의 증진을 위한 지르코니아 분말, 기공 형성을 위한 흑연 분말 및 성형조제용 첨가제를 혼합하여 혼합물을 만들고 상기 혼합물을 성형하여 허니컴 성형체를 제조한 후 상기 허니컴 성형체를 건조 및 소성하여 제조되는 것을 특징으로 한다. 따라서, 우수한 기공 특성, 기계적 특성 및 압출성형성을 갖는 세라믹 허니컴을 원활히 제조할 수 있는 효과가 있다.
세라믹 분말의 합성방법 및 이로부터 합성되는 세라믹 분말, 소결체 및 세라믹 분말의 합성장치
출원번호 | 10-2012-0027025 등록번호 | 10-1350-3480000
특허권자 | 한국세라믹기술원, 주식회사 비츠로셀
발 명 인 | 김세기 외 4명
본 발명은 세라믹 분말의 합성방법, 합성된 세라믹 분말 및 제조된 소결체, 세라믹 분말의 합성장치에 관한 것이다. 보다 상세하게는 제1금속의 금속염 수용액을 초음파를 이용하여 복수의 액적으로 액적화하는 단계, 액적화된 제1금속의 금속염 수용액을 적어도 측면과 하면이 폐쇄된 용기 내에 분무하거나 흘려주는 단계를 포함하며, 상기 용기내에는 상기 제1금속보다 이온화 경향이 큰 제2금속의 수산화물 용액 또는 유기 수산화물 용액이 수용된다. 상기 액적화된 제1금속의 금속염 수용액이 상기 제2금속의 수산화물 용액 또는 유기 수산화물 용액과 접촉함으로써 접촉면에서부터 상기 제1금속의 수산화물 침전물이 생성되는 것을 특징으로 하는 세라믹 분말의 합성방법을 제공한다. 본 발명에 의하면, 초음파 액적화 장치를 이용하여 생성되는 미세한 복수의 액적으로 이루어지는 금속염 수용액을 상기 금속보다 이온화 경향이 큰 금속을 성분으로 하는 금속 수산화물 수용액에 가하여 미세 액적단위로 새로운 금속 수산화물이 동시에 다량 합성되도록 함으로써, 비표면적이 크고 응용분야가 매우 넓은 미세한 분말 크기를 갖는 금속 수산화물을 매우 용이하게 합성할 수 있다.
성형체의 휨 방지용 소결지그

출원번호 | 10-2007-0002488 등록번호 | 10-1355-6400000
특허권자 | 주식회사 칸세라 발 명 인 | 한 대곤, 한정필
본 발명은 세라믹 성형체의 소결 시 휨을 방지할 수 있는 소결지그에 관한 것이다. 본 발명에 따른 소결지그는 세라믹 성형체가 삽입되는 홈 형태의 삽입부를 갖는다. 상기 삽입부는, 바람직한 형태에 따라서 ‘V’자형 또는 ‘ㄷ’자형의 단면을 갖는다. 본 발명에 따르면, 삽입부에 의해 세라믹 성형체가 넓은 면적으로 지지되고 있는 상태에서 소결되어 소결과정에서 발생되는 휨 현상을 효과적으로 방지할 수 있다. 본 발명에 따른 소결지그는 필터나 촉매 담체용으로 사용되는 허니컴 세그먼트의 소결 시에 유용하게 사용된다.
기사를 사용하실 때는 아래 고유 링크 주소를 출처로 사용해주세요.
https://www.cerazine.net