2013년 8월 1일 ~ 8월 31일
세라믹 전자부품의 제조방법 및 세라믹 전자부품

출원번호 | 10-2012-0006118 등록번호 | 10-1301-0930000
특허권자 | 가부시키가이샤 무라타 세이사쿠쇼
발 명 인 | 타케우치스케 외 5명
직방체상의 세라믹 소체의 단면에 인출된 내부전극에 전기적으로 접속되어 있고, 도금막으로 이루어지는 외부전극을 포함하는 세라믹 전자부품을 적합하게 제조할 수 있는 방법을 제공한다. 복수의 제1 및 제2의 내부전극(11,12)이 내부에 형성된 세라믹 소체(30)를 준비한다. 내부전극 노출율이 102%~153%가 되도록 세라믹 소체(30)를 가공하는 가공 공정을 행한다. 가공된 세라믹 소체(10) 위에 도금막을 형성하는 도금 공정을 행한다.
탄소-세라믹 브레이크 디스크 및 이를 만드는 방법

출원번호 | 10-2010-0119415 등록번호 | 10-1304-1880000
특허권자 | 주식회사 데크 발 명 인 | 강정석 외 7명
본 발명인 탄소-세라믹 브레이크 디스크를 만드는 방법은, 탄소섬유와 페놀수지를 혼합하여 혼합물을 만드는 제1단계. 상기 혼합물을 몰드에 넣고 프레스로 가압하여 제1성형체를 만들고, 상기 혼합물을 몰드에 넣고 프레스로 가압하여 제2성형체를 만드는 제2단계. 상기 제1성형체를 탄화시키고, 상기 제2성형체를 탄화시키는 제3단계. 상기 탄화된 제1성형체를 기계가공하고, 상기 탄화된 제2성형체를 기계가공하는 제4단계. 상기 기계가공된 제1성형체와 상기 기계가공된 제2성형체를 서로 접착하는 제5단계. 상기 서로 접착된 제1성형체와 제2성형체에 규소를 녹여서 침투시키는 제6단계. 및 상기 규소가 침투된 제1성형체와 제2성형체를 연마하는 제7단계를 포함한다.
본 발명을 사용하면, 마찰층과 지지층의 결합력이 커져, 브레이크 작동시, 마찰층이 지지층으로부터 떨어져 나가지 않는다. 따라서, 탄소-세라믹 브레이크 디스크의 제동성능이 지속적으로 유지된다. 또한, 마찰층이 지지층으로부터 떨어져 나감으로써, 패드와 마찰층이 불규칙하게 접촉되어 발생하는 진동 및 소음을 방지할 수 있다. 또한, 지지층이 외부로 노출되어 산화되는 것이 방지된다.
고체 산화물 연료 전지용 복합 세라믹 접촉재 및 그 제조방법
출원번호 | 10-2009-0131639 등록번호 | 10-1300-1570000
특허권자 | 주식회사 포스코 발 명 인 | 한상무 외 2명
본 발명은 고체 산화물 연료 전지용 복합 세라믹 접촉재 및 그 제조방법에 관한 것이다. 고체 산화물 연료 전지용 복합 세라믹 접촉재는 입경이 큰 란탄코발타이트 입자 주위에 입경이 작은 페로브스카이트형 세라믹 입자가 감싸고 있는 심지구조를 이루고 있으며, 란탄코발타이트는 페로브스카이트형 세라믹 입자를 합성하기 위한 공정에서 출발 물질로 함께 첨가되어 합성된다. 본 발명에 의한 고체산화물 연료전지용 복합 세라믹 접촉재는 연료전지의 분리판과 극판 사이의 전기적 연결 특성을 향상시키며 화학적, 기계적으로도 안정하다. 고체 산화물, 연료 전지, 단위 전지, 분리판, 복합 세라믹 접촉재, 란탄코발타이트, 페로브스카이트형 세라믹 입자
세라믹 표면 인쇄용 잉크를 이용한 세라믹 표면 인쇄방법

출원번호 | 10-2011-0097530 등록번호 | 10-1296-2450000
특허권자 | (주)더몰론코리아 발 명 인 | 박충권
본 발명은 세라믹 표면 인쇄용 잉크를 이용한 세라믹 표면 인쇄방법에 관한 것으로, 구체적으로는 변성 실리콘 수지 20~60중량%, 내열안료 10~40중량%, 알루미나 파우더(Alumina Powder) 0.5~10중량%, 퓸드 실리카(fumed silica) 0.5~5중량% 및 용제 29~45중량%로 이루어진 세라믹 표면을 인쇄함으로써, 세라믹 표면에 간단하게 인쇄할 수 있다. 뿐만 아니라 인쇄 도막의 부착력이 우수하며, 피착물의 세라믹 표면에 1200℃~2000℃의 화염을 5초~10초 동안 방사하여 화염 방사처리(Flame treatment)를 하는 전처리 단계(S1). 상기 전처리 단계(S1)를 거친 세라믹 표면에 세라믹 표면 인쇄용 잉크를 이용하여 인쇄하는 인쇄단계(S2). 상기 세라믹 표면에 인쇄된 잉크를 20~25℃에서 5~20분간 건조시키는 건조단계(S3). 상기 세라믹 표면에 인쇄된 잉크를 250~320℃의 경화로에서 10~30분간 경화시키는 경화단계(S4). 및 상기 경화단계(S4)를 거친 피착물을 20~25℃에서 냉각하는 냉각단계(S5)를 거쳐 세라믹 표면에 인쇄함으로써, 유기 변성 실리콘 수지 도료를 바인더로 하는 내열 세라믹 도막이 형성된 피착물의 낮은 표면 에너지(물 접촉각 70°이상)를 상기와 같은 화염 방사처리를 통해 높은 표면 에너지(물 접촉각 30°이하)로 변환시켜 습윤성과 부착력을 향상시키는 것을 특징으로 하는 세라믹 표면 인쇄용 잉크를 이용한 세라믹 표면 인쇄방법에 관한 것이다.
접착시트, 이의 제조방법 및 다층 세라믹 시트의 절단 방법

출원번호 | 10-2007-0081769 등록번호 | 10-1304-7370000
특허권자 | 닛토덴코 가부시키가이샤 발 명 인 | 히라야마다카마사 외 5명
본 발명은 기재, 및 기재의 1 이상의 면 위에 배치되어 있으며 열 팽창성 미소구를 함유하는 점착층을 포함하는 접착 시트로서, 점착층은 두께가 10 내지 38㎛이고, 열 팽창성 미소구는 최대 입경이 점착층의 두께 이하이고, 모드 직경(mode diameter)이 5 내지 30㎛인 접착 시트에 관한 것이다. 본 발명의 접착 시트는 소형 세라믹 커패시터와 같은 전자 부품의 가공 단계에서 고정밀도 가공을 가능하게 하여, 제품 특성 및 생산성을 크게 개선시킬 수 있다.
세라믹 코팅 금속 필터의 제조방법

출원번호 | 10-2011-0039586 등록번호 | 10-1302-1400000
특허권자 | 고등기술연구원연구조합 (주)태린
발 명 인 | 정우현 외 3명
본 발명은 세라믹 코팅 금속 필터의 제조방법으로서, 각각 다른 크기의 메쉬를 가지는 복수의 메쉬 스크린을 이용하여 다층 메쉬 금속 스크린 필터의 형상으로 가공하는 단계(S100)와, 상기 제작된 다층 메쉬 금속 스크린 필터에 세라믹 나노코팅제를 코팅하는 단계(S300)와, 상기 나노코팅제가 코팅된 다층 메쉬 금속 스크린 필터에 직류 아크 플라즈마를 이용한 세라믹 용사 코팅하는 단계(S500)와, 세라믹 코팅 금속 필터를 완성하는 단계(S600)를 포함한다.
본 발명에 의하면 적층된 메쉬망의 상호 보완작용으로 인하여 기존의 절곡형 및 파이버(fiber)형 금속 필터보다 물리적 강도 면에서 크게 뛰어나므로, 보다 고압의 공정에 이용될 수 있고, 역세정을 통한 포집 분진 탈리 시 뛰어난 강도로 보다 안정적인 운전이 가능하고, 또한 기존의 금속 필터보다 고온에서 사용이 가능할 뿐만 아니라 부식성 성분이 포함된 배출가스 정제에도 세라믹 필터와 동일한 수준의 내식성을 가질 수 있는 효과를 가진다.
가압장치 및 이를 이용한 캐비티를 갖는 세라믹 기판의 제조방법

출원번호 | 10-2011-0026929 등록번호 | 10-1303-0650000
특허권자 | 주식회사 케이씨씨 발 명 인 | 유명한 외 2명
적어도 하나의 세라믹 시트로 이루어진 세라믹 기판에 캐비티를 형성하는 공정에 사용되기 위한 가압 장치에 있어서, 세라믹 시트가 적재되어 적어도 하나의 캐비티가 형성된 세라믹 기판이 위치된 제 1 프레스. 캐비티에 대응되되, 캐비티보다 작은 크기를 갖는 지그 개구가 형성되고, 상기 세라믹 기판에 적재된 세라믹 시트 위에 위치되어 지그 개구와 캐비티를 대응시키는 가압 지그 및 가압 지그를 가압하는 제 2 프레스를 포함하는 것을 특징으로 하는 가압 장치 및 이를 잉요한 캐비티를 갖는 세라믹 기판의 제조 방법을 개시한다. 상기와 같은 가압 장치 및 이를 이용한 캐비티를 갖는 세라믹 기판의 제조 방법은 캐비티의 형성 과정에서 캐비티의 손상을 방지하고, 이에 따른 세라믹 기판의 불량을 감소시킨다.
철제표면을 수분산성의 세라믹 도료로 표면처리 하는 방법
출원번호 | 10-2011-0029310 등록번호 | 10-1301-2100000
특허권자 | (주)디포유건업 발 명 인 | 권성우
철재표면을 수분산성의 세라믹도료로 표면처리하는 방법에 관한 것으로 구체적으로는 전처리한 철재표면에 탄닌산을 포함하는 고분화합물로 하도 처리하므로서 철재표면에 밀착되어 일체화되어 있는 제2 산화철(Fe2O3)을 극히 안정된 흑체산화철인(ferrosoferric oxide)인 제3 산화철(Fe3O4)로 전환시킴과 동시에 하도 피막층을 형성시키고 하도층위에 방청기능을 갖는 수분산성 세라믹코팅층으로 중도층을 형성시키며 중도층위에 메칠메톡시실란 및 콜로이달실리카로 구성된 침투성의 무기질 표면처리제를 코팅하여 상기 세라믹도료층의 미세한 공극에 침투시킴과 동시에 상도층을 형성시키므로서 일광, 공기, 수분, 열 및 산에 안정성을 갖게되어 우수한 물성확보와 내구성을 갖일 수 있는 철재표면을 수분산성의 세라믹도료로 표면처리하는 방법에 관한 것이다.
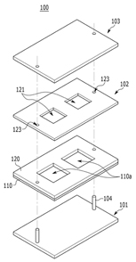
적층세라믹 전자부품 및 그 제조방법

출원번호 | 10-2011-0113546 등록번호 | 10-1300-3590000
특허권자 | 삼성전기주식회사 발 명 인 | 이충은 외 3명
본 발명은, 복수의 유전체층이 적층된 세라믹 소체. 상기 세라믹 소체 중 상하부에 위치한 유전체층 상에 형성되며, 상기 세라믹 소체의 일면을 통해 노출된 부분의 폭이 내부에 위치한 부분의 폭 보다 작은 제1 내부전극 및 상기 세라믹 소체 중 중간부에 위치한 유전체층 상에 형성되며, 상기 세라믹 소체의 일면을 통해 노출된 부분의 폭이 내부에 위치한 부분의 폭과 동일한 제2 내부전극을 포함하는 적층 세라믹 전자부품을 제공한다.
미세 다공성 세라믹 코팅 분리막 및 그 제조방법

출원번호 | 10-2011-0101768 등록번호 | 10-1301-5950000
특허권자 | 더블유스코프코리아 주식회사
발 명 인 | 김병현 외 3명
본 발명은 미세 다공성 세라믹 코팅 분리막 및 그 제조방법에 관한 것으로서, 좀 더 상세히 설명하면 다공성 기재의 일면 또는 양면에 무기 필러(inorganic filler)와 유기 바인더(organic binder)를 포함하는 수분산 세라믹 슬러리(slurry)가 코팅된 것으로, 상기 다공성 기재는 중량 평균 분자량이 300,000이상 500,000미만인 폴리에틸렌(polyethylene) 수지를 포함하여 이루어지고, 미세 기공들이 수평 방향으로 성장하여 섬유질 다공성 기재 사이에 다층 배향된 구조를 가지며, 양쪽 표면층(skin layer)에는 표면층의 전체 기공 중에서 크기가 0.01~0.05㎛인 기공이 90~97%의 분포율로 존재하고, 내부층(core layer)에는 내부층의 전체 기공 중에서 크기가 0.05~1㎛인 기공이 90~97%의 분포율로 존재하는 것을 특징으로 하는 미세 다공성 세라믹 코팅 분리막 및 그 제조방법에 관한 것이다.
세라믹 볼형 인공어초 및 그 제조방법

출원번호 | 10-2011-0117835 등록번호 | 10-1297-7890000
특허권자 | 안상표 발 명 인 | 안상표
본 발명은 세라믹 볼형 인공어초 및 그 제조방법에 관한 것으로, 본 발명은 자연토인 황토 및 세리사이트(sericite)를 주성분으로 하여 내부구조가 벌집모양의 다공질로서 흡수 및 흡착력이 뛰어나므로 수분 조절기능 및 오염물질의 흡착력을 높여 해조류의 부착이 용이하고 서식밀도가 높아질 수 있으며, 해수 수질정화 효율을 높일 수 있도록 하는 한편, 원주방향으로 복수 개의 출입어로가 형성되되 반구형으로 상호 대향되어 조립되는 상부어초와 하부어초로 이루어짐으로써 작은 어류의 은신 공간 및 서식 공간을 제공함과 동시에 어획 작업시 어망이 걸리지 않을 수 있으며, 인공어초의 파손을 방지할 수 있도록 함에 그 목적이 있다.
이를 위해 구성되는 본 발명에 따른 세라믹 볼형 인공어초는 상부어초와 하부어초의 한 쌍으로 이루어지되, 내부에 해조류 및 어류가 서식할 수 있는 공간이 형성되도록 상기 상부어초와 하부어초가 반구(半球) 형으로 이루어져 상, 하로 상호 대향되어 체결수단을 통하여 맞댐 조립되어 볼 형상을 이루는 세라믹 볼형 인공어초에 있어서, 상기 상부어초와 하부어초는 각각 내부공간이 외부와 연통 형성되는 측면 출입어로가 원주방향을 따라 일정간격을 가지고 복수 개가 형성되며, 상기 상부어초의 구부측 단부 중앙에는 원형의 상부 출입어로가 형성되고 상기 하부어초의 구부측 단부 중앙에는 원형의 하부 출입어로가 형성되되, 상기 상부어초와 하부어초는 각각 기능성 원료로 황토분말 100중량부에 대하여, 세리사이트(sericite) 분말 33~100중량부, 고로 슬래그 분말 46~120중량부, 소석회 분말 6~50중량부, 실리카흄 분말 3~20중량부, 무수석고 분말 6~50중량부, 그리고 골재원료로 골재 입도가 7~13mm인 부석 33~100중량부와 바텀애쉬 400~700중량부를 건식 혼합하며, 첨가원료로 상기 황토분말 100중량부에 대한 천연 무기질 첨가제 6~30중량부, 고성능 감수제 0.5~3중량부 및 물 6~200중량부를 원형 혼합기에 투입하여 교반하여 혼합한 혼합물을 반구형 어초블록 형상의 성형 틀에 넣어 성형한 후 양생시킨 후 건조하여 제조된다.
조류 부리로부터 유래된 세라믹을 이용한 생체의료용 및 산업용 재료의 제조방법

출원번호 | 10-2011-0122754 등록번호 | 10-1295-6860000
특허권자 | 충북대학교 산학협력단, 경북대학교 산학협력단,
특허권자 | 전남대학교 산학협력단
발 명 인 | 최석화 외 3명
본 발명은 조류부리 유래 세라믹 분말의 제조방법, 조류부리 유래 세라믹 분말을 포함하는 생체의료용 또는 산업용 세라믹 재료의 제조방법 및 이 방법에 의해 제조된 세라믹 재료에 관한 것이다. 본 발명의 방법에 의해 제조한 조류부리 유래 세라믹 분말을 생체의료용 또는 산업용 세라믹 재료의 원료로 사용하게 되면, 이종골 및 동종골 유래 세라믹 보다 안전하게 사용할 수 있고, 자가골 세라믹에 비해 대량생산 및 공급이 가능하며, 인공합성의 세라믹 보다 생체적합성이 우수한 세라믹 재료의 공급이 가능하다.
세라믹 코팅제, 그 제조방법 및 그 코팅제를 이용한 코팅방법
출원번호 | 10-2013-0054159 등록번호 | 10-1297-2010000
특허권자 | 주식회사 제이에스기술 발 명 인 | 김현민 외 3명
본 발명은 내수성, 방식성 및 내화학성이 향상된 세라믹 코팅제를 제공하며, 또한 그 세라믹 코팅제 제조방법 및 그 세라믹 코팅제를 이용한 코팅방법을 제공한다. 본 발명에 따른 세라믹 코팅제는 증류수 100중량부, 리튬실리케이트 60~90중량부, 보릭에시드 50~80중량부 및 에폭시실란 20~40중량부를 혼합하여 이루어진 제1반응물. 디프로필렌글리콜 100중량부, 에탄올 75~85중량부, 티타네이트아세틸아세트킬레이트 70~80중량부, 티타네이트아민계킬레이트 50~60중량부, 에폭시실란 50~60중량부, 테트라에톡시오르소실란 30~40중량부, 메틸트리에톡시실란 30~40중량부, 이소프로필티타네이트 20~30중량부 및 증류수 10~20중량부를 혼합하여 이루어진 제2반응물. 디프로필렌글리콜 100중량부, 노닐페놀 4몰 20~30중량부, 노닐페놀 5몰 15~25중량부, 노닐페놀 10몰 10~15중량부, 알루미늄플레이크 50~70중량부 및 니트로프로판 5~10중량부를 혼합하여 이루어진 제3반응물을 포함한다.
조직 공학용 하이드로겔-다공성 생체세라믹 융합형 스캐폴드 및 이의 제조방법
.jpg)
출원번호 | 10-2012-0064113 등록번호 | 10-1304-0150000
특허권자 | 단국대학교 산학협력단 발 명 인 | 김해원 외 2명
본 발명은 조직 공학을 위한 융합형 스캐폴드 및 이의 제조방법에 관한 것으로, 더 자세하게는 세포가 배양된 콜라겐 하이드로겔을 생체세라믹의 기공 내에 포함하는 콜라겐 하이드로겔-다공성 생체세라믹 융합형 스캐폴드 및 이의 제조방법에 관한 것이다. 이에 따른, 콜라겐 하이드로겔-다공성 생체세라믹 융합형 스캐폴드는 우수한 세포 성장률을 보일 뿐만 아니라, 세포 내 골형성 주요 단백질 유전자 발현을 향상시키는 효과가 있어 골 재생 소재 등의 조직 공학에 적용할 수 있다.
파우더 반죽 프레스 장치 및 이를 이용한 세라믹과 촉매 파우더의 반죽 방법

출원번호 | 10-2012-0108819 등록번호 | 10-1297-3270000
특허권자 | (주)뉴웰 발 명 인 | 이승주 외 3명
본 발명은 파우더 반죽 프레스 장치 및 이를 이용한 세라믹과 촉매 파우더의 반죽방법에 관한 것으로, 더 상세하게는 장치구조를 단순화하여 세라믹 및 촉매 파우더의 반죽과정에서 폐기되는 잔류물을 최소화하면서 소량의 파우더를 고밀도 반죽이 가능하도록 하는 파우더 반죽 프레스 장치 및 이를 이용한 세라믹 촉매 파우더의 반죽방법에 관한 것이다.
주조품의 불량을 감소시키기 위한 세라믹 개스킷 및 이의 제조방법

출원번호 | 10-2012-0008233 등록번호 | 10-1297-3370000
특허권자 | 심재영 발 명 인 | 심재영
본 발명은 주조 과정 중에 주조시 발생되는 누탕을 방지하고, 유해 가스를 발출시키며, 중자와 중자 사이, 중자와 외형 사이의 치수를 보정하고, 사락 발생 방지, 고온 용탕 주입시 중자와 주형이 평창에 의해 부서지는 현상을 막아 주기 위해 사용되는 세라믹 개스킷에 관한 것으로서, 본 발명의 주조 공정에서 주형 및 중자에 부착되는 세라믹 개스킷은, 완충성과 다공성 및 내열성을 지니며, Al2O3 43~51%와 SiO2 49~57%의 화학적 조성을 지니며 세라믹 원료에 펄프 성분을 함유시켜 제조된 세라믹 페이퍼를 일면에 레진처리하고, 150~200℃에서 약 3~4시간 동안 열처리하여 제조된다.
세라믹의 제조방법

출원번호 | 10-2012-0152446 등록번호 | 10-1295-4050000
특허권자 | (주)원윤 발 명 인 | 김진도
본 발명은 견운모와 세피오라이트, 스맥타이트, 일라이트를 혼합하여 혼합물을 준비하는 단계. 상기 혼합물을 400 내지 600매쉬의 크기로 분쇄하는 단계. 상기 분쇄된 혼합물을 400 내지 600℃로 가열하는 단계. 상기 가열된 혼합물에 상기 혼합물 1kg 대비 1~3ℓ의 물을 첨가하는 단계. 상기 물이 첨가된 혼합물을 10~50㎛의 입경으로 성형하는 단계를 포함하는 세라믹의 제조방법 및 이를 이용한 비료, 친환경 건축자재, 피부보호제 및 가축사료첨가제를 제공한다. 본 발명에 따른 세라믹의 제조방법은 천연광물의 고유한 성질을 살려 살균제, 친환경 비료, 토양개선제, 악취 및 유독가스 흡착, 탈취, 전자파 차폐, 친환경 건축자재 원료, 피부질환 등에 매우 효과가 있으며, 나이가 고성능 해독제, 건강 보조식품, 건축 자제 내-외장재, 피부보호제, 의류 및 원사사용, 동물사료 및 식물비료 등으로 사용할 수 있는 세라믹을 제조하는 효과가 있다.
중공 세라믹 비드를 포함하는 결로 방지 도료 조성물

출원번호 | 10-2013-0014031 등록번호 | 10-1297-2220000
특허권자 | 이완조, 송혜성 발 명 인 | 이완조, 송혜성
본 발명은 결로 방지 도료 조성물에 관한 것으로서, 중공 세라믹 비드, 고분자 결합제, 첨가제 및 물을 포함하며, 도료 조성물 총 부피 대비 상기 중공 세라믹 비드는 40 내지 70%이고, 상기 고분자 결합제는 18 내지 30%인 것을 특징으로 한다. 본 발명의 도료 조성물은 결로 방지 능력이 우수하다.
절삭 인써트

출원번호 | 10-2011-0089147 등록번호 | 10-1299-7830000
특허권자 | 대구텍 유한회사 발 명 인 | 장수길 외 2명
본 발명은 절삭 인서트의 절삭 날 부분만을 SiC 휘스커 강화 세라믹으로 형성하고, 이를 활성 솔더를 통해 생크부에 브레이징하는 것으로 절삭 인서트를 구성함으로써 절삭 인서트의 형상 제한이나 과도한 비용 소모 없이 SiC 휘스커 강화 세라믹의 높은 인성과 강도에 의해 우수한 절삭 성능을 발휘할 수 있도록 하는 절삭 인서트에 관한 것으로, SiC 휘스커 강화 세라믹으로 이루어지는 절삭날부와 초경 합금, 서밋 또는 세라믹으로 이루어지는 생크부를 포함하고, 상기 절삭날부는 활성 솔더를 이용하여 상기 생크부에 브레이징 되며, 상기 절삭날 부에는 상기 휘스커가 무질서하게 배열되어 있는 것을 특징으로 한다.
미세패턴 전극의 제조방법

출원번호 | 10-2010-0132502 등록번호 | 10-1297-5790000
특허권자 | 한국세라믹기술원 발 명 인 | 김효태 외 3명
본 발명은 기판에의 접착력이 증가되고 배선의 전기저항이 감소된 미세패턴 전극의 제조방법을 개시하며, 이를 위하여 감광성 세라믹 기판을 노광 및 현상하여 이의 상면에 함몰된 소정 폭 및 깊이의 트렌치 채널을 형성하는 단계와, 상기 감광성 세라믹 기판의 상면 전체에 감광성 전극 페이스트를 도포 및 건조하는 단계와, 노광 및 현상하여 하부가 상기 트렌치 채널에 충전되고 상부가 상기 감광성 세라믹 기판상에 돌출된 전극패턴을 형성하는 단계를 포함한다.
기사를 사용하실 때는 아래 고유 링크 주소를 출처로 사용해주세요.
https://www.cerazine.net