회사로고

Top
기사 메일전송

[ 통권 304호 2013.9 | ]

주요 등록특허 공개내용
  • 편집부
  • 등록 2013-11-05 11:01:26
  • 수정 2013-11-05 13:26:12
기사수정

주요 등록특허 공개내용

2013년 7월 1일 ~ 7월 31일

 

적층 세라믹 전자부품 및 적층 세라믹 전자부품 제조방법
출원번호 | 10-2010-0123421 등록번호 | 10-1288-1540000
특허권자 | 삼성전기주식회사  발 명 자 | 김준희 외 2명
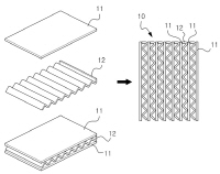
본 발명은 적층 세라믹 전자부품 및 적층 세라믹 전자부품 제조방법에 관한 것으로, 본 발명의 실시 예에 따른 적층 세라믹 전자부품은 제1 세라믹 파우더를 포함하고, 두께가 1㎛이하인 복수개의 세라믹 시트가 적층된 적층 본체이다. 복수개의 세라믹 시트에 형성된 내부 전극 패턴 및 세라믹 시트에 위에서 내부 전극 패턴을 둘러싸도록 형성되며, 상기 제1 세라믹 파우더보다 입경이 작은 제2 세라믹 파우더를 포함하고 상기 내부 전극 패턴보다 두께가 같거나 얇은 유전체 패턴을 포함한다.

 

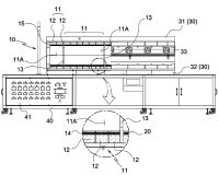
세라믹 패키지 싱귤레이션 시스템 및 싱귤레이션 방법
출원번호 | 10-2011-0110675 등록번호 | 10-1288-5440000
특허권자 | (주)네온테크 발 명 자 | 황성일
본 발명은 세라믹 패키지 싱귤레이션 시스템 및 싱귤레이션 방법에 관한 것으로서, 본 발명의 세라믹 패키지 싱귤레이션 시스템은, 세라믹 스트립이 캐리어 필름에 부착된 적어도 하나의 링프레임을 브레이킹 테이블로 로딩하는 로딩장치, 상기 브레이킹 테이블에 로딩된 링프레임의 세라믹 스트립을 개별 세라믹 패키지로 절단하는 절단부, 절단된 상기 개별 세라믹 패키지를 소팅 테이블로 이송하는 개별 세라믹 패키지 이송장치, 상기 소팅 테이블로 이송된 상기 개별 세라믹 패키지를 상기 링프레임의 캐리어 필름으로부터 분리하여 중간 스테이지로 이송하는 소팅부, 상기 개별 세라믹 패키지로부터 분리된 링프레임을 링프레임 배출위치로 이송하는 링프레임 언로딩장치 및 상기 중간 스테이지로 이송된 상기 개별 세라믹 패키지를 트레이로 언로딩 하는 개별 세라믹 패키지 언로딩 장치를 포함하고 세라믹 패키지의 절단 공정과 소터 공정을 자동으로 수행할 수 있는 효과를 갖는다.

 

세라믹 유치관 및 세라믹 유치관과 상악 전유치 간의 결합구조와 방법
출원번호 | 10-2011-0111737 등록번호 | 10-1287-8120000
특허권자 | 주식회사 하스 발 명 자 | 김용수 외 6명
본 발명은, 하악 전유치와 합치되는 상악 전유치용 세라믹 유치관의 설측면 부위에 관통구멍을 형성하고, 이 관통구멍이 형성된 상악 전유치용 세라믹 유치관과 상악 전유치 사이에 레진시멘트를 개재시키되, 상기 레진시멘트가 상기 관통구멍을 통하여 돌출되어 노출된 제1 레진숫형부의 두께를 상기 관통구멍을 구획 형성하는 세라믹 유치관 부위의 두께와 동일하게 함으로써, 하악 전유치와 상악 전유치용 세라믹 유치관의 설측면이 서로 반복적으로 부딪치게 되되 상기 하악 전유치의 선단이 제1 레진숫형부와 부딪치게 한다. 상기 세라믹 유치관이 금속보다 경도와 취성이 크고 탄성이 작아도, 덮혀진 상악 전유치용 세라믹 유치관과 합치되는 정상 하악 전유치가 경도가 높은 상기 세라믹 유치관과 반복적으로 부딪침에 의해 마모되지 않는다. 취성 재료인 상기 세라믹 유치관의 파절 위험을 현저히 낮추는 효과를 제공할 수 있고, 관통구멍을 통하여 상기 세라믹 유치관과 레진시멘트 서로 암수 결합시키는 것을 가능하게 하여, 상기 세라믹 유치관의 균열 발생 없이 안정적으로 상기 세라믹 유치관과 상악 전유치를 결합시키는 작용효과를 제공할 수 있다.

 

저온 소결 세라믹 재료 및 세라믹 기판
출원번호 | 10-2011-7015569 등록번호 | 10-1290-0890000
특허권자 | 가부시키가이샤 무라타 세이사쿠쇼
발 명 자 | 카츠베츠요시, 모토야마치코
소성후의 조성 편차가 작게 변동되지 않고, 소결체의 굽힘 강도가 높고, 표면전극의 박리 강도가 높고, 신뢰성이 우수한 세라믹 기판을 형성할 수 있는 저온 소결 세라믹 재료를 제공한다. 다층 세라믹 기판(1)의 세라믹층 (2)을 구성하기 위해 이용되는 저온 소결 세라믹 재료이며, Si를 SiO2로 환산해서 48~75중량%, Ba를 BaO로 환산해서 20~40중량%, 및 Al을 Al2O3로 환산해서 5~20중량% 함유하는 주성분 세라믹 재료와, 상기 주성분 세라믹 재료 100중량부에 대하여 Mn을 MnO로 환산해서 2~10중량부, 및 Ti와 Fe로부터 선택되는 1종 이상을 각각 TiO2 및 Fe2O3로 환산해서 0.1~10중량부 함유하는 부성분 세라믹 재료를 포함하고, 실질적으로 Cr산화물 및 B산화물 중 어느 하나도 포함하지 않는다.

 

수처리용 세라믹 구조체, 수처리 장치 및 수처리 방법
출원번호 | 10-2009-0130262 등록번호 | 10-1283-7940000
특허권자 | (주)엘지하우시스 발 명 자 | 한문숙 외 2명
본 발명은 수처리용 세라믹 구조체, 수처리 장치 및 수처리 방법 에 관한 것이다. 본 발명에서는, 세라믹 섬유로 제조된 세라믹 페이퍼를 포함하는 세라믹 매체를 사용하여, 광촉매의 담지 효율 및 담지 된 광촉매의 비표면적을 향상시킬 수 있다. 이에 따라, 본 발명에서는, 자외선 등의 조사에 의한 오염 물질의 분해 효율이 높고, 연속적인 정화 처리가 가능하며, 제조, 관리 및 수처리 비용을 크게 낮출 수 있는 수처리 장치 및 수처리 방법을 제공할 수 있다.

 

람다형 메탈세라믹 초음파 진동자 접합방법
출원번호 | 10-2006-0130720 등록번호 | 10-1282-9230000
특허권자 | 재단법인 포항산업과학연구원
발 명 자 | 김영덕, 김광일
본 발명은 메탈세라믹(metal-ceramic) 초음파 진동자의 접합에 관한 것으로, 특히 휴대용 정보통신 기기 등과 같이 가볍고 작으며, 저속에서 큰 토크가 필요한 초음파 모터에 적용하기 위한 초음파 진동자의 접합 방법에 관한 것이다.
본 발명은 초음파 모터용 메탈 세라믹 진동자에서 메탈과 세라믹을 정밀하게 접합하기 위하여 내부에 정사각형의 돌출부가 있는 람다(Lambda)모양의 치구와 이보다 높이가 낮고 한쪽 모서리부가 정사각형으로 잘려나가 앞의 치구에 정확하게 결합되는 치구, Lambda 모양의 돌출된 정사각형의 양 변에 낮은 치구, 위에서 정확히 정렬될 직사각형의 압전체, 정렬된 직사각형의 압전체 뒷부분을 밀어주어 정확히 정렬되도록 한 2단 돌출된 Lambda 모양의 치구, 정렬된 압전 세라믹 위에 정확히 놓이게 되는 Lambda형 모양의 메탈, 그 메탈 위에 정확히 정렬된 직사각형의 압전체, 2단 돌출 구조의 Lambda 형 치구의 돌출된 2 단에 정확히 정렬되는 구조의 치구를 포함하는 고효율 초음파 진동자 접합을 위한 정렬방법을 제공한다.

 

미끄럼 방지 세라믹 도료
출원번호 | 10-2011-0077403 등록번호 | 10-1284-1430000
특허권자 | 주식회사 엘에이치 발 명 자 | 이영성
본 발명은 보도나 자전거도로, 산책로, 주차장 등의 바닥재에 사용하는 미끄럼 방지 세라믹 도료와 그 시공방법에 관한 것으로, 더욱 상세하게는 무기바인더에 충진제, 안료, 용매, 미끄럼방지제를 첨가하여 이루어진 세라믹 도료를 제공한다. 시멘트콘크리트나 투수콘크리트, 아스팔트콘크리트 재질 등에 적용 가능하며 환경 친화적이면서 내구성이 좋은 미끄럼 방지 기능을 발휘하는 미끄럼 방지 세라믹 도료 및 그 시공방법에 관한 것이다.

 

섬유 세라믹 보드를 이용한 OLED 승화 정제용 히터 및 그 제조방법
출원번호 | 10-2013-0018227 등록번호 | 10-1288-4410000
특허권자 | 오강현 발 명 자 | 오강현
본 발명은 섬유 세라믹 보드를 이용한 OLED 승화 정제용 히터 및 그 제조방법에 관한 것으로, 보다 상세하게는 OLED, LED 등 액정표시장치에 사용되는 재료의 불순물 제거를 위한 승화 정제장치에 사용되는 히터에 있어서, 정제장치의 복수개 정제부를 각각 상이한 온도로 가열하는 히팅관을 다수의 분체가 결합된 형태로 제작하여 히팅수단의 매립이 쉽고, 히팅관의 재료로 사용되는 섬유 세라믹의 밀도를 균일하게 함으로써 단열기능을 향상시키며, 히터의 제작이 용이하게 이루어져 제작단가 저감 및 작업성을 증대시킨 섬유세라믹 보드를 이용한 OLED 승화 정제용 히터 및 그 제조방법에 관한 것이다.

 

생체분해성 마그네슘계 합금으로 다공성 구조체의 기공이 충진 된 복합재 임플란트 및 이의 제조방법
출원번호 | 10-2008-0024801 등록번호 | 10-1289-1220000
특허권자 | 한국보건산업진흥원, 유앤아이 주식회사
발 명 자 | 석현광 외 3명
본 발명은 생체분해성 마그네슘계 합금으로 다공성 구조체의 기공이 충진 된 복합재 임플란트 및 이의 제조방법을 제공한다. 본 발명에 따른 복합재 임플란트는 금속, 세라믹, 또는 고분자로 제조된 다공성 구조체의 기공에 생체 분해성 마그네슘계 합금을 충진 시키는 방법에 의해 제조되며, 기공에 충진 된 마그네슘계 합금이 다공성 금속, 세라믹 및 고분자 구조체의 강도를 증가시키므로 기계적 특성이 향상된다. 또한 함침 된 마그네슘계 합금이 생체 내에서 분해되면서 골 형성 속도를 증가시키는 효과를 기대할 수 있으므로 기존 다공성 소재에 비해 강도가 우수하고, 골조직과의 계면력이 우수하여 보다 빠른 골 조직 형성을 기대할 수 있다.

 

다기능 발광다이오드 조명모듈
출원번호 | 10-2013-0027849 등록번호 | 10-1284-2610000
특허권자 | 유제황 발 명 자 | 유제황
본 발명은 하는 다기능 발광다이오드 조명모듈에 관한 것으로 특히 복수의 LED를 이용하여 각종 조명기구에 사용되는 다기능 발광다이오드 조명모듈을 구성함에 있어서, 다수의 LED가 정해진 간격을 두고 납땜을 통해 고정 설치되는 세라믹 인쇄회로기판과 상기 세라믹 인쇄회로기판의 배면에 일체로 부착 설치되어 상기 세라믹 인쇄회로기판의 형상 유지기능과 LED들에서 발생되는 열을 방열시켜 주는 기능을 수행하는 방열판, 상기 세라믹 인쇄회로기판에 설치된 LED의 위치에 대응되는 위치에 정해진 빛 분사각을 갖는 렌즈들이 일체로 돌출된 형태를 갖고 상기 세라믹 인쇄회로기판의 저부에서 상기 세라믹 인쇄회로기판과 방열판을 감싸는 형태로 밀착 설치되는 렌즈 모듈 판, 복수의 렌즈 통과공을 구비하고 상기 렌즈 모듈 판의 저면과 4면을 감싸는 형태로 설치되어 다기능 발광다이오드 조명모듈 내로 물이나 습기가 유입되는 것을 방지하는 실리콘 몰드형 패드, 상기 방열판과 다수 LED가 설치된 상기 세라믹 인쇄회로기판, 렌즈 모듈 판 및 실리콘 몰드형 패드가 상호 밀착된 상태로 안착될 수 있도록 하는 수납홈과 복수의 렌즈 통과공 및 부품 고정용 스크류 결합봉이 일체로 구비되도록 알루미늄을 이용하여 다이케스팅 성형한 형태를 갖고 상기 실리콘 몰드형 패드의 저면과 4면을 감싸는 형태로 설치되는 커버, 상기 방열판과 다수 LED가 설치된 상기 세라믹 인쇄회로기판, 렌즈 모듈 판 및 실리콘 몰드형 패드에 각각에 천공된 스크류 통과공들 통해 커버의 부품 고정용 스크류 결합봉에 결합되어 상호 일체로 밀착 고정되도록 하는 복수의 부품 고정용 스크류로 구성한 것을 특징으로 한다.
따라서, 수개의 발광다이오드 조명모듈을 이용하여 각종 조명등기구를 제조할 때, 각각의 발광다이오드 조명모듈에 설치되는 렌즈의 각도를 해당 조명기구에서 원하는 광량과 배광특성에 적합한 렌즈를 선택/설치하면 되므로 해당 조명기구에 대해 법적으로 정해진 균제도를 정확히 만족시킬 수 있다.

 

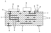
대용량 패키지형 적층 박막 커패시터
출원번호 | 10-2011-0090153 등록번호 | 10-1292-7760000
특허권자 | 삼화콘덴서공업주식회사  발 명 자 | 오영주 외 3명
본 발명은 대용량 패키지형 적층 박막 커패시터에 관한 것으로, 커패시턴스 블록(110)과 커패시턴스 블록(110)의 일측과 타측에 각각 설치되는 한 쌍의 클램프부재(120,130)와 클램프부재(120,130)에 각각 설치되는 한 쌍의 리드부재(140,150)와 한 쌍의 리드부재(140,150)가 각각 부분적으로 노출되도록 커패시턴스 블록(110)을 밀봉시키는 몰딩부재(160)로 구성되며, 커패시턴스 블록(110)은 세라믹 소성부재(111)와 금속 커패시턴스부재(112)와 박막 커패시턴스부재(113)가 순차적으로 적층되도록 형성하여 서로 다른 종류의 커패시턴스 부재를 적층함에 의해 용량을 증가시킬 수 있다.

 

미세구조 제어에 의한 산화물 세라믹 가시광 검출소자의 성능 향상 방법
출원번호 | 10-2011-0111144 등록번호 | 10-1291-7700000
특허권자 | 한국세라믹기술원, 주식회사 신한세라믹
발 명 자 | 김세기 외 6명
본 발명은 미세구조 제어에 의한 산화물 세라믹 가시광 검출소자의 성능 향상 방법 및 검출소자에 관한 것이다. 보다 상세하게는 MAl2O4로 표시되는 화합물(M은 스트론튬(Sr), 칼슘(Ca), 바륨(Ba)으로 이루어진 군으로부터 선택되는 적어도 하나)에 부활제로서 유로퓸(Eu)을 금속원소 M을 기준으로 하여 0.5몰% 내지 8몰%의 범위로 첨가하여 조성물을 제조하는 단계, 상기 제조된 조성물을 열간성형(hot pressing) 하는 단계를 포함하여 구성되어, 의도적인 결정립 성장과 결정 결함을 감소시키는 미세구조 제어에 의한 산화물 세라믹 가시광 검출소자의 성능 향상 방법을 제공한다.
본 발명에 의하면 일광, 형광등 등의 가시광을 방출하는 광원으로부터 조사되는 가시광선의 광량을 보다 높은 감도를 가지고 보다 넓은 범위에서 검출할 수 있는 효과가 있다.

 

열감응 조리기구와 그 제조방법
출원번호 | 10-2012-0134385 등록번호 | 10-1292-5550000
특허권자 | 대한화인세라믹 주식회사 발 명 자 | 이용진 외 2명
본 발명은 열감응 조리기구와 그 제조방법에 관한 것으로, 목적은 주방용 조리기구의 표면에 시온안료가 함유된 세라믹 도료를 코팅 처리하여 사용자가 육안으로 조리기구의 온도를 인지할 수 있는 열감응 조리기구와 그 제조방법을 제공하는 것이다.
주방용 조리기구에 있어서 상기 조리기구는 내부에 조리재료가 투입되기 위한 소정의 조리공간을 구비하는 본체와, 본체의 조리공간을 둘러싸고 있는 조리표면에 열감응 변색 세라믹도료에 의해 형성되는 열감응 코팅층을 포함하여 구성되어, 조리기구에 전달되는 열에 의해 열감응 코팅층이 변색되어 조리기구의 온도변화가 표현됨과 동시에, 열감응 코팅층을 통해 조리재료에 열이 전달되어 조리가 이루어지도록 되어 있다.

 

반도체 압력소자와 금속 다이아프램 구조를 이용한 압력센서 제조방법
출원번호 | 10-2012-0013605 등록번호 | 10-1288-3380000
특허권자 | 대양전기공업 주식회사 발 명 자 | 노상수 외 2명
본 발명은 반도체형 압력소자를 금속 다이아프램에 형성하는 방법에 관한 것으로서, 수압부 및 상기 수압부상에 형성된 절연부를 가진 금속 다이아프램을 가공하는 단계, 세라믹 파우더를 고압 분사하여 표면을 가공하는 샌딩 가공을 하여 요구되는 특성에 맞추어 표면 조도와 거칠기를 형성하는 단계, 상기 코팅된 절연막을 표면 연마 및 래핑을 이용하여 평탄도와 두께를 제어하는 단계, 습식으로 표면 연마 및 래핑 후 표면의 습기와 불순물을 제거하기 위해 분위기 열처리(질소 또는 진공)로 400~800도에서 2~4시간 열처리를 수행하는 단계, 이후 수압부에 설계되어 압력에 따라 변위가 증가되는 부분과 감소되는 부분에 반도체 실리콘 압력소자를 부착하기 위해 세라믹 코팅 절연막 상부에 유리계 에폭시 접합제를 후막 인쇄 공정 및 디스펜서 공정으로 접합제를 형성시키는 단계, 반도체형 압력소자를 상기 접합제에 10Psi의 가압으로 누르며 정밀 접합 형성시키는 단계, 및 상기 접합제를 섭씨 250도~500도에서 열처리하는 단계를 포함한다.

 

유도 가열 장치 및 이 유도 가열 장치를 포함하는 세라믹호브 캐비티
출원번호 | 10-2007-7019799 등록번호 | 10-1285-9100000
특허권자 | 이.지.오. 일렉트로-게라테바우 게엠바하
발 명 자 | 실링빌프리트, 도르바르트랄프
본 발명은 세라믹 호브 캐비티(50)를 위한 유도 가열 장치(11) 에 관한 것으로, 상기 유도 가열 장치는 자동 요소로서 구체화된다. 상기 유도 가열 장치는 지지 장치(20)를 포함하며, 상기 지지 장치는 전력 전자장치(33)와 제어 전자장치(37)를 포함하는 요소 지지체(31)및 유도 코일(13)을 지지한다. 상기 유도 가열 장치(11)에는 라인의 전력에 대한 제어 신호 및 주전원 연결부(57)로의 직접적인 연결을 위하여 제어 연결부(59)만이 제공된다. 상기 제어 전자장치 (37) 는 전력 전자장치(33)로의 라인의 전력을 확보한다. 상기 유도 가열 장치(11)는 종래의 복사 가열체(55)와 동일한 외부적 측정부를 갖는 것이 유리하다.

 

특고압 배전 가공전선의 연결애자
출원번호 | 10-2013-0007181 등록번호 | 10-1293-7160000
특허권자 | 주식회사 이린 발 명 자 | 김한규
본 발명은 특고압 배전 가공전선의 연결애자에 관한 것으로서, 세라믹 재질로 이루어지는 본체(10), 상기 본체(10)의 상부에서 일정한 높이로 축지지되는 홀더지지축(21)과 그 상단부에 일체로 형성되어 가공전선(L)이 안착 고정되도록 하는 홀더(22)로 구비되는 전선고정부(20), 상기 본체(10)의 상단부에서 상향 개방되도록 한 통형상의 실린더(31)와 상기 홀더지지축(21) 하단에 일체로 결합되어 상기 실린더(31)의 내부에서 승강 가능하게 구비되는 승강블록(32)과 상기 승강블록(32)의 하부에 탄설되는 하부스프링(33)과 상기 하부스프링(33)보다는 탄발력을 약하게 하여 상기 승강블록(32)의 상부에 탄설되는 상부스프링(34) 및 상기 본체(10)의 상부면에 볼트결합하여 상기 실린더(31)의 상단부를 커버하는 캡(35)으로 구비되는 제1 완충부(30), 상단부는 상기 본체(10)의 바닥면에서 상향 매설되고, 일정 길이 하향 연장되도록 하면서 하단부는 링형상의 축고정부(41)를 이루는 작동로드(40), 완철(S)에 고정 설치되면서 상기 축고정부(41)를 측방향으로 회전 가능하게 축지지되게 하는 케이스(51)와 상기 케이스(51)의 상측에서 상기 작동로드(40)의 축고정부(41) 상부를 양측에서 일정 탄력으로 가압하도록 탄설되는 판스프링(53)으로 구비되는 제2 완충부(50)를 포함하는 구성으로 이루어지는데 특징이 있다.

 

반도체 세라믹 및 정특성 서미스터
출원번호 | 10-2011-7012556 등록번호 | 10-1289-8080000
특허권자 | 가부시키가이샤 무라타 세이사쿠쇼
발 명 자 | 고토마사토 외 4명
본 발명의 반도체 세라믹은, 일반식 AmBO3으로 표시되는 페로브스카이트형 구조를 가지는 BamTiO3계 조성물을 주성분으로 하고, A사이트를 구성하는 Ba의 일부가, 적어도 알칼리 금속원소, Bi, 및 희토류 원소로 치환되는 동시에, A사이트와 B사이트의 몰비(m)가 0.990≤m≤0.999(바람직하게는 0.990≤m≤0.995)이다. 또한 Ba의 일부가 Ca로 치환되는 동시에, A사이트를 구성하는 원소의 총 몰수를 1몰로 했을 때의 상기 Ca의 함유량이 몰비 환산으로 0.042~0.20 (바람직하게는 0.125~0.175) 함유하는 것도 바람직하다. PTC 서미스터는 부품 소체(1)가 이 반도체 세라믹으로 형성되어 있다. 이것에 의해 알칼리 금속원소를 함유하고 있어도 양호한 라이징 특성을 얻도록 한다.

 

유기 또는 무기 코팅에 앞서서 알루미늄 기판을 세라믹산화물로 양극처리 코팅하는 방법 및 그 제조 물품
출원번호 | 10-2007-7008565 등록번호 | 10-1286-1440000
특허권자 | 헨켈 아게 운트 코. 카게아아 발 명 자 | 도란, 샤운, 이
제조 물품 및 그 물품 제조 방법에 관한 것으로서, 알루미늄 및 알루미늄 합금 공작물의 양극처리에 의해서 티타늄 및/또는 지르코늄 산화물을 포함하는 내식성, 내열성, 및 내마모성 세라믹 코팅을 제공하며, 후속하여 양극 처리된 공작물을 폴리테트라플루오르에틸렌(“PTFE”) 또는 실리콘 함유 코팅과 같은 제 2코팅으로 코팅한다. 본 발명은 아직 가요성을 가지는 경질의 필름 내에서 내식성, 내열성, 및 내마모성을 제공하는 티타늄 및/또는 지르코늄 산화물의 양극처리 층으로 기판을 예비-코팅함으로써 알루미늄 기판상에 보다 긴 수명의 코팅을 형성하는데 특히 유용하다.

 

아노다이징 필름 제조 방법
출원번호 | 10-2013-0041127 등록번호 | 10-1290-5390000
특허권자 | 와이엠씨 주식회사  발 명 자 | 장정택 외 3명
본 발명은 LCD 장비 부품의 공정에서 기존의 고온 실링 공정이나 고온 봉공 공정에서 발생하는 크랙이나 보이드를 억제할 수 있는 아노다이징 필름 제조 공정 기술에 관한 것으로, 기존의 아노다이징 필름층 표면에 실링하는 공정이나 홀하는 공정을 배제하고, 아노다이징 필름층에 직접 박막의 세라믹 코팅층을 형성하여 LCD 장비 부품에 대한 공정 중 발생할 수 있는 크랙의 발생을 억제하고, CVD, 드라이 에칭 공정 중에 발생할 수 있는 아킹 방전을 억제하는 기술에 관한 것이다. 본 발명에 따르면, 크랙이나 보이드를 억제함으로써, LCD 장비 부품의 제조 공정에서 내부식성을 향상시킬 수 있고, CVD 또는 드라이 에칭 공정에서 내플라즈마성을 향상시킬 수 있으며, 이로 인해 공정을 마친 LCD 장비 부품의 수명이 길어지는 장점이 있다.

 

기사를 사용하실 때는 아래 고유 링크 주소를 출처로 사용해주세요.

https://www.cerazine.net

 

0
회원로그인

댓글 삭제

삭제한 댓글은 다시 복구할 수 없습니다.
그래도 삭제하시겠습니까?

독일 뮌헨 세라믹 전시회
고기능소재위크
세로형 미코
02이삭이앤씨 large
이영세라켐
03미코하이테크 large
해륭_250509
케이텍
진산아이티
삼원종합기계
오리엔트
미노
대호CC_240905
01지난호보기
월간도예
모바일 버전 바로가기