회사로고

Top
기사 메일전송

[ 통권 301호 2013.6 | ]

주요 등록특허 공개내용
  • 편집부
  • 등록 2013-08-05 16:48:39
  • 수정 2013-08-05 16:51:58
기사수정

주요 등록특허 공개내용2013년 4월 1일 ~ 4월 30일

감광성 세라믹 시트를 이용한 바이오칩의 채널 형성 방법 및 이를 통하여 제조된 세라믹 바이오칩
출원번호 | 10-2010-0120955  등록번호 | 10-1261374-0000
특허권자 | 한국세라믹기술원 발 명 자 | 윤영준 외 3명
포토리소그래피 공정을 이용하여 세라믹 시트에서 정밀한 채널을 형성할 수 있는 바이오칩의 채널 형성 방법 및 이를 통하여 제조된 바이오칩에 대하여 개시한다.
본 발명에 따른 바이오칩의 채널 형성 방법은 (a) 세라믹 파우더, 바인더 및 용매를 포함하는 슬러리를 제조하는 단계; (b) 상기 슬러리를 이용하여 테잎 캐스팅(tape casting)으로 건조 세라믹 시트를 제조하는 단계; (c) 상기 세라믹 시트를 바이오칩에서 채널이 형성될 부분과 나머지 부분에 대하여 선택적으로 노광하는 단계; (d) 상기 선택적 노광이 이루어진 세라믹 시트를 현상하는 단계; (e) 상기 현상된 세라믹 시트를 적층하는 단계; 및 (f) 상기 적층된 세라믹 시트를 소결하는 단계를 포함하는 것을 특징으로 한다.

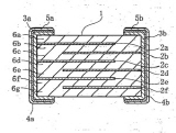
유전체 세라믹, 및 적층 세라믹 콘덴서
출원번호 | 10-2011-0095672 등록번호 | 10-1254085-0000
특허권자 | 가부시키가이샤 무라타 세이사쿠쇼
발 명 자 | 반노코이치
유전체층을 박층화한 경우에도 양호한 신뢰성을 얻을 수 있도록 하여, 중고압 용도에 적합한 적층 세라믹 콘덴서를 실현한다.
{100(BaTiO3+aBaZrO3)+bR+cMg+dMn+eSi}(R은 특정 희토류 원소, 0≤a≤0.2, 8.0≤b≤12.0, 1.0≤c≤10.0, 0.1≤d≤3.0, 1.0≤e≤10.0)로 표시되는 조성물을 함유하고, 입경이 0.7㎛이상인 제1의 입자와 0.6㎛이하인 제2의 입자를 포함하며, 제1의 입자의 평균 입경(Aave), 제2의 입자의 평균 입경(Bave)이 0.8㎛≤Aave≤2.0㎛, 0.1㎛≤Bave≤0.5㎛, Aave/Bave≥3.0을 만족하고, 제1의 입자가 점유하는 면적 비율(SA), 제2의 입자가 점유하는 면적 비율(SB)이 0.3≤SA≤0.9, 0.1≤SB≤0.7, 0.8≤SA+SB≤1.0을 만족한다.

세라믹 필터의 제조 방법 및 이에 의하여 제조되는 세라믹 필터
출원번호 | 10-2011-0053655 등록번호 | 10-1261299-0000
특허권자 | 한솔신텍 주식회사  발 명 자 | 조용수 외 2명
세라믹 필터의 제조 방법은, 세라믹 분말을 포함하는 슬러리를 망상 또는 다공질 구조체로 이루어진 담지체에 담지 시키는 단계; 담지체를 원통 또는 다각 기둥 형상의 권취부-상기 권취부는 상부 권취부와 하부 권취부로 나누고, 상부 권취부와 하부 권취부가 연결부재로 연결됨-에 감는 단계; 및 연결부재가 탈형 작업 방향으로 이동함에 따라 탈형 작업 이전의 상부 권취부와 하부 권취부 사이의 탈형 이전의 간격에서 탈형 이전의 간격보다 짧은 탈형 조건 간격을 얻음으로써 상부 권취부와 하부 권취부로부터 담지체가 분리되는 단계를 포함한다.

원적외선 세라믹히터를 이용한 농수산물 건조기
출원번호 | 10-2009-0091035  등록번호 | 10-1251971-0000
특허권자 | 임길웅  발 명 자 | 임길웅
본 발명은 원적외선 세라믹히터를 이용한 농수산물 건조기에 관한 것으로, 보다 구체적으로는 건조시킬 농수산물을 건조와 동시에 이송가능하도록 컨베이어 프레임에 의하여 지지되고 망체로 된 컨베이어벨트(20); 지지프레임에 의하여 지지되고, 상기 컨베이어의 상부에 설치되는 팬프레임(50); 농수산물이 이송되면서 원적외선에 의하여 연속적으로 건조되도록 상기 팬프레임(50)의 저면에 일정간격으로 설치되는 다수의 원적외선 세라믹히터(40); 상기 세라믹히터(40)에 의하여 원적외선으로 건조된 농수산물에서 발생하는 수분을 증발시킬 수 있도록, 상기 다수의 세라믹히터(40) 사이의 팬프레임(50) 상면에 설치되어 세라믹히터(40)와 일정간격으로 교차되게 설치되는 다수의 건조팬(30); 및 상기 건조팬에 의한 열풍 및 상기 세라믹히터(40)의 원적외선을 반사시키기 위하여, 상기 컨베이어 프레임에 연결되되 상기 컨베이어벨트(20)의 하부에 위치하도록 설치되는 반사판(60);을 포함하여 구성되는 것을 특징으로 하는 원적외선 세라믹히터를 이용한 농수산물 건조기에 관한 것이다. 이와 같이 본 발명은 다수의 원적외선 세라믹히터와 다수의 건조팬 및 반사판을 구비함으로 인하여 원적외선에 의한 연속적인 건조와 습기제거가 이루어지면서도 반사판에 의하여 건조효율을 현저히 향상시킬 수 있다.

탄소-세라믹 브레이크 디스크 및 그 제작방법 및 그 제작방법에 사용되는 다기능 코어
출원번호 | 10-2010-0119594  등록번호 | 10-1258828-0000
특허권자 | 주식회사 데크  발 명 자 | 강정석 외 7명
본 발명은 탄소-세라믹 브레이크 디스크 및 그 제작방법 및 그 제작방법에 사용되는 다기능 코어에 관한 것으로, 본 발명에 따른 탄소-세라믹 브레이크 디스크는 제1 원판부; 상기 제1 원판부와 일정 거리를 두고 위치하는 제2 원판부; 상기 제1,2 원판부들을 연결하는 다수 개의 연결부들; 상기 제1,2 원판부들과 연결부들에 의해 형성되는 냉각 채널들을 포함하며, 상기 냉각 채널들의 내벽에 내산화 코팅층이 구비된다. 이로 인하여, 본 발명은 냉각 채널들의 내면(내벽)이 산화되는 것을 방지할 뿐만 아니라 냉각 채널들을 통해 공기의 유동을 원활하게 된다. 또한, 본 발명에 따른 탄소-세라믹 브레이크 디스크 제작방법 및 그 제작방법에 사용되는 다기능 코어는 내산화 코팅층이 구비된 탄소-세라믹 브레이크 디스크를 간단하고 쉽게 제작하는 것이다.

세라믹 재질의 인서트를 사용한 주조용 쉘 중자 및 그 제작 방법
출원번호 | 10-2010-0129213 등록번호 | 10-1251475-0000
특허권자 | 한국생산기술연구원  발 명 자 | 홍준호
발명은 세라믹 재질의 인서트를 사용하는 주조용 쉘 중자 및 그 제작 방법에 관한 것으로서, 본 발명에 따른 주조용 쉘 중자는 주물의 형상에 따라 특정 부분이 분리되어 형성된 중자 본체, 그리고 분리된 특정 부분에 대응되어 세라믹 재질로 형성되고, 중자 본체에 결합되는 인서트를 포함하는 것을 특징으로 한다. 본 발명에 따르면, 주조용 쉘 중자의 파손되기 쉬운 특정 부분을 분리시켜 세라믹 재질로 형성한 후 쉘 중자의 본체에 결합시켜 주조용 쉘 중자를 제작함으로써, 몰드 합형 작업을 원활하게 진행할 수 있도록 하고, 절단에 취약한 부위의 강도를 높여줄 수 있으며, 주물 제품의 불량률을 낮출 수 있는 효과가 있다.

적층 세라믹 커패시터 제조용 이형필름 및 그 제조방법
출원번호 | 10-2011-0058849 등록번호 | 10-1259954-0000
특허권자 | 도레이첨단소재 주식회사  발 명 자 | 신준호 외 3명
본 발명에서는 무기 또는 유기입자가 함유된 폴리에스테르 필름의 일면에 형성된 알루미늄 증착층; 및 상기 기재필름의 일면 중 알루미늄 증착층이 형성되는 반대면에 고분자 실리콘 이형액의 도포에 의해 형성되는 이형층을 구비하되, 상기 이형층 표면의 3차원 중심선 평균조도(SRa)가 10~40㎚인 것을 특징으로 하는 적층 세라믹 커패시터 제조용 이형필름 및 그 제조방법을 제공한다.

내식성 부재의 세라믹 코팅 방법
출원번호 | 10-2011-0015461 등록번호 | 10-1254618-0000
특허권자 | 서울대학교산학협력단  발 명 자 | 박은수 외 3명
본 발명은 내식성 부재의 세라믹 코팅 방법에 관한 것으로, 모재의 표면에 비정질 합금을 증착하여 버퍼층을 형성하는 단계; 및 상기 버퍼층의 위에 에어로졸 증착법으로 세라믹을 코팅하는 단계를 포함하며, 증착된 세라믹 코팅은 이트리아(Y2O3)일 수 있다. 본 발명은, 비정질 합금층을 버퍼층으로 형성함으로써, 에어로졸 증착과정 초기의 앵커 형성이 뛰어나고 후기의 원료분말 분쇄에 적합하기 때문에 세라믹 코팅층의 접착강도와 특성을 향상시킬 수 있는 효과가 있다. 또한, 금속비정질 합금층을 버퍼층으로 형성함으로써 치밀하지 못한 세라믹 코팅만으로 구성된 재료에 비하여 뛰어난 내식성과 내플라즈마성을 갖는 서셉터 등의 내식성 제품을 제조할 수 있는 효과가 있다. 최종적으로, 향상된 특성을 가지는 세라믹 코팅층 형성이 가능하도록 하여 기존 금속 재료만으로 구현하지 못했던 다양한 특성이 융복합화된 내식성 부재의 구현이 가능하다.

멀라이트계 세라믹 기판 조성물 및 그 제조방법
출원번호 | 10-2011-0072392 등록번호 | 10-1254134-0000
특허권자 | 주식회사 대양신소재, 강릉원주대학교산학협력단
발 명 자 | 윤상옥 외 4명
본 발명은 멀라이트계 세라믹 기판 조성물 및 그 제조방법에 관한 것으로, 보다 상세하게는 멀라이트를 기지로 하고, 상기 멀라이트에 실리카를 첨가하고, 경우에 따라서 지르코니아와 지르콘 중에서 선택되는 적어도 어느 하나가 더 첨가된 멀라이트계 세라믹 기판 조성물을 제공한다. 이와 같이 제조되는 멀라이트계 세라믹 기판은 반도체 검사용 지그(프로브 카드)나 세라믹 히터용으로 사용되며, 신뢰성 증진을 위하여 열팽창계수가 5ppm/이하이고 휨강도가 250MPa 이상이며, 유전상수가 비교적 낮고, 전극과의 접합성이 우수하다. 특히 낮은 열팽창계수와 높은 강도를 구현하기 위하여 기지물질로서 멀라이트를 사용하였다.

세라믹-유리질 복합체 전극을 사용한 형광램프용 전자식 안정기
출원번호 | 10-2011-0121068  등록번호 | 10-1251378-0000
특허권자 | 권오주  발 명 자 | 권오주, 이문섭
본 발명은 램프의 불평형 점등을 없애고 램프 파손에 따른 사고 회피가 가능하도록 하며 고역률을 구현할 수 있는 세라믹-유리질 복합체 전극을 사용한 형광램프용 전자식 안정기에 관한 것으로, 입력되는 교류 전원에서 전자파를 제거하여 출력하는 전자파 필터(1100); 상기 전자파 필터(1100)로부터 출력되는 교류 전원을 정류하여 출력하는 정류부(1200); 상기 정류부(1200)의 출력을 역률보상하고 평활하여 직류를 출력하는 역률보상 및 평활부(1300); 상기 역률보상 및 평활부(1300)로부터 출력되는 직류를 스위칭 신호 발생부(1800)로부터 제공되는 스위칭 신호에 따라 스위칭하여 교류를 출력하는 스위칭부(1400); 상기 스위칭부(1400)로부터 출력되는 교류를 1차코일로 입력하고 2차코일로 유도하여 상기 2차코일을 통해 양측에 세라믹-유리질 복합체 전극을 구비한 형광램프(1900)로 제공하는 복권형 트랜스(1600); 상기 역률보상 및 평활부(1300)로부터 출력되는 직류와 설정된 기준전압을 비교하여 상기 역률보상 및 평활부(1300)가 상기 정류부(1200)로부터 제공되는 정류된 교류 전원의 역률을 보상하고 전압 및 전류를 일정하게 유지시켜 안정적으로 출력하도록 하는 정전압 및 정전류 제어부(1500); 및 상기 복권형 트랜스(1600)의 전압 및 전류에 따라 상기 스위칭 신호 발생부(1800)가 발생하는 스위칭 신호를 제어하여 상기 스위칭부(1400)의 출력이 입력되는 상기 1차코일에 과전압 및 과전류가 걸리지 않도록 하는 과전압 및 과전류 보호부(1700);를 포함하는 것을 특징으로 한다.

불가사리를 이용한 산성폐수 처리용 다공성 세라믹과 이의 제조방법 그리고 산성폐수 처리장치
출원번호 | 10-2012-0108282 등록번호 | 10-1254714-0000
특허권자 | 주식회사 이엠 인더스  발 명 자 | 이용덕, 임수빈
본 발명은 산성폐수 처리용 다공성 세라믹과 이의 제조방법 그리고 산성폐수 처리장치에 관한 것으로서, 더욱 상세하게는 불가사리를 이용하여 산성폐수를 중화시키고 중금속을 제거할 수 있는 다공성 세라믹과 이의 제조방법 그리고 산성폐수 처리장치에 관한 것이다.
본 발명의 산성폐수 처리용 다공성 세라믹은 불가사리 분말, 제올라이트, 기공제를 혼합하여 소성시킨 것을 특징으로 한다.
그리고 산성폐수 처리용 다공성 세라믹의 제조방법은 포획한 불가사리를 세척하여 염분을 제거하는 세척 단계와, 상기 불가사리를 500 내지 600℃로 구운 후 분쇄하는 가공단계와, 상기 가공단계에서 수득한 불가사리 분말 100중량부에 대하여 제올라이트 50 내지 150중량부와, 기공제 10 내지 40중량부를 가하여 혼합하여 성형하는 성형단계와, 상기 성형단계에서 성형된 성형체를 600 내지 800℃로 가열하여 소성하는 소성단계를 포함한다.

석탄재를 이용한 고기능 세라믹 콘크리트 조성물 및 이를 이용한 고강도 콘크리트 제조방법
출원번호 | 10-2012-0113373 등록번호 | 10-1254075-0000
특허권자 | (주)하이스콘  발 명 자 | 이중규
본 발명은4CaO·3Al2O3· SO3를 포함하는 클링커 80 중량부 내지 95 중량부 및 II형 무수석고 5 중량부 내지 20 중량부를 포함하는 CSA 시멘트 혼합물과 제 1 혼화제로 이루어지는 결합제; 제강슬래그, 석탄재 플라이애쉬 및 골재로 이루어지는 피결합제; 및 옥시카르본산염계인 제 2 혼화제;를 포함하는 것을 특징으로 하는 석탄재를 이용한 고기능 세라믹 콘크리트 조성물 및 이를 이용한 고강도 콘크리트 제조방법을 구현한바, 석탄재를 이용한 고기능 세라믹 콘크리트 조성물 및 이를 이용한 고강도 콘크리트의 제조시 증기양생 온도 및 시간을 감소할 수 있는 효과가 있다. 이로 인해, 강도 향상, 공기 단축과 제조 및 공사 비용을 절감할 수 있는 효과가 있다. 또한, 혼화제와 배합수의 양을 줄이면서도 작업성을 향상시킬 수 있으며, 탄소 가스 감소와 강알칼리 발생을 억제할 수 있는 효과가 있다. 이로 인해 환경오염을 방지할 수 있는 효과가 있다. 또한, 휨강도와 압축강도가 우수하므로 초고강도가 요구되는 광통신용 멘홀 등에 보다 얇은 두께로 적용이 가능한 효과가 있다. 또한, 강도가 높고 제조 단가가 낮으므로 활용범위가 넓은 효과가 있다.

가열 가능한 적외선 센서와 이 적외선 센서를 구비하는 적외선 온도계
출원번호 | 10-2010-7012000 등록번호 | 10-1252909-0000
특허권자 | 브라운 게엠베하  발 명 자 | 스카르프스테판 외 2명
본 발명은 전기 가열식 센서 하우징을 구비하는 적외선 센서에 관한 것인데, 상기 전기 가열식 센서 하우징은 세라믹 기판(10) 위에 부착되는 스트립 도체류 전기 가열 트랙 구조체(14) 형태의 가열 장치를 포함하고, 이 가열 장치의 가열 전력은 필요하다면 제어 장치에 의해 제어된다. 세라믹 기판(10)은 적절한 열전도율을 가진 절연 세라믹 재료 예를 들어, 산화 알루미늄 세라믹, 질화 알루미늄 세라믹, 또는 산화 베릴륨 세라믹으로 이루어져 있다. 세라믹 기판은 각 요건에 따라 임의의 형태를 가질 수 있는데, 대칭적인 베이스면 예를 들어, 8각형 베이스면이 특히 바람직하고, 그 이유는 패널의 형태로 저렴하게 제조할 수 있고 쉽게 분리될 수 있기 때문이다. 세라믹 기판(10)은 바람직하게는 센서 하우징의 바닥을 형성하고, 적어도 하나의 적외선 센서 요소 예를 들어, 열전대열 센서(16)를 지지하고 있다. 또한, 예를 들어, 대응하는 하우징 커버의 접촉 표면(12a)으로서의 역할을 하는 전기 스트립 도체(12)를 포함하고 있다. 관통공 컨택트(22)는 세라믹 기판(10)의 상면(10a)과 바닥면 사이의 전기적 접속부로서의 기능을 한다. 전기 가열 트랙과 스트립 도체(14, 12)는 바람직하게는 후막 트랙의 형태로 실현될 수 있다. 전술한 적외선 센서는 귓속의 온도를 측정하기 위한 적외선 온도계의 측정 팁에 특히 적절하다.

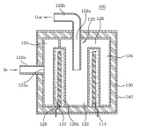
ESD 보호 디바이스 및 그 제조방법
출원번호 | 10-2011-0097340  등록번호 | 10-1254084-0000
특허권자 | 가부시키가이샤 무라타 세이사쿠쇼
발 명 자 | 스미타카히로 외 2명
방전 능력이 뛰어난 한편 쇼트 불량이 적고, 제조시에 특별한 공정을 필요로 하지 않아 생산성이 뛰어난 ESD 보호 디바이스 및 그 제조방법을 제공한다.
유리 성분을 가지는 세라믹 기재(1)와, 세라믹 기재의 표면에, 선단부가 서로 대향하도록 형성된 한쪽 대향전극(2a)과 다른쪽 대향전극(2b)을 구비해서 이루어지는 대향전극(2)과, 대향전극간에, 한쪽 대향전극과 다른쪽 대향전극의 각각과 접속하고, 한쪽 대향전극에서 다른쪽 대향전극에 걸치도록 배치된 방전 보조전극(3)을 구비하는 ESD 보호 디바이스에 있어서, 방전 보조전극과 세라믹 기재 사이에, 세라믹 기재에서 방전 보조전극으로 유리 성분이 침입하는 것을 방지하기 위한 밀봉층(11)을 구비한 구성으로 한다.
또한 밀봉층과 세라믹 기재의 계면에, 밀봉층과 세라믹 기재의 구성재료의 반응에 의해 생성된 반응 생성물을 포함하는 반응층을 구비한 구성으로 한다.

반도체 제조를 위한 유체가열용 인라인히터유닛
출원번호 | 10-2006-0087355  등록번호 | 10-1254531-0000
특허권자 | 씨앤지하이테크 주식회사  발 명 자 | 김형일, 홍사문
본 발명은 반도체 제조를 위한 유체가열용 인라인히터유닛(in-line heater unit)에 관한 것이다.
본 발명은, 반도체 제조용 공정장비측으로 소정 유체가 공급되게 되는 유체공급배관상에 직렬되도록 구비되어 상기 유체를 설정온도로 가열하게 되는 반도체 제조를 위한 유체가열용 인라인히터유닛으로서, 전류가 통전되면 고온으로 발열하게 되는 튜브형태의 열원과, 상기 유체공급배관에 대해 연통되도록 구비되어 내부를 흐르게 되는 상기 유체가 가열되도록 하며 상기 열원의 내외측 양측으로 상기 유체가 순차적으로 연속하여 흐르게 되는 내경이 확장되는 열교환공간부가 각각 형성되게 되는 유체가열확관부와, 상기 유체가열확관부를 외측에서 감싸도록 구비되어 단열하게 되는 단열재와, 상기 단열재를 외측에서 감싸도록 구비되어 외장 케이스를 형성하게 되는 하우징을 포함하는 것을 특징으로 한다.
따라서, 열원으로 고속 승온이 가능한 세라믹 발열체를 이용하게 되므로, 스탠바이 시간을 절약하여 생산성 향상과 소비 전력량 절감에 따른 제조원가의 감소를 이룰 수 있으면서, 열원인 세라믹 발열체가 고온에서 화학적으로 매우 안정함과 더불어 열원이 가열대상인 유체와 서로 격리되어 근본적으로 접촉할 기회가 없게 되므로, 유체 오염도 완벽하게 방지되어, 해당 유체를 이용하게 되는 반도체 제조공정에서의 제품 불량을 방지하여 생산수율이 향상되도록 할 수 있으며, 간접 가열방식이면서도 고온 발열이 가능한 세라믹 발열체를 이용함과 아울러 해당 세라믹 발열체에서 발열되는 열이 최대한 전열되도록 양측으로 열교환공간부가 형성되는 것에 의해 열교환효율이 극대화되어 유체를 충분하면서도 안정적으로 가열하여 원활히 공급할 수 있게 되므로, 해당 유체를 이용하게 되는 반도체 제조공정에서의 원활한 공정 수행이 가능하도록 하게 되는 등의 다대한 효과가 있게 된다.

도자기 가마
출원번호 | 20-2011-0002045 등록번호 | 20-0466361-0000
특허권자 | 이정길  발 명 자 | 이정길
본 고안은 힌지결합되어 개폐되는 전면도어와 상부도어를 구성한 케이스를 구성한 도자기 가마에 관한 것으로, 상기 케이스 내측 좌면에 밀착설치되며, 제1설치홈이 형성된 제1측방내화재와, 상기 제1측방내화재와 대칭되게 형성되어 상기 케이스의 내측 우면에 밀착설치되는 제2측방내화재와, 상기 케이스의 내측 후면에 밀착설치되어 제1, 2측방내화재를 케이스의 좌, 우면에 각각 밀착고정시키며, 제3설치홈이 형성된 후방내화재와, 상기 케이스의 바닥면에 설치되어 제1, 2측방내화재와 후방내화재를 케이스의 좌, 우, 후면에 밀착시키는 하부내화재와, 전면이 개폐되도록 상기 케이스에 힌지결합된 전면도어에 부착설치되며, 제4설치홈이 형성된 전방내화재와, 상면이 개폐되도록 상기 케이스에 힌지결합된 상부도어에 부착설치되는 상부내화재로 이루어진 세라믹내화재;를 구성하고, 상기 세라믹내화재에 구성된 제1, 2, 3, 4설치홈에 설치되어 열을 발산하는 히터장치;로 구성되되, 상기 세라믹내화재에 구성된 제1, 2측방내화재와, 후방내화재와, 하부내화재와, 전방내화재와, 상부내화재는 단열효과의 증대와 전력소모의 절감을 위해 세라믹섬유부재 85 ~ 95중량부와 경화제 5 ~ 15중량부를 혼합하여 압축경화시킴으로써 각각 하나의 블록으로 제작된 것에 특징이 있다.
그리고, 본 고안을 이용하면, 케이스의 내부 측면에 설치되는 각각의 세라믹내화재를 각각 하나의 블록으로 제작함으로써 단열효과의 증대와 더불어 전력소모량을 줄이고, 소형제작을 통한 가정용으로의 사용이 가능할 뿐만 아니라, 별도의 고정수단 없이도 케이스에 내측면에 측방내화재와 후방내화재를 손쉽게 고정설치할 수 있으며, 견고한 고정설치로 인해 내구성을 증진시킬 수 있게 된다.

 

기사를 사용하실 때는 아래 고유 링크 주소를 출처로 사용해주세요.

https://www.cerazine.net

 

0
회원로그인

댓글 삭제

삭제한 댓글은 다시 복구할 수 없습니다.
그래도 삭제하시겠습니까?

독일 뮌헨 세라믹 전시회
고기능소재위크
세로형 미코
02이삭이앤씨 large
이영세라켐
03미코하이테크 large
해륭_250509
케이텍
진산아이티
삼원종합기계
오리엔트
미노
대호CC_240905
01지난호보기
월간도예
모바일 버전 바로가기