주요 등록특허 공개내용
2013년 3월 1일 ~ 3월 31일
고밀도 섬유강화 세라믹 복합체의 제조방법
출원번호 | 10-2011-0067251 등록번호 | 10-1241775-0000
특허권자 | 한국에너지기술연구원 발 명 자 | 한인섭 외 6명
1) 열분해 탄소 및 탄화규소로 멀티 코팅된 섬유 성형체를, 페놀수지와; 탄소 분말과 금속 실리콘 분말을 포함하는 필러(filler) 성분을 혼합한 슬러리로 함침시키는 단계; 2) 상기 함침된 섬유 성형체를 탄화시키는 단계; 3) 상기 탄화된 섬유 성형체를 진공분위기 하에서 열처리하여, 상기에서 함침시킨 필러 성분을 용융시켜, 상기 섬유 성형체에 침투시키는 1단계 반응소결 단계; 4) 상기 1단계 반응소결된 섬유 성형체를 상온으로 냉각시킨 후, SiC 생성을 위한 고분자 전구체를 헥산(n-hexane) 용매에 용융시킨 용액으로 함침시키는 단계; 및 5) 상기 고분자 전구체로 함침된 섬유 성형체 표면에 금속 실리콘 분말을 충전하여 접촉시키고 진공분위기 하에서 용융시켜, 상기 성형체 내로 침투시키는 2단계 반응소결 단계를 포함하는 것 특징으로 하는 고밀도 섬유강화 세라믹 복합체의 제조방법에 관한 것이다.
지지체를 갖는 세라믹 필터 및 그 제조방법
출원번호 | 10-2004-0116177 등록번호 | 10-1242607-0000
특허권자 | 김기호 발 명 자 | 김기호
본 발명은 지지체를 갖는 세라믹 필터 및 그 제조방법에 관한 것으로, 특히 다공성 세라믹 필터에 있어서, 상기 다공성 세라믹 필터의 외벽, 내벽 또는 내부에 망상 또는 와이어형 지지체를 포함하는 것을 특징으로 하는 지지체를 갖는 세라믹 필터 및 그 제조방법에 관한 것이다. 본 발명에 따르면 세라믹 필터의 제작 또는 사용중에 취급의 부주의 또는 외부의 충격 등에 대하여 저항성을 갖고, 이러한 외력에 의하여 발생할 수 있는 세라믹 필터의 균열, 파손 등을 최소화할 수 있으며, 2차적으로 세라믹 필터의 파손에 따라 발생한 파편이 세라믹 필터로부터 분리되지 않아 흡기구 내로 유입되어 2차 파손이 일어나는 것을 방지할 수 있는 효과가 있고, 상기 지지체를 발열체로 이용하여 집진된 분진의 가열을 통한 연소에 의하여 실시간 분진제거와 필터의 재활용이 용이하고, 공정중의 집진장치 내부에 발생하는 응축수의 발생을 억제하고, 또한 본 발명의 제조방법을 통하여 대형필터를 저가에 용이하게 제조할 수 있으며 눈막힘 현상 및 압력손실의 최소화와 통기도 및 포집효율을 현저히 향상시킬 수 있다.
활성탄소섬유를 포함하는 세라믹 필터 및 그의 제조방법
출원번호 | 10-2004-0007221 등록번호 | 10-1242605-0000
특허권자 | 김기호 발 명 자 | 김기호
본 발명은 활성탄소섬유를 포함하는 세라믹 필터 및 그의 제조방법에 관한 것으로, 특히 세라믹 필터의 공극에 작은 입경과 넓은 비표면적을 가지는 활성탄소섬유가 구비됨으로써 세라믹필터의 흡착면적이 증가되어 유해물질에 대한 흡착성, 탈취성능이 향상되며, 내구성, 내마모성, 및 내열성이 우수하고, 미생물에 대한 살균효과가 우수하고, 빠른 탈착에 의하여 재사용이 가능하며, 동시에 성형성이 우수할 뿐만 아니라, 대형필터의 생산이 용이하고, 기공도 조절이 용이한 활성탄소섬유를 포함하는 세라믹 필터 및 그의 제조방법에 관한 것이다.
표면 결함의 치료를 통해 기계적 강도를 개선시키기 위한 유리-세라믹 또는 유리를 처리하는 조성물 및 처리 방법
출원번호 | 10-2006-7027973 등록번호 | 10-1243196-0000
특허권자 | 유로케라 에스.엔.씨. 발 명 자 | 빌라토,파블로 외 6명
본 발명은 유리-세라믹, 특히 판 형태의 유리-세라믹, 편평하거나 오목한 유리, 또는 섬유 형태의 유리의 표면을 처리하는 조성물에 관한 것으로, 상기 조성물은 상기 유리-세라믹 또는 상기 유리 상에 얇은 층으로 도포되기에 적합하다. 상기 조성물은 수성 매질에서, 다음 성분(A) 및 (B): 즉, 적어도 하나의 작용기 f(A)를 포함하는 적어도 하나의 화합물인 성분(A) 및 상기 유리-세라믹 또는 상기 유리 상에 도포된 얇은 층 내에서 중축합 및/또는 중합을 통해 상기 얇은 층을 고체 층으로 변형시키기 위해 성분(A)의 작용기 f(A)와 반응할 수 있는 적어도 하나의 작용기 f(B)를 포함하는 적어도 하나의 화합물인 성분(B)를 포함하며, 상기 성분(A) 및 (B)의 정의 내에 포함되는 화합물은 실리콘 원자에 부착된 적어도 하나의 R-O- 작용기(여기서 R은 알킬 잔기)를 포함하고, 및 상기 화합물의 적어도 일부는 수성 매질과 화합물(들)이 접촉하여 발생하는 자발적인 가수분해 또는 예비가수분해를 초래하는 가수분해 형태일 수 있는 실리콘 원자에 부착된 적어도 하나의 R-O- 작용기를 포함한다.
.jpg)
SiAlON 세라믹 및 그 제조방법
출원번호 | 10-2007-7020612 등록번호 | 10-1243088-0000
특허권자 | 케나메탈 아이엔씨 발 명 자 | 예클리루셀엘.
실리콘 나이트라이드 분말 중 0 중량 퍼센트의 하한과 약 1.6 중량 퍼센트의 상한을 갖는 범위의 베타-실리콘 나이트라이드 함량을 가진 실리콘 나이트 라이드 분말을 포함하는 출발 분말 혼합물로부터 제조되는 알파 프라임-베타 프라임 SiAlON 세라믹체 (20, 30) 및 그 제조방법. 상기 분말 혼합물은 또한 알루미늄, 산소, 질소 및 1종 이상의 선택된 희토류 원소를 SiAlON 세라믹체에 제공하는 1종 이상의 분말도 포함하며, 상기 선택된 희토류 원소는 희토류 원소의 세 가지 특정 군 중 둘 이상의 군으로부터 선택된다.
세라믹 보드를 이용한 연소 개질 반응기
출원번호 | 10-2008-0035110 등록번호 | 10-1251160-0000
특허권자 | 주식회사 엘지화학 발 명 자 | 이창훈 외 8명
본 발명에 따른, 외부에서 공급된 개질 원료와 연소 원료가 반응하여 개질 가스가 생성되는 연소 개질 반응기는 유체 유입 포트 또는 유체 배출 포트가 형성된 제 1 플레이트 및 제 2 플레이트; 및 제 1 플레이트 및 제 2 플레이트 사이에 배치되어 제 1 플레이트와의 사이 및 제 2 플레이트와의 사이에 유로를 각각 형성하는 채널 플레이트를 포함한다.
채널 플레이트는 표면에 촉매층이 형성된 세라믹 보드로 제조되며, 폭 방향으로 다수의 골 및 산이 교대로 형성되어 있어 제 1 플레이트와 하부면 사이 및 제 2 플레이트와 상부면 사이에 다수의 길이 방향 채널이 형성된다.
자연석 재료 및 세라믹 재료로 구성된 합성 타일 제조방법
출원번호 | 10-2009-0125410 등록번호 | 10-1242303-0000
특허권자 | 톤셀리다리오 발 명 자 | 톤셀리다리오
세라믹 재료로 제조된 타일(30, 50)과 결합된 자연석 재료로 제조된 타일(10A, 10B)을 포함하는 합성 타일(70, 80)의 제조방법에 있어서, 세라믹 재료로 제조된 타일(30, 50)이 자연석 재료로 제조된 타일(10)의 양 측부 상에 특정 조건으로 결합되는 초기 단계는 타일(10)이 타일의 중앙을 따라 대략적으로 절단되는 단계가 잇따라서, 두 개의 합성 타일(70, 80)들이 획득된다.
세라믹 소성로
출원번호 | 10-2010-0076845 등록번호 | 10-1250626-0000
특허권자 | 삼성전기주식회사 발 명 자 | 유원희 외 2명
본 발명은 소성로 내부의 기체 분위기를 균일하게 형성함으로써 소성되는 세라믹 기판의 불량을 최소화할 수 있는 세라믹 소성에 관한 것이다.
이를 위해 본 발명에 따른 세라믹 소성로는 성형체가 배치되는 내부 공간을 구비하는 케이스, 케이스의 내부에 배치되어 열을 발산하는 발열체, 및 외력에 의해 회전 가능하도록 케이스를 관통하여 체결되고 케이스의 내부 공간에 기체를 공급하는 다수의 급기부를 포함하는 것을 특징으로 한다.
세라믹 전자부품
출원번호 | 10-2009-0107562 등록번호 | 10-1251022-0000
특허권자 | 가부시키가이샤 무라타 세이사쿠쇼
발 명 자 | 니시사카야스히로 외 3명
특히 박형의 세라믹 전자부품에 있어서, 실장시 또는 실장상태에 있어서 가해지는 응력에 의해 생길 수 있는 크랙을 억제한다. 제1 및 제2의 외부 단자 전극(23,24)은, 세라믹 소체(22)의 실장면측을 향하는 주면(28)상에 있어서, 모두 실질적으로 사각형상의 영역(35,36)을 가진다. 주면(28)상에 있어서, 제1의 외부 단자 전극(23)의 갭 영역(34)과 접하는 단부(37), 및 제2의 외부 단자 전극(24)의 갭 영역(34)과 접하는 단부(38)가 모두 요철상으로 형성된다.
탄소-세라믹 브레이크 디스크 및 그 제작방법
출원번호 | 10-2010-0119592 등록번호 | 10-1247582-0000
특허권자 | 주식회사 데크 발 명 자 | 강정석 외 7명
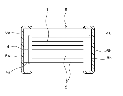
본 발명은 탄소-세라믹 브레이크 디스크 및 그 제작방법에 관한 것으로, 본 발명에 따른 탄소-세라믹 브레이크 디스크는 제1 원판부와, 상기 제1 원판부와 일정 간격을 두고 위치하는 제2 원판부와, 상기 제1 원판부와 제2 원판부를 연결하는 다수 개의 연결부들과, 상기 연결부들 사이에 형성된 다수 개의 냉각 채널들을 포함하며, 상기 제1 원판부와 제2 원판부는 각각 장섬유들을 포함하고, 상기 연결부는 단섬유들을 포함한다. 또한, 본 발명에 따른 탄소-세라믹 브레이크 디스크 제작방법은 성형틀에 장섬유들을 포함하는 혼합물을 채워 제1 층을 형성하는 단계; 다수 개의 관통 구멍들이 구비된 코어를 상기 제1 층위에 놓이도록 성형틀에 삽입하는 단계; 상기 코어의 관통 구멍들에 각각 단섬유들을 포함하는 혼합물을 채우는 단계; 상기 성형틀에 장섬유들을 포함하는 혼합물을 채워 상기 코어위에 제2 층을 형성하는 단계; 및 상기 성형틀 내부에 있는 제1 층, 코어, 그리고 제2 층을 가압 가열하는 단계를 포함한다. 본 발명에 따르면, 본 발명은 제1,2 원판부들을 서로 연결하는 연결부들의 구조적 강도를 높이고 열전달 효율을 우수하게 함으로써 외부의 충격이나 고속 주행에 의해 파손되는 것을 방지하게 되고, 제동시 발생되는 마찰 열을 외부로 효율적으로 방열시키게 되어 햇파트와 브레이크 디스크의 열변형을 방지하게 된다.
고체산화물 연료전지용 세라믹 연결재의 환원분위기 전기전도도 성능향상방법 및 저온제조방법
출원번호 | 10-2010-0136272 등록번호 | 10-1241284-0000
특허권자 | 한국세라믹기술원, 주식회사 뉴테크
발 명 자 | 최병현 외 9명 .jpg)
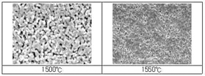
본 발명은 고체산화물연료전지(SOFC)의 연결재(interconnector)용 페로브스카이트(perovskite)구조의 세라믹 조성에 붕화물(LaB6, MgB6) 및 불화물(CaF2, SrF2)을 소결조제를 첨가하여 미량 불화물을 함유하거나 원자가가 같은 자리에 환원성에 강한 원소를 미량 치환시켜 750~850℃ 환원분위기에서도 높은 전도성을 유지함과 동시에 저온에서 소결이 가능한 연결재를 제조할 수 있는 방법을 발명한 것이다.
현재 SOFC에서 사용하고 있는 연결재의 경우 1550℃에서 높은 온도에서 소결이 가능하기 때문에 대부분 고가이면서 복잡한 공정인 플라즈마 또는 에어로젤방법으로 코팅막을 형성해서 1400℃ 소결하는 방법이 사용되고 있는데, 이러한 경우 연료전지 고온에서 발생하는 Cr의 휘발로 인해 단위 셀이나 스택구성소재와의 반응을 유발하고 환원분위기에서 산화크롬(Cr2O3)과 같은 스케일을 형성하여 특성을 저하시키기 때문에 1250℃이하의 저온에서의 소결이 가능한 방법을 발명한 것이다.
따라서, 저온에서 소결이 가능하도록 하기 위해 페로브스카이트(Perovskite) ABO3구조 산화물로 A자리에 위치한 La, Y에 Sr, Ca등의 재료를 고용하고 B자리에 위치한 Cr에 Mn, Co, Mg등의 재료를 첨가한 합성물을 주성분으로 하는 세라믹 연결재에 소결조제로 붕화물(LaB6, MgB6) 및 불화물(CaF2, SrF2)을 소결조제로 0.01~0.3 몰 퍼센트 치환 또는 첨가하여 기존 1550℃ 이상에서 소결이 가능한 조성을 1250℃ 이하의 낮은 온도에서 소결이 가능하며 소결 후 미량 불화물을 함유하거나 원자가가 같은 자리에 환원성에 강한 원소가 미량 치환되어 750~850℃ 환원분위기에서도 높은 전자 전도성을 유지할 수 있는 세라믹 연결재를 제조하는 것이다. 이는 저온소결로 인한 원가절감 및 연료전지 선도적 기술 분야를 개척할 수 있다.
금속-수지 접합 방법 및 금속-수지 복합체, 유리-수지 접합방법 및 유리-수지 복합체, 및 세라믹-수지 접합 방법 및세라믹-수지 복합체
출원번호 | 10-2008-7007781 등록번호 | 10-1246429-0000
특허권자 | 고꾸리쯔 다이가꾸 호우징 오사까 다이가꾸
발 명 자 | 가따야마, 세이지 외 3명
본 발명은, 적용 분야에 제한이 없고 간이한 방법으로 강고한 접합부를 형성할 수 있는, 금속 재료, 유리 재료 또는 세라믹 재료와 수지 재료와의 접합 방법을 제공한다. 본 발명은 금속 재료, 유리 재료 또는 세라믹 재료와 수지 재료와의 접합 방법에 있어서, 금속 재료, 유리 재료 또는 세라믹 재료와 수지 재료를 합친 상태하에 접합부의 수지 재료에서 바람직하게는 0.01 ㎜ 내지 5.0 ㎜의 구 상당 직경의 기포가 발생되는 온도까지 접합부를 가열함으로써 접합시키는 것을 특징으로 하는 접합 방법이다. 접합부를 가열하는 가열원으로는, 특히 레이저 광원을 이용한다.
압전 자기 조성물, 및 압전 세라믹 전자부품
출원번호 | 10-2011-7008864 등록번호 | 10-1243100-0000
특허권자 | 가부시키가이샤 무라타 세이사쿠쇼
발 명 자 | 카와다신이치로
내부전극(3)은 Ni를 주성분으로 하고, 압전 세라믹층은 주성분이 일반식{(1-x)(K1-a-bNaaLib)(Nb1-cTac)O3}-xM2M403)으로 표시되는 동시에, 부성분으로서, 주성분 100몰에 대하여 2α몰의 Na, (α+β)몰의 M4’ 원소, 및 γ몰의 Mn을 함유하고, 상기 α, β 및 γ가 각각 0.1≤α≤β, 1≤α+β≤10, 및 0≤γ≤10을 만족하고 있다. 단, M2는 Ca, Ba 또는/및 Sr, M4 원소 및 M4’ 원소는 Zr, Sn 또는/및 Hf, x, a, b, c는 각각 0≤x≤0.06, 0≤a≤0.9, 0≤b≤0.1, 0≤c≤0.3이다. 이것에 의해 내부전극 재료에 Ni를 사용하여 공소성한 경우에도, 분극 불량이 생기지도 않고 양호한 압전 특성을 얻을 수 있도록 한다.
파괴강도가 개선된 세라믹 복합체의 제조방법
출원번호 | 10-2011-0106811 등록번호 | 10-1247125-0000
특허권자 | 한국세라믹기술원 발 명 자 | 김종영 외 3명
본 발명은, 그라핀 옥사이드를 준비하는 단계와, 콜로이달 현탁액을 형성하기 위하여 상기 그라핀 옥사이드를 초음파를 이용하여 탈이온수에서 박리하여 그라핀 옥사이드 현탁액을 형성하는 단계와, 알루미노실리케이트 분말과 분산제를 탈이온수에 첨가하여 알루미노실리케이트 슬러리를 형성하거나 알루미나 분말과 분산제를 탈이온수에 첨가하여 알루미나 슬러리를 형성하는 단계와, 상기 알루미노실리케이트 슬러리 또는 상기 알루미나 슬러리를 상기 그라핀 옥사이드 현탁액에 첨가하여 혼합하는 단계와, 혼합된 결과물을 건조하고 성형하는 단계 및 상기 성형에 의해 형성된 성형체를 환원성 분위기에서 소결하는 단계를 포함하는 파괴강도가 개선된 세라믹 복합체의 제조방법에 관한 것이다. 본 발명에 의하면, 알루미나 또는 알루미노실리케이트와 그라핀 옥사이드를 이용하여 파괴강도(fracture strength)가 우수한 세라믹 복합체를 제조할 수 있다.
정전기 제거용 고용형 반도성 세라믹 조성물 및 그 제조방법
출원번호 | 10-2011-0110348 등록번호 | 10-1243731-0000
특허권자 | 주식회사 대양신소재 발 명 자 | 김태균 외 3명
본 발명은 전자 및 광학산업의 장치 및 시스템의 제조공정에서 발생하는 정전기를 제거함으로써 불꽃방전이나 이물질의 오염 등을 방지할 수 있는 정전기 제거용 고용형 반도성세라믹 조성물 및 그 제조방법에 관한 것으로, 보다 상세하게는 (1-x)CaMnO3와 xABO3의 고용체 세라믹 조성물로서, 상기 A는 Ca, Sr 또는 Ba이고, B는 Zr, Sn 또는 Ti이며, x는 0.4 내지 0.8 의 범위인 정전기 제거용 고용형 반도성 세라믹 조성물과, Mn, Ti, Zr, Ca, Sr, Ba, Sn을 포함하는 산화물 또는 염을 출발물질로 하여 CaMnO3와 ABO3(A는 Ca, Sr 또는 Ba이고, B는 Zr, Sn 또는 Ti)의 혼합물을 수득하는 단계; 상기 CaMnO3와 ABO3를 합성하여 고용체를 제조하는 단계; 및 상기 고용체를 소결하는 단계;를 포함하여 구성되며, CaMnO3와 ABO3는 0.2 : 0.8 ~ 0.6 : 0.4의 몰비의 범위가 되도록 하는 정전기 제거용 고용형 반도성 세라믹 조성물의 제조방법을 제공한다
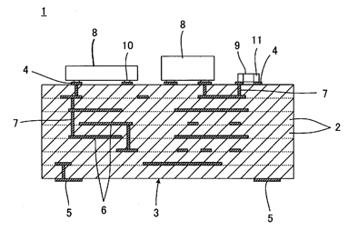
세라믹 전자부품의 제조 방법 및 세라믹 전자부품
출원번호 | 10-2011-7015291 등록번호 | 10-1247228-0000
특허권자 | 가부시키가이샤 무라타 세이사쿠쇼
발 명 자 | 미즈노타츠야 외 3명
실장시의 납땜 공정에 있어서 플럭스가 세라믹 소체의 세공에 흡입되는 것에 의한 셀프 얼라인먼트성이나 제품 특성의 열화를 방지하는 것이 가능한 세라믹 전자부품의 제조 방법 및 상기 방법에 의해 제조하는 것이 가능한 신뢰성이 높은 세라믹 전자부품을 제공한다. 폴리플루오로폴리에테르 화합물을 주성분으로서 포함하고 하이드로플루오로에테르를 용매로서 포함하는 발유 처리제를 사용하여 세라믹 소체(5)를 발유 처리함으로써 플럭스가 세라믹 소체(5)에 흡인되지 않도록 한다. 세라믹 소체에 발유 처리 공정의 직후에 과잉한 상기 발유 처리제를 제거하는 발유 처리제 제거 공정을 구비한다. 발유 처리제 제거 공정의 후에 세라믹 소체를 하이드로플루오로에테르로 세정하는 세정 공정을 구비한다. 발유 처리제 제거 공정과 세정 공정 사이에 세라믹 소체를 가열 처리하는 공정을 구비한다.
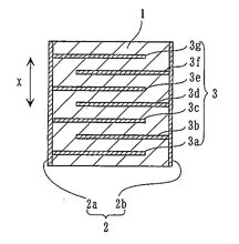
저온 소결 세라믹 소결체 및 다층 세라믹 기판
출원번호 | 10-2011-7017230 등록번호 | 10-1241256-0000
특허권자 | 가부시키가이샤 무라타 세이사쿠쇼
발 명 자 | 카츠베츠요시
외부 도체막(4)을 구비한 다층 세라믹 기판(1)의 세라믹층(2)을 구성하는 저온 소결 세라믹 소결체로서 그 저온 소결 세라믹 소결체는 비유리계의 저온 소결 세라믹 재료를 소결하여 이루어지고, 석영(Quartz), 알루미나(Alumina) 및 프레스노이트(Fresnoite)의 각 결정상을 석출하고 있다. 세라믹층(2)은 비유리계의 저온 소결 세라믹 소결체이기 때문에 조성 변동이 적고, 저렴하고 용이하게 다층 세라믹 기판(1)을 제조할 수 있다. 또한, 세라믹층(2)은 상술의 각 결정상을 석출하고 있기 때문에 외부 도체막(4)과의 접합 강도가 높고, 또한 소결체의 파괴 인성값이 크다.
세라믹 부재 및 세라믹 부재의 제조 방법
출원번호 | 10-2011-0047328 등록번호 | 10-1243745-0000
특허권자 | 동의대학교 산학협력단 발 명 자 | 김일수.jpg)
본 발명에 따른 Al2TiO5를 포함하는 세라믹 부재를 제조 방법은 유기 용매, Al2O3 분말 및 TiO2 분말을 마련하는 과정, Al2O3 분말 및 TiO2 분말 각각을 량하고, 상기 측량된 Al2O3 분말 및 TiO2 분말과 유기용매를 혼합하는 과정, 용매, Al2O3 분말 및 TiO2 분말이 혼합된 혼합물을 건조시키는 과정 및 건조된 혼합물을 성형한 후, 열처리하여 소성하는 과정을 포함하고, Al2O3와 TiO2의 혼합 시에, 상기 Al2O3/TiO2의 몰비(mol ratio)가 1/1 초과, 4/1 미만 사이의 범위이고, 소성 온도는 1400℃ 초과 1600℃ 미만 사이의 범위가 되도록 한다.
따라서, 본 발명의 실시예들에 따른 세라믹 부재는 가공이 용이하며, 가공 작업 시에 파손되거나 균열이 발생되지 않는다. 따라서, 실시예들에 따른 세라믹 부재를 이용한 장치의 제조가 용이해지고, 종래에 비해 가공 비용 및 제조 비용을 줄일 수 있다.
기사를 사용하실 때는 아래 고유 링크 주소를 출처로 사용해주세요.
https://www.cerazine.net