주요 등록특허 공개내용
2013년 2월 1일 ~ 2월 28일
압전 자기 조성물, 및 압전 세라믹 전자부품
출원번호 | 10-2009-7025721 등록번호 | 10-1238870-0000
특허권자 | 가부시키가이샤 무라타 세이사쿠쇼
발 명 자 | 카와다신이치로
본 발명의 압전 자기 조성물은, 주성분이, 일반식 {(1-x)(K1-a-bNaaLib)(Nb1-cTac)O3-xM2 M4O3} (단, M2는 Ca, Ba, 또는 Sr, M4는 Zr, Sn, 또는 Hf, 0.005≤x≤0.1, 0≤a≤0.9, 0≤b≤0.1, 0≤a+b≤0.9, 0≤c≤0.3)으로 표현되고, Mn이 상기 주성분 100몰에 대하여 2~15몰의 범위로 함유되면서, 상기 M4가 상기 주성분 100몰에 대하여 0.1~5.0몰의 범위로 함유되어 있다. 주성분 100몰에 대하여 0.1~5.0몰의 범위로 Ni가 함유되는 것도 바람직하고, Yb, In 등의 특정 희토류 원소를 함유시키는 것도 바람직하다. 세라믹 소체(1) 중의 세라믹층이 이 압전 자기 조성물로 형성되어 있다. 이것에 의해 환원 분위기에서의 소결성을 개선하여 Ni와의 공소성이 가능한 압전 자기 조성물, 및 이것을 사용한 압전 세라믹 전자부품을 실현한다.
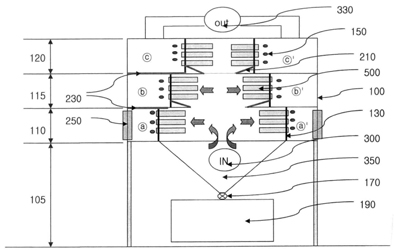
세라믹 필터를 이용한 계단식 집진장치
출원번호 | 10-2009-0122856 등록번호 | 10-1237757-0000
특허권자 | 김기호 발 명 자 | 김기호
본 발명은 세라믹필터 집진장치에 관한 것으로, 세라믹필터 집진장치에 있어서, 가로(행)방향으로 일정한 배열을 가지고 배열 장착되어 층을 이루고, 배열을 갖는 층 그룹이 계단식 구조를 구성하는 세라믹필터 집진장치; 상기 가로방향으로 필터의 배열을 하는 것은 직사각 형상을 모듈화로 필터의 여과면적은 체적에 비해 높지만 필터의 길이가 짧아 장치의 규모를 최소화 할 수 있는 장점이 있어 이를 포함하는 것을 특징으로 하는 세라믹필터 집진장치에 관한 것이다. 이를 통하여 종래의 필터에서 분진 탈진시 필터 전체에 공기량을 전달할 수 없었으나 세라믹필터 전체 표면에서 압축공기를 통한 고른 탈진효과를 얻을 수 있는 장점이 있으며, 필터의 행 방향 탈진 작업할 때 하부로 떨어지는 분진의 양을 제한적으로 필터에 영향을 줄 수 있는 계단식 구조를 구성하므로 이를 통한 고온의 환경에서도 원활히 운전될 수 있는 세라믹필터를 이용한 탈진 시스템을 얻을 수 있는 효과를 가진다.
압
축공기를 이용한 세라믹코팅의 손상 진단장치 및 진단방법
출원번호 | 10-2010-0075728 등록번호 | 10-1238921-0000
특허권자 | 부산대학교 산학협력단 발 명 자 | 박진효 외 4명
본 발명은 세라믹코팅의 손상 진단장치 및 진단방법에 관한 것으로, 세라믹 코팅층에 압축공기를 분사하여 발생하는 탄성파를 감지하는 방식에 의해 보다 신속하고 정확하게 세라믹 코팅층의 손상을 진단할 수 있도록 한 것이다.
이러한 본 발명은 세라믹 코팅된 피진단물을 지지하는 지그와, 지그에 장착된 피진단물을 향해 압축공기를 분사하는 분사노즐과, 피진단물과 충돌한 압축공기에 의해 발생되어 피진단물을 통해 전달되는 탄성파를 감지하고 이를 전기신호로 변환하는 감지센서와, 감지센서로부터 전달된 전기신호를 분석하여 세라믹 코팅층의 손상 여부를 판단하는 제어기를 포함하여 구성된다.
압전 세라믹 조성물 및 이것을 이용한 압전 소자
출원번호 | 10-2010-7015520 등록번호 | 10-1235434-0000
특허권자 | 니혼도꾸슈도교 가부시키가이샤
발 명 자 | 야마자키마사토 외 3명
본 발명은 높은 열저항 및 높은 압전 변형 상수를 갖는 압전 세라믹 조성물 및 상기 압전 세라믹 조성물을 이용하는 압전 소자를 제공한다. 본 발명의 압전 세라믹 조성물은 Na, Bi, Ti, Cr 및 O을 포함하는 압전 세라믹 조성물을 포함하며, 여기에서 Na, Bi, Ti, 및 Cr의 함유율은 그의 산화물에 의하여 다음의 구성 범위 이내로 된다: aNa2O-bBi2O3-cTiO2-dCrO3/2, 여기에서, a, b, c 및 d는 몰분율이며; 0.030≤a≤0.042; 0.330≤b≤0.370; 0.580≤c≤0.620; 0003c≤d≤0.017; 그리고 a+b+c+d=1이다. 상기 압전 세라믹 조성물은 바람직하게는 강유전성 비스무트층 구조의 결정상을, 더욱 바람직하게는 Na0.5Bi4.5Ti4O15 결정을 갖는다. 본 발명의 압전 소자는 상기 압전 세라믹 조성물로 형성되는 압전체 및 상기 압전체에 접촉되어 지지되는 적어도 한 쌍의 전극을 포함한다.
세라믹 기판, 기능성 세라믹 기판, 프로브 카드 및 세라믹 기판의 제조 방법
출원번호 | 10-2010-7028196 등록번호 | 10-1233952-0000
특허권자 | 니혼도꾸슈도교 가부시키가이샤
발 명 자 | 가토다츠야 외 2명
세라믹 기판은 비정질 상으로 구성되는 모재 및 결정질 상으로 구성되며 상기 모재에 분산되는 입자로 이루어진다. 상기 입자들 중 일부는 상기 모재의 적어도 하나의 표면으로부터 돌출됨이 허용된다.
미세 패턴을 가지는 세라믹 템플릿의 제조 방법.jpg)
출원번호 | 10-2010-0130785 등록번호 | 10-1235360-0000
특허권자 | 한국기계연구원 발 명 자 | 김사라 외 10명
미세 패턴을 가지는 세라믹 템플릿의 제조 방법이 개시된다. 세라믹 템플릿의 제조 방법은 돌출부를 포함하는 유연 몰드를 제조하는 단계와, 기판 상에 금속-유기물 전구체 용액을 도포하여 코팅층을 형성하고, 유연 몰드로 코팅층을 가압한 상태에서 코팅층을 경화시킨 후 유연 몰드를 제거하여 제1 오목부를 포함하는 금속산화물 패턴을 형성하는 단계와, 적어도 2개의 반복 단위로 이루어진 블록 공중합체를 포함하는 블록 공중합체 코팅층을 제1 오목부에 채우는 단계와, 블록 공중합체 코팅층을 소결하여 반복 단위들을 미세 상 분리시킴으로써 복수의 고분자 블록으로 이루어진 자기 조립 구조를 형성하는 단계와, 복수의 고분자 블록 중 일부의 고분자 블록을 제거하여 제2 오목부를 포함하는 미세 패턴을 형성하는 단계를 포함한다.
박막 전극 세라믹 기판 및 이의 제조방법
출원번호 | 10-2011-0078189 등록번호 | 10-1234878-0000
특허권자 | 삼성전기주식회사 발 명 자 | 유원희 외 3명
본 발명은 세라믹 기판, 상기 세라믹 기판에 형성된 전극 패턴, 및 상기 전극 패턴에 형성된 도금층을 포함하며, 상기 도금층은 상기 전극 패턴의 상부 및 양 측면에 형성되는 것인 박막 전극 세라믹 기판 및 이의 제조방법에 관한 것이다.
본 발명에 따른 박막 전극 세라믹 기판은 박막 전극 패턴의 상부 및 양 측면에 도금층을 형성시키거나, 또는 세라믹 기판 표면에 음각 형태의 에칭 방지 금속층을 형성하여 에칭액에 의한 기판 표면과 전극 패턴 간, 및 전극 패턴들 간의 언더컷 발생을 방지할 수 있다.
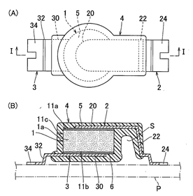
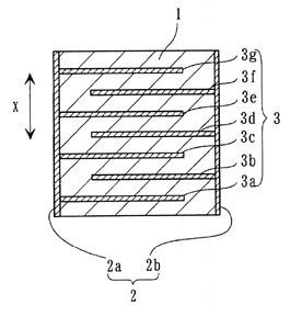
세라믹 전자부품
출원번호 | 10-2011-7017076 등록번호 | 10-1232241-0000
특허권자 | 가부시키가이샤 무라타 세이사쿠쇼
발 명 자 | 요시다카즈히로 외 2명
실장 기판(P)이 휘었을 때의 기계적 스트레스가 직접 세라믹 소자에 가해지기 어려우면서, 연면 방전을 방지할 수 있는 세라믹 전자부품을 제공한다.
세라믹 콘덴서는 세라믹 소자(1)와, 세라믹 소자(1)의 표리에 접합된 금속단자(2,3)와, 세라믹 소자(1) 및 금속단자(2,3)의 일부를 피복하고 있는 절연성 외장재(4)를 포함하고 있다. 금속단자(2)는 전극(5)에 접합된 접합부(20)와, 접합부(20)에 대하여 평행하게 연장되고 실장 기판(P)에 실장되는 실장부(24)와, 접합부(20)와 실장부(24)를 연결하는 중계부(22)를 가지고 있다. 그리고, 세라믹 소자(1)의 외주면(11c)과 금속단자(2)의 중계부(22)가 대향하는 부분에 있어서, 세라믹 소자(1)의 외주면(11c)을 피복하는 절연성 외장재(4)와, 금속단자(2)의 중계부(22)를 피복하는 절연성 외장재(4) 사이에 공간(S)이 형성되어 있다.
박막 세라믹 회로기판 모듈 및 열전도성 접착조성물
출원번호 | 10-2011-0101534 등록번호 | 10-1238238-0000
특허권자 | 주식회사 케이에이치바텍 발 명 자 | 박성진 외 2명
본 발명은 박막 세라믹 회로기판 모듈 및 열전도성 접착조성물에 관한 것으로서, 특히 열 및 전기적 전도성이 높아 방열이 우수하며, 두께를 얇게 할 수 있는 박막 세라믹 회로기판 모듈 및 열전도성 접착조성물에 관한 것이다.
본 발명의 박막 세라믹 회로기판 모듈은, 절연성을 갖는 박막 세라믹으로 이루어진 기판층과; 상기 기판층의 상부에 통전물질이 인쇄되어 회로를 형성하는 패턴층과; 상기 기판층의 상부에 장착되는 발열체와; 상기 기판층의 하부에 장착되어 상기 발열체에서 발생된 열을 외부로 방출하는 방열판과; 열 및 전기적 전도성을 갖는 물질로 이루어져, 상기 기판층의 하부와 상기 방열판을 상호 결합시켜 상기 발열체에서 발생된 열을 상기 방열판으로 전달하는 접착조성물을 포함하여 이루어지되, 상기 접착조성물은, 에폭시수지 20~50 중량%, 경화제 1~20 중량%, 난연제 5~20 중량%, 가소성부여제 1~10 중량%, 충진제 20~60 중량%, 조색제 1~2 중량%, 및 기능성첨가제 1미만 중량%의 혼합 조성물로 이루어진 것을 특징으로 한다.
적층 세라믹 커패시터
출원번호 | 10-2012-0048492 등록번호 | 10-1240804-0000
특허권자 | 삼성전기주식회사 발 명 자 | 김형준
본 발명은 적층 세라믹 커패시터 및 그 제조방법에 관한 것으로, 본 발명의 일 실시형태에 따른 적층 세라믹 커패시터는 서로 대향하는 제1 및 제2 측면, 상기 제1 및 제2 측면을 연결하는 제3 및 제4 측면을 가지는 적층 본체; 상기 적층 본체 내부에 형성되며, 상기 제1 측면 및 제2 측면으로 말단이 노출되는 복수 개의 내부전극; 상기 복수 개의 내부전극의 말단을 덮도록 상기 제1 및 제2 측면에 형성되는 제1 및 제2 사이드부; 및 상기 제3 및 제4 측면에 형성되며 상기 내부전극과 전기적으로 연결되는 외부전극;을 포함하고, 상기 복수 개의 내부전극의 말단을 잇는 가상선과 상기 제1 사이드부 또는 제2 사이드부가 이루는 각이 90°(π/2)이하가 되도록 형성되어 있다.
세라믹-메탈 패키지
출
원번호 | 10-2012-0059260 등록번호 | 10-1238633-0000
특허권자 | 한국세라믹기술원 발 명 자 | 김효태
본 발명에 따른 세라믹-메탈 패키지는 하나의 금속기판(10)과, 상기 금속기판(10)의 일면 상에 형성된 복수의 세라믹 절연층(12)과, 상기 복수의 세라믹 절연층(12) 상면에 각각 형성된 복수의 전극층(14)을 포함하고, 상기 복수의 세라믹 절연층(12)은 상기 복수의 전극층(14)과 함께 전기회로 패턴을 이루며, 상기 복수의 세라믹 절연층(12) 각각은 이러한 전기회로 패턴에 따라 상호 인접한 세라믹 절연층(12)과 소정 거리만큼 상호 이격된다.
소수성 고분자로 표면처리된 세라믹 나노 분말의 제조방법 및 이에 따라 제조되는 세라믹 나노 분말
출원번호 | 10-2010-0131373 등록번호 | 10-1239356-0000
특허권자 | 한국원자력연구원 발 명 자 | 엄영랑 외 4명
본 발명은 소수성 고분자로 표면처리된 세라믹 나노 분말의 제조방법 및 이에 따라 제조되는 세라믹 나노 분말에 관한 것으로서, 상세하게는 세라믹 분말, 소수성 고분자 및 공정제어제(PCA, process control agent)를 습식밀링하여 세라믹분말을 나노입자화시키는 동시에 소수성 고분자로 표면처리하는 것을 특징으로 하는 소수성 고분자로 표면처리된 세라믹 나노 분말의 제조방법 및 이에 따라 제조되는 세라믹 나노 분말을 제공한다. 본 발명에 따른 소수성 고분자로 표면처리된 세라믹 나노 분말의 제조방법 및 이에 따라 제조되는 세라믹 나노 분말은 one-step 볼밀링 공정을 이용하여 세라믹 분말을 나노화시킴과 동시에 소수성 물질로 표면을 코팅할 수 있는 특징이 있으며, 산 또는 염기성 용액에 반응하는 세라믹 분말의 표면 활성화 및 유기용제의 슬러리화에 의하여 견고한 코팅층을 형성할 수 있어 고분자 기재 분산시 젖음성과 접착성이 향상되어 나노입자가 고분자 기지에 균일 분산될 수 있고, 세라믹 나노입자와 고분자 기지의 결합을 강하게 할 수 있다. 또한, 방사선 차폐재에 이용되는 경우 감마선 또는 중성자 차폐능을 크게 향상할 수 있어 극한환경에서도 장기간 물성을 유지해야 하는 원자력, 우주, 의료 및 국방 등 다양한 분야의 방사선 환경에 이용할 수 있다.
세라믹 기판 제조 방법 및 세라믹 기판을 이용한 반도체 패키지
출원번호 | 10-2010-0100445 등록번호 | 10-1234266-0000
특허권자 | (주) 아모엘이디 발 명 자 | 이길선 외 2명
계면 분리를 방지하고, 고효율의 반사율을 달성하는 반도체 패키지용 세라믹 기판의 제조 기술을 제공한다. 본 발명의 실시 예에 따른 세라믹 기판 제조 방법은, 하부 세라믹 기판에 대해 소정의 경사도를 갖는 경사면의 캐비티가 천공되어 있는 상부 세라믹 기판을 준비하는 단계; 캐비티의 경사면에 세라믹 물질을 코팅하여 세라믹 재질의 반사면을 갖는 성형체를 만드는 단계; 및 성형체를 하부 세라믹 기판상에 적층하고 열처리하여 일체화시키는 단계를 포함하는 것을 특징으로 한다.
유전체 세라믹 및 적층 세라믹 콘덴서
출원번호 | 10-2011-0005265 등록번호 | 10-1239307-0000
특허권자 | 가부시키가이샤 무라타 세이사쿠쇼
발 명 자 | 이시하라마사유키
ABO3(A는 Ba를 반드시 포함하고, 또한 Ca 및 Sr의 적어도 한쪽을 포함하는 경우가 있다. B는 Ti를 반드시 포함하고, 또한 Zr 및 Hf의 적어도 한쪽을 포함하는 경우가 있다.)을 주성분으로 하고, 부성분으로서 Re(Re는 Dy, Ho, Sc, Y, Gd, Er, Yb, Tb, Tm 및 Lu 중 적어도 1종)을 포함하는 유전체 세라믹에 대하여 그 유전율을 높인다.
유전체 세라믹(11)은 ABO3계의 주성분으로 이루어지는 주상 입자(12)와, 주상 입자(12)와는 다른 조성을 가지는 2차상 입자(13)를 포함한다. 이 유전체 세라믹(11) 중의 Re의 전 함유량에 대한 2차상 입자(13) 중의 Re 함유량의 비율을 50%이상으로 하고, Re의 분포를 2차상 입자(13)에 보다 많이 집중시킨다. 2차상 입자 중의 Re 함유량은 30몰%이상인 것이 바람직하다.
가스 터빈 고온 부품 제조용 세라믹 코어의 제조 방법과 가스 터빈 고온 부품 제조용 세라믹 코어의 소결용 받침판
출원번호 | 10-2011-0058864 등록번호 | 10-1233476-0000
특허권자 | 한국전력공사, 한국동서발전(주)
발 명 자 | 장성용 외 2명
본 발명은 가스 터빈 고온 부품 제조용 세라믹 코어의 제조 방법과 세라믹 코어의 소결용 받침판에 관한 것으로, 코어 안착 홈부가 상부면에 형성된 코어 받침 패널부재를 포함한 코어 소결용 받침판의 상기 코어 안착 홈부에 주조로 제조된 세라믹 코어를 삽입하여 소결함으로써, 제조 과정에서 가스 터빈 고온 부품 제조용 세라믹 코어의 파단을 방지하여 제조 시 불량율을 크게 줄이고, 세라믹 코어의 생산성을 향상시키며 제조 원가를 절감한다.
골회 및 안정화제로 안정화된 지르코니아를 포함하는
도기용 세라믹 분말 및 골회 및 안정화제로 안정화된 지르코니아를 이용하는 도기용 세라믹 소결체의 제조방법
출원번호 | 10-2011-0028807 등록번호 | 10-1233546-0000
특허권자 | 홍익대학교 산학협력단 발 명 자 | 김기수
본 발명은 골회 및 안정화제로 안정화된 지르코니아를 포함하는 도기용 세라믹 분말 및 골회 및 안정화제로 안정화된 지르코니아를 포함하는 도기용 세라믹 분말을 이용하는 도기용 세라믹 소결체의 제조방법에 관한 것이다. 골회 및 안정화제로 안정화된 지르코니아를 혼합하여 혼합물을 얻고, 상기 혼합물을 하소하고, 상기 하소된 혼합물을 성형하고, 이를 가소결하고, 가소결한 소결체를 가공하여 형상을 만들고 상기 가공된 성형체를 소결하여 도기용 세라믹 소결체를 제조한다. 상기 도기용 세라믹 분말은 골회 함량은 감소시키면서도 충분한 강도를 가지며 개선된 젖음성을 가지는 도기용 세라믹 소결체의 제조방법에 이용될 수 있어, 도자기, 장신구 등에 응용될 수 있다.
컨베이어 풀리 미끄럼 방지용 세라믹 코팅 고무패드 및 그 제조방법
출원번호 | 10-2010-0127566 등록번호 | 10-1239811-0000
특허권자 | 김민수 발 명 자 | 김민수
컨베이어 풀리 미끄럼 방지용 세라믹 코팅 고무패드 및 그 제조방법에 관한 것으로서, 컨베이어 밸트와 회전드럼 또는 컨베이어 풀리 사이의 정지 마찰력을 증가시켜 컨베이어 풀리가 헛돌거나 또는 비나 눈 등의 외부 영향에에서도 안정적인 운행이 가능하도록 배수가 원활하게 되도록 하기 위하여 개발된 것으로, 구성은 무패드의 회전방향에 대하여 세라믹타일이 일정간격을 두고 다수열로 형성되고, 상기 세라믹타일이 이격된 사이 공간은 상기 고무패드에서 일체로 돌출돼 상기 세라믹타일의 상면보다 낮게 돌출된 밀림방지 돌출부가 형성됨을 특징으로 한다.
세라믹 허니컴 담체를 이용한 호흡용 압축공기 필터.jpg)
출원번호 | 10-2010-0123917 등록번호 | 10-1236380-0000
특허권자 | (주)글로벌코센테크 발 명 자 | 오창섭외 1명
본 발명은 세라믹 허니컴 담체를 이용한 호흡용 압축공기 필터에 관한 것으로서, 더욱 상세하게는 허니컴 담체를 사용함으로써, 공기의 접촉면적을 넓일 수 있고, 허니컴 각 셀로 추가로 여러 형태의 기능성 흡착제, 제습제의 삽입이 용이함은 물론 허니컴 자체의 벽 두께를 얇게 제작하더라도 외부 충격이나 진동이 우수한 내저항성을 갖으며, 허니컴 형태의 흡착제 담체 안에 제올라이트 및 알루미나계와 같은 필터 흡착제를 충진함으로써, 필터링 성능을 향상시키고 고른 압력의 분산을 유도하여 흡착제의 파손을 방지하고 흡착성능을 향상시킬 수 있으며, 촉매를 허니컴 담체에 코팅함으로써, 악취의 제거 성능을 향상시킬 수 있고 재생이 가능하며, 현재 사용한 뒤 폐기되고 있는 필터의 재활용 가능 소재화로 산업 폐기물 감소를 통한 환경오염 방지 이익을 창출할 수 있음은 물론 향후 비금속 광물 자원을 활용한 환경 소재 개발에 유용하고, 공기 호흡기용 비금속 필터를 사용함으로써, 불완전한 필터로 인해 그 동안 발생하였던 소방관의 진폐증, 기관지염과 같은 산업재해를 효과적으로 줄일 수 있음은 물론 호흡용 공기 충전기의 공기질의 향상을 통해 스쿠버 다이빙 등 웰빙 산업의 발전을 가속화시킬 수 있고, 의료산업이나 기타 청정 공기 응용 산업을 동반 활성화시킬 수 있는 효과가 있다.
기사를 사용하실 때는 아래 고유 링크 주소를 출처로 사용해주세요.
https://www.cerazine.net