2013년 1월 1일 ~ 1월 31일
활성 금속/수성 전기화학 전지 및 시스템
출원번호 | 10-2006-7007309 등록번호 | 10-1229373-0000
특허권자 | 폴리플러스 배터리 컴퍼니 발 명 자 | 비스코, 스티븐, 제이 외 1명
본 발명은 알칼리(또는 다른 활성의) 금속 배터리 및 수성 양극/전해질 시스템과 함께 활성 금속 음극을 포함하는 다른 전기화학 전지에 관한 것이다. 상기 배터리 전지는 용매, 전해질 작용 및/또는 양극 환경으로부터 효과적으로 알칼리 금속 전극을 격리(de-couples)하는 알칼리 금속 음극에 인접한 고 이온 전도성 보호막을 가짐과 동시에 상기 환경으로 이온의 출입이 가능하도록 한다. 상기와 같은 방법으로 배터리 전지의 다른 요소들 또는 다른 전기화학 전지로부터 음극을 분리하게 되면 음극과 접해 있는 어떤 용매, 전해질 및/또는 양극물질을 실질적으로 사용할 수 있게 된다. 또한, 음극의 안정성 또는 성능에 영향을 주지 않으면서 전해질 또는 양극측 용매 시스템의 최적화가 이루어질 수 있다. 특히, Li/물, Li/공기 및 Li/금속 수소화물 전지, 요소들, 구성 및 제조기술이 제공된다.
유전체 세라믹 및 적층 세라믹 콘덴서.jpg)
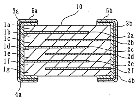
출원번호 | 10-2009-7017601 등록번호 | 10-1229823-0000
특허권자 | 가부시키가이샤 무라타 세이사쿠쇼
발 명 자 | 사사바야시타케히사 외 3명
본 발명의 유전체 세라믹은, 일반식: 100BamTi03+aROn+ bMOv+cXOw(R은 Dy, La 등 소정의 희토류 원소, M은 Mn, Mg 등 소정의 금속 원소, n, v 및 w는 원소 R, M 및 소결 조제 성분 X의 가수에 따라 고유하게 정해지는 양의 수)로 표현되고, 주상 입자에서의 상기 부성분의 고용 영역은 단면적비로 평균 10%이하(0%를 포함)이다. 소결 조제 성분 X는 적어도 Si를 포함한다. m, a, b, c는 0.995≤m≤1.030, 0.1≤a≤2.0, 0.1≤b≤3.0, 0.1≤c≤5.0이다. 적층 세라믹 콘덴서는, 유전체층(1a~1g)이 상기 유전체 세라믹으로 형성되어 있다. 이것에 의해 AC 전압 특성이 양호하고, 소망하는 큰 유전율과 양호한 온도 특성을 유지하며, 유전 손실도 작고 신뢰성도 확보할 수 있는 유전체 세라믹, 및 상
기 유전체 세라믹을 사용한 적층 세라믹 콘덴서를 실현한다.
세라믹 소결체와 그 제조방법 및 세라믹 소결체를 사용한 장식용 부재
출원번호 | 10-2006-7020362 등록번호 | 10-1228906-0000
특허권자 | 쿄세라 코포레이션 발 명 자 | 하마무라켄이치 외 1명
경량임과 아울러, 습식하에서의 내마모성이 양호하며, 또한 저렴한 세라믹 소결체 및 그 제조방법을 제공한다. 상기 세라믹 소결체는, 티타늄의 질화물을 함유하는 제1 경질상과, 알루미나 또는 지르코니아 중 적어도 1종을 함유하는 제2 경질상과, 니켈을 함유하는 결합상으로 구성된다.
진공척용 고통기성 다공성 세라믹 소재 및 이의 제조방법.jpg)
출원번호 | 10-2011-0041691 등록번호 | 10-1222478-0000
특허권자 | 한국기계연구원 발 명 자 | 송인혁 외 2명
본 발명에 의한 진공척용 고통기성 다공성 세라믹 소재는, 탄화규소입자(SiC)와 금속규소(Si)입자와, 2.0 중량% 이하의 카본(C)과, 1.0 내지 5.0 중량%의 보론(B)을 포함하여 구성되고 미세기공이 형성됨을 특징으로 한다. 본 발명에 의한 진공척용 고통기성 다공성 세라믹 소재의 제조방법은, 14 내지 30 중량%의 금속규소(Si)입자와, 2.0 중량% 이하의 카본(C)과, 1.0 내지 5.0 중량%의 보론(B)과 잔부(殘部)인 탄화규소입자(SiC) 및 가소제를 준비하는 재료준비단계와, 상기 재료를 혼합하는 재료혼합단계와, 상기 재료를 성형하여 성형체를 형성하는 재료성형단계와. 상기 성형체를 소결하여 미세기공을 구비하는 진공척용 고통기성 다공성 세라믹 소재를 완성하는 소결단계로 이루어지는 것을 특징으로 한다.
플라즈마 저항성 세라믹 피막 및 그 제조 방법
출원번호 | 10-2010-0037304 등록번호 | 10-1221925-0000
특허권자 | 한국세라믹기술원 발 명 자 | 오윤석 외 5명
플라즈마 환경에서 내구성이 우수하며, 피코팅물과의 접착력이 우수한 플라즈마 저항성 세라믹 피막 및 그 제조 방법에 대하여 개시한다.
본 발명에 따른 플라즈마 저항성 세라믹 피막 제조 방법은 (a) 고분자 기판이나 박판형 금속 기판과 같은 플렉서블(flexible) 기판을 마련하는 단계; (b) 전자빔 증착, 스퍼터링, 이온플레이팅, CVD, 저압식 에어로졸 증착 등과 같은 진공 증착공정을 이용하여 상기 플렉서블 기판 상에 세라믹 막을 형성하는 단계; 및 (c) 상기 형성된 세라믹 막을 정전 척, 히터, 챔버 라이너, 샤워헤드, CVD용 보트, 포커스링, 월 라이너 등과 같은 피코팅물 표면에 코팅하는 단계;를 포함하는 것을 특징으로 한다.
투수 강화 세라믹 블록
출원번호 | 10-2012-0102942 등록번호 | 10-1221709-0000.jpg)
특허권자 | 주식회사 사람과길 발 명 자 | 박준규 외 2명
본 발명은 투수 강화 세라믹 블록에 관한 것으로서, 100 mesh 이하의 입경을 갖는 세라믹 폐기물 분말 90~95wt% 및 결합제 5~10wt%를 포함하여 형성되며, 바람직하게는 상기 세라믹 폐기물 분말은 8 mesh 이하의 분말이 5wt%이하, 8~30 mesh의 분말이 80~90wt%, 30~100 mesh의 분말이 5~15wt%로 포함되어 형성되며, 더욱 바람직하게는 상기 8~30 mesh의 분말은 8~12 mesh의 분말이 65~75wt%, 12~30 mesh의 분말이 25~35wt%로 포함되어 형성되는 투수 강화 세라믹 블록을 개시한다.
발포공정을 이용한 경량의 연질 세라믹 보온단열재의 제조방법 및 상기 제조방법으로 제조된 경량의 연질 세
라믹 보온단열재
출원번호 | 10-2011-0093630 등록번호 | 10-1220726-0000
특허권자 | 단국대학교 산학협력단 발 명 자 | 이철태 외 2명
본 발명은 발포공정을 이용한 경량의 연질 세라믹 보온단열재의 제조방법 및 상기 제조방법으로 제조된 경량의 연질 세라믹 보온단열재에 관한 것으로, 더욱 상세하게는 해포석섬유와 같은 무기질섬유에 물을 첨가하고 해섬처리하여 슬러리 상태의 섬유상을 만든 다음 상기 슬러리 상태의 섬유상에 입자상 무기재를 첨가하여 혼합하고 상기 혼합물에 발포제를 첨가하여 혼합한 후 상기 혼합물을 성형틀에 넣어 25 ℃로부터 300 ℃까지 승온하여 열처리함으로써 경량의 연질 세라믹 발포체를 제조하는 방법 및 상기 제조방법으로 제조된 경량의 연질 세라믹 보온단열재에 관한 것이다.
세라믹 물성정보 데이터의 수치화에
의한 동적 그래프 생성 방법
출원번호 | 10-2010-0123572 등록번호 | 10-1227702-0000
특허권자 | 한국세라믹기술원 발 명 자 | 홍태의 외 1명
본 발명은 다양한 형태의 소재 물성정보의 데이터베이스의 구축 및 효율적인 운영을 통한 적합 정보의 제공을 가능하도록 한 세라믹 물성정보 데이터의 수치화에 의한 동적 그래프 생성 방법에 관한 것으로, 세라믹 물성정보의 소스 데이터에서 그래프로 구현하기 위한 데이터를 수치값(Numeric data)으로 추출하는 단계;관계형 데이터베이스에 속성(attribute)을 생성하고 화학 조성,공정조건,측정조건,물성값을 갖는 상기 추출된 수치값 데이터를 입력하는 단계;상기 추출된 수치값 데이터의 입력이 완료되면 차트 S/W를 이용하여 다차원 그래프를 생성하는 단계;를 포함하고, 상기 생성되는 그래프는, 조성-물성 데이터 그래프, 측정 조건-물성 데이터 그래프, 물성-물성 데이터 그래프들 중에서 어느 하나를 포함하는 것이다.
기계적 방법을 이용한 바이오칩 모듈의 채널 형성 방법, 이를 이용한 바이오칩 모듈 제조 방법 및 그 방법을 통하여 제조된 세라믹 바이오칩 모듈
출원번호 | 10-2010-0120956 등록번호 | 10-1227404-0000
특허권자 | 한국세라믹기술원 발 명 자 | 여동훈 외 3명
테잎 캐스팅에 의한 세라믹 시트 제조와 기계적 방법을 이용한 바이오칩 모듈의 채널 형성 방법, 이를 이용한 바이오칩 모듈 제조 방법 및 그 방법에 의해 제조된 바이오칩 모듈에 대하여 개시한다.
본 발명에 따른 바이오칩 모듈의 제조 방법은 테잎 캐스팅에 의하여 세라믹 슬러리로부터 하나 이상의 세라믹 시트를 제조하는 단계; 상기 제조된 세라믹 시트에서 채널이 형성될 부분을 연속적으로 펀칭하여 바이오칩 모듈의 채널을 형성하는 단계; 및 상기 채널이 형성된 세라믹 시트를 단독으로 또는 적층한 상태에서 소결하는 단계;를 포함하는 것을 특징으로 한다.
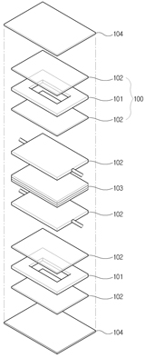
적층형 세라믹 캐패시터.jpg)
출원번호 | 10-2010-0118140 등록번호 | 10-1228688-0000
특허권자 | 삼성전기주식회사 발 명 자 | 시태성 외 3명
본 발명은 실장 면적을 최소화하고 실장 효율을 높여서 초소형의 고용량 캐패시터를 구현할 수 있는 적층형 세라믹 캐패시터를 제공하는 것으로, 가로가 1.6mm이고 세로가 0.8mm인 사이즈를 갖는 복수의 유전체 층이 내부에 적층된 캐패시터 몸체와, 상기 복수의 유전체 층 각각에 복수개가 배열된 내부 전극을 갖는 내부 전극부와, 상기 캐패시터 몸체의 가로로 복수개 배열되어 상기 내부 전극과 전기적으로 연결되는 외부 전극을 갖는 외부 전극부를 포함하는 것을 특징으로 하는 적층형 세라믹 캐패시터를 제공하는 것이다.
세라믹 분말 에어로졸 증착 방법
출원번호 | 10-2010-0116096 등록번호 | 10-1230242-0000
특허권자 | 한국세라믹기술원 발 명 자 | 지영호 외 3명
본 발명은 세라믹 분말을 진공팽창원리로 가속시킨 후(에어로졸 증착법: 이하 AD법) 기재에 충돌시키는 방법을 통하여 세라믹 증착막을 균일하게 형성시키는 방법에 관한 것이다.
본 발명은 가스유입부가 구비되어 있고 내부 바닥면에는 전원에 의해 회전시킬 수 있는 자석회전자가 다수 구비된 에어로졸 챔버; 내부에 기재가 배치된 저진공상태의 증착챔버; 및 일단은 상기 에어로졸 챔버와 연통되고 타단은 상기 증착챔버 내에 삽입되어 상기 기재를 향해 개구되어 있는 수송관; 을 포함하여 구성된 에어로졸 증착장치에 의해 (a) 세라믹 분말을 상기 에어로졸 챔버에 도입하는 단계; (b) 상기 세라믹 분말에 수송가스를 직접 분사하여 에어로졸화시키고, 상기 에어로졸 챔버 바닥에 세라믹 분말이 적층되지 않도록 다수의 자석회전자를 함께 회전시키는 단계; 및 (c) 상기 에어로졸을 진공팽창원리로 가속하여 상기 수송관을 통해 상기 증착챔버 내부로 토출시킴으로써, 상기 기재에 증착시키는 단계; 로 시행되는 세라믹 분말 에어로졸 증착 방법을 제공한다.
세라믹 코팅 금속 서셉터 및 그 제조방법
출원번호 | 10-2011-0000245 등록번호 | 10-12
28056-0000
특허권자 | 주식회사 대하이노텍 발 명 자 | 최미근
세라믹 코팅 금속 서셉터를 개시한다. 본 발명의 세라믹 코팅 금속 서셉터는 피가열물을 가열하는 가열 평면을 가지며 모서리 부분이 라운딩 가공된 금속판체와, 금속판체 내부에 매설된 발열체와, 금속판체의 가열평면과 발열체 사이에 매설된 열전도 유체와, 금속판체의 저면 중앙에 결합되고 하방으로 연장된 금속 지지축과, 금속판체 및 금속 지지축의 외표면에 코팅된 부식 방지 세라믹층을 포함한다. 따라서 가열표면을 온도 편차없이 균일한 온도분포로 가열할 수 있으며 안정된 코팅층을 제공하여 열적 특성 및 물리적 특성을 향상시켜서 서셉터의 수명을 연장시킬 수 있다.
고체산화물 연료전지용 세라믹 접속자 분말의 제
조방법 및 그 접속자
출원번호 | 10-2011-0023276 등록번호 | 10-1226962-0000
특허권자 | 한국에너지기술연구원 발 명 자 | 송락현 외 6명
본 발명은 고체산화물 연료전지(Solid Oxide Fuel Cell, SOFC)의 접속자 제조용 세라믹 분말에 관한 것으로, 페로브스카이트 구조를 가지며 란탄 (La), 칼슘 (Ca) 및 크롬(Cr)을 함유하는 나노 크기의 세라믹 접속자 분말을 제조하는 방법 및 그 세라믹 분말로 제조된 접속자에 관한 것이다.
본 발명의 방법은, 각기 란탄, 칼슘 및 크롬을 함유하는 질산염을 출발물질로 하여 이를 증류수에 용해시키는 단계; 상기 금속질산염 용액에 연료물질로서의 글리신을 첨가하여 졸(sol)을 얻는 단계;상기 졸 용액을 가열하여 물을 증발시킴으로써 겔(gel)을 제조하는 단계;상기 겔을 계속 가열하여 열분해시키는 단계; 상기 열분해된 겔을 건조 공기와 접촉시키면서 고온에서 열처리하는 단계로 이루어진다.
다결정 화합물 박막형 태양전지 모듈.jpg)
출원번호 | 10-2011-0069437 등록번호 | 10-1223024-0000
특허권자 | 박충권 발 명 자 | 박충권
본 발명은 기판의 외부에 방열 백시트를 부착하고, 전면전극과 무반사층 사이에 절연막을 형성시킨 것을 특징으로 하는 다결정 화합물 박막형 태양전지 모듈에 관한 것으로, 태양전지 모듈에서 발생하는 열을 효율적으로 제거하고, 전면전극과 무반사층 사이에 절연막을 형성시켜 쇼트(short) 현상을 차단하여 모듈의 파손을 예방함으로써, 특히 사막과 같은 고온지역에서 사용시에도 높은 열 변형 특성에 의해 내구성이 우수한 것이 장점이다.
세라믹-유리질 복합체 전극을 사용한 형광램프용 디밍용 전자식 안정기
출원번호 | 10-2011-0121065 등록번호 | 10-1228303-0000
특허권자 | 권오주 발 명 자 | 권오주 외 1명
본 발명은 형광램프의 불평형 점등을 없애고 형광램프 파손에 따른 사고 회피가 가능하도록 하며 고역률을 구현할 수 있는 세라믹-유리질 복합체 전극을 사용한 형광램프용 디밍용 전자식 안정기에 관한 것으로, 입력되는 교류 전원에서 전자파를 제거하여 출력하는 전자파 필터(1100); 상기 전자파 필터(1100)로부터 출력되는 전자파가 제거된 교류 전원을 정류하여 출력하는 정류부(1200); 상기 정류부(1200)로부터 출력되는 교류 전원의 전압과 전류의 위상차의 역률을 보상하고 평활하여 직류를 출력하는 역률보상 및 평활부(1300); 상기 역률보상 및 평활부(1300)로부터 출력되는 직류를 스위칭하여 양측에 세라믹-유리질 복합체 전극을 사용한 형광램프를 점등시키기 위한 교류를 출력하는 스위칭부(1400); 디밍신호 입력부(1900)로부터 제공되는 디밍신호에 따라 상기 형광램프의 조도를 조절하기 위한 디밍신호를 발생하는 디밍신호 발생부(1600); 상기 디밍신호 입력부(1900)로부터 제공되는 디밍신호에 따라 상기 역률보상 및 평활부(1300)로 온/오프 신호를 제공하여, 상기 디밍신호가 상기 형광램프를 소등하기 위한 신호인 경우 상기 역률보상 및 평활부(1300)가 직류 출력을 차단하도록 하는 온/오프 신호 발생부(1500); 상기 디밍신호 발생부(1600)로부터 제공되는 디밍신호에 따라 스위칭 신호를 제어하여 상기 스위칭부(1400)로 제공하는 스위칭 신호 발생부(1800); 및 상기 스위칭부(1400)의 출력을 위한 스위칭에 따른 전류를 감지하여 상기 스위칭 신호 발생부(1800)로 제공해서 상기 스위칭 신호 발생부(1800)가 상기 스위칭부(1400)의 출력을 위한 스위칭에 따른 전류에 의거해서 스위칭 신호를 제어하여 상기 스위칭부(1400)로 제공하도록 해서 상기 스위칭부(1400)가 정격전류를 출력하도록 하는 전류 감지부(1700);를 포함하는 것을 특징으로 한다.
적층 세라믹 콘덴서용 유전체 조성물의 제조방법.jpg)
출원번호 | 10-2010-0108180 등록번호 | 10-1224726-0000
특허권자 | 삼성전기주식회사 발 명 자 | 정한승 외 4명
본 발명은 고용량 적층 세라믹 콘덴서용 유전체 조성물의 제조방법에 관한 것으로서, 보다 상세하게는 유기 실란을 이용하여 유전체 분말의 표면을 개질함으로써 소결조제, 입성장억제제 및 희토류 원소와 같은 부성분의 분산성을 향상시켜 초박층을 형성할 수 있는 적층 세라믹 콘덴서용 유전체 조성물의 제조방법에 관한 것이다.
에어로졸 흡인기
출원번호 | 10-2010-7011620 등록번호 | 10-1221181-0000
특허권자 | 니뽄 다바코 산교 가부시키가이샤
발 명 자 | 야마다마나부 외 2명
에어로졸 흡인기는, 외부공기 도입구(2)에서 마우스피스(4)까지 뻗은 에어로졸 발생관로(6)와, 에어로졸 발생관로(6)의 공급위치(A)에 일정량의 용액을 공급하는 액공급장치(18)와, 유저에 의한 흡인동작 시, 에어로졸 발생관로(6) 안을 흐르는 흡인공기와 함께 공급위치(A)에서 마우스피스(4)로 향해 이송된 용액을 가열하여 증발시켜, 에어로졸 발생관로(6) 내에 에어로졸을 발생시키는 세라믹 히터(12)와, 공급위치(A)의 근방 또는 공급위치(A)와 액공급장치(18)의 사이의 적어
도 일방에 설치된 프로텍터를 구비하고, 이 프로텍터는 방열커버(20), 냉각기(21), 또는 개폐밸브(22)의 적어도 하나를 갖는다.
고체산화물 연료전지용 밀봉재
출원번호 | 10-2009-0125509 등록번호 | 10-1229713-0000
특허권자 | 한국전력공사 발 명 자 | 이미재 외 3명
본 발명은 고체산화물 연료전지용 밀봉재에 관한 것으로, 보다 상세하게는, 단위전지, 밀봉재 및 이웃하는 단위전지 스택과의 연결을 위한 연결부재로 구성되는 고체산화물 단위전지 스택의 밀봉재에 있어서, 상기 밀봉재는 상기 단위전지의 상부와 하부에 각각 인접하여 설치되는 지지체와; 상기 지지체의 상부와 하부에 긴밀 접착되는 밀봉 시트 또는 밀봉 페이스트 중 어느 하나;를 포함하여 구성되는 모듈인 고체산화물 연료전지용 밀봉재를 제공한다.
본 발명에 의하면, 상기 밀봉 시트 또는 밀봉 페이스트는 지지체와 연결부재 또는 지지체와 단위전지 간에 존재하는 큰 열팽창계수 차이로 인한 지지체의 파손을 방지하는 완충재로서 작용하므로 단위전지의 신뢰성을 제고할 수 있으며, 아울러, 연결부재와 지지체간 및 단위전지와 지지체간 전기적 절연작용을 하므로 금속 지지체 등 지지체의 재질에 관한 선택의 폭을 넓힐 수 있는 장점이 있다.
접착용 결정화 유리, 이를 포함하는 접착용 결정화 유리 조성물, 접착용 결정화 유
리 페이스트, 및 유기발광다이오드 패널
출원번호 | 10-2011-0119940 등록번호 | 10-1220443-0000
특허권자 | (주)에코플럭스 발 명 자 | 최일선 외 2명
본 발명의 접착용 저융점 결정화 유리 및 이를 포함하는 접착용 저융점 결정화 유리 조성물은 300~500℃의 예비 소성 영역에서 유리 기판, 또는 이질의 기판의 소성이 가능하며, 특정 파장 대역에 반응 및 소성이 가능하여 반도체 전기소자의 기밀 접착 등에 사용될 있고, 기존의 PbO가 포함된 결정화 유리 조성물과 비교하여 품질이 우수할 뿐만 아니라, 납성분을 포함하지 않음으로 반도체 전기소자의 경박단소화를 실현할 수 있고, 환경친화적이어서 환경 처리비용에 대한 원가 절감의 효과를 얻을 수 있다. 또 본 발명의 접착 재료는 광흡수 소성을 할 경우 낮은 전력으로도 접착이 가능하며, 내습성이 뛰어나 반도체 전기소자의 수명을 획기적으로 늘릴 수 있는 효과를 얻을 수 있다.
고온환경 열차폐용 저열전도성 복합산화물 및 그 제조방법.jpg)
출원번호 | 10-2010-0130402 등록번호 | 10-1226633-0000
특허권자 | 한국세라믹기술원 발 명 자 | 김성원 외 4명
본 발명은, 플루오라이트-파이로클로어 이중구조를 이루어 (A,B)O2-C2D2O7으로 표시되며, 상기 A는 La 이고, 상기 B는 ZrxCe1-x (0003c# x003c#0.5) 이며, 상기 C는 La 이고, 상기 D는 ZryCe1-y (0.5003c#y003c#1)인 것을 특징으로 하는 고온환경 열차폐용 저열전도성 복합산화물 및 그 제조방법에 관한 것이다. 본 발명에 의하면, 플루오라이트-파이로클로어 이중구조(fluorite-pyrochlore dual structure)를 가짐으로써, 열전도성에 연관된 포논 산란(phonon scattering) 효과를 극대화하고 고온에 노출시 입성장을 억제할 수 있는 구조적 기반을 제공할 수 있고, 이원화(binary system)된 미세구조를 가짐으로써 선 결함(line defect)의 추가적인 형성과 서로 다른 열전도 특성의 2가지 물질이 공존함으로 인한 열차단 효과의 시너지 효과를 기대할 수 있으며, 1100℃ 이상의 초고온 영역에서 2.0 W/mK 이하의 낮은 열전도도를 구현할 수 있어 고온환경에서 부품의 내구성을 향상시키기 위한 열차폐용 소재로 활용할 수 있다.
기사를 사용하실 때는 아래 고유 링크 주소를 출처로 사용해주세요.
https://www.cerazine.net