2012년 12월 1일 ~ 12월 31일
라믹 전자부품용 자성체 조성물, 그 제조방법 및 이를 이용한 세라믹 전자부품
출원번호 | 10-2010-0118685 등록번호 | 10-1218998-0000
특허권자 | 삼성전기주식회사 발 명 자 | 안성용 외 5명
본 발명은 소결성 및 자기적 특성(특히 Q 값)이 우수한 세라믹 전자부품용 조성물, 그 제조방법 및 이를 이용한 전자부품에 관한 것이다. 상기 세라믹 전자부품용 자성체 조성물은 산화철(Fe203), 산화코발트(CoO) 및 산화티타늄(TiO2)을 합하여 47.0 내지 49.5 몰부, 산화니켈(NiO) 16.0 내지 24.0 몰부, 산화아연(ZnO) 18.0 내지 25.0 몰부, 및 산화구리(CuO) 7.0 내지 13.0 몰부를 포함하여 이루어지는 니켈-아연-구리 페라이트 분말을 포함한다. 상기 세라믹 전자부품용 자성체 조성물을 이용하여 제조한 세라믹 전자부품은 품질계수(Q)가 우수하다.
세라믹-탄소 복합체 및 그 제조방법.jpg)
출원번호 | 10-2012-0005341 등록번호 | 10-1218508-0000
특허권자 | 인하대학교 산학협력단 발 명 자 | 심상은 외 1명
본 발명은 열전도성과 전기절연성을 함께 지니도록 탄소체에 세라믹을 코팅시킨 세라믹-탄소 복합체 및 그 제조방법에 관한 것이다. 본 발명에서는, 나노미터에서 수백 마이크로미터 크기를 지닌 탄소체와; 이 탄소체 표면에 화학적으로 결합되거나 물리적으로 흡착되어 있는 작용기나 커플링제와; 이 작용기나 커플링제를 매개로 탄소체에 결합, 코팅되어 있는 세라믹을 포함하며, 101~1018 Ω/sq 범위의 전기저항을 갖는 세라믹-탄소 복합체 및 그 제조방법이 제공된다.
본 발명에서는 다양한 형태와 크기의 탄소체 표면에 졸겔법으로 다양한 종류의 세라믹 코팅을 하여 다양한 범위의 열전도도와 전기절연성을 지닌 세라믹-탄소 복합체를 제조할 수 있다. 본 발명의 세라믹-탄소 복합체는 생산성과 경제성이 있고 우수한 열전도도와 전기절연성을 동시에 지니고 있으므로, 다양한 분야에서 널리 이용될 수 있다.
허니컴 구조의 세라믹 바이오 필터 및 그의 제조 방법
출원번호 | 10-2012-0023579 등록번호 | 10-1217169-0000
특허권자 | 아이앤비에어 주식회사 발 명 자 | 이강수
본 발명은 환경 친화적인 자연물을 원료로 사용한 허니컴(Honeycomb) 구조의 세라믹 바이오 필터, 그 제조방법에 관한 것으로서, 구체적으로는 휘발성유기화합물(Volatile Organic Compound)과 질산화합물, 황화수소화합물 등의 복합 악취 등의 유해물질이 허니컴 구조의 세라믹 미세 터널을 통과하면서, 미세 터널에 코팅되어 있는 황토 혼합물의 미세 기공과 음(-)전하에 의해 벽면에 흡착(Adsorption)되고, 흡착된 유해물질은 황토 혼합물에 포함되어 있는 미생물의 유해물질 분해 성능에 의해 제거 되어 진다.
특히 여러 미생물을 혼합하여 사용하지 않고, 유해물질별 분해성능이 높은 미생물을 선별하여 황토와 혼합 후 세라믹 바이오 필터에 코팅하고, 세라믹 바이오 필터를 다단으로 연결하여 사용하면 복합 유해가스의 분해 성능을 보다 높일 수 있다.
예를 들면 황화수소화합물의 분해 능력이 우수한 황산화균 중의 Thiobacillus sp. IW와 휘발성유기화합물의 분해 능력이 우수한 Candida tropicalis균을 혼합하여 사용하지 않고, 별도로 황토와 혼합 후 세라믹 바이오 필터에 코팅하고 세라믹 바이오 필터를 다단으로 연결하여 사용하면 복합 유해물질의 제거 성능을 보다 높일 수 있고 또한 유해물질별로 세라믹 바이오 필터를 선택하여 사용할 수 있어 경제적이고 효율적이다.
허니컴 구조의 미세 터널을 가지고 있는 구조체는 코디어라이트(Cordierite)의 다공성 세라믹 구조체로서 기공의 크기는 1 내지 200㎛이고, 기공률은 40 내지 60부피%인 것을 특징으로 한다. 또한 세라믹 바이오 필터에 공기를 공급하는 블로워 팬(Blower Fan)에서 나오는 저주파 소음을 허니컴 다공질 구조의 다수 터널 셀을 통과하면서 흡수와 투과 손실로 인해 감소시킬 수 있고, 기존의 유해물질 제거용 활성탄 필터 및 칩(Chip) 형태의 바이오 세라믹 필터에 비해 압력 손실(에너지)을 줄일 수 있는 허니컴 구조의 세라믹 바이오 필터 및 그 제조 방법을 제공하며, 구조체가 세라믹으로 구성되어 있어 세척을 통한 재사용으로 기존 필터의 산업 쓰레기를 줄일 수 있는 성능과 내구성이 우수한 허니컴 구조의 세라믹 바이오 필터를 제공할 수 있다.
탄소-세라믹 브레이크 디스크 및 이를 제조하는 방법.jpg)
출원번호 | 10-2009-0082379 등록번호 | 10-1216144-0000
특허권자 | 주식회사 데크 발 명 자 | 임동원 외 4명
본 발명에 따른 탄소-세라믹 브레이크 디스크는, 제1몸체와 제2몸체로 구성된 몸체; 상기 제1몸체로부터 돌출된 구획벽 사이 공간에 형성된 제1마찰층; 및 상기 제2몸체로부터 돌출된 구획벽 사이 공간에 형성된 제2마찰층;을 포함한다. 본 발명에 따르면, 마찰층은 우수한 내산화 특성을 가진다. 또한, 마찰층의 표면이 균일하게 마모된다. 또한, 탄소-세라믹 브레이크 디스크의 교체시기를 정확하게 알 수 있다. 또한, 탄소-세라믹 브레이크 디스크 제조시 발생하는 마찰층 표면의 균열 간격을 일정하게 조절할 수 있다.
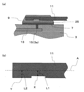
세라믹 히터, 및 이 세라믹 히터를 구비한 산소 센서와 헤어 아이론
출원번호 | 10-2010-7012791 등록번호 | 10-2010008-7215
특허권자 | 쿄세라 코포레이션 발 명 자 | 타케노우치히로시
(과제) 종래의 리드 부재는 길이 방향에 평행한 단면에 있어서의 리드 부재의 두께가 일정했기 때문에 브레이징재와의 접합 면적을 크게 하는 것이 어려웠다. 그 때문에, 리드 부재와 브레이징재의 접합성에 기여하는 이들 접촉 면적을 증대시키기 위해서는 리드 부재 자체를 크게 하지 않으면 안 되었다.
(해결 수단) 리드 부재(11)의 길이 방향에 평행하고 리드 부재(11)의 중심축(A)을 포함하는 단면에 있어서, 리드 부재(11)의 외주 중 브레이징된 부분의 1점(X)으로부터 리드 부재(11)의 중심축(A)까지의 거리보다 브레이징된 부분의 다른 1점(Y)으로부터 중심축(A)까지의 거리를 크게 함으로써 리드 부재(11)와 브레이징재의 접촉 면적을 증대시키는 것이 가능해진다.
세라믹 압출판 건조용 지그.jpg)
출원번호 | 10-2011-0067016 등록번호 | 10-1209768-0000
특허권자 | 주식회사 칸세라 발 명 자 | 이종천 외 1명
압출에 의해 만들어진 세라믹 압출판을 건조하기 위해 사용되는 지그에 관한 것이다. 세라믹 압출판 건조용 지그는, 상측 보호부재 및 하측 보호부재와, 상측 블록 및 하측 블록과, 상측 메쉬부재 및 하측 메쉬부재를 포함한다. 상측 보호부재 및 하측 보호부재는 세라믹 압출판의 상하면에 각각 배치되며, 흡습성을 지니고 세라믹 압출판의 표면을 보호하는 재질로 각각 형성된다. 상측 블록은 상측 보호부재의 상측에 배치되고, 상하로 각각 관통 형성된 다수의 관통 홀들을 갖는다. 하측 블록은 하측 보호부재의 하측에 배치되고, 상하로 각각 관통 형성된 다수의 관통 홀들을 갖는다. 상측 메쉬부재는 상측 보호부재와 상측 블록 사이에 배치되고, 하측 블록의 관통 홀보다 작은 크기의 메쉬 홀을 다수 갖는다. 하측 메쉬부재는 하측 보호부재와 하측 블록 사이에 배치되고, 상측 블록의 관통 홀보다 작은 크기의 메쉬 홀을 다수 갖는다.
향상된 변위를 제공하는 돔형 압전 모터.jpg)
출원번호 | 10-2011-0091642 등록번호 | 10-1216963-0000
특허권자 | 주식회사 아이비기술 발 명 자 | 권오주 외 1명
본 발명은 돔형 압전 모터를 구성하는 돔형 압전 세라믹의 가장자리 부분에 브래킷을 부착하여 돔형 압전 세라믹의 변위를 극대화시키기 위한 향상된 변위를 제공하는 돔형 압전 모터에 관한 것으로, 양면에 서로 다른 전극이 형성되도록 처리된 돔형 압전 세라믹(100); 상기 돔형 압전 세라믹(100)의 변위에 연동되도록 상기 돔형 압전 세라믹(100)의 일면에 고정된 진동축(110); 상기 진동축(110)에 접촉되어 있으면서 상기 진동축(110)과의 마찰에 의해 선형으로 구동되는 이동체(200); 및 중앙에 관통된 구멍이 형성되고 상기 돔형 압전 세라믹(100)의 가장자리 부분에 부착되어 상기 돔형 압전 세라믹(100)에 구동신호가 제공되는 경우 상기 돔형 압전 세라믹(100)의 변위를 극대화시키는 브래킷(120); 을 포함하는 것을 특징으로 한다.
이와 같은 본 발명은 돔형 압전 모터를 구성하는 돔형 압전 세라믹(100)의 가장자리 부분에 브래킷(120)을 부착하여 돔형 압전 세라믹(100)의 변위를 극대화시키기 때문에, 돔형 압전 모터의 성능이 상승하는 효과가 있다.
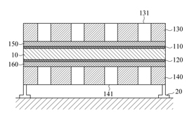
세라믹 다층 기판
출원번호 | 10-2010-7005165 등록번호 | 10-1215920-0000
특허권자 | 소신 덴키 가부시키
가이샤 발 명 자 | 하세가와토모유키
저유전율의 절연체로 이루어지는 저유전율층과 고유전율의 유전체로 이루어지는 고유전율층의 공소결에 의해 얻어지는 세라믹 다층 기판을 제공한다. 저유전율층은 xBaO-yTiO2-zZnO(x, y, z는 각각 몰비율을 나타내고, x+y+z=1; 0.09≤x≤0.20; 0.49≤y≤0.61; 0.19≤z≤0.42)의 조성을 갖는 저유전율 세라믹 성분과, 이 저유전율 세라믹 성분 100중량부에 대하여 1.0중량부 이상, 5.0중량부 이하 첨가되어 있는 산화붕소 함유 유리 성분을 함유한다. 고유전율층이 CuO 및 Bi2O3가 첨가된 티탄산 바륨계 유전체로 이루어진다.
수질정화용 세라믹 다공체의 제조방법
출원번호 | 10-2009-0046387 등록번호 | 10-1
216928-0000
특허권자 | 한국세라믹기술원 발 명 자 | 김응수 외 4명
본 발명은, 규조토 및 납석을 함유하는 세라믹 다공체로서, 밀도가 1.0~1.2g/㎤ 범위이고, 기공율은 42~52% 범위를 가지며, 상기 세라믹 다공체의 제1 표면, 상기 제1 표면의 반대쪽에 있는 제2 표면, 상기 제1 표면과 상기 제2 표면 사이의 벌크 영역에 20~200㎚ 크기의 복수 개의 나노 기공과, 1~200㎛ 크기의 복수 개의 마이크로 기공 및 500㎛~2㎜ 크기의 복수 개의 거대 기공이 형성되어 있는 수질정화용 세라믹 다공체 및 그 제조방법에 관한 것이다. 본 발명에 의한 수질정화용 세라믹 다공체는, 염가의 천연 원료인 규조토 및 납석을 사용하여 저렴하게 대량으로 제조할 수 있고, 제조 공정이 간단하며, 나노 기공, 마이크로 기공 및 거대 기공의 다양한 크기의 기공 구조로 이루어져 유체와 실질적으로 접촉하는 세라믹 다공체 표면의 면적이 극대화되어 수처리용 정화 필터로서 효율적이며, 수족관 또는 어항의 필터, 오폐수 정화기, 소규모 폐수처리 장치 등에 다양한 용도로 활용이 가능하다.
유
리용기 성형용 몰드의 코팅방법 및 이 방법에 의해 표면이 코팅처리된 성형용 몰드
출원번호 | 10-2010-0048402 등록번호 | 10-1217034-0000
특허권자 | 안성유리공업(주) 발 명 자 | 김정완 외 3명
유리용기 성형용 몰드의 코팅방법이 개시된다. 개시된 코팅방법은, 블랭크 몰드 표면의 이물질을 제거하고, 중화시키는 표면처리 단계, 표면처리된 블랭크 몰드 표면에 세라믹 코팅제를 도포 및 건조하는 단계, 및 세라믹 코팅제가 도포된 블랭크 몰드 표면을 연마하는 단계를 포함한다.
에어로졸을 이용한 분말 증착장치.jpg)
출원번호 | 10-2010-0133868 등록번호 | 10-1219206-0000
특허권자 | 전자부품연구원 발 명 자 | 조현민 외 1명
본 발명은 발광다이오드(LED, Light emitting diode)용 방열 기판과 같은 전자부품 또는 기계부품 등의 표면에 혼합층 또는 다층을 이루며 박막으로 미세 세라믹 분말을 증착시킬 수 있는 에어로졸을 이용한 분말 증착장치를 개시한다.
본 발명의 에어로졸을 이용한 분말 증착장치는, 프로세스 챔버, 프로세스 챔버의 내부에 제공되며 타깃이 고정되는 스테이지, 챔버의 내부에 진공을 형성시키는 진공 펌프, 이종의 증착용 분말이 각각 수용되는 에어로졸 챔버들, 에어로졸 챔버들에 제공되며 에어로졸 챔버들에 수용된 에어로졸을 배출시키는 배출관로들, 복수의 배출관로들에 설치되어 에어로졸 배출량을 조절하는 복수의 배출량 컨트롤 밸브, 배출관로들에 연결되어 프로세스 챔버로 에어로졸을 공급하는 공급관로, 챔버의 내부에 설치되며 공급관로에 연결되어 에어로졸을 타깃에 분사하는 분사노즐, 공급관로에 제공되며 챔버에 에어로졸을 공급하거나 차단하는 차단 밸브, 그리고 에어로졸 챔버에 각각 캐리어 가스 공급 관로로 연결되며 캐리어 가스가 수용된 캐리어 가스 챔버를 포함한다.
세라믹 입자가 함유된 필름 타입의 광소자 패키지 및 그 제조 방법
출원번호 | 10-2010-0086333 등록번호 | 10-1212964-0000
특허권자 | 엘지이노텍 주식회사 발 명 자 | 백지흠 외 1명
본 발명은, 비아홀이 형성된 절연필름; 상기 절연필름 하면에 형성된 회로패턴층; 및 상기 비아홀에 의해 노출된 회로패턴층 상면에 실장되며, 상기 회로패턴층과 전기적으로 연결된 광소자를 포함하는 세라믹 입자가 함유된 필름 타입의 광소자 패키지 및 그 제조 방법에 관한 것이다. 이에 의해 광소자가 절연 필름 하부의 회로패턴층에 직접 실장될 수 있어 열방출 효과를 개선한다. 또한, 절연층을 필름형태로 구성함으로써, 롤 투 롤 공정에 적합하고, 특히, 세라믹 파우더가 함유된 절연필름을 사용할 경우, 기존의 폴리이미드 재질의 절연층에 비해 열 충격에 비해 안정적인 광소자 패키지를 제조할 수 있다.
발광소자, 발광 모듈 및 발광 소자 제조방법.jpg)
출원번호 | 10-2011-0050903 등록번호 | 10-1210028-0000
특허권자 | 엘지이노텍 주식회사 발 명 자 | 강필근 외 5명
실시 예는 발광소자, 발광 모듈 및 발광 소자 제조방법에 관한 것이다. 실시 예에 따른 발광소자는, 기판; 상기 기판 아래에, 제1도전형 반도체층; 상기 제2도전형 반도체층; 상기 제1도전형 반도체층과 상기 제2도전형 반도체층 사이에 활성층을 포함하는 발광 구조물; 상기 제1도전형 반도체층 아래에 제1전극; 상기 제2도전형 반도체층 아래에 배치된 반사 전극층; 상기 반사 전극층 아래에 제2전극; 상기 제1도전형 반도체층 및 상기 반사 전극층의 아래에 배치되며 상기 제1 및 제2전극의 둘레에 배치된 지지 부재; 상기 지지 부재 내에 적어도 일부가 배치되며 상기 제1전극 아래에 형성된 제1연결 전극; 및 상기 지지 부재 내에 적어도 일부가 배치되며 상기 제2전극 아래에 형성된 제2연결 전극을 포함한다.
마그네슘 합금의 산화피막 형성방법 및 이로부터 제조된 산화피막을 가지는 부재
출원번호 | 10-2010-0059124 등록번호 | 10-1213976-0000.jpg)
특허권자 | 한국산업기술대학교산학협력단
발 명 자 | 송용원 외 2명
본 발명은 마그네슘 합금의 산화피막 형성방법 및 이로부터 제조된 산화피막을 가지는 부재에 관한 것으로, 구체적으로는 환경친화성 전해액을 적용하여 내부식성, 계면결합력 및 도포 밀착성을 향상시켜 우수한 표면특성을 갖는 장점이 있다.
본 발명에 따른 마그네슘 합금의 산화피막 형성방법은 자동차, 항공기 등의 수송산업용 소재, 우주 항공소재, 휴대용 가전기기 내·외장 케이스, 군수산업용 소재,
스포츠·레저 및 의료용품 소재 등으로 사용되는 마그네슘 합금의 고품위 내부식 산화세라믹 코팅, 도장하지 및 다목적 다층 구조용 코팅을 위한 핵심기술로 활용 가능하다.
고체산화물연료전지의 단위셀 제조공정
출원번호 | 10-2011-0072014 등록번호 | 10-1215418-0000
특허권자 | 한국생산기술연구원 발 명 자 | 김호성 외 6명
본 발명은 고체산화물연료전지 단위셀을 구성하는 연료극 지지체를 테이프캐스팅 공법, 또는 압력식, 또는 방전플라즈마 공법 등에 의해 제조한 연료극 지치체(소결체) 위에 테이프캐스팅 공법으로 제조된 연료극 반응층/전해질층 필름 어셈블리를 접착하는 공정을 통한 고체산화물연료전지의 단위셀 제조방법을 제공한다. 고체산화물연료전지의 단위셀 제조방법은, 연료극 지지체의 가소결체를 형성하는 단계, 연료극 반응층 시트를 제조하는 단계, 전해질층 시트를 제조하는 단계, 상기 연료극 반응층 시트와 상기 전해질층 시트를 적층한 필름 어셈블리를 제조하는 단계, 상기 가소결체에 바인더를 제공하는 단계, 상기 바인더가 제공된 상기 가소결체에 상기 필름 어셈블리를 결합시키는 단계, 상기 가소결체와 상기 필름 어셈블리가 결합된 결합체를 라미네이션하는 단계, 상기 라미네이션이 완료된 결합체를 공소결하는 단계, 상기 공소결이 완료된 소결체에서 전해질층 상에 공기극층을 형성하는 단계 및 소결하는 단계를 포함하여 구성된다.
적층세라믹커패시터의 선별기
출원번호 | 10-20
11-0015811 등록번호 | 10-1216670-0000
특허권자 | 강서익 발 명 자 | 강서익
본 발명은 적층 세라믹 커패시터의 선별기에 관한 것으로, 베이스의 상부에 설치되어 그 내부에 MLCC와 볼을 수용하기 위한 수용공간을 가지며, 그 저면의 일측에는 상기 MLCC와 볼을 낙하시키기 위한 개구부가 형성된 공급통; 상기 공급통의 하방에 설치되어 상기 공급통의 개구부를 통해서 낙하되는 MLCC와 볼을 점차 확산시키면서 이송시키기 위한 확산피더; 상기 확산피더의 일측에 경사지게 설치되어 상기 확산피더에 의해 이송되어 외부로 배출되는 MLCC와 볼을 하방으로 이송시키기 위한 경사이송판; 상기 경사이송판의 하부에 경사지게 설치되어 상기 경사이송판으로부터 낙하되는 MLCC와 볼을 분리하여, 상기 MLCC는 상부쪽으로 이송되도록 하고, 상기 볼은 하부쪽으로 이송되도록 하는 선별피더; 상기 선별피더의 하부에 설치되어 상기 선별피더의 경사각도를 조절하기 위한 선별피더 경사조절수단; 상기 선별피더로부터 배출되는 MLCC를 외부로 이송시키도록 하기 위한 상부경사대; 상기 상부경사대로부터 배출되는 MLCC를 수집하기 위한 MLCC 수집통; 상기 선별피더로부터 배출되는 볼을 외부로 이송시키도록 하기 위한 하부경사대; 및 상기 하부경사대로부터 배출되는 볼을 수집하기 위한 볼 수집통;으로 이루어지는 것을 특징으로 하며, 위와 같은 구성에 의하여 MLCC의 접지부에 코팅이 완료된 볼을 다시 MLCC와 서로 정확하면서도 효율적으로 분리 선별하도록 할 수 있다.
전계방출용 CNT-금속 혼합막 제조 방법 및 에어로졸 증착장치 .jpg)
출원번호 | 10-2012-0092967 등록번호 | 1020120099201
특허권자 | 한국세라믹기술원 발 명 자 | 허승헌
본 발명은 CNT(탄소나노튜브)와 금속의 혼합분말을 진공팽창원리로 가속시킨 후(에어로졸 증착법: 이하 AD법) 기재에 충돌시키는 방법을 통하여 전계방출용 (Electron Field Emission) CNT-금속 혼합막을 균일하게 형성시키는 방법 및 이러한 방법 실시를 위한 에어로졸 증착장치에 관한 것이다.
본 발명은 미세공이 다수 형성된 샤워기 형태로 구성된 가스유입부가 구비된 에어로졸 챔버; 내부에 기재가 배치된 저진공상태의 증착챔버; 및 일단은 상기 에어로졸 챔버와 연통되고 타단은 상기 증착챔버 내에 삽입되어 상기 기재를 향해 개구되어 있는 수송관; 을 포함하여 구성된 에어로졸 증착장치에 의해 (a) CNT-금속 혼합분말에 기계적 충돌에너지를 가하는 전처리 단계; (b) 전처리된 CNT-금속 혼합분말을 상기 에어로졸 챔버에 도입하고, 상기 CNT-금속 혼합분말에 수송가스를 직접 분사하여 에어로졸화시키되, 상기 샤워기 형태의 가스유입부에 의해 수송가스를 에어로졸 챔버의 전 영역에 유입시킴으로써, 에어로졸 챔버 바닥에 CNT-금속 혼합분말이 적층되지 않도록 하는 작업이 함께 시행되는 단계; 및 (c) 상기 에어로졸을 진공팽창원리로 가속하여 상기 수송관을 통해 상기 증착챔버 내부로 토출시킴으로써, 상기 기재에 증착시키는 단계; 로 시행되는 전계방출용 CNT-금속 혼합막 제조 방법을 제공한다.
경사기능재료 접합층을 이용한 연료전지 및 그 제조방법
출원번호 | 10-2011-0007956 등록번호 | 10-2012008-6610
특허권자 | 한국과학기술원 발 명 자 | 배중면 외 2명
본 발명은 경사기능재료 접합층을 이용한 연료전지 및 그 제조방법에 관한 것으로서, 보다 구체적으로는 연료전지의 금속판과 연료극을 포함하는 단전지를 경사기능재료 접합층을 이용하여 코팅한 후, 이를 소결시킴으로써 접합하는 연료전지 및 그 제조방법에 관한 것이다.
기사를 사용하실 때는 아래 고유 링크 주소를 출처로 사용해주세요.
https://www.cerazine.net