2012년 11월 1일 ~ 11월 30일
세라믹 히터 및 그것을 사용한 가열용 인두
출원번호 | 10-2007-7002712 등록번호 | 10-1201388-0000
특허권자 | 쿄세라 코포레이션 발 명 자 | 츠루마루타카후미 외 1명
고온이나 진동이나 배기가스 분위기 등의 가혹한 조건하에서도 내구성이 뛰어나고, 급속한 가열 냉각에 대하여 높은 신뢰성을 갖는 내구성이 높은 세라믹 히터를 제공하기 위해서, 그 세라믹 히터는, 내장된 도체와 그 도체와 도통하는 메탈라이즈층을 갖는 세라믹체와, 상기 메탈라이즈층에 납재로 접합된 리드부재를 구비하고, 상기 납재의 상기 리드부재를 덮는 피복영역이, 상기 리드부재에 있어서의 상기 메탈라이즈층에 가장 가까운 근접단과 상기 메탈라이즈층으로부터 가장 떨어진 상단까지의 거리의 40~99%의 범위로 설정되어 있다.
세라믹 전자 부품용 다층 박막 필름 및 이의 제조방법.jpg)
출원번호 | 10-2011-0038787 등록번호 | 10-1208286-0000
특허권자 | 삼성전기주식회사 발 명 자 | 이광직 외 2명
본 발명은 기판; 및 상기 기판의 상부면 및 하부면 중 적어도 일면에 교대로 형성된 세라믹층 및 금속층;을 포함하며, 상기 세라믹층 및 상기 금속층 중 적어도 하나의 높이가 평면상에 나열되는 복수 개의 입자 중 적어도 하나의 두께인 세라믹 전자부품용 다층 박막 필름 및 이의 제조방법을 제공한다. 본 발명에 따른 세라믹 전자부품용 다층 박막 필름은 적층수가 증가하고, 전극 간 거리를 줄여 정전용량을 증가시킬 수 있다.
세라믹 기판을 이용한 이미지 센서 패키지 및 그의 제조 방법
출원번호 | 10-2011-0142935 등록번호 | 10-1209418-0000
특허권자 | 엘지이노텍 주식회사 발 명 자 | 한광준 외 1명
본 발명은 세라믹 기판을 이용한 이미지 센서 패키지 및 그의 제조 방법에 관한 것이다.
즉, 본 발명은 상부면에 제 1 홈이 형성되어 있고 상기 제 1 홈에 제 2 홈이 형성되어 있고 상기 제 2 홈에 관통홀이 형성되어 있는 세라믹 바디와, 상기 제 1 홈에 형성된 제 1 전극 패드와, 상기 세라믹 바디의 상부면, 하부면과 양자 중 어느 하나에 형성되며 상기 제 1 전극 패드에 전기적으로 연결된 제 2 전극 패드를 포함하며, 상기 제 1 홈과 상기 제 2 홈이 경사면으로 연결되어 있고, 상기 제 2 홈의 측면이 만나는 영역이 테이퍼(Taper) 가공되어 있는 세라믹 기판과; 상기 제 1 전극 패드에 전기적으로 연결된 전극 패드를 포함하는 이미지 센서 칩을 포함한다.
온도측정 제어 레이저를 이용한 이종물질 접합방법.jpg)
출원번호 | 10-2011-0036210 등록번호 | 10-1206918-0000
특허권자 | 계명대학교 산학협력단 발 명 자 | 최해운 외 1명
본 발명은 온도측정 제어 레이저를 이용한 이종물질 접합방법에 관한 것으로서, a) 금속판에 세라믹을 일정 두께만큼 코팅하는 단계; (b) 세라믹 코팅막에 일정 간격으로 레이저를 조사하여 홀을 형성하는 단계; (c) 온도측정 제어부를 통하여 상기 금속판의 온도를 측정하고, 온도변화를 측정하는 단계; (d) 상기 온도측정 제어부에서 상기 온도변화의 기울기가 급격한 변화가 일어나는지 여부를 판단하는 단계; (f) 상기 기울기가 급격한 변화가 일어나는 경우, 일정시간 경과 후 상기 레이저의 조사를 종료하여, 상기 홀에 상기 레이저 조사에 의해 용융된 금속을 채워 용접하는 단계를 포함한다.
이와 같은 본 발명을 제공하면, 본 발명에서 제안하고 있는 레이저를 이용한 이종물질 접합방법에 따르면, 금속판에 세라믹을 코팅한 후 레이저를 이용하여 세라믹 코팅막에 일정한 간격으로 홀을 형성하여 필터 기능을 위한 기공을 확보할 수 있다.
또한, 본 발명에 따른 레이저를 이용한 이종물질 접합방법은, 레이저를 이용하여 금속을 용융시킨 뒤 모세관 힘을 통하여 세라믹 코팅막에 형성된 홀에 금속을 채워 용접하여 접합력을 강화시킴으로써, 내열성과 내식성 및 내충격성을 가진 복합소재를 제작할 수 있다. 더하여, 금속판의 용융시점을 정확히 판단하고 홀 내부를 채워 접합하는 방법을 제어함으로써, 과도한 레이저 조사로 인한 용융된 금속물질이 홀 밖으로 유출되는 것을 방지할 수 있고, 정확하고 정밀하게 용접과정을 제어하여 불량률을 줄이고 양산 수율을 높일 수 있게 된다.
메조기공이 형성된 다공성 탄소재료의 제조방법 및 이를 이용하여 제조된 연료전지용 촉매의 담지체
출원번호 | 10-2010-0113661 등록번호 | 10-1206913-0000
특허권자 | 한국에너지기술연구원 발 명 자 | 정두환 외 5명
본 발명은 (S1) 세라믹 나노 입자의 표면에 탄소 피막을 형성하는 단계; (S2) 상기 (S1) 단계에서의 탄소 피막이 형성된 세라믹 나노 입자와 탄소 전구체를 혼합하는 단계; (S3) 상기 (S2) 단계에서 제조된, 탄소 피막이 형성된 세라믹 나노 입자와 탄소 전구체의 혼합물을 열처리하여 탄화시키는 단계; 및 (S4) 상기 (S3) 단계에서 제조된 물질에서 상기 세라믹 나노 입자를 제거하는 단계를 포함하는 다공성 탄소재료의 제조방법에 관한 것이다. 본 발명의 다공성 탄소재료의 제조방법을 따르면 메조기공의 분포가 균일한 다공성 탄소재료를 낮은 제조단가로 대량생산할 수 있으며, 본 발명의 메조기공이 형성된 다공성 탄소재료는 연료전지용 촉매 담지체로 사용되어 연료전지용 전극의 제조에 사용될 수 있다.
고온 본딩된 세라믹 상호 접속을 구비한 SOFC 스택 및 이를 제조하는 방법
출원번호 | 10-2008-7024149 등록번호 | 10-1204337-0000
특허권자 | 생-고뱅 세라믹스 앤드 플라스틱스, 인코포레이티드
발 명 자 | 도나휴,윌리암,2세 외 3명
본 발명은 캐소드층, 상기 캐소드층상에 놓인 전해질층, 및 상기 전해질층상에 놓인 애노드층을 구비하는 제 1 전지를 포함하는 일체형 SOFC 스택에 관한 것이다. SOFC 스택은 또한 캐소드층, 상기 캐소드층상에 놓인 전해질층, 및 상기 전해질층상에 놓인 애노드를 구비하는 제 2 전지를 포함한다. SOFC 스택은 상기 제 1 전지와 상기 제 2 전지 사이에 세라믹 상호 접속층을 추가로 포함하고, 상기 세라믹 상호 접속층은 상기 제 1 전지와 상기 세라믹 상호 접속층간에 계면 영역을 따라 제 1 고온 본딩 영역, 및 상기 제 2 전지와 상기 세라믹 상호 접속층간에 계면 영역을 따라 제 2 고온 본딩 영역을 갖는다..jpg)
금속의 부식 저항성 향상을 위한 세라믹 코팅층 제조방법 및 그에 의한 금속의 세라믹 코팅층이 구비된 물품
출원번호 | 10-2010-0075853 등록번호 | 10-1208768-0000
특허권자 | 서울대학교산학협력단 발 명 자 | 홍성현 외 3명
개시된 본 발명에 따른 금속의 부식 저항성 향상을 위한 세라믹 코팅층 제조방법은, a) 금속 기판을 준비하는 단계, b) 세라믹 분말을 일정 온도에서 열처리하는 단계, 및 c) 상기 금속 기판 표면에 상기 세라믹 분말을 에어로졸 증착법으로 증착하여 세라믹 코팅층을 형성하는 단계를 포함한다. 여기서 금속기판은 마그네슘 또는 마그네슘 합금, 탄소강, 스테인리스 스틸 중 어느 하나가 선택되고, 세라믹 분말은 이트리아 안정화 지르코니아(YSZ), 산화세륨(CeO2) 중 어느 하나가 선택된다. 본 발명에 의하면 상기 금속 표면에 상기 세라믹 분말을 에어로졸 증착법을 이용하여 증착하여 세라믹 코팅층을 형성함으로써 부식 저항성이 매우 우수해지는 효과가 있다.
유전체 세라믹 조성물 및 적층 세라믹 콘덴서
출원번호 | 10-2009-7026444 등록번호 | 10-1200129-0000
특허권자 | 가부시키가이샤 무라타 세이사쿠쇼
발 명 자 | 타케다토시카즈
적층 세라믹 콘덴서에 이용되는 유전체 세라믹 재료로서, 1300℃ 이하의 온도에서 주성분이 Ni인 내부 전극과 공(共)소성 가능한 동시에 높은 유전율을 유지하고, -55~175℃의 범위에서의 정전용량 온도 특성이 양호하며, 175℃에서의 저항률(ρ)이 높은 유전체 세라믹 조성물을 제공한다. 유전체 세라믹 조성물은 조성식 (1-a)(K1-xNax)(Sr1-y-zBayCaz)2Nb5O15-a(Ba1-bCab)TiO3(단 a, b, x, y, z는 모두 몰비를 나타내고, 0.3≤a≤0.8, 0≤b≤0.2, 0≤x<0.2, 0.1≤y≤0.5, 0.1≤z≤0.5, 0.2≤y+z≤0.7을 만족함)으로 표현되는 유전체 세라믹 조성물을 주성분으로 하고, 상기 주성분 100몰부에 대해서 0.1~40몰부의 M(단 M은 V, Mn, Cr, Fe, Co, Ni, Zn, Mg, Si로 이루어지는 군에서 선택된 적어도 1종임)을 부성분으로서 포함한다.
친환경 난연성 바이오 복합재료의 제조방법
출원번호 | 10-2010-0124155 등록번호 | 10-1199571-0000
특허권자 | 한국에너지기술연구원 발 명 자 | 한성옥 외 3명
본 발명은 친환경 난연성 바이오 복합재료를 제조하는 방법에 관한 것으로서, 1) 세라믹 시트 상에 절단된 천연섬유 및 고분자 분말을 분산시키는 단계; 2) 상기 천연섬유와 고분자가 분산된 세라믹 시트를 가열하여 상기 고분자 분말을 용융시킨 후, 압축 성형하는 단계; 및 3) 상기 압축 성형된 시트를 냉각하는 단계;를 포함하며, 이에 따라 제조된 바이오 복합재료는 천연섬유를 보강재로 사용하여 친환경적이고, 세라믹 시트와 일체형으로 구성되어 난연성 문제가 해소되었을 뿐만 아니라, 저장탄성율, 치수안정성, 굴곡 특성, 경량 특성이 우수하며, 다양한 구조로 성형이 가능하여 자동자 및 건축내외장재로서 활용가능성이 매우 높다.
세라믹 보드를 이용한 선택적 산화 반응기
출원번호 | 10-2008-0035115 등록번호 | 10-1202538-0000
특허권자 | 주식회사 엘지화학 발 명 자 | 이창훈 외 8명
본 발명에 따른, 외부에서 공급된 개질 가스와 공기가 반응하여 개질 가스에 함유된 잔류 일산화탄소가 저감되는 선택적 산화 반응기는 유체 유입 포트 또는 유체 배출 포트가 형성된 제 1 플레이트 및 제 2 플레이트; 및 제 1 플레이트 및 제 2 플레이트 사이에 배치되어 제 1 플레이트와의 사이 및 제 2 플레이트와의 사이에 유로를 각각 형성하는 채널 플레이트를 포함한다. 채널 플레이트는 표면에 촉매층이 형성된 세라믹 보드로 이루어지며, 폭 방향으로 다수의 골 및 산이 교대로 형성되어 있어 제 1 플레이트와 하부면 사이 및 제 2 플레이트와 상부면 사이에 다수의 길이 방향 채널이 형성되어 있다..jpg)
압전 액추에이터 및 그 제조 방법, 그리고 상기 압전 액추에이터를 구비하는 카메라 모듈
출원번호 | 10-2010-0025621 등록번호 | 10-1204578-0000
특허권자 | 삼성전기주식회사 발 명 자 | 이동균 외 2명
본 발명은 압전 액추에이터에 관한 것이다. 본 발명에 따른 압전 액추에이터는 구동하고자 하는 대상물과 결합된 구동 로드, 구동 로드가 압전소자에 결합되기 위한 기설정된 결합위치를 표시하는 표식부를 갖는 압전소자, 그리고 홈에 구비되어 구동 로드와 압전소자를 접착시키는 접착제를 포함하되, 표식부는 압전소자의 전면으로부터 내부로 연장된 홈을 포함한다.
이온성 유체를 함유하는 전해질을 포함하는 리튬 이온 전지중의 세라믹 분리막의 용도
출원번호 | 10-2006-7024221 등록번호 | 10-1202048-0000
특허권자 | 에보니크 데구사 게엠베하 발 명 자 | 회르펠,게르하르트 외 4명
본 발명은 전해질 조성물로 충전된 분리막에 관한 것이다. 본 분리막은 세라믹 표면 및 이온성 액체를 포함하는 전해질 조성물을 갖는다. 전해질 조성물로의 충전은, 예를 들어 상응하는 전해질 조성물로 충전된 전지, 예를 들어 리튬 이온 전지 내로 분리막을 삽입함으로써 수행될 수 있다.
분리막, 리튬 이온 전지, 전해질 조성물, 세라믹 표면
나노 플레이크와 징크 플레이크가 함유된 세라믹 메탈 함유 수지계 코팅 강관.jpg)
출원번호 | 주식회사 비앤비 등록번호 | 태주종합철강주식회사
특허권자 | 주식회사 비앤비 발 명 자 | 김태일 외 1명
본 발명은 본 발명은 나노 플레이크와 징크 플레이크가 함유된 세라믹 메탈 함유 수지계 코팅 강관에 관한 것으로, 중공의 강관; 및 상기 강관의 내면에 도포되어 형성된 내면 코팅층;을 포함하되, 상기 내면 코팅층은 폴리머 수지, 경화제, 세라믹 분말, 층상 실리케이트, 나노 플레이크, 징크 플레이크, 첨가제 및 희석제로 혼합 구성된 것을 특징으로 한다.
이에 따라, 나노 플레이크 및 징크 플레이크가 층상 실리케이터의 구속 효과로 인해 코팅면에 평행하게 배열되어 방식 성능을 높일 수 있을 뿐만 아니라, 코팅층 내에 핀홀과 같은 결함의 발생을 방지하고, 코팅층 내에 첨가되는 무기질 재료의 함량을 낮춤으로써 밀도 감소 및 점도 감소에 의한 코팅층의 흐림 결함을 방지하여 그에 따른 코팅층 작업 시간을 단축하고 생산성은 한층 향상시킬 수 있는 효과가 있다.
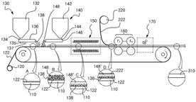
복
합재료 시트 제조장치
출원번호 | 10-2010-0018249 등록번호 | 10-1208353-0000
특허권자 | 한국에너지기술연구원 발 명 자 | 한성옥 외 3명
본 발명은 복합재료 시트 제조장치에 관한 것으로서, 본 발명에 따른 복합재료 시트 제조장치는, 컨베이어 이송장치; 상기 컨베이어 이송장치에 세라믹시트를 공급하는 제1세라믹시트 권출롤; 상기 세라믹시트에 천연섬유를 공급하는 천연섬유 공급기; 상기 세라믹시트에 고분자 물질을 공급하는 고분자 공급기; 상기 세라믹시트에 상기 천연섬유 및 상기 고분자 물질을 적층한 전처리시트를 가열하는 제1히팅장치; 및, 가열된 상기 전처리시트를 복합재료 시트로 성형하는 압축롤러를 포함하며, 본 발명에 따른 복합재료 시트 제조장치를 사용함으로써, 분해가 용이하여 환경오염을 최소화할 수 있고, 중량이 가벼운 복합재료 시트를 제조할 수 있다.
온도 안정성 및 열충격 특성이 향상된 팬-피지티계 압전
세라믹 조성물
출원번호 | 10-2011-0054076 등록번호 | 10-1205422-0000
특허권자 | 경원산업 주식회사 발 명 자 | 김경원 외 4명
본 발명은 xPb(Al1/2Nb1/2)O3-(1-x)Pb(ZryTi1-y)O3 (PAN-PZT)계 압전 세라믹용 조성물에 관한 것으로서, 화학식 1[xPb(Al1/2Nb1/2)O3-(1-x)Pb(ZryTi1-y)O3+mNb2 O5 + nMnO2: x는 0.01 내지 0.07 mol이고, y는 0.49 내지 0.53 mol이며, m은 조성물의 전체 중량을 기준으로 0.3 내지 0.9 wt%이고, n은 조성물의 전체 중량을 기준으로 0.1 내지 0.7 wt%이다]로 나타내어지는 본 발명에 따른 PAN-PZT계 압전 세라믹 조성물은 고출력 액추에이터로 응용시 중요한 특성인자인 유전율 (K33), 전기기계 결합계수 (Kp) 및 기계적 품질계수 (Qm)가 우수할 뿐만 아니라 PAN 고용량과 Zr/Ti비를 조절함으로써 온도 안정성과 열충격 특성이 향상되어 이를 액추에이터에 응용할 경우 압전특성이 우수하여 출력효율의 향상은 물론 부품의 신뢰성을 크게 높일 수 있어 당분야에서 매우 유용하게 이용될 수 있을 것으로 기대된다.
다
층의 무소결 세라믹 기판의 층간 접속 구조 형성 방법
출원번호 | 10-2011-0046597 등록번호 | 10-1205837-0000
특허권자 | 전자부품연구원 발 명 자 | 박성대 외 1명
본 발명은 전기 전자 분야의 전기 전자부품 중에서 무소결 세라믹 기판의 다층화를 위해 필요한 전도성 비아 소재, 보호층 필름 및 층간 접속 구조 형성 방법에 관한 것이다.
본 발명에 따르는 다층의 무소결 세라믹 기판의 층간 접속 구조 형성 방법은, 경성 기판을 준비하는 단계; 준비된 경성 기판상에 잉크젯 인쇄법(ink jet printing)을 이용하여 제 1 유전체 층을 형성하는 단계; 상기 제 1 유전체 층에 비아 홀을 형성하고, 제 1 전도성 비아 페이스트를 충진, 건조, 경화함으로써 비아를 형성하는 단계; 비아가 형성된 제 1 유전체 층상에 전도성 잉크를 이용하여 도선을 형성하는 단계; 상기 도선이 형성된 상기 제 1 유전체 층상에 잉크젯 인쇄법(ink jet printing)을 이용하여 제 2 유전제 층을 형성하는 단계; 상기 제 2 유전체 층에 비아 홀을 형성하고 제 1 전도성 비아 페이스트를 충진, 건조, 경화함으로써 비아를 형성하는 단계; 상기 단계에 의해 제조된 복수의 유전체 층을 구비한 기판의 상부에 보호층 본딩 필름을 부착하는 단계; 상기 보호층 본딩 필름에 비아 홀을 형성하고, 제 1 전도성 비아 페이스트를 충진, 건조, 경화함으로써 비아를 형성하는 단계; 상기 보호층 본딩 필름 상부에 잉크젯 인쇄 방식으로 전극을 형성하는 단계를 포함하는 것을 구성적 특징으로 한다.
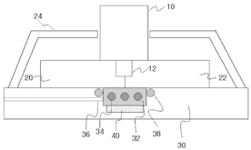
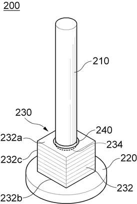
접지용 스트랩을 구비한 세라믹 히터 .jpg)
출원번호 | 10-2012-0068243 등록번호 | 10-1208700-0000
특허권자 | (주)보부하이테크 발 명 자 | 최철열 외 2명
본 발명은 플라즈마 반응 챔버에 수용되어 챔버 내의 가스를 플라즈마로 상태 변환시킴으로써 화학기상증착하는 세라믹 히터에 관한 것으로서, 더욱 상세하게는, 플라스마를 생성하기 위한 전극에 전기적으로 연결되는 로드를 접지함에 있어 로드의 열팽창에 대해 신축하며 접지상태를 안정되게 유지하고 열팽창을 반복하더라도 파손 없이 내구성을 유지하는 접지용 스트랩을 구비한 세라믹 히터에 관한 것이며, 이를 위해서, 수직으로 세운 전도성 띠로 형성되어 하단을 로드에 연결되게 고정한 상태에서, 중간부위를 2회 이상 절곡한 후에, 상단을 외측면에 가깝게 고정하여서 상단이 하단보다는 상측 외부에 고정되게 한 스트랩으로 접지한다.
세
라믹글래스를 이용한 면상발열체
출원번호 | 10-2010-0089974 등록번호 | 10-1200967-0000
특허권자 | (주)창성 발 명 자 | 이원배 외 5명
본 발명은 전원을 공급받아 발열되는 면상발열체를 구성함에 있어서, 세라믹글래스로 형성된 지지층과, Ag분말 10 내지 50 중량%, Ag- Pd계 분말 2 내지 30 중량%, 글래스 프릿(glass frit) 10 내지 25 중량%, 유기바인더 및 용제로 조성된 발열페이스트를 상기 지지층의 상면에 인쇄하고 건조, 소성시켜 형성되며, 소정의 전원을 공급받아 발열되는 발열층과, 전위점(轉位點) 370 내지 500℃ 범위의 글래스 프릿이 60 내지 70중량%, 유기바인더 및 용제로 조성된 절연페이스트를 상기 발열층 상면에 도포하고 건조, 소성시켜 형성되며, 상기 발열층의 절연과 산화방지를 위해 형성되는 절연층을 포함하는 세라믹글래스를 이용한 면상발열체에 관한 것으로, 상기와 같은 종래 문제점을 해결하기 위한 본 발명은 글라스 기판에 대한 접착 강도가 우수하고 단시간에 목표 온도상승이 가능하여 다양한 전기전자 제품 분야에서 스크린 인쇄형성법으로 유용하게 이용될 수 있다.
접합부의 최고온도 및 냉각속도를 조절할 수 있는 마찰교반 접합장치 및 마찰교반 접합방법
출원번호 | 10-2010-0118431 등록번호 | 10-1199471-0000
특허권자 | 성균관대학교산학협력단 발 명 자 | 김용일 외5명
본 발명은 마찰교반 접합 시 접합부의 최고온도 및 피접합재의 냉각속도를 조절할 수 있는 마찰교반 접합장치 및 마찰교반 접합방법에 관한 것으로, 접합 시에는 접합부에 가해지는 열을 접촉 플레이트로 흡수하고 냉각기로 냉각시킴으로써 접합 시 최고온도를 낮추어 상변태가 일어나는 것을 막고, 접합 후에는 피접합재의 냉각속도를 조절함으로써 상변태가 일어날 수 있는 재료의 상변태를 조절하는 것을 특징으로 한다.
마
이크로 파를 이용한 용강 노즐장치
출원번호 | 10-2010-0123093 등록번호 | 10-1207757-0000
특허권자 | 주식회사 포스코 발 명 자 | 안경순
용강을 압연 또는 주조 설비등에 공급토록 하는 용강 노즐장치가 제공된다.
상기 용강 노즐장치는, 상기와 같은 목적을 달성하기 위한 기술적인 측면으로서 본 발명은, 용강공급 대상설비에 연계되면서 용강을 토출토록 제공되고, 마이크로 파의 인가시 발열되는 발열체가 심어진 제1 노즐부; 및, 상기 제1 노즐부에 조립되면서 제1 노즐부와 협력하여 용강의 유입 및 토출을 가능토록 제공되는 제2 노즐부를 포함하여 그 구성 일예로 구성될 수 있다. 이와 같은 본 발명에 의하면, 노즐의 승온을 구현하여 적어도, 용강의 노즐 초도 주입시, 용강의 (국부적인) 과냉각을 억제하여, 개재물에 의한 노즐 막힘을 방지하는 한편, 노즐 내부의 중심과 에지부분에서의 용강 온도차를 방지하여 제품 품질을 향상시키고, 마이크로 파를 이용하기 때문에, 구조 간소화를 가능하게 하는 개선된 효과를 얻을 수 있
기사를 사용하실 때는 아래 고유 링크 주소를 출처로 사용해주세요.
https://www.cerazine.net