2012년 7월 1일 ~ 7월 30일
낮은 열 도전율을 갖는 내구성 열 차폐 코팅
출원번호 | 10-2006-7012337 등록번호 | 10-1166150-0000
특허권자 | 크롬알로이 가스 터빈 엘엘씨 발 명 자 | 리우요우롱 외 1명
본 발명은 용해된 Z를 갖는 화학식 NdxZr1-xOy으로 표시되고, 이때 O 003c# x 003c# 0.5이고, 1.75 003c# y 003c# 2이며 또 Z는 Y, Mg, Ca, Hf 및 이들의 혼합물로 구성된 군으로부터 선택된 금속의 산화물인 금속 물품 도포용 열 차폐 세라믹 코팅을 제공한다. 일개 구체예로서, Nd는 7몰% 이하의 양으로 부가된다. 다른 구체예로서, Z는 이트륨이고 6중량% 이상의 양으로 부가된다.
세라믹 히터 및 이것을 구비한 글로 플러그
출원번호 | 10-2010-7010519 등록번호 | 10-1167557-0000
특허권자 | 쿄세라 코포레이션 발 명 자 | 야마모토켄
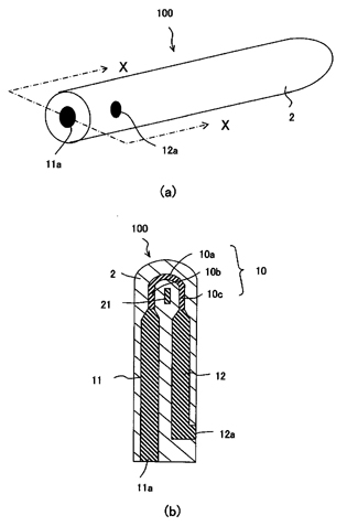
본 발명은 세라믹 기체에 있어서의 둘레 방향의 온도 분포가 반드시 균일하지 않다는 과제가 있었다.
이를 위해, 병치된 대향부(10b, 10c)를 포함하는 발열 저항체(10)와, 이 발열 저항체(10)의 단부에 접속된 한쌍의 리드부(11, 12)와, 발열 저항체(10) 및 리드부(11, 12)가 매설된 세라믹 기체(2)를 구비하고, 세라믹 기체(2)에 있어서의 대향부(10b, 10c) 사이에 세라믹 기체(2)보다 열전도성이 높은 고열전도성 부재(21)가 배치되어 있다.
비화학양론을 이용한 강유전체 세라믹스의 상전이 온도 제어방법 및 상기 방법에 의해 조절된 상전이 온도를 갖는 강유전체 세라믹스.jpg)
출원번호 | 10-2010-0035180 등록번호 | 10-1166712-0000
특허권자 | 한국세라믹기술원 발 명 자 | 조정호 외 7명
본 발명은, 페로브스카이트 결정 구조를 갖는 AmBnO3 조성에서, 상기 m이 1보다 작거나 큰 값을 갖게 하여 상기 A 사이트의 성분이 화학양론으로부터 벗어나거나, 상기 n이 1보다 작거나 큰 값을 갖게 하여 상기 B 사이트의 성분이 화학양론으로부터 벗어나게 하여 강유전체 세라믹스의 상전이 온도를 조절하는 것을 특징으로 하는 비화학양론을 이용한 강유전체 세라믹스의 상전이 온도 제어방법 및 상기 방법에 의해 상전이 온도가 조절된 강유전체 세라믹스에 관한 것이다. 본 발명에 의하면, 페로브스카이트 결정구조를 가지며 조성식 ABO3로 표시되는 강유전체 세라믹스의 비화학양론을 형성시킴으로써 상전이 온도를 용이하게 제어할 수 있다.
탄
화규소 세라믹의 제조방법
출원번호 | 10-2009-0086705 등록번호 | 10-1170918-0000
특허권자 | 성균관대학교산학협력단 발 명 자 | 김득중 외 1명
본 발명은 탄화규소 세라믹의 제조방법에 관한 것으로, 보다 상세하게는 규소 고분자 세라믹 전구체를 탄화규소 성형체에 함침시키는 단계 및 이를 열처리하여 경화시키는 단계를 통하여 탄화규소 세라믹의 성형체 및 상압소결 특성이 향상된 탄화규소 세라믹의 제조방법에 관한 것이다.
수증기를 발포제로 사용하여 제조된 열린 기공구조를 갖는 다공질 세라믹스 및 그 제조방법.jpg)
출원번호 | 10-2010-0065765 등록번호 | 10-1165612-0000
특허권자 | 서울시립대학교 산학협력단 발 명 자 | 김영욱 외 1명
본 발명은 수증기를 발포제(blowing agent)로 사용하여 제조된 열린 기공 다공질 세라믹스 및 그 제조방법에 관한 것으로서, 보다 상세하게는 다공질 세라믹스를 제조하기 위한 발포제로서 특히 수증기를 사용하며, 제조과정 중 수증기가 성형체 내부까지 침투하도록 하여 상기 세라믹스 기물 전체에 걸쳐서 균일한 온도를 유지하도록 한 상태에서 성형 및 발포를 동시에 이루도록 함으로써, 발포가 균일하게 일어나도록 하고, 기공의 크기와 분포가 매우 균일하며, 총기공율은 60% 이상으로 높은 기공율을 나타내고, 총기공율중 열린기공의 분율이 90% 이상이 되는 결과, 전반적으로 열린 기공 구조를 갖는 다공질 세라믹스를 제조할 수 있다. 출발원료로는 수증기 등 기체 투과성(steam or gas-permeable) 소재의 발포체로서 중공형 미세구(hollow microsphere)와 폴리실록센(polysiloxane)을 필수 원료로 포함하도록 하였으며, 미반응 필러(passive filler), 반응성 필러(active filler), 및 소결첨가제(sintering additive)의 역할을 하는 원료를 선택적인 원료로 포함하도록 하였다. 본 발명에 의한 열린 기공 다공질 세라믹스는 열린 기공 구조를 가지므로 각종 진공척용 패드, 고온 가스 필터, 디젤 분진 필터, 단열재, 충격흡수재, 흡음재, 고온로용 치구, 경량구조재, 고분자-세라믹 복합재료의 프리폼(preform), 금속-세라믹 복합재료의 프리폼 등 다양한 응용분야에 적합하게 사용될 수 있다.
저온소성과 열처리가 가능한 친환경 무연 봉착재용 유리프리트 그리고 이에 적합한 필러 및 이 필러의 결정성 향상 방법
출원번호 | 10-2009-0118608 등록번호 | 10-1165216-0000
특허권자 | 한국세라믹기술원 발 명 자 | 최병현 외 7명
본 발명은 PDP, LCD, OLED등의 디스플레이, 염료감응형 태양전지 전자부품의 밀봉재로 널리 사용되는 유리프리트 중 친환경(Pb-free)이면서 전이점이 285℃와 430℃이하인 유리프리트를 이용 저온에서 소성이나 열처리가 가능한 결합재나 봉착재를 제조할 때 사용되는 친환경 무연 유리프리트에 적합한 필러 및 이 필러의 결정성 향상 방법을 기술 요지로 하고 있다.
합성된 필러와 유리프리트를 혼합하여 복합소재화하고 복합화된 소재를 이용하여 열팽창계수를 제어하고 고온에서 점도의 흐름성을 제어할수 있게 하는 디스플레이나 전자부품의 경우 한 세트를 생산할 때 많은 열처리나 소성과정을 거치게 되는데 마지막으로 가장 낮은 온도에서 소성하거나 열처리를 해야 하는 결합재나 봉착재는 저온이어야만 한다.
본 발명에서는 친환경 조성이면서 전이온도가 285℃ 이하인 산화주석-오산화인계를, 전이온도가 430℃인 산화비스무스(Bi2O3)-산화붕소(B2O3)-산화아연(ZnO)계의 유리프리트를 제조하였다. 그리고 이 유리프리트에 적합한 필러로 열팽창계수가 부(-)이거나 매우 낮은 유크립타이트, 스포듀민, 페탈라이트, 코디어라이트 결정을 1100~1350℃에서 합성하였다. 합성된 필러를 친환경 무연 유리프리트와 혼합하여 복합 소재화 할 때 친환경 무연 유리프리트와 열팽창 및 점성을 제어하기에 적합한 필러 조성과 합성 방법, 그리고 필러의 결정성을 향상시키는 방법을 기술요지로 하고 있다.
튜브형
고체산화물연료전지용 단전지 및 그 단전지를 이용한 스택 및 그 단전지 제조방법
출원번호 | 10-2010-0127753 등록번호 | 10-1169549-0000
특허권자 | 주식회사케이세라셀 발 명 자 | 임경태 외 5명
본 발명은 튜브형 고체산화물연료전지용 단전지에 구비된 전극의 전기화학반응 면적을 효율적으로 확대시켜 튜브형 고체산화물연료전지용 단전지의 출력 값을 증대시키기 위한 튜브형 고체산화물연료전지용 단전지 및 그 단전지를 이용한 스택 및 그 단전지 제조방법에 관한 것으로, 상부 및 하부에 교대로 일체형으로 연속 돌출되어 중앙에 각각 연료가스통로(110)를 구비하는 복수개의 연료극 지지체(120)를 구비하며, 상기 연료극 지지체(120)의 상부 표면에 전해질 막(124)과 공기극 층(128)이 연속적으로 코팅된 것을 특징으로 한다.
이와 같은 본 발명은 단전지(100)에 구비되는 연료극 및 공기극의 전기화학반응 면적을 효율적으로 확대시키기 때문에, 높은 출력이 확보되는 효과가 있다.
초유연 박판의 물리적 안정화를 통한 FTO막 형성 방법
출원번호 | 10-2010-0055440 등록번호 | 10-1171265-0000
특허권자 | (주)솔라세라믹 발 명 자 | 송철규 외 2명
초유연 기판을 물리적으로 안정화시키고, 상기 물리적으로 안정화된 초유연 기판상 기상공정을 이용하여 투명전도막을 형성하는 방법. 상기 초유연 기판을 물리적으로 안정화시키는 방법은 (1)누름, 하중, 물리적 체결과 같은 물리적 고정화
(2)자기력, 전자기력과 같은 전자기력적 고정화, (3)접착제, 바인더, 페이스트와 같은 화학적 고정화, (4)감압, 진공과 같이 유체역학적 고정화 중 어느 하나의 기판 고정화 방법으로 안정화시킨 후, 초유연 기판상 투명전도막을 형성하는 것을 특징으로 한다.
고체산화물 연료전지 스택의 수리방법
출원번호 | 10-2010-0137297 등록번호 | 10-1171605-0000
특허권자 | 주식회사 포스코 발 명 자 | 김승구
본 발명의 일측면은 불량 셀(cell)을 포함하는 고체산화물 연료전지 스택의 수리방법으로서, 상기 셀의 프레임(fr-ame)과 분리판 사이의 공기 또는 연료의 흐름을 차단할 수 있도록 전도성 페이스트를 이용하여 상기 프레임과 분리판 사이에 차단체를 형성하는 고체산화물 연료전지 스택의 수리방법을 제공함으로써, 상기 차단체로 전자가 이동하여 반대 방향으로 전위차가 형성되는 것을 억제할 수 있고, 동시에 상기 차단체가 연료와 공기의 흐름을 차단하여 기체 크로스오버를 방지할 수 있다.
압전물질을 이용한 플렉시블 태양전지.jpg)
출원번호 | 10-2009-0069002 등록번호 | 10-1164911-0000
특허권자 | 주식회사 효성 발 명 자 | 이규일 외 1명
본 발명은 압전물질을 이용한 플렉시블 태양전지에 관한 것이다. 본 발명은 소정 크기의 태양전지 셀(100)의 양쪽 면에 투명전극(102a)(102b)이 형성되고, 상기 투명전극(102a)(102b)의 일면에 유연한 기판(104a)(104b)이 형성된다. 그런 상태에서, 상기 투명전극(102a)(102b)과 기판(104a)(104b) 사이에는 압전층(103)이 형성된다. 상기 압전층(103)은 상기 태양전지 셀(100)의 한쪽 면 또는 양쪽 면에 형성 가능하다. 또는 상기 태양전지 셀(100)과 상기 투명전극(102a)(102b) 사이에 도 압전층(103)이 형성될 수 있다. 이때, 상기 압전층(103)은 상기 태양전지 셀(100)의 한쪽 면 또는 양쪽 면에 일부가 개방된 형태로 형성되고, 상기 개방된 부분을 통해 상기 투명전극(102a)(102b)이 상기 태양전지 셀(100)의 표면에 직접 접합되게 형성될 수 있다. 이와 같은 본 발명에 따르면, 압전층(103)에 의해 태양전지 셀(100) 내부에서 전자의 이동도가 증가하여 플렉시블 태양전지의 효율이 향상되는 이점이 있다.
투명전도막 및 그 제조방법
출원번호 | 10-2010-0049821 등록번호 | 10-1163647-0000
특허권자 | 순천대학교 산학협력단 발 명 자 | 이지면 외 2명
본 발명은 투명전도막 및 그 제조방법에 관한 것으로, 본 발명에 따른 투명전도막(TCO)은, 베이스 기판 상에 형성되는 일정 두께의 산화물층의 내부에 금속나노입자들 또는 금속산화물 나노입자들이 배열된 구조를 가지되, 상기 금속나노입자들 또는 금속산화물 나노입자들은, 불균일한 사이즈 배열구조, 균일한 사이즈 배열구조, 불균일한 밀도 배열구조, 균일한 밀도 배열구조, 불규칙적으로 산재된 배열구조, 단일층 배열구조, 및 다층 배열구조 중에서 선택된 적어도 하나의 배열구조를 가진다. 본 발명에 따르면, 빛의 투과도를 유지하면서 전기 전도도를 향상시킬 수 있는 투명전도막의 제조가 가능하다.
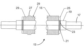
유리 리본 사출용 로울러, 유리 리본 사출용 로울러를 제조하는 방법 및 판유리 제조 방법.jpg)
출원번호 | 10-2010-7027029 등록번호 | 10-1167830-0000
특허권자 | 카이저,데이비드에스 발 명 자 | 양영준 외 1명
본 발명에 따르면 유리 리본(11)용 사출 로울러(13) 및 그러한 로울러를 제조하는 방법들이 제공된다. 로울러는 샤프트(17), 면-대-면 방식으로 샤프트에 장착되는 다수의 내열 디스크(15), 및 샤프트에 부착되어 디스크에 축 압축력을 가하는 한 쌍의 피팅(25 또는 25, 31)을 포함한다. 축 압축력의 크기는 이용 중에 유리 리본과 접촉하는 로울러 표면(33)의 부분(27)이 실내 온도에서 30 내지 55 사이의 쇼어 D 경도를 갖도록 조정된다. 유리 리본에 초과의 힘을 가하거나 또는 높은 수준의 입자 오염을 발생시킴 없이 로울러는 오랜 서비스 수명을 달성한다.
기사를 사용하실 때는 아래 고유 링크 주소를 출처로 사용해주세요.
https://www.cerazine.net