2011년 9월 1일 ~ 9월 30일
반도체 웨이퍼용 세라믹 히터 및 그 제조방법
등록번호 | 10-1070605-0000 출원번호 | 10-2010-0098078
특허권자 | (주)보부하이테크 발 명 자 | 김봉수 외 1명
본 발명은 히터 플레이트와 샤프트를 복합재료를 이용하여 접합함으로 인해, 반도체 웨이퍼용 세라믹 히터의 내구성을 향상시킬 수 있는 반도체 웨이퍼용 세라믹 히터 및 그 제조방법에 관한 것으로, 상면에 안착되는 반도체 웨이퍼를 가열하는 히터 플레이트(220), 상기 히터 플레이트(220)의 하면에 위치하여 상기 히터 플레이트(220)를 지지하는 샤프트(230) 및 상기 히터 플레이트(220)와 상기 샤프트(230)의 사이에 위치하는 접합 플레이트(290)를 포함하여 구성되되, 상기 히터 플레이트(220)와 상기 샤프트(230)는 질화 알루미늄 소결체이며, 상기 접합플레이트(290)는 세라믹과 알루미늄을 혼합한 복합재료인, 반도체 웨이퍼용 세라믹 히터(200)를 제조하면, 세라믹과 알루미늄을 혼합한 복합재료를 이용하여 히터 플레이트와 샤프트를 접합함으로 인해, 종래의 1,700~1,800℃의 온도에서 접합하는 대신, 700~1,000℃의 온도에서 접합이 가능하므로, 세라믹 히터의 내구성을 향상시킨 효과가 있으며, 샤프트를 열전도율이 낮은 알루미나를 사용함으로 인해, 세라믹 히터에서 나온 열이 샤프트 방향으로 전도되는 것을 완화함으로써, 샤프트와 히터 플레이트의 접합 부위가 균열되는 것을 방지하여 내구성을 향상시키는 효과가 있다.
다층 세라믹 기판의 소성용 세터 및 이를 이용한 다층 세라믹 기판의 제조방법
등록번호 | 10-1070148-0000 출원번호 | 10-2009-0106996
특허권자 | 삼성전기주식회사 발 명 자 | 김용석 외 3명
본 발명은 다층 세라믹 기판의 소성용 세터 및 이를 이용한 다층 세라믹 기판의 제조방법에 관한 것으로서, 본 발명의 다층 세라믹 기판의 소성용 세터는 미소결 다층 세라믹 기판에 일정 하중을 가하는 가압 세터 및 상기 가압 세터의 일면에 배치되고, 미소결 다층 세라믹 기판에 적층될 면을 가지며, 상기 가압 세터보다 높은 기공도 및 높은 열전도도를 가지는 완충 세터를 포함한다.
본 발명에 따른 다층 세라믹 기판의 소성용 세터는 미소결 다층 세라믹 기판에 하중을 가하여 수축을 억제함과 동시에 탈 바인더를 위한 통로가 확보되고, 열전도도가 높아 세라믹 기판의 국부적인 온도 차이 없이 일정한 온도를 유지할 수 있게 한다.
세라믹 다공성 지지체, 그를 이용한 강화 복합 전해질 막 및 그를 구비한 막-전극 어셈블리
등록번호 | 10-1064986-0000 출원번호 | 10-2009-0049524
특허권자 | 한국화학연구원?강원대학교산학협력단
발 명 자 | 홍영택 외 3명
본 발명은 연료전지 전해질 막용 세라믹 다공성 지지체, 그를 이용한 강화 복합전해질 막 및 상기 강화 복합전해질 막을 구비한 막-전극 어셈블리에 관한 것이다.
본 발명은 고분자 다공성 기재 상에, 무기 나노입자가 고분자 바인더 또는 실란계 무기 바인더에 의해 연결되어 무기 나노입자사이에 공극 구조가 도입되어, 상기 고분자 다공성 기재 단독에 비해, 기계적 물성을 개선하고, 기공 구조를 다양하게 조절 가능한, 연료전지 전해질 막용 세라믹 다공성 지지체를 제공하고, 상기 세라믹 다공성 지지체에 고분자전해질 연료전지용 또는 직접 메탄올 연료전지용 수소이온 전도성 고분자 전해질을 함침시킴으로써, 최종 막의 기계적 물성, 치수 안정성의 향상은 물론, 지지체 기공 구조의 다양화를 통해 이온전도도의 최적화를 도모할 수 있는 강화 복합전해질 막으로 제공할 수 있다. 나아가, 강화 복합전해질 막을 구비한 막-전극 어셈블리의 성능을 개선할 수 있다.
적층 세라믹 콘덴서.jpg)
등록번호 | 10-1064243-0000 출원번호 | 10-2009-7008589
특허권자 | 쿄세라 코포레이션 발 명 자 | 야마자키요우이치 외 3명
본 발명은 고온 부하 시험에 있어서의 시간 변화에 따른 절연 저항의 저하를 억제할 수 있고, 또한 제조 공정에 있어서 재산화 처리의 공정을 설비하지 않아도 고절연성을 갖는 적층 세라믹 콘덴서를 제공하는 것을 과제로 한다.
이를 위해, 유전체 자기로 이루어지는 유전체층과, 내부 전극층을 교대로 적층해서 형성된 적층 세라믹 콘덴서로서 상기 유전체 자기를 구성하는 결정은 티탄산 바륨을 주성분으로 하고, Ca 농도가 0.2원자% 이하인 결정 입자로 이루어지는 제 1 결정군과, Ca 농도가 0.4원자% 이상인 결정 입자로 이루어지는 제 2 결정군으로 구성되고, 상기 제 1 결정군을 구성하는 결정 입자의 표층부의 마그네슘 및 희토류 원소의 각 농도(C1)와 제 1 결정군을 구성하는 결정 입자(9a)의 중앙부에 함유되는 마그네슘 및 희토류 원소의 각 농도(C2)의 비(C2/C1) 각각이 제 2 결정군을 구성하는 결정 입자(9b)에 있어서의 동 농도의 비(C4/C3) 각각보다 크고, 또한 상기 제 1 결정군의 결정 입자의 면적 비율을 a, 상기 제 2 결정군의 결정 입자의 비율을 b로 했을 때에 b/(a+b)비가 0.5~0.8이다.
열응력을 고려한 다층 세라믹 커패시터의 설계 및 해석 방법.jpg)
등록번호 | 10-1070246-0000 출원번호 | 10-2010-0061869
특허권자 | 건국대학교 산학협력단 발 명 자 | 신기현 외 2명
본 발명은 열응력을 고려한 다층 세라믹 커패시터의 설계 및 해석방법에 관한 것으로, 다층 세라믹 커패시터의 모델을 생성하고 생성된 다층 세라믹 커패시터 모델에 공정 조건을 설정한 후 유한요소 수치해석을 통하여 분석하고, 분석한 결과를 토대로 설계 및 공정에서 고려되어야 할 적용 변수의 조건을 최적화하여 적용함으로써, 결함과 불량의 발생을 억제하고 나아가 효율이 극대화된 최적의 부품 설계 및 제조공정 개발의 근간을 이룰 수 있다.
본 발명에 의한 다층 세라믹 커패시터의 설계 및 해석 방법은, (a) 각 층의 두께를 가지는 입체 요소를 생성한 후 반복 적층 하여 다층 세라믹 커패시터의 모델을 생성하는 단계와; (b)상기 다층 세라믹 커패시터의 모델을 각각 절점과 구성요소로 나누고, 상기 각각의 절점과 구성요소로 나누어진 각 면 사이에 유한요소 수치해석을 위한 공정 조건을 각각 설정하는 단계와 (c)상기 공정 조건에 따른 유한요소 수치해석을 각각 수행하는 단계 및 (d)상기 유한요소 수치해석의 분석 결과를 응용하여 설계 및 공정에서 고려되어야 할 적용 변수의 조건을 최적화하여 적용하는 단계를 포함하고 있다.
세라믹 코팅 이중복합 정밀금속필터의 제조방법 및 이에 의해 제조된 세라믹 코팅 이중복합 정밀금속필터
등록번호 | 10-1066570-0000 출원번호 | 10-2010-0110737
특허권자 | (주)태린 발 명 자 | 윤봉한
본 발명은 세라믹 코팅 이중복합 정밀금속필터의 제조방법 및 이에 의해 제조된 세라믹 코팅 이중복합 정밀금속필터에 관한 것으로, 박판형의 소결금속 메쉬필터를 원통형으로 성형하는 단계(단계 1) 및 상기 원통형의 소결금속 메쉬필터에 세라믹 분말을 플라즈마 스프레이법(plasma spray)으로 코팅하는 단계(단계 2)를 포함하여 제조하면, 금속필터의 내충격성 및 세라믹필터의 내열성, 내식성, 내마모성을 겸비할 수 있는 효과가 있다.
수열 안정성이 향상된 금속/세라믹 복합막의 제조방법.jpg)
등록번호 | 10-1068999-0000 출원번호 | 10-2008-0117376
특허권자 | 한국화학연구원 발 명 자 | 정보름 외 5명
본 발명은 수열 안정성이 향상된 금속/세라믹 복합막의 제조방법에 관한 것으로서, 더욱 상세하게는 다공성 금속 지지체에 콜로이드 용액을 코팅한 뒤 열에 강하고 수용액에 용해성이 낮은 물질을 콜로이드 입자의 표면에 화학적으로 결합시키는 일련의 공정으로 이루어지며, 공정의 반복이 가능하면서도 기존 지지체의 투과도를 유지함으로써 기존의 코팅-건조-소성의 코팅 방법이 적용된 복합막에 비하여 월등히 높은 투과도를 보이고, 소성과정 및 장시간의 건조가 필요치 않음으로써 코팅시간의 단축과 비용의 감소를 얻을 수 있을 뿐만 아니라 내열성과 내수성이 우수하여, 특히 수 처리 분야에 유용하게 적용될 수 있는 금속/세라믹 복합막의 제조방법에 관한 것이다.
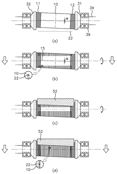
와이어소를 이용한 사파이어 잉곳의 절단방법
등록번호 | 10-1064266-0000 출원번호 | 10-2011-0031071
특허권자 | 한국생산기술연구원 발 명 자 | 김형재 외 4명
본 발명의 목적은 사파이어 잉곳을 와이어소로써 절단하여 사파이어 웨이퍼를 제조함에 있어서, 사파이어 잉곳을 회전시킴과 동시에 결정축에 직각인 평면에 대하여 소정각도 기울어지게 절단할 수 있는 사파이어 잉곳의 절단방법을 제공하는 것이다. 이에 따라, 본 발명은 절단와이어의 열(列)이 형성된 와이어소(wire saw)에 의해 사파이어 잉곳이 절단되는 방법에 있어서, 결정축을 가진 기둥형상의 사파이어 잉곳이 준비되고 상기 잉곳의 길이방향의 양측면에 글래스(glass)부재 또는 세라믹부재가 부착되는 1단계; 상기 1단계 후, 양측의 상기 글래스부재 또는 세라믹부재의 외면에 양측 부착부가 부착되어 상기 잉곳이 고정되되, 상기 부착부에 연결된 스핀들의 회전축과 상기 결정축이 소정각도(α)를 이룬 상태에서 상기 잉곳이 고정되는 2단계 및, 상기 2단계 후, 상기 스핀들이 회전됨으로써 회전하는 상기 잉곳을 상기 절단와이어에 절입시켜 상기 잉곳이 다수의 웨이퍼의 형상으로 절단이 진행되는 3단계를 포함하는 것을 특징으로 한다.
세라믹 분리막을 이용한 폭기 배출 교대식 하폐수처리장치 및 방법.jpg)
등록번호 | 10-1068579-0000 출원번호 | 10-2011-0070465
특허권자 | 한국과학기술연구원 발 명 자 | 최용수 외 3명
본 발명은 혐기조와 복수의 간헐폭기조를 조합함과 함께 간헐폭기조의 운전상태에 따라 유입수의 유입 경로를 선택적으로 변경함으로써 간헐폭기조 내에서의 생물학적 처리가 충분히 진행될 수 있도록 하는 세라믹 분리막을 이용한 폭기 배출 교대식 하폐수처리장치 및 방법에 관한 것으로서, 본 발명에 따른 세라믹 분리막을 이용한 폭기 배출 교대식 하폐수처리장치는 유입수에 포함되어 있는 인(P)을 방출함과 함께 아질산성 질소, 질산성 질소를 탈질하는 역할을 하는 혐기조와, 호기 조건과 무산소 조건으로 교대 운전되며, 호기 조건 하에서는 유기성 질소 및 암모니아성 질소를 아질산성 및 질산성 질소로 전환함과 함께 유입수 내의 인이 인 저장 미생물을 통해 섭취되도록 하며, 무산소 조건 하에서는 아질산성 및 질산성 질소를 질소 가스로 환원시키는 역할을 하는 제 1 간헐폭기조와 제 2 간헐폭기조 및 상기 제 1 간헐폭기조, 제 2 간헐폭기조의 하부에 각각 구비되어 처리수를 생산하는 제 1 세라믹분리막, 제 2 세라믹분리막을 포함하여 이루어지며, 상기 제 1 간헐폭기조와 제 2 간헐폭기조는 서로 반대되는 조건으로 운전되며, 상기 혐기조로부터 배출되는 유입수는 상기 제 1 간헐폭기조와 제 2 간헐폭기조 중 호기 조건으로 운전되는 간헐폭기조로 공급되며, 상기 제 1 간헐폭기조가 호기 조건이고 제 2 간헐폭기조가 무산소 조건이면, 상기 제 1 세라믹분리막을 통해 상기 제 1 간헐폭기조 내에 공기가 주입되어 상기 제 1 간헐폭기조가 호기 상태를 이룸과 함께, 상기 제 2 세라믹분리막을 통해 처리수가 외부로 배출되는 것을 특징으로 한다.
기사를 사용하실 때는 아래 고유 링크 주소를 출처로 사용해주세요.
https://www.cerazine.net