세라믹 소결체 및 이것을 이용한 접동부품 및 세라믹소결체의 제조방법
출원번호 | 10-2008-7016233 등록번호 | 10-1060863-0000
특허권자 | 히다치 가세고교 가부시끼가이샤
발 명 자 | 아카사카카즈유키 외 1명
본 발명은, 치밀한 구조를 가지고, 균열의 발생이 적고, 그러면서도, 무윤활 상태라도 우수한 접동특성을 가지는 세라믹 소결체 및 그 제조방법, 및 이를 이용한 접동부품을 제공하는 것을 목적으로 한다. 본 발명의 바람직한 실시형태에 있어서의 소결체는, 탄화규소를 모재로서 포함하고, 또한, 평균입경이 5㎛ 이하인 고체윤활제A 및 평균입경이 10~70㎛인 고체윤활제 B를 함유한다.
지방산 알킬 에스테르를 제조하는 데 사용되는 세라믹 촉매 및
이를 이용한 고순도 지방산 알킬 에스테르 제조방법
출원번호 | 10-2008-0115147 등록번호 | 10-1062146-0000
특허권자 | (주)에스엠피오티 발 명 자 | 유정우 외 2명
본 발명은 지방산 알킬 에스테르를 제조하는 데 사용되는 촉매 및 이를 이용한 지방산 알킬 에스테르의 제조 방법에 관한 것으로서, 혼합 금속 산화물인 실리카 알루미나를 담체 물질로 하고, 마그네슘(Mg), 칼슘(Ca), 아연(Zn), 티타늄(Ti), 망간(Mn), 바나디움(V), 베릴륨(Be), 구리(Cu), 지르코늄(Zr), 스트론튬(Sr), 주석(Sn), 바륨(Ba) 중 어느 하나의 산화물, 탄산화물, 수산화물 중 어느 하나 이상을 활성촉매물질로 0wt% 내지 80wt%만큼 혼합하여 담체물질과 함께 소결하여 매우 경도가 높은 고체 세라믹 금속 촉매를 제공하며, 이 세라믹 금속 촉매를 반응기 내부에 고정시킨 상태로 동,식물성 유지와 알코올의 에스테르 교환반응이나 에스테르 반응을 행함으로써 촉매를 제거, 정제하는 공정을 거치지 않더라도 고순도의 지방산 알킬 에스테르를 얻을 수 있도록 하는 고순도의 지방산 알킬 에스테르의 제조 방법을 제공한다.
적층 세라믹 커패시터의 회로 기판 실장 구조, 실장 방법과 이를 위한 회로 기판의 랜드 패턴,
수평 방향으로 테이핑한 적층 세라믹 커패시터의 포장체 및 수평 방향 정렬방법
출원번호 | 10-2010-0131716 등록번호 | 10-1058697-0000
특허권자 | 삼성전기주식회사 발 명 자 | 안영규 외 4명
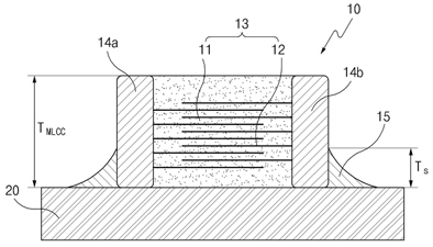
본 발명은 적층 세라믹 커패시터의 회로 기판 실장 방법 및 이를 위한 회로 기판의 랜드 패턴에 관한 것으로서, 상세하게는 유전체 세라믹으로 이루어지는 유전체층과 내부 전극층을 교대로 적층하여 이루어지는 세라믹 소체와, 상기 소체의 양단부에서 상기 내부 전극층에 형성된 내부 전극을 교대로 병렬로 접속하는 한 쌍의 외부 단자 전극으로 이루어지는 적층 세라믹 커패시터의 회로 기판에의 실장 방법으로서, 상기 회로 기판의 표면에 상기 적층 세라믹 커패시터가 실장되는 랜드를 형성하고, 상기 적층 세라믹 커패시터의 내부 전극 층과 상기 회로 기판이 수평 방향이 되도록 배치하여 상기 외부 단자 전극과 랜드를 도전 접속하며, 상기 외부 단자 전극과 랜드를 도전 접속하는 도전재의 높이(Ts)는 상기 적층 세라믹 커패시터의 두께(TMLCC)의 1/3 미만으로 함으로써, 진동 소음을 현저히 감소시킬 수 있는 적층 세라믹 커패시터의 회로 기판 실장 방법에 관한 것이다.
고밀도의 압전 후막의 제조 방법
출원번호 | 10-2009-0083182 등록번호 | 10-1059750-0000
특허권자 | 한국과학기술연구원 발 명 자 | 윤석진 외 4명
본 발명은 (1) 바인더 및 마찰 분쇄된 세라믹 입자를 포함하는 압전 세라믹 입자를 함유하는 페이스트를 준비하는 단계; (2) 상부 표면에 하부 전극이 형성되어 있는 기판 상에 상기 페이스트를 스크린 프린팅하는 단계; (3) 상기 스크린 프린팅된 페이스트로부터 바인더를 제거하는 단계; 및 (4) 바인더가 제거된 기판을 어닐링하는 단계를 포함하는 압전 세라믹 후막의 제조 방법을 제공한다. 또한, 상기 단계 (3)의 전 또는 후에, 냉간 등방향 정압 프레스(CIP) 단계 (3´)을 더 포함하는 것인 압전 세라믹 후막의 제조 방법을 제공한다.
세라믹 적층체, 세라믹 부품, 세라믹 적층체의 제조 방법및 세라믹 부품의 제조 방법
출원번호 | 10-2008-0073245 등록번호 | 10-1056483-0000
특허권자 | 엔지케이 인슐레이터 엘티디 발 명 자 | 나메리카와마사히코 외 5명
제1 세라믹 적층체(10A)는, 도체 성형체(12)를 갖는 제1 세라믹 성형체(14)와 제2 세라믹 성형체(16)가 적층되어 구성되어 있다. 제1 세라믹 성형체(14)는, 열경화성 수지 전구체와 세라믹 분말과 용제가 혼합된 제1 슬러리(18)를, 도체 성형체(12)를 피복하도록 도포한 후에 경화함으로써 얻어진다. 열경화성 수지로서는, 예컨대 폴리우레탄 수지를 사용할 수 있다. 제2 세라믹 성형체(16)는, 열가소성 수지와 세라믹 분말과 용제가 혼합된 제2 슬러리(20)를 경화함으로써 얻어진다. 열경화성 수지로서는, 예컨대 폴리올레핀 수지를 사용할 수 있다.
세라믹 나노 안료의 제조방법 및 플라즈마 디스플레이 패널용 블랙 매트릭스 제조방법 
출원번호 | 10-2009-0102317 등록번호 | 10-1059937-0000
특허권자 | 한국세라믹기술원 발 명 자 | 김유진 외 2명
본 발명은, CoFe2O4 또는 CuCr2O4를 합성하는 단계와, 합성된 상기 CoFe2O4 또는 CuCr2O4를 용매에 분산시키고, 상기 CoFe2O4 또는 CuCr2O4가 분산된 용매에 계면활성제를 첨가하여 CoFe2O4 또는 CuCr2O4를 표면 개질하는 단계와, 계면활성제가 첨가되어 표면 개질된 CoFe2O4 또는 CuCr2O4에 인-시츄(in-situ)로 염기성 용액과 테트라에틸 오르소실리케이트를 첨가하여 교반하면서 흑색 세라믹 안료에 실리카를 코팅하는 단계 및 실리카 코팅된 CoFe2O4 또는 CuCr2O4를 선택적으로 분리하는 단계를 포함하는 세라믹 나노 안료의 제조방법 및 플라즈마 디스플레이 패널용 블랙 매트릭스 제조방법에 관한 것이다. 본 발명에 의하면, 흑색 세라믹 안료를 나노 크기로 합성할 수 있고, 나노 크기의 흑색 세라믹 안료를 실리카로 코팅함으로써 고온으로 열을 가했을 때 응집 및 산화를 억제할 수 있다.
열전도성 점착제 조성물
출원번호 | 10-2006-0088360 등록번호 | 10-1056694-0000
특허권자 | 주식회사 엘지화학 발 명 자 | 조병규 외 6명
본 발명은 a) 고형분의 함량이 20 % 이하인 부분중합된 아크릴계 점착수지; b) 열전도성 세라믹 무기물; 및 c) 금속수산화물을 포함하는 열전도성 점착제 조성물, 상기 열전도성 점착제가 기재의 단면 또는 양면에 시트화되어 있는 열전도성 점착시트, 이를 포함하는 백라이트 유닛 및 액정표시장치에 관한 것으로, 본 발명의 열전도성 점착제는 우수한 가공성 및 성형성을 가질 뿐만 아니라, 2.5W/mK 이상의 높은 열전도도 및 난연성을 가진다.
플라즈마 처리 시스템 및 이를 이용하는 MLCC 제조방법
출원번호 | 10-2011-0005950 등록번호 | 10-1058431-0000
특허권자 | 주식회사 피에스엠 발 명 자 | 이근호 외 3명
MLCC 제조 공정에 친수(親水)화 및/또는 소수(疏水)화 플라즈마 처리를 도입하여, 불량을 줄이고 신뢰성 있는 MLCC를 제조하는 방법이 개시된다. MLCC 제조방법은 내부 전극이 형성된 복수의 세라믹 시트를 포함하는 MLCC 적층체를 만드는 적층체 제작 공정과; 상기 MLCC 적층체의 측면을 덮는 외부 단자를 형성하는 단자 형성 공정을 포함하며, 상기 적층체 제작 공정 또는 상기 단자 형성 공정에 상기 세라믹 시트 또는 MLCC 적층체를 친수(親水)화 또는 소수(疏水)화시키는 플라즈마 처리가 이용된다.
폴리이미드-금속 적층체 및 폴리이미드 회로 기판
출원번호 | 10-2009-7006513 등록번호 | 10-1060213-0000
특허권자 | 우베 고산 가부시키가이샤 발 명 자 | 요코자와,타다히로 외 3명
본 발명은 세라믹 상에 금속 도금을 달성할 수 있는 습식 도금 공정에 의해, 적어도 표면 상에 세라믹-개질되거나 유사세라믹-개질되어 있는 폴리이미드 필름 상에 금속 도전층을 형성시킴으로써 얻어지는 폴리이미드-금속 적층체를 제공한다. 이로써, 습식 도금 단계에서 만족스러운 응집력을 나타내고, 고온 노화 처리 후에도 실질적인 응집력을 유지하며, 만족스러운 전기 절연 신뢰성을 나타내는 폴리이미드-금속 적층체 및 폴리이미드 회로 기판을 얻을 수 있다.
터치 스크린 하드코팅
용 조성물 및 이를 이용한 터치 스크린 하드코팅 필름의 제조방법
출원번호 | 10-2009-0123234 등록번호 | 10-1057421-0000
특허권자 | 두성산업 주식회사 발 명 자 | 박종주 외 4명
본 발명은 유기 실란, 산화알루미늄(Al2O3) 분말 및 산화지르코늄(ZrO2) 분말로 구성된 세라믹 페인트 성분, 물을 포함하는 분산 매질, 및 원적외선 방출 성분을 포함하는 조성물로서, 상기 물을 포함하는 분산 매질은 세라믹 페인트 성분 100 중량부에 대하여 20~60 중량부이고, 상기 원적외선 방출 성분은 세라믹 페인트 성분 100 중량부에 대하여 5~40 중량부이며, 상기 세라믹 페인트 성분은 유기 실란 100 중량부에 대하여 산화알루미늄(Al2O3) 분말 5~40 중량부 및 산화지르코늄(ZrO2) 5~40 중량부로 구성되고, 상기 유기 실란은 알콕시 실란, 알킬알콕시 실란, 알콕시 실란올, 알킬알콕시 실란올, 또는 알킬 실란올인 것을 특징으로 하는 터치 스크린 하드코팅용 조성물을 제공한다.
본 발명에 따른 터치 스크린 하드코팅용 조성물은 피막을 형성하는 유기 실란 외에 무기 분말인 산화알루미늄(Al2O3) 분말 및 산화지르코늄(ZrO2) 분말을 포함하고 있어서, 5H 이상의 높은 연필 경도 및 탁월한 내마모성을 가지는 터치 스크린 하드코팅 필름을 제조할 수 있다. 또한, 본 발명에 따른 터치 스크린 하드코팅용 조성물은 원적외선 방출 성분을 포함하고 있어서, 상온에서도 인체에 유익한 원적외선을 지속적으로 흡수 및 방출하고 반영구적인 항균작용을 하며, 암모니아 등의 악취를 탈취할 수 있는 터치 스크린 하드코팅 필름을 제조할 수 있고, 본 발명에 따른 터치 스크린 하드코팅 필름을 적용한 전자 제품은 장시간 사용하는 사용자에게 건강한 환경을 구현할 수 있다.
전자디바이스용 고유전율 복합유전체
출원번호 | 10-2008-0073731 등록번호 | 10-1059922-0000
특허권자 | 한국세라믹기술원 발 명 자 | 전명표 외 3명
본 발명은 벤조시클로부텐(Benzocyclobutene: BCB) 중합체, 폴리페닐렌에테르(PPE) 및 에폭시 수지에 ZST(Zn0.8Sn0.2TiO4), BNT(BaNd2Ti4O12) ,TiO2, CaTiO3, SrTiO3, BaO-Nd2O3-TiO2, CaO-MgO-TiO2, ZnO-SnO-TiO2 및 이들에 BiO, SiO2, CuO, BN 및 Li2O로 이루어진 군에서 선택되는 어느 하나 이상이 첨가된 고주파 유전체 세라믹 분말을 분산시켜 제조되는 복합 유전체를 제공한다. 이와 같은 본 발명은 높은 유전율과 낮은 유전손실을 갖는 복합유전체 소재 및 제조기술로써 전자기기의 소형화, 경량화 및 고성능화에 기여할 수 있으며, 특히, 콘덴서, 안테나, 임베디드 기판 등의 응용에 적합하다. 또한, 액상의 레진을 사용함으로써 고주파 유전체 세라믹의 분산이 용이하고, 제조 공정이 간단하다.
형광체 시트를 갖는 발광장치 및 그 제조방법
출원번호 | 10-2009-0126818 등록번호 | 10-1055761-0000
특허권자 | 서울반도체 주식회사 발 명 자 | 김민홍
본 발명은 복수의 관통홀이 형성된 형광체 시트를 발광 다이오드 칩의 상부에 이격 배치하는 발광장치 및 그 제조방법에 관한 것이다. 본 발명에 의한 발광장치 및 그 제조방법은 발광 다이오드 칩 상부에 복수의 관통홀을 갖는 일정한 두께의 형광체 시트를 형성함으로써, 색재현성이 우수하고 균일한 색 발광을 할 수 있고, 형광체로 인한 광의 손실을 방지하여 광효율을 증대시킬 수 있다.
기사를 사용하실 때는 아래 고유 링크 주소를 출처로 사용해주세요.
https://www.cerazine.net