세라믹 코팅 강관 및 그 제조방법 적층 세라믹 커패시터용 검사 소켓
등록번호 | 10-1043023-0000 출원번호 | 10-2010-0007664
특허권자 | 리노공업주식회사 발명자 | 이채윤
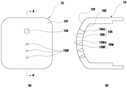
본 발명은 적층 세라믹 커패시터의 제조 과정에서 정상적으로 생산되었는지 여부를 검사하기 위한 검사 소켓에 관한 것으로서, 수직으로 동작되는 프로브를 장착시켜서 내구성이 향상되고, 유지 보수가 쉬운 검사 소켓을 제공하기 위하여, 수직으로 관통형성된 다수 개의 삽입공이 형성된 소켓 몸체와, 상기 삽입공에 결합되며, 하단부에는 검사 대상물에 접촉되는 접촉 롤러가 회전 가능하게 설치된 다수 개의 프로브와, 상기 소켓 몸체의 상부면에 결합되며, 상기 프로브의 상부가 돌출되는 관통공이 형성된 커버와, 상기 프로브를 탄성 지지하도록 상기 삽입공에 결합되는 코일 스프링과, 상기 프로브와 연결되는 접속 단자가 설치되며, 상기 커버의 상부에 결합되는 연결판으로 이루어지는 것을 특징으로 하여, 접촉 롤러가 설치된 프로브가 수직으로 설치되고, 이를 탄성지지 하는 코일 스프링이 결합되는 구조를 채택하여 장시간의 사용되더라도 스프링의 변형을 방지할 수 있는 장점이 있다.
세라믹-고분자 복합체 제조방법
등록번호 | 10-1043628-0000 출원번호 | 10-2009-0115313
특허권자 | 서울대학교산학협력단 발명자 | 이상훈
고분자 지지체 표면에 세라믹 결정을 코팅한 후 열처리를 통해 세라믹-고분자 복합체를 제조하는 방법을 제공한다. 본 발명에 따른 세라믹-고분자 복합체 제조방법은 본 발명에 따른 세라믹-고분자 복합체 제조방법은, (a) 열가소성 고분자 지지체 표면에 세라믹 결정을 코팅하는 단계; 및 (b) 상기 세라믹 결정이 코팅된 고분자 지지체를 열처리하여 상기 고분자 지지체 내로 상기 세라믹 결정을 적어도 일부 함입시키는 단계;를 포함한다. 본 발명은 기존 방법과는 달리 고가의 장비나 세라믹과 고분자 상간의 화학적 결합이 필요 없고 코팅된 세라믹 결정의 양, 세라믹 결정의 분포, 열처리 온도, 혹은 열처리 시간을 조절하여 세라믹 결정이 고분자 내부로 함입되는 정도를 달리할 수 있을 뿐만 아니라 열처리 후 세라믹 결정을 재 코팅하는 공정을 통하여 복합체 표면의 화학적/물리적 조성을 선택적으로 결정할 수도 있다. 이 방법은 특히 세라믹과 고분자간의 화학적 결합이 제한되는 임플란트 재료 용도로 사용하기에 용이한 특징이 있다.
흑연 함침법에 의한 흑색 지르코니아 세라믹스의 제조방법 및 이에 의
해 제조되는 흑색 지르코니아 세라믹스
등록번호 | 10-1044337-0000 출원번호 | 10-2009-0055651
특허권자 | 이광호, 명지대학교 산학협력단 발명자 | 이병하 외 1명
본 발명은 지르코니아 분말을 과립화한 후 지르코니아 성형체를 제조하는 단계; 상기 지르코니아 성형체를 소결하는 단계; 및 상기 소결과정을 수행한 지르코니아 성형체를 흑연이 채워진 흑연 도가니에 넣어 흑연으로 덮어준 후 함침하는 단계를 포함하는 흑색 지르코니아 세라믹스의 제조방법 및 이에 의해 제조되는 흑색 지르코니아 세락믹스를 제공한다. 본 발명은 1400℃ 이상의 고온에서도 안정적으로 흑색을 나타내며 고인성, 고내마모성, 고강도 등의 우수한 특성을 그대로 유지할 수 있는 흑색 지르코니아 세라믹스의 제조방법 및 이에 의해 제조되는 흑색 지르코니아 세락믹스를 제공한다.
완전하게 밀봉되고 지지된 세라믹 막, 및 이를 포함하는 전기화학 전지 및 전기화학 전지 적층체
등록번호 | 10-1045168-0000 출원번호 | 10-2008-7008251
특허권자 | 넥스테크 머티리얼스, 엘티디 발명자 | 데이,마이클,제이. 외 3명
본 발명은 완전하게 밀봉되고 지지된 세라믹 막, 및 이에 관련된 전기화학 전지 및 전지 적층체에 관한 것이다. 막은 두꺼운 세라믹 지지체 층, 바람직하게는 세라믹 전해질 지지체에 지지되어 있는 다공성 전극 층에 지지되어 있는 얇은 전해질 층을 포함한다. 지지체 층은 더 두꺼운 일체형 지지체 립들의 네트워크에 의해 복수의 얇은 자가 지지(self-supporting) 막 영역들로 나누어진다. 바람직하게는, 얇은 전해질 층 및 두꺼운 세라믹 지지체 층은 다공성 전극 층 주위로 밀봉 주변부를 한정한다.
고분자 또는 세라믹 필터 및 이를 이용한 휴대용 수분공급기
등록번호 | 10-1042699-0000 출원번호 | 10-2008-0116333
특허권자 | 피에스아이 주식회사 발명자 | 성연국
고분자 또는 세라믹 필터 및 이를 이용한 휴대용 수분공급기가 제공된다. 본 발명에 따른 고분자 또는 세라믹 필터는 고분자 또는 세라믹으로 형성되며, 상기 액체와 접하는 유입면과 상기 유입면의 대향하는 위치에 형성된 유출면을 관통하여 형성되되, 액유입공의 지름이 액유출공의 지름보다 크도록 테이퍼 형성된 액방출부; 및 상기 액방출부의 상부에 구비되는 공기흡입부를 포함하고, 상기 액체가 일정 힘에 의해 상기 액방출부에서 배출되도록 형성된 것을 특징으로 한다. 또한, 상기 고분자 또는 세라믹필터를 이용한 휴대용 수분공급기는, 고분자 또는 세라믹 필터와, 액체가 저장되는 용기, 상기 고분자 또는 세라믹 필터가 착탈가능하게 결합되는 배출부로 이루어진 저장통; 상부 내측에 상기 저장통이 착탈가능하게 수납되는 저장통 수납실이 구비되고, 상 상부 정면에 분무공이 형성된 외부케이스; 상기 저장통 내의 액체를 무화시키며 상기 저장통과 상기 외부케이스의 상단부 정면 사이에 구비된 천공타입 초음파 진동자; 및 상기 천공타입 초음파 진동자에서 무화된 액체가 상기 분무공으로 유체연통되도록 상기
천공타입 초음파 진동자와 상기 분무공 사이에 구비된 분무관을 포함하고, 상기 저장통의 배출부는, 상기 용기의 하부 정면에 일단이 형성되고 상기 천공타입 초음파 진동차 측에 타단이 돌출 형성된 것을 특징으로 한다.
무수축 다층 세라믹 기판의 제조방법
등록번호 | 10-1046006-0000 출원번호 | 10-2008-0104467
특허권자 | 삼성전기주식회사 발명자 | 조범준 외 2명
본 발명은 무수축 다층 세라믹 기판의 제조 방법에 관한 것으로, 복수의 세라믹 그린 시트 중 일부 세라믹 그린시트에 적어도 하나 이상의 비아 홀 및 전극 패턴을 형성하는 단계; 상기 세라믹 그린 시트들을 적층하여 세라믹 적층체를 형성하는 단계; 상
기 세라믹 적층체의 일면 또는 양면 중 상기 비아 홀 및 상기 비아 홀 주변을 포함하는 영역에 에어로졸 증착법을 이용하여 난소결성 분말로 이루어진 수축억제용 박막을 선택적으로 형성하는 단계; 상기 수축억제용 박막이 형성된 세라믹 적층체의 상면 및 하면 중 적어도 일면에 상기 세라믹 적층체의 수축을 억제하기 위한 수축억제용 그린 시트를 배치시켜 미소결 다층 세라믹 기판을 형성하는 단계; 및 상기 미소결 다층 세라믹 기판을 소성하는 단계;를 포함함으로써, 무수축 공정으로 저온동시소성 기판을 제조시 층간 회로를 연결하는 비아 전극의 돌출을 방지하고 비아 홀 주변의 기공 형성을 억제할 수 있다.
초음파 진동자용 무연 압전세라믹스 조성물
등록번호 | 10-1043041-0000 출원번호 | 10-2008-0091947
특허권자 | (재)울산테크노파크 발명자 | 김영혁 외 3명
본 발명은 초음파 진동자용 무연 압전세라믹스 조성물에 관한 것으로서, (Na0.5K0.5)NbO3 압전 세라믹스에 소결 첨가제 CuO, NiO, Fe2O3, MnCO3 등을 첨가하여 소결특성을 향상시키며, 높은 기계적 품질계수(Qm)와 높은 전기기계결합계수(kp)를 갖는 무연 압전세라믹스 조성물을 낮은 소결 온도에서 제공하는 것에 관한 것이다.
내 플라
즈마 세라믹 코팅막 형성방법
등록번호 | 10-1043588-0000 출원번호 | 10-2008-0072864
특허권자 | 재단법인 철원플라즈마 산업기술연구원, 주식회사 코미코
발명자 | 황철호 외 2명
내 플라즈마 특성이 향상되는 세라믹 코팅막을 형성하기 위해서는 0.1 내지 1.0um의 입경을 갖는 세라믹 분말로 분산 시킨 후 코팅 대상체의 표면으로 고속 분출시켜 충돌 및 파쇄시킨다. 이후, 파쇄된 세라믹 분말을 코팅 대상체 표면에 고착시킨다. 그 결과 상기 코팅 대상체 표면에는 기공의 함유율이 0.1 내지 1%인 세라믹 코팅막이 형성된다.
세라믹 성형체, 세라믹 부품, 세라믹 성형체의 제조
방법및 세라믹 부품의 제조 방법
등록번호 | 10-1041199-0000 출원번호 | 10-2008-0073244
특허권자 | 엔지케이 인슐레이터 엘티디 발명자 | 나메리카와마사히코 외 5명
세라믹 성형체(10B)는 도체 성형체(12)를 포함하며, 열경화성 수지 전구체와 세라믹 분말과 용제가 혼합된 슬러리(18)를, 도체 성형체(12)를 피복하도록 도포한 후에 경화하여 얻어진다. 세라믹 성형체(10B)에 포함되는 열경화성 수지는, 이소시아네이트기 또는 이소티오시아네이트기를 갖는 겔화제와, 수산기를 갖는 고분자를 반응 경화시킴으로써 얻어진다. 수산기를 갖는 고분자는, 부티랄 수지, 또는 에틸셀룰로오스계 수지, 또는 폴리에틸렌글리콜계 수지 또는 폴리에테르계 수지인 것이 바람직하다.
유
전체 조성물 및 이로부터 제조된 세라믹 전자 부품
등록번호 | 10-1043462-0000 출원번호 | 10-2008-0072558
특허권자 | 삼성전기주식회사 발명자 | 강성형 외 4명
본 발명은 유전체 조성물 및 이를 포함하는 세라믹 전자 부품에 관한 것으로, (a) 2.5 ~ 6.0 m2/g의 비표면적을 갖는 바륨타이탄나이트(barium titanate)와, (b) Mg, Ca, Sr, Ba 및 Zr 중 어느 하나의 산화물 및 이들 중 어느 하나의 탄화물로 이루어진 군에서 선택된 적어도 어느 하나 이상을 포함하는 혼합물과, (c) Sc, Y, La, Ac, Ce, Pr, Nd, Pm, Sm, Eu, Gd, Tb, Dy, Ho, Er, Tm, Yb 및 Lu으로 이루어진 군에서 선택된 적어도 어느 하나 이상을 포함하는 산화물과, (d) Cr, Mn, Fe, Co 및 Ni로 이루어진 군에서 선택된 적어도 어느 하나 이상을 포함하는 산화물과, (e) V, Nb 및 Ta으로 이루어진 군에서 선택된 적어도 어느 하나 이상을 포함하는 산화물과, (f) Si 및 Al으로 이루어진 군에서 선택된 적어도 어느 하나 이상을 포함하는 산화물을 포함하는 유전체 조성물을 포함하여, X8R특성을 만족하고, 저온 소성이 가능하며, 고신뢰성을 얻을 수 있다.
기사를 사용하실 때는 아래 고유 링크 주소를 출처로 사용해주세요.
https://www.cerazine.net