세라믹스 관련 주요 특허출원 공개목록
◈ 내국인 2010년 7월 1일~7월 31일
번 호 명 칭 출 원 인
10-2010-0063441 물을 함유하는 다공성 분말을 첨가제로 사용하는 소부도료 및 친환경 도막 형성 방법 박영웅
(The Methods and the Baking Paints to Make Clean Coatings by using
the Porous Particles Containing Water as Additives)
10-2010-0056521 미용기능을 갖는 수처리용 필터의 제조방법 신아에이티(주)
(Process method of water treatment filter of the including beauty function)
10-2010-0005525 무기질 이중 바닥재, 그 제조방법 및 제조장치 (주)엘지하우시스
(Inorganic access floor, method and apparatus for manufacturing the same)
10-2009-0132920 소다라임 실리카 유리 조성물 및 그 용도 (Silica soda lime glass composition and 한국유리공업주식회사
use thereof)
10-2009-0004383 바이오세라믹담체를 이용한 자동차 성능개선 첨가제 및 그 제조방법 김한주, 송희용
(Additives improving of vehicle using Bio-ceramic carrier and method
for production thereof)
◈ 외국인 2010년 7월 1일~7월 31일
번 호 명 칭 출 원 인
10-2010-7010837 적층 세라믹 전자부품 (LAMINATED CERAMIC ELECTRONIC PART) 가부시키가이샤 무라타 세이사쿠쇼
10-2010-7010518 도체 내장 세라믹스의 제조 방법 쿄세라 코포레이션
(PROCESS FOR PRODUCING CONDUCTOR BUILT-IN CERAMIC)
10-2010-7009766 세라믹 산화규소계 피막의 형성 방법, 무기 기재의 제조 방법, 다우 코닝 코포레이션,
세라믹 산화규소계 피막 형성제 및 반도체 장치 다우 코닝 도레이 캄파니 리미티드
(Method of forming a ceramic silicon oxide type coating, method of
producing an inorganic base material, agent for forming a ceramic
silicon oxide type coating, and semiconductor device)
10-2010-7009277 내화성 벽돌 벽의 보수 방법, 및 세라믹 벽돌 가열 벽의 교체 방법 포스벨 인텔렉츄얼 리미티드
(REPAIR OF HEATING WALLS IN A REFRACTORY FURNACE)
10-2010-7009112 패싯화된 세라믹 파이버, 테이프 또는 리본 및 이들로부터 유래한 에피택셜 소자 유티-바텔, 엘엘씨
(FACETED CERAMIC FIBERS, TAPES OR RIBBONS AND EPITAXIAL
DEVICES THEREFROM)
10-2010-7007286 복합체 사이아론계 세라믹 재료를 포함하는 발광 장치 코닌클리즈케 필립스 일렉트로닉스 엔.브이
(LIGHT EMITTING DEVICE COMPRISING A COMPOSITE SIALON-BASED
CERAMIC MATERIAL)
10-2010-7007285 우수한 TCC를 갖는 중합체-세라믹 복합재 오우크-미츠이, 인크
(POLYMER-CERAMIC COMPOSITES WITH EXCELLENT TCC)
10-2010-0003733 세라믹 전자부품 (Ceramic electronic component) 티디케이가부시기가이샤
10-2010-7010161 무기 나노입자를 포함하는 장착 매트 및 이의 제조 방법 쓰리엠 이노베이티브 프로퍼티즈 컴파니
(MOUNTING MATS INCLUDING INORGANIC NANOPARTICLES AND
METHOD FOR MAKING THE SAME)
10-2010-7007893 나노튜브 가능한, 게이트 전압이 제어된 발광 다이오드 유니버시티 오브 플로리다 리서치 파운데이션, 인크
(NANOTUBE ENABLED, GATE-VOLTAGE CONTROLLED LIGHT EMITTING DIODES)
10-2010-7012285 다공성 탄소-탄소 복합체용 열처리 구조체 유티씨 파워 코포레이션
(HEAT TREAT CONFIGURATION FOR POROUS CARBON-CARBON COMPOSITES)
10-2010-0045515 전지용 세퍼레이터를 위한 반응성 중합체-담지된 다공성 필름 및 그의 제조 방법 닛토덴코 가부시키가이샤
(REACTIVE POLYMER-SUPPORTED POROUS FILM FOR BATTERY
SEPARATOR, AND METHOD FOR PRODUCING THE POROUS FILM)
10-2010-7012617 도전성 무기 산화물 입자의 제조방법 및 그 제조방법으로 얻어지는 도전성 무기 산화물 입자 가부시키가이샤 히라아키
(PROCESS FOR PRODUCING ELECTROCONDUCTIVE INORGANIC
OXIDE PARTICLES AND ELECTROCONDUCTIVE INORGANIC OXIDE
PARTICLES PRODUCED BY THE PROCESS)
10-2010-7010074 양쪽성 공중합체를 포함하는 액체 상 중 무기 입자의 콜로이드성 분산액 로디아 오퍼레이션스
(COLLOIDAL DISPERSION OF INORGANIC PARTICLES IN A LIQUID PHASE
COMPRISING AN AMPHOLYTIC COPOLYMER)
주요 등록특허 공개내용 (2010년 7월 1일~7월 31일)
저온동시소성세라믹스 모듈의 제조방법
등록번호|10-0973059-0000 출원번호|10-2008-0049556특허권자|한국세라믹기술원 발 명 자|신효순 외 1명
본 발명에 의한 저온동시소성세라믹스 모듈의 제조방법은 복수의 적층된 금속산화물층들과, 이들 층간에 각각 임베디드되는 희생글래스층들과, 상기 금속산화물 층들의 상부에 인쇄된 복수의 전극층을 포함하는 저온동시소성세라믹스 모듈의 제조방법에 있어서, 상기 전극층의 전극분말을 상기 희생글래스에 대한 접촉각이 상기 금속산화물들의 경우보다 더 큰 화합물로 코팅함으로써 소결시 상기 전극층으로의 상기 희생글래스의 함침을 방지할 수 있다. 이때, 상기 화합물은 BaTiO3를 포함한다.
무수축 세라믹 기판 및 무수축 세라믹 기판의 제조 방법
등록번호|10-0968977-0000 출원번호|10-2008-0101934 특허권자|삼성전기주식회사 발 명 자|김진완 외 1명
본 발명에 따른 무수축 세라믹 기판의 제조방법은 비아 전극부가 형성된 세라믹 적층체를 마련하는 단계 상기 세라믹 적층체를 소성하는 단계 -소성 단계에 의해 상기 비아 전극부와 상기 세라믹 적층체의 계면에서 보이드가 발생됨 및 상기 보이드가 도금 물질로 충전되도록 도금 공정을 실시하는 단계를 포함한다.
이온빔 믹싱을 이용한 금속모재 표면에 세라믹층의 코팅방법
등록번호|10-0970346-0000 출원번호|10-2008-0019027특허권자|한국원자력연구원, 한국수력원자력 주식회사
발 명 자|박재원 외 4명
본 발명은 이온빔 믹싱을 이용한 금속모재 표면에 세라믹층의 코팅방법에 관한 것으로, 더욱 구체적으로는 전자빔을 조사하여 세라믹 코팅재를 용융 및 기화시키는 단계(단계 1)상기 단계 1에서 용융 및 기화된 세라믹 코팅재를 금속모재에 코팅하는 단계(단계 2) 상기 단계 2에서 코팅된 금속모재와 세라믹 코팅층 간의 계면에 이온빔을 조사하여 상기 계면을 혼합시키는 단계(단계 3) 및 상기 단계 3에서 계면이 혼합된 금속모재와 세라믹 코팅층을 열처리하여 새로운 중간상을 형성시키는 단계(단계 4)를 포함하는 이온빔 믹싱을 이용한 금속모재 표면에 세라믹층의 코팅방법에 관한 것이다. 본 발명에 의하면, 금속모재와 세라믹 코팅층 사이 경계면에 반응 생성물로서 새로운 중간상을 형성함으로써 이들 간의 접합성, 고온에서의 열응력 및 부식 저항성이 향상될 수 있으므로, 열교환기 등의 산업적 용도 특히, 수소생산을 위한 중간열교환기 및 공정열교환기의 제조에 유용하게 사용될 수 있다.
구조 개선된 내화물 고정용 앵커가 구비된 회전식 소각로
등록번호|10-0969491-0000 출원번호|10-2008-0116629특허권자|시흥시시설관리공단 발 명 자
|천성진 외 1명
본 발명은 구조 개선된 내화물 고정용 앵커가 구비된 회전식 소각로에 관한 것으로, 좀더 상세히, 회전식 소각로에 있어서, 폐기물을 소각하는 회전식 소각로(100)와 상기 회전식 소각로(100)를 외측에 구비되어 상기 회전식 소각로(10)를 회전시키는 회전수단(200)과 상기 소각로(100) 내주면에 용접되는 내화물 고정용 앵커(300)와 상기 내화물 고정용 앵커(300)에 의해 고정되며 상기 회전식 소각로(100) 내주면을 둘러싸는 내화물(500)을 포함하여 구성되고 상기 내화물 고정용 앵커(300)는, “V” 형 내화물 고정부(10)와 상기 “V”형 내화물 고정부(10) 하단으로부터 연장형성되며 상기 소각로(100) 내벽과 수직을 이루게 설치되는 제1, 제2 직선형 연장부(21, 22)와 상기 제1, 제2 직선형 연장부(21, 22)와 수직을 이루며 서로 외측으로 연장 형성되어 상기 소각로(100) 내벽과 수평을 이루는 제1, 제2 용접부(31, 32)와 상기 제1, 제2 직선형 연장부(21, 22)와 평행하게 결합되는 제3 직선형 연장부(23)와 상기 제3 직선형 연장부(23)와 수직으로 이루게 연장형성되는 제3 용접부(33)를 포함하여 구성되는 것을 특징으로 하는 구조 개선된 내화물 고정용 앵커가 구비된 회전식 소각로에 관한 것이다.
경량 애시를 이용한 콘크리트 구조물 단면 복구용 경량 폴리머
시멘트 보수 모르타르 조성물
등록번호|10-0970004-0000 출원번호|10-2010-0034733특허권자|오환원 발 명 자|오환원 외 1인
본 발명은 경량 애시를 이용한 콘크리트 구조물 단면 복구용 경량 폴리머 시멘트 보수 모르타르 조성물에 관한 것으로, 교량, 정수시설물, 하수 시설물, 지하 암거 등과 같은 콘크리트구조물에 다양한 원인으로 인해 열화된 콘크리트 벽면을 복구 및 이차 열화를 억제할 수 있고, 비중이 서로 다른 복수의 재료를 효과적으로 패킹(포장)함을 목적으로 한다.
본 발명에 의한 경량 애시를 이용한 콘크리트 구조물 단면 복구용 경량 폴리머 시멘트 보수 모르타르 조성물은, 시멘트 40~50 중량%, 0.35~0.45g/cc 밀도(Bulk density)의 경량 애시 5~20 중량%, 재분산성 아크릴 분말 수지 2~5 중량%, 골재 30~50중량%, 수용성 접착제 1~5중량%가 혼합되어 이루어지며, 비중이 1.64~1.85이다. 그리고, 본 발명은 폐그물로부터 1~2mm 로 절단된 폐그물사가 더 포함될 수 있다.
시멘트 조성물, 경화체, 콘크리트 캐스크 및 경화체의 제조 방법
등록번호|10-0973383-0000 출원번호|10-2003-0049220특허권자|다이세이 겐세쓰 가부시키가이샤, 가부시키가이샤 고베 세이코쇼
발 명 자|다니우치히로아키 외 4명
본 발명은 내열성이 충분한 조성물 및 경화체를 제조하고, 이를 이용하여 밀폐형의 콘크리트 캐스크(cask)를 설계함으로써, 캐니스터(canister)의 부식이 방지되고, 방사능이 외부에 누출되지 않고, 차폐체 결손부가 없기 때문에 차폐 성능도 우수한 안전성이 높은 캐스크의 구축을 가능하게 한다. 바닥이 있고 뚜껑이 없는 통형상의 용기 본체(1)와, 상기 용기 본체(1)의 상부 개구를 차단가능한 뚜껑(2)으로 구성함과 동시에, 용기 본체(1) 및 뚜껑(2)은 둘다 포틀랜드(Portland) 시멘트 또는 이를 포함하는 혼합 시멘트를 이용한 조성물로 제조된 경화체로서, 수화 반응에 의한 경화 후의 수산화칼슘의 함유율이 15 내지 60 질량%인 경화체로 형성된 콘크리트 캐스크로 한다. 용기 본체(1)에는 금속제의 전열 핀(fin)(11)이 매설 장비되어 있다.
순환골재의 이산화탄소 가스 접촉 중성화 촉진을 위한
교반기 축으로부터의 이산화탄소 가스 분사형 혼합을 이동식 .jpg)
순환골재의 중성화 장치
등록번호|10-0970431-0000 출원번호|10-2009-0111581특허권자|우진환경개발 주식회사, 삼영플랜트주식회사,
한국건설기술연구원, 수성산업(주), 하나환경산업 주식회사
발 명 자|이세현 외 8명
본 발명은 폐콘크리트로부터 생산되는 순환골재를 이산화탄소(CO2) 가스에 노출시켜 중성화시킴에 있어서, 이산화탄소 가스를 교반기 축으로부터 분사시킴으로써 순환골재와 이산화탄소 가스의 접촉 기회를 증가시켜 중성화를 촉진시킬 수 있도록 구성한 혼합기와, 이를 이용하여 순환골재를 중성화시키는 장치 및 방법에 관한 것이다.
본 발명에서는 순환골재 투입구와 이산화탄소 가스 공급구가 형성되어 있고 교반기(10)가 구비되어 있으며, 순환골재가 교반되면서 이산화탄소 가스와 접촉하게 되도록 하여 중성화를 촉진시키는 혼합기(13)로서, 교반기(10)는 회전축(101)과 교반날개(102)를 포함하고 있으며; 회전축(101)의 내부에는 이산화탄소 가스 공급 유로(105)가 형성되어 있고; 회전축(101)의 외면에는 이산화탄소 가스 배출노즐(104)이 형성되어 있으며 이산화탄소 가스가 이산화탄소 주입관(103)으로 공급되어 상기 회전축(101) 내부를 통해 흘러들어 가스 배출노즐(104)을 통해 혼합기(13) 내로 분사되어, 회전축(101)이 회전하면서 이산화탄소 가스가 순환골재를 향하여 분사되는 구조를 가지는 것을 특징으로 하는 순환골재의 이산화탄소 접촉에 의한 중성화 촉진 혼합기가 제공된다.
비수계 이차 전지용 세퍼레이터, 및 비수계 이차 전지
등록번호|10-0971109-0000 출원번호|10-2010-7008664특허권자|데이진 가부시키가이샤 발 명 자|니시카와 사토시
본 발명에서는, 폴리에틸렌 미다공막 및 내열성 다공질 층을 구비한 세퍼레이터에 있어서, 충분한 셧다운 기능 및 내열성을 갖고, 또한 박막화 가능하며, 또 미끄러짐성의 문제도 개선할 수 있는 세퍼레이터를 제공하는 것을 제 1 목적으로 한다. 제 1 본 발명은, 폴리에틸렌을 주체로 한 미다공막과, 이 미다공막의 적어도 일방의 표면에 형성된 내열성 폴리머를 주체로 한 내열성 다공질층을 구비한 비수계 이차 전지용 세퍼레이터로서, (1)상기 미다공막의 단위 두께당 거얼리값이 25∼35초/100㏄·㎛이고, (2)상기 내열성 다공질층에는 평균 입자 직경이 0.1∼1.0㎛인 무기 미립자가 함유되어 있고, (3)상기 내열성 폴리머와 상기 무기 미립자의 체적을 합계한 체적에 대하여, 상기 무기 미립자의 체적이 40∼80% 이고, (4)상기 내열성 다공질층의 두께 합계가 3∼12㎛인 것을 특징으로 한다.
내부 여과 스크린을 포함하는 하수고도처리시스템 .jpg)
등록번호|10-0969220-0000 출원번호|10-2010-0050915특허권자|주식회사 코레드, 지에스네오텍(주), 엘지전자 주식회사
발 명 자|이상훈 외 8인
본 발명의 하수고도처리시스템은, 유입되는 원수를 생물학적으로 처리하기 위한 생물학적 반응조 및 부유물 또는 침전물을 필터링하는 여과망과 상기 여과망을 세척하기 위한 역세부를 포함하는 적어도 하나의 여과 스크린 장치를 포함하고, 상기 역세부로 공급되는 역세수는 상기 생물학적 반응조에 의해 처리된 처리수가 되는 것을 특징으로 한다. 본 발명에 따른 여과 스크린 장치는, 높은 투과플럭스를 가지며 투과수질이 우수한 침지형 분리막의 공극 폐색 가능성을 낮출 수 있으며, 상대적으로 높은 미생물 농도를 갖는 반송수를 여과함으로써 발생할 수 있는 여과 스크린 장치의 역세 노즐 폐색, 여과망의 폐색 및 표면 손상의 가능성을 낮출 수 있고, 단시간의 역세척만으로도 고효율의 여과를 가능하게 하는 효과를 갖는다.
광촉매 담지체, 광촉매 필터 및 이의 제조 방법
등록번호|10-0972334-0000 출원번호|10-2009-0130799특허권자|주식회사 랩죤 발 명 자|최근화 외 1인
본 발명은 광촉매 담지체, 상기 광촉매 담지체를 포함하는 광촉매 필터 및 그 제조방법에 관한 것으로, 본 발명에 따른 광촉매 담지체는 0.1 내지 1중량%의 알루미늄 옥사이드, 0.005 내지 0.015 중량%의 마그네슘 옥사이드 및 0.1 내지 1.0 중량%의 규산소다를 포함하며 상기 광촉매 담지체를 포함하여 광촉매 필터를 제조한 경우, 대구경 형상의 공극이 불규칙하게 배열되어 있을 뿐만 아니라 필터의 표면 및 내부에 광촉매 물질이 균일하면서도 대량으로 고정되어 있어 자외선 광선이 적어도 5mm이상 침투 가능하도록 하여 오염물질이 광촉매 물질과 접촉되는 시간을 최대한으로 늘려줌으로써 여과성능을 혁신적으로 향상시킨 광촉매 담지체, 상기 광촉매 담지체를 포함하는 광촉매 필터 및 그 제조방법을 제공하고자 한다.
가솔린 및 디젤 중의 황 함량을 감소시키기 위한 FCC촉매.jpg)
등록번호|10-0972705-0000 출원번호|10-2004-7020943특허권자|알베마를 네덜란드 비.브이.
발 명 자|오콘노르파울 외 3명
본 발명은 5중량%~
55 중량%의 금속-도핑된 음이온성 클레이, 10 중량%~
50 중량%의 제올라이트, 5 중량%~40 중량%의 매트릭스 알루미나, 0 중량%~10 중량%의 실리카 및 0 중량%~10 중량%의 기타 성분들을 포함하며, 밸런스를 맞추기 위해 카올린을 포함하는 촉매 조성물에 관한 것이다. 금속-도핑된 음이온성 클레이에서, 첨가제, 즉 금속 도판트가 함침된 음이온성 클레이에서보다 음이온성 클레이 중에 균일하게 분포되어 있다(별도의 첨가제 상이 존재하지 않음). 따라서, 상기 촉매 조성물이 마모됨으로써 종래 조성물보다 첨가제 중에 열악한 마이크로파인(microfine)들이 생성될 것이다. 또한, 본 발명에 따른 촉매 조성물로 인해, 함침된 음이온성 클레이를 포함하는 조성물의 경우보다 가솔린 및 디젤과 같은 연료 중의 황 감소율이 높아진다.
수소 제조장치 및 그것을 이용한 연료전지시스템
등록번호|10-0972617-0000 출원번호|10-2008-7012359특허권자| 히다치 막셀 가부시키가이샤
발 명 자|나카이 도시히로 외 3명
본 발명의 수소 제조장치는, 수소 발생물질을 수용하기 위한 수소 발생물질 수용용기(1)와 물을 수용하기 위한 물 수용용기(2)와 물 수용용기(2)로부터 수소 발생물질 수용용기(1)에 물을 공급하기 위한 물 공급부와 수소 발생물질 수용용기(1)로부터 수소를 도출하기 위한 수소 도출부와 수소 발생물질 수용용기(1)로부터 배출된 수소와 물을 함유하는 혼합물로부터 물을 분리하기 위한 기액 분리부(7)와 상기 기액 분리부(7)에서 분리된 물을 물 수용용기(2)에 회수하기 위한 물 회수부를 포함하는 것을 특징으로 한다.
최적화된 온도 특성을 갖는 집적 박막 커패시터를 포함하는
장치 및 시스템
등록번호|1009728740000 출원번호|10-2007-7025109
특허권자|인텔 코포레이션 발 명 자|팔란두즈 센기즈 외 1명
본 발명은 기판 상에 세라믹 물질의 상당한 나노 입자들을 포함하는 콜로이드 현탁물을 침적하는 단계와 박막을 형성하기 위해 상기 현탁물을 열적으로 처리하는 단계를 포함하는 방법에 관한 것이다. 본 발명은 또한 기판의 표면을 가로질러 예정된 위치들에 세라믹 물질의 복수개의 나노 입자들을 침적하는 단계와 박막을 형성하기 위해 상기 복수개의 나노 입자들을 열적으로 처리하는 단계를 포함하는 방법에 관한 것이다. 본 발명은 또한 마이크로프로세서를 포함하는 컴퓨팅 장치에 관한 것으로, 상기 마이크로프로세서는 기판을 통하여 인쇄 회로 기판에 연결되며, 상기 기판은 표면에 형성된 적어도 하나의 커패시터 구조를 포함하며, 상기 커패시터 구조는 제1 전극, 제2 전극 및 제1 전극과 제2 전극 사이에 배치된 세라믹 물질을 포함하며, 상기 세라믹 물질은 기둥형 입자들을 포함한다.
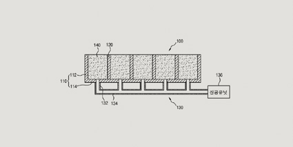
진공 흡착 장치
등록번호|1009732650000 출원번호|10-2007-0101891
특허권자|주식회사 하이닉스반도체
발 명 자|강창호 외 3명
진공 흡착 장치가 개시되어 있다. 진공 흡착 장치는 진공 흡착 장치는 바닥판 및 상기 바닥판과 연결되며 수납공간을 형성하는 측벽을 포함하는 몸체, 상기 몸체 내부에 배치되며, 상기 수납공간을 복수개로 구획하는 격벽, 상기 몸체와 연결되며, 상기 수납공간과 연통 되는 배관 및 상기 수납공간에 배치되며, 다공들을 갖는 다공 부재를 포함한다. 진공 흡착 장치의 몸체에 형성된 하나의 수납공간을 격벽을 이용하여 복수개로 분할하고, 각 수납공간에 블록 형상을 갖는 다공 부재를 배치하여 진공 흡착 장치에 의한 흡착 대상물의 흡착 성능을 향상시켜 흡착 대상물이 진공 흡착 장치로부터 분리 및 위치 변동이 발생 되는 것을 방지할 수 있다.
기사를 사용하실 때는 아래 고유 링크 주소를 출처로 사용해주세요.
https://www.cerazine.net