세라믹스 관련 주요 특허출원 공개목록
◈ 내국인 2010년 4월 1일~4월 30일
번 호 명 칭 출 원 인
10-2010-0010124 디스크건조장치 및 이를 이용한 건조처리공정
(Drying system of disk and Drying treatment processes using the system) 장우기계 주식회사
10-2009-0104408 콘크리트벽체 방수용 유리 타일 및 이의 제조방법
(Concrete wall watertight type glass tile and methode for manufacture thereof) (주식회사)문창
10-2009-0102778 바이오 세라믹 필터, 바이오 세라믹 필터 제조방법 및 이를 이용한 공조기
(Bioceramic Filter, Bioceramic Filter Manufacturing Method and Air-Conditioner Composite Using the same) 김성일
10-2009-0097143 COD 측정기의 산화환원 전위차를 이용한 냉각관이 달린 ORP 비교전극
(ORP REFERENCE ELECTRODE FOR USING OXIDATION REDUCTION COD LOG RELATIVE ERROR) (주)극동티엠에스
10-2009-0062430 태양전지 전극형성용 도전성 조성물 (CONDUCTIVE COMPOSITION FOR FORMING ELECTRODE OF SOLAR CELL) 주식회사 동진쎄미켐
10-2008-0069221 제올라이트를 함유하는 섬유 코팅용 조성물 및 섬유제품(COMPOSITION FOR COATING TEXTILE AND TEXTILE PRODUCT COMPRISING ZEOLITE) 한국세라믹기술원
10-2008-0051090 저유전손실 복합수지 조성물(Resin Composition Having Low Dielectric Loss) 전자부품연구원
◈ 외국인 2010년 4월 1일~4월 30일
번 호 명 칭 출 원 인
10-2009-7005865 연마 제품용 고성능 수지(High-performance resin for abrasive products) 생-고뱅 어브레이시브즈, 인코포레이티드
10-2009-0033349 나노카본을 포함한 고형체의 제조방법 (Manufacturing method of shaped solid comprising nanocarbon) (주)월드튜브
10-2008-7009999 듀플렉서 및 이것을 이용한 통신 장치
(SPLITTER AND COMMUNICATION APPARATUS USING THE SAME) 교세라 가부시키가이샤
10-2008-7006170 재생가능 가변 저항 절연 메모리 장치 및 그 형성 방법 (REPRODUCIBLE RESISTANCE VARIABLE INSULATING MEMORY DEVICES AND METHODS FOR FORMING SAME) 마이크론 테크놀로지, 인크
10-2008-0113188 기판 탑재대 및 플라즈마 처리 장치 (SUBSTRATE LOADING STAGE AND PLASMA PROCESSING APPARATUS) 도쿄엘렉트론가부시키가이샤
10-2008-0028423 고체 촬상 장치 및 그것을 구비한 전자기기 (SOLID-STATE IMAGING DEVICE AND ELECTRONIC DEVICE INCLUDING SAME) 샤프 가부시키가이샤
10-2008-0020858 리소그래피 장치 및 방법(LITHOGRAPHIC APPARATUS AND METHOD) 에이에스엠엘 네델란즈 비.브이.
10-2007-7029290 알칼리 금속 옥사이드를 포함하는 혼합 옥사이드 분말, 및상기 분말을 포함하는 실리콘 고무 (Mixed Oxide Powder Comprising Alkali Metal Oxide, And Silicone Rubber Comprising This Powder) 에보니크 데구사 게엠베하
10-2007-7024729 PECVD 실리콘 질화물 막들의 압축 스트레스를증가시키는 방법 (METHOD TO INCREASE THE COMPRESSIVE STRESS OF PECVD SILICON NITRIDE FILMS) 어플라이드 머티어리얼스, 인코포레이티드
10-2007-0141346 허니콤 구조체 및 배기 가스 처리 장치 이비덴 가부시키가이샤
(HONEYCOMB STRUCTURAL BODY AND EXHAUST GAS TREATING APPARATUS)
주요 등록특허 공개내용 (2009년 4월 1일~4월 30일)
폴리머-세라믹-금속 적층구조를 갖는 연성 동박 적층판 및
그의 제조 방법
등록번호|10-0956745-0000 출원번호|10-2008-0039131특허권자|주식회사 서흥플라즈마 발 명 자|김정식 외 3명
본 발명은 폴리머-세라믹-금속 적층구조를 갖는 연성 동박 적층판 및 그의 제조 방법에 관한 것으로, 기존의 에칭의 어려움과 이온 마이그레이션에 의해 PCB, COF로의 이용시 제품의 신뢰성 저하 문제를 해결하기 위해, 세라믹 또는 유사세라믹 결합층을 갖는 폴리머-세라믹-금속의 적층구조를 형성함으로써, 폴리머와 금속의 접착력을 증대시킬 수 있고, 에칭 공정이 용이하고, 우수한 전기 절연 특성과 낮은 유전율로 인해 우수한 고주파 특성을 얻을 수 있으며, 폴리머로부터의 가스 확산을 방지하는 가스확산방지막의 기능을 가지는 폴리머-세라믹-금속의 적층 구조를 갖는 연성회로기판의 기재를 제조할 수 있다.
이방형상 세라믹입자 및 그 제조방법
등록번호|10-0956006-0000 출원번호|
10-2008-7016778특허권자|가부시키가이샤 무라타 세이사쿠쇼
발 명 자|키무라 마사히코 외 1명
본 발명의 이방형상 세라믹입자는 일반식 {(K1-x-y
NaxLiy)4(Nb1-zTaz)
6O17+aMeOb}(단, Me는 Sb, Cu, Mn, V, Si, Ti, W로 이루어지는 군에서 선택되는 적어도 l종을 나타내고, b는 Me의 가수에 의해 결정되는 양의 수이다.)로 표현되고, 상기 x, y, z 및 a는 0≤x≤0.5, 0≤y≤0.3, 0≤z≤0.3, 0.001≤a≤0.1을 만족하고 있다. 또한 이방형상 세라믹입자는 판상을 가지고, 평균 입자지름은 1~100㎛, 주면의 최대지름(D)과 상기 주면에 대한 수직방향의 두께(t)의 비(D/t)는 2 이상, 바람직하게는 5 이상이다. 이것에 의해 번잡한 제조공정을 요하지 않고, 비교적 저렴한 제조비용으로 결정 배향된 니오브산알칼리금속계 세라믹을 제작하기 위한 반응성 템플릿에 적합한 이방형상 세라믹입자를 얻을 수 있다.
세라믹 피드스탁 및 그 제조방법
등록번호|10-0954354-0000 출원번호|10-2008-0001139특허권자|(주) 나노랩 발 명 자|김한동 외 1명
본 발명은 세라믹 피드스탁 및 그 제조방법에 관한 것으로, 본 발명 세라믹 피드스탁 제조방법은, a) 용매에 입경이 0.1 내지 1μm인 세라믹 분말과 표면개질제를 첨가하고 혼합 교반 하는 단계와, b) 왁스와 바인더에 지방산을 혼합하여 균질기로 유화시키는 단계와, c) 상기 b) 단계에서 유화된 왁스와 바인더를 상기 a) 단계의 결과물에 첨가하고, 분산제를 첨가하여 혼합교반하는 단계와, d) 상기 c) 단계의 결과물을 건조시켜 상기 세라믹 분말의 표면에 상기 왁스와 바인더가 코팅된 세라믹 피드스탁을 획득하는 단계를 포함한다. 또한 본 발명 세라믹 피드스탁은, 입경이 0.1 내지 1μm인 세라믹 분말과, 상기 세라믹 분말의 표면에 코팅된 왁스 및 바인더 코팅층을 포함한다. 이와 같은 구성의 본 발명은 세라믹 분말을 상온의 용매에서 바인더 및 왁스로 코팅하고, 그 용매를 제거하여, 세라믹 분말의 표면에 바인더 및 왁스 코팅층을 형성하여, 구상화된 분말상의 세라믹 피드스탁을 획득할 수 있어, 그 제조공정이 단순화되며, 사출제품을 제조할 때 세라믹 분말의 균일한 분포가 가능하여, 사출제품의 전체적인 강도의 균일도를 높이고, 표면의 균질성을 확보할 수 있는 효과가 있다.
초경량 미세기포단열재의 제조방법
등록번호|10-0955622-0000 출원번호
|10-2009-0066425특허권자| 에스이엠 주식회사 발 명 자|송영환 외 1명
본원은 일반 건축물이나 토목구조물, 선박건조 기타 각종의 산업현장에서 구조물 내에 미세기공을 갖고 단열, 흡음, 보온효과를 주도록 제공되는 초경량 저비중의 불연성 미세기포단열재에 관한 것이다.
본원에서 개시되는 초경량의 불연성 미세기포단열재의 제조공정은 단열재의 원료물질인 규산염(Silicate), 콜로이달 실리카(Colloidal silica), 실리카 겔(Silica gel) 중에서 단열재 1차원료가 선택되어지고, 선택된 단열재 원료를 열처리 공정에 의해 고형분을 수득하고, 얻어진 고형분에 대하여 분쇄를 실시한 다음 분쇄된 분말을 2차원료인 규산염 및 첨가제와 혼합하여 슬러리물을 얻고 이를 일정온도 이상으로 가열하면, 실리카의 출발물질 입자 사이의 미세한 기포가 존재하여 종래의 발포세라믹을 제조할 때와 같이 별도의 발포제나 기포제를 사용하는 발포시스템이 필요치 않고, 또한 고온이 필요치 않으면서 일정한 형상의 초경량의 미세기포단열재를 얻을 수 있으며, 상기 미세기포단열재가 비중이 매우 낮은 범위로 제조하는 것이 가능하여 종래의 화학원료로 제공되는 스치로폼 내지는 발포성폴리우레탄과 같은 종래의 가연성 발포성수지를 대체할 수 있는 0.4~0.02 g/cm3 범위의 초경량 미세기포단열재를 얻을 수 있음을 확인하여 완성된 발명이다.
저온 동시소성 세라믹 (LTCC) 테이프 조성물,
발광다이오드 (LED) 모듈, 조명 장치 및 이들의 형성 방법
등록번호|10-0954657-0000 출원번호|10-2006-0084253특허권자|이 아이 듀폰 디 네모아 앤드 캄파니
발 명 자|왕, 카를 비. 외 3명
본 발명은 LTCC (저온 동시소성 세라믹) 테이프 조성물을 제공하며, 다양한 조명 장치를 위한 발광 다이오드 (LED) 칩 캐리어 및 모듈의 형성에서 상기 LTCC 테이프(들)의 용도를 설명한다. 또한, 본 발명은 LED 장치, 고 휘도 (HB) LED 백라이트, 디스플레이-관련 광원, 자동차 조명, 장식용 조명, 신호 및 광고 조명, 및 정보 디스플레이 조명을 비롯한 (그러나, 이에 한정되는 것은 아님) 조명 장치의 형성에서의 (LTCC) 테이프 및 LED 모듈의 용도를 제공한다.
저온 동시소성 세라믹 테이프 조성물, 발광 다이오드 모듈, 발광 다이오드 칩 캐리어, 조명 장치
비점착식 코팅층을 갖는 조리용 칼 및 코팅층 형성방법
등록번호|10-0954726-0000 출원번호|10-2008-0038799
특허권자| (주)월드세라믹 발 명 자|최준호
본 발명은 비점착식 코팅층 조리용 칼에 관한 것으로, 더욱 상세하게는 조리용 칼의 양면에 비점착식 코팅층을 형성함으로써, 음식물이 조리용 칼의 표면에 달라붙지 않도록 하는 것은 물론, 칼의 내긁성 및 마모성이 좋아져 그 사용 수명을 연장할 수 있도록 하는 것이다.
본 발명에 따른 비점착식 코팅층을 갖는 조리용 칼은, 칼본체의 양측면에는 비점착 세라믹 도료를 도포하여서 되는 기초 비점착 코팅층이 형성되고, 상기 기초 비점착 코팅층에는 비점착 세라믹 도료를 도트 형태로 도포하여서 되는 도트 비점착 코팅층이 형성된 것을 특징으로 한다.
정보 디스플레이용 유리패널의 전극제조방법 및
그 방법에의해 제조된 유리패널
등록번호|10-0956068-0000 출원번호|10-2008-0046013특허권자|이동헌 외 1명 발 명 자|이동헌 외 1명
본 발명은 정보 디스플레이용 유리패널의 전극제조방법 및 그 방법에 의한 유리패널에 관한 것으로서, 한쌍의 전극부재 사이에 알칼리 금속 또는 알칼리 토금속 원소를 포함하는 유리기재와 알루미늄 박판을 서로 이격지게 배치하는 준비단계; 상기 유리기재와 상기 알루미늄 박판의 서로 마주보는 접합면을 세정하고, 상기 접합면에서 세정된 이물질을 외부로 배출토록 하는 접합면 세정단계; 상기 유리기재와 상기 알루미늄 박판 사이의 공간을 진공으로 한 상태에서 상기 알루미늄 박판과 상기 유리기재가 서로 밀착되도록 하는 유리기재와 알루미늄박판 밀착단계; 상기 유리기재와 상기 알루미늄 박판이 서로 접합되도록 하는 유리기재와 알루미늄박판 접합단계; 및 상기 유리기재에 접합된 알루미늄 막을 패터닝하여 상기 유리기재의 상에 전극을 형성하는 전극 형성단계;로 이루어지며, 따라서, 기존 알루미노보로실리케이트 글라스는 물론, 소다-라임 글라스와 같은 저가의 유리기재와 전극의 계면에 기포나 부풀음 등으로 인한 불량 없이 저가의 알루미늄 전극을 제조할 수 있게 된다.
반도체 웨이퍼 테스트용 프로브 카드의 평탄화 장치 및
평탄화 장치의 평탄 조절체 인서트 적층방법 
등록번호|10-0954451-0000 출원번호|10-2009-0055157특허권자|이승희 외 1명 발 명 자|이승희 외 1명
본 발명은 반도체 웨이퍼 테스트용 프로브 카드의 평탄화 장치와 평탄화 장치의 평탄 조절체 인서트 적층방법에 관한 것으로 상세하게는 반도체 웨이퍼에 접촉되어지는 측정부와, 측정부의 상측에 설치되는 인터포저와, 상기 인터포저의 상측에 설치되어지는 커넥터부와, 상기 커넥터부의 상측에 설치되어지는 지지부로 구성되어지며, 상기 측정부는 패널의 상측면에 다수개의 평탄 조절체가 안착되고, 상기 패널의 상측면에 세라믹이 다수겹 유기용제를 통해 적층되어 프레스로 압착되고, 상기 측정부를 가열로에 넣어 소성가공 하는 방법을 포함하여 이루어지는 것을 특징으로 하는 반도체 웨이퍼 테스트용 프로브 카드의 평탄화 장치와 평탄화 장치의 평탄 조절체 인서트 적층방법에 관한 것이다.
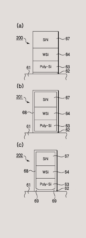
플라즈마 산화 처리 방법 및 반도체 장치의 제조 방법
등록번호|10-0956705-0000 출원번호|10-2007-7029149특허권자|도쿄엘렉트론가부시키가이샤
발 명 자|사사키 마사루
본 발명에 따르면, 실리콘층과, 고융점 금속 함유층을 갖는 구조체에 대해, 적어도 수소 가스와 산소 가스를 포함하는 처리 가스를 이용하여, 처리 압력 1.33∼66.67㎩로 제 1 플라즈마 산화 처리를 실시하는 것과, 제 1 플라즈마 산화 처리 후에, 적어도 수소 가스와 산소 가스를 포함하는 처리 가스를 이용하여, 처리 압력 133.3∼1333㎩로 제 2 플라즈마 산화 처리를 실시하는 것을 포함하는 플라즈마 산화 처리를 수행하여, 실리콘 산화막을 형성한다.
연마 제품용 고성능 수지
등록번호|10-0954510-0000 출원번호|10-2009-7005865특허권자|생-고뱅 어브레이시브즈, 인코포레이티드
발 명 자|개타 안소니 외 1명
연마 제품은 다수의 연마 입자 및 폴리티올 그룹으로 경화된 수지를 포함한다. 연마 제품의 제조방법은 수지와 폴리티올 그룹을 포함하는 경화성 조성물과 다수의 연마 입자를 접촉시키는 단계 및 경화성 조성물을 경화시켜 연마 제품을 생성시키는 단계를 포함한다. 작업 표면을 연마하는 방법은 연마 제품으로 작업 표면에 대해 연마 동작을 수행하여 작업 표면의 일부를 제거함을 포함한다. 경화성 조성물은 포름알데히드 수지와 폴리티올 그룹을 포함한다. 포름알데히드 수지는 폴리티올 그룹에 의해 가교결합된다. 포름알데히드 수지의 가교결합 방법은 폴리티올 그룹과 포름알데히드 수지를 반응시킴을 포함한다.
연마 패드 및 연마 패드의 제조 방법
등록번호|10-0953928-0000 출원번호|10-2007-7012140특허권자|도요 고무 고교 가부시키가이샤
발 명 자|오가와 가즈유키 외 6명
본 발명은, 연마 중인 상태에서 높은 정밀도의 광학 종점 검지가 가능하며, 장기간 사용할 경우라도 연마 영역과 광 투과 영역 사이에서의 슬러리 누출을 방지할 수 있는 연마 패드를 제공하는 것을 목적으로 한다. 본 발명의 연마 패드는, 연마 영역(8) 및 광 투과 영역(9)의 일면에 투수 방지층(10)이 형성되어 있으며, 또한 광 투과 영역과 투수 방지층이 동일한 재료에 의해 일체로 형성되어 있다.
웨이퍼 관통 인터커넥트의 형성 방법 및 그로부터 형성된구조체
등록번호|10-0954003-0000 출원번호|10-2008-7003458특허권자|마이크론 테크놀로지, 인크
발 명 자|판워스, 워렌, 엠. 외 1명
반도체 기판 내에 도전성 비아 또는 웨이퍼 관통 인터커넥트를 형성하는 방법 및 그에 따른 웨이퍼 관통 인터커넥트 구조체가 개시된다. 본 발명의 일 실시예에서, 웨이퍼 관통 인터커넥트 구조체의 형성 방법은 기판의 제1 표면 내에 개구를 형성하는 단계, 개구의 내부 표면 상에 제1 절연 또는 유전체 층을 성막하는 단계, 제1 유전체 층 위에 전기 도전층을 성막하는 단계, 개구의 내부 표면 상에 그리고 전기 도전성 재료 위에 제2 절연 또는 유전체 층을 성막하는 단계, 및 기판의 반대편의 제2 표면을 통해 전기 도전층의 일부분을 노출시키는 단계를 포함한다. 본 발명의 방법에 의해 생산된 웨이퍼 관통 인터커넥트를 포함하는 반도체 소자가 또한 설명된다.
기사를 사용하실 때는 아래 고유 링크 주소를 출처로 사용해주세요.
https://www.cerazine.net