세라믹 후막기판의 제조방법 및 이를 이용한 모듈
등록번호|10-0925122-0000 출원번호|10-2007-0110769특허권자|한국세라믹기술원
발 명 자|신효순 외 4명
본 발명은 세라믹 후막기판의 제조방법에 관한 것이다.
본 발명에 의하면, 세라믹 후막기판은 세라믹스 분체에 열경화성 수지를 함침시킨 후 이를 경화시켜 복합체를 형성함으로써 별도의 소성없이 제조될 수 있다. 이때, 상기 수지의 양은 15 내지 65vol%로 됨이 바람직하다. 따라서, 소성을 위한 열처리 공정이 생략되고 무수축을 달성할 수 있어 고집적 적층모듈을 제조하기 위한 미세회로 구현 및 소자 내장화를 위한 이종소재 접합에 매우 적합하다. 또한, 이러한 후막 기판은 일종의 복합체의 형태로 되어 세라믹스 고유의 유전특성을 그대로 유지할 뿐만 아니라 그 고유의 취성이 줄어들어 충격에 강한 우수한 특성을 지닌다. 또한, 열처리 공정이 배제되므로 고집적 적층모듈의 제조비용이 저감된다.
유리계 SOI 구조물 (Glass-based SOI structures)
등록번호|10-0922018-0000 출원번호|10-2005-7015123
특허권자|코닝 인코포레이티드
발 명 자|코닝 인코포레이티드 외 3명
본 발명은 산화 유리 또는 산화 유리-세라믹으로 구성된 지지 기판(20)에 부착된 실질적으로 단일-결정성 반도체(예를 들어, 도핑된 실리콘) 층으로 구성된 하나 이상의 영역을 갖는 큰 면적의 SOI 구조물을 포함하는 절연기판상의 반도체(SOI) 구조물을 제공한다. 상기 산화 유리 또는 산화 유리-세라믹은 바람직하게 투명하고 바람직하게 1000℃ 미만의 스트레인 점, 1016- ㎝이하의 250℃에서 저항력을 가지며, 상승 온도(예를 들어, 300-1000℃)에서 전기장에 반응하는 유리 또는 유리-세라믹에서 이동할 수 있는 양이온(예를 들어, 알칼리 또는 알칼리-토 이온)을 함유한다. 상기 반도체 층(15)과 지지기판(20)간의 결합 강도는 바람직하게 적어도 8joules/meter2이다. 상기 반도체 층(15)은 상기 반도체 물질이 유리 또는 유리-세라믹에서 유래한 산소 이온과 반응하는 하이브리드 영역(16)을 포함할 수 있다. 상기 지지 기판(20)은 바람직하게 상기 이동 양이온의 농도가 감소하는 고갈 영역(23)을 포함한다.
압전 엘리먼트 및 압전 엘리먼트를 구비한 진동 변환기
등록번호|10-0924618-0000 출원번호|10-2002-0044205특허
권자|홀름베르크 게엠베하 운트 코. 카게
발 명 자|비르쓰, 미카엘 외 4명
본 발명은 균일한 다공성 세라믹 몸체를 구비하고 상기 세라믹 몸체에 부착된 적어도 두 개의 전극을 구비하는, 압력 신호를 전기 신호로 변환하고 전기 신호를 압력 신호로 변환하기 위한 압전 엘리먼트에 관한 것이다. 다공성 세라믹 몸체는 개방 공극을 포함하고 바람직하게 탄성 코팅부로 전체 표면상에서 밀봉되어 있다. 더욱이 하우징 내에 수용된 압전 엘리먼트를 구비한 진동 변환기가 제시된다. 압전 엘리먼트는 하우징의 베이스에 견고하게 결합된 한쪽 단부면을 구비한다. 다른 단부면은 진동을 감지하는 표면을 나타내고, 바람직하게 하우징에 의해 덮이지 않는다. 하우징의 체적은 주조 화합물로 충전되어 있으며, 압전 엘리먼트는 기계적으로 상기 주조 화합물로부터 분리(decoupling)되어 있다.
단일 비아 고정 패드를 구비한 다층 세라믹 기판
등록번호|10-0925314-0000 출원번호|10-2006-7013985특허권자|인터내셔널 비지네스 머신즈 코포레이션
발 명 자|레디 스리니바사 엔. 외 2명
금속 패드에 인접한 제1 세라믹층의 단일 금속 충진 비아에 의해 외부 금속 패드가 기판에 고정되는 다층 세라믹 기판. 다음, 이 단일 금속 충진 비아는 제1 세라믹층에 인접한 다음 세라믹층에 보다 큰 단일 금속 충진 비아에 의해 기판에 고정된다. 바람직하게, 금속 충진 비아 및 금속 패드는 100체적 퍼센트 금속이다.
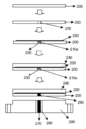
메쉬 전극을 갖는 세라믹 정전척 및 그 제조 방법
등록번호|10-0924262-0000 출원번호|10-2003-0016976특허권자|주식회사 코미코 발 명 자|정성모
본 발명은 세라믹 소결체 내에 메쉬 형태의 전극이 삽입된 정전척에 관한 것으로, 더 구체적으로는, 상기 메쉬 형태의 전극의 일부가 소결체 하면을 향하여 굴절되어 바디(body)쪽으로 연장하는 정전척에 관한 것이다.
본 발명에 따른 정전척의 제조 방법은, 1차 소결된 하부 절연체를 준비하는 단계와, 하부 절연체의 일부에 관통홀을 형성하는 단계와, 상기 형성 단계 이후 메쉬 전극을 상기 하부 절연체 상에 적층하는 단계와, 상기 전극이 적층된 하부 절연체 상에 상부 절연체를 적층하는 단계와, 상기 하부 절연층, 메쉬 전극 및 상부 절연층이 형성된 조립체를 2차 소결하는 단계와, 상기 소결된 조립체에 형성된 관통홀에 페이스트 또는 도전성 재료를 충진하는 단계를 포함하며, 상기 메쉬 전극은 상기 메쉬 전극의 일부가 하부 절연체에 형성된 관통홀을 통과하여 굴절되어 아래 방향으로 연장되고 관통홀의 측면과 접착되며, 상기 페이스트 또는 도전성 재료는 하부 절연체의 관통홀을 통과하여 굴절되어 아래 방향으로 연장된 메쉬 전극과 전기적으로 접촉상태를 유지하는 것이 바람직하다.
디스플레이 패널 봉착 재료
등록번호|10-0924120-0000 출원번호|10-2007-0130752특허권자|한국과학기술연구원 발 명 자|오영제 외 2명
본 발명은 디스플레이 패널(display panel) 봉착용 무연 유리 조성물에 관한 것으로, 보다 상세하게는 어떠한 납도 실질적으로 함유하지 않고 산화물 기준 몰% 표시로 Bi2O3 10 내지 20%, B2O3 25 내지 40%, ZnO 15 내지 25%, SiO2 10 내지 20%, Na2CO3 5 내지 15%, 및 Al2O3 1 내지 6%를 함유하는 유리 프릿 90 내지 97 중량%와 저팽창 세라믹 필러 3 내지 10 중량%를 함유하는 것을 특징으로 하는 디스플레이 패널 봉착용 무연 저융점 유리 조성물에 관한 것이다. 본 발명의 디스플레이 패널 봉착용 무연 저융점 유리 조성물은, 납 성분을 포함하지 않아 환경오염의 문제가 없으면서도, 저온에서 패널의 봉착이 가능하도록 연화점 및 유리전이점이 낮으면서 유동성이 우수하고, 저온소성됨에도 결정석출 등의 문제가 없어, 봉착 후의 신뢰성과 내구성이 우수한 평판 디스플레이 패널을 제조할 수 있으며, 고가의 Bi2O3 함량이 낮아 제조 원가를 획기적으로 감소시킬 수 있다.
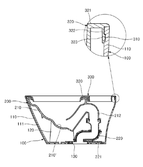
위생 도기
등록번호|10-0921527-0000 출원번호|10-2008-0008875특허권자|주식회사 보보코퍼레이션 발 명 자|조금환
연속식 수열합성 반응기를 통하여 지르코니아, 이트리아 안정화 지본 발명은, 화장실 바닥면에 밀착고정되는 외측몸체 내부에 내체를 지지하도록 지지돌기가 구비된 강화플라스틱 재질의 외체와 상기 외체 내부에 플랜지와 연결되도록 고정되어 용변을 정화조로 배출하는 세라믹 재질의 내체와 상기 내체의 상부를 수용하면서 외체에 결합부재를 밀착시켜 결합하는 결합부를 포함하여 구성함을 특징으로 하는 위생 도기에 관한 것이다.
본 발명 위생 도기에 의하면, 강화플라스틱 재질의 외체와 세라믹 재질의 내체를 별도로 제작하여 결합부에 의해 결합고정시키므로 제조공정이 간단하여 생산성을 향상시킬 수 있을 뿐만 아니라 강화플라스틱 재질의 외체 무게가 가벼워 제품의 설치작업이 용이하여 작업능률을 향상시킴과 아울러 외체의 외관이 미려하여 화장실 분위기 개선에도 효과를 기대할 수 있으며, 또한, 세라믹 재질의 내체를 사용하여 용변세척이 용이하면서 내체의 표면 마모없이 안정감있게 사용할 수 있으므로 유지관리가 간편하여 사용자로 하여금 제품에 대한 신뢰성을 향상시킬 수 있는 것이다.
나노 결정질 다이아몬드 박막 중의 비정상 거대 입자의개재를
방지하는 방법
등록번호|10-0922543-0000 출원번호|10-2007-0093541특허권자|한국과학기술연구원 발 명 자|리 헤큉 외 3명
본 발명은 나노 결정질 다이아몬드 박막 중의 비정상 거대 입자 (abnormal large grain)의 개재를 방지하는 방법에 관한 것으로서, 본 발명의 방법은 열 필라멘트 시브이디 공정으로 나노 결정질 다이아몬드 박막을 증착함에 있어 부적절한 공정제어로 인해 야기될 수 있는 비정상 거대 입자의 개재를 방지할 수 있게 해줌으로써, 비정상 거대 입자의 개재로 인해 야기될 수 있는 각종 응용분야에서의 문제점들을 미연에 방지할 수 있게 해준다.
미립 티탄산바륨계 분말의 제조방법
등록번호|10-0921352-0000 출원번호|10-2009-002
1198 특허권자|한화석유화학 주식회사 발 명 자|박세웅 외 3명
양호한 자기 특성을 갖고, 또한 터널 저항 변화율의 저하를 억제할 수 있는 강자성 터널 접합 소자를 제공한다. 자화 방향이 고정된 강자성 재료로 이루어지는 핀드층(20, 22) 상에, 전자가 터널 현상에 의해 투과하는 두께의 배리어층이 배치되어 있다. 배리어층 상에, 외부 자장의 영향을 받아 자화 방향이 변화되는 비정질 또는 미결정질의 연자성 재료로 형성된 제1 프리층이 배치되어 있다. 제1 프리층 상에, 외부 자장의 영향을 받아서 자화 방향이 변화되는 동시에, 제1 프리층과 교환 결합한 결정질의 연자성 재료로 형성된 제2 프리층이 배치되어 있다. 자화 방향이 고정된 강자성 재료로 이루어지는 핀드층과, 상기 핀드층 상에 배치되고, 전자가 터널 현상에 의해 투과하는 두께의 배리어층과, 상기 배리어층 상에 배치되고, 외부 자장의 영향을 받아 자화 방향이 변화되는 비정질 또는 미결정질의 연자성 재료로 형성된 제1 프리층과, 상기 제1 프리층 상에 배치되고, 외부 자장의 영향을 받아서 자화 방향이 변화되는 동시에, 상기 제1 프리층과 교환 결합한 결정질의 연자성 재료로 형성된 제2 프리층을 갖는 강자성 터널 접합 소자.
원적외선 방출이 우수한 태양광선 제어용 필름적층체
등록번호|10-0921213-0000 출원번호|10-2004-0049492특허권자|주식회사 코오롱 발 명 자
|조현수 외 2명
본 발명은 표면보호층 중 자외선 경화형 올리고머 100 중량부에 대하여 운모계 광석 2 내지 15 중량부와 근적외선 흡수제 0.4 내지 4 중량부를 포함하는 표면보호층, 플라스틱 지지체, 감압점착층 및 이형필름이 순차적으로 적층된 필름적층체는 근적외선을 적절히 흡수하여 태양광선에 의해 필름 표면의 온도가 상승되어 원적외선 방사율이 우수하여 실내의 쾌적함을 유지할 수 있을 뿐만 아니라, 태양광선 제어필름의 역할도 수행할 수 있다.
응력 완화층을 포함하는 광 모듈
등록번호|10-0923425-0000 출원번호|10-2007-0101820특허권자|한국전자통신연구원 발 명 자|최광성 외 3명
본 발명은 광소자, 증폭기 등의 전자소자, 광화이버, 광학벤치(optical bench), 다층기판으로 이루어진 볼 그리드 어레이 패키지, 및 응력 완화층을 포함하는 광모듈에 관한 것으로, 다수의 기판 및 볼 그리드 어레이가 적층된 다층 기판 볼 그리드 어레이 패키지(ball grid array package) 상기 다층 기판 볼 그리드 어레이 패키지 상에 형성되는 응력 완화층 상기 응력 완화층 상에 마련되는 광학 벤치 상기 광학 벤치 상에 마련되는 광소자 상기 광소자와 이격 거리를 두고 상기 광학 벤치 상에 마련되는 광화이버 및 상기 광소자와 전기적으로 연결되어 상기 광소자로 전기 신호를 제공하는 증폭기를 포함한다. 전술한 구성에 따라, RF 신호가 전자 소자를 통해 광 소자인 VCSEL에 전달되어 광 신호로 바뀐 후 광 화이버의 한쪽 끝 단 45도 경사면에 전반사되어 광 화이버로 전달된다. 광소자가 포토 다이오드일 경우 광 화이버를 통해 전달된 광신호가 광 화이버의 한쪽 끝 단 45도 경사면에 전반사되어 포토다이오드로 전달되고 그 후에 전자 소자에 RF 신호로 전달된다. 이때 광 화이버를 지지하고 있는 광학 벤치(metal optical bench 또는 silicon optical bench)는 응력 완화층이 형성되어 있는 다층 회로 기판에 실장되어 있어 광 모듈 동작 중에 발생하는 열 혹은 열 주기 시험(thermal cycle test) 동안 발생하는 열 변형이 최소화되어 광 화이버와 광 소자 간의 광학 결합을 안정적으로 유지할 수 있다.
기사를 사용하실 때는 아래 고유 링크 주소를 출처로 사용해주세요.
https://www.cerazine.net